BRN Discussion Ongoing

JoMo68

Regular
Hi Guys,

I am interested in investing in BRN. I have a computer science background and I understand the Akida technology and implications. Though what I dont understand is how BRN is going to make revenue/profit. I simply cant figure out how this company is supposed to earn money. Yes, I understand that BRN is not selling chips or integrated systems, but rather the Akida design. But I am at a loss how the revenue stream is supposed to work. And thats holding me back right about now. Can you maybe explain in 1 or 2 paragraphs how this is supposed to work? Who are our customers? What exactly are we selling? And how does this scale? Does the profit flow with the number of sold chips that have Akida in them? Does it scale with number of uses? Does it scale with number of licences and the hardware is irrelevant? I dont know, and I would like to understand.

Also, to make it abondendly clear, I am invested in Tesla and Talga at moment, roughly equal parts. I am not really looking forwards to have another investment on the ASX with all its shinanigans. However, I might be looking away from that issue if there is a good enough reason. I was too bliend to see NVIDEA going off before it did. It was quite obvious in hind sight. BRN might be equally obvious but I want to make sure that I cover my bases in terms of company health and economic viability.
Hi Semmel, welcome to BRN (don't worry team, I can vouch for him from the TLG site)! A good place to start is the Brainchip story (I think it's been pinned so appears at the top of the list of threads on the BRN site).
 
  • Like
  • Love
  • Fire
Reactions: 24 users

Damo4

Regular
Hi Semmel, welcome to BRN (don't worry team, I can vouch for him from the TLG site)! A good place to start is the Brainchip story (I think it's been pinned so appears at the top of the list of threads on the BRN site).

Don't forget to remind him then that standard initiation to BRN forums, is to line wipe the first 6 sell lines ;)
Then we can attach the stone of Triumph.

1696299259045.png
 
  • Haha
  • Like
Reactions: 22 users

davidfitz

Regular
Don't forget to remind him then that standard initiation to BRN forums, is to line wipe the first 6 sell lines ;)
Then we can attach the stone of Triumph.

View attachment 46160
I have done my part, up to the rest of you!

1696299743282.png
 
  • Like
  • Fire
  • Love
Reactions: 69 users

Akida27

Member
Rob said quote:
"We have been very active with current and future customers on 2.0 for a while. Making very good progress. We have evaluations at all points of the sales cycle. We are happy with the progress we are making."

I got his email reply as of this morning. So if we could count on what Rob said, I guess at least one customer should be very close to the end of this sales cycle if I understood it correctly.
Good stuff Stan and good that Rob is keeping an eye on the emails. I think sometimes the wording coming from the company in press releases/announcements could do with some work. We’ll be laughing that all off soon though 👍🏼
 
  • Like
Reactions: 12 users

SERA2g

Founding Member
currently because Tony is on annual leave, Rob is monitoring the investor relation email for Tony
ir@brainchip.com
LOL Rob is in for a rude shock.

I think seeing the constant barrage of email complaints that Tony has historically dealt with may be an eye-opening experience for Rob.

Rob is closer to the ground and the US team so I trust will pass on the message that communication can and needs to improve.

It seems to me that Tony's messages on behalf of the shareholders aren't quite making their way across the water to the US so hopefully Rob's messages will make it across the 10 metres of carpet separating his office from Sean's.
 
  • Like
  • Haha
  • Fire
Reactions: 21 users

AusEire

Founding Member.
Don't forget to remind him then that standard initiation to BRN forums, is to line wipe the first 6 sell lines ;)
Then we can attach the stone of Triumph.

View attachment 46160
Yes this is standard practice initiation! 🔥The 6LineWipe

Fact Finder wiped 12 lines
 
  • Haha
  • Like
Reactions: 19 users

AusEire

Founding Member.
LOL Rob is in for a rude shock.

I think seeing the constant barrage of email complaints that Tony has historically dealt with may be an eye-opening experience for Rob.

Rob is closer to the ground and the US team so I trust will pass on the message that communication can and needs to improve.

It seems to me that Tony's messages on behalf of the shareholders aren't quite making their way across the water to the US so hopefully Rob's messages will make it across the 10 metres of carpet separating his office from Sean's.
Are you actually going to lay off the abusive emails to Tony while he's on holidays?
 
  • Haha
  • Like
Reactions: 6 users

buena suerte :-)

BOB Bank of Brainchip
Rob said quote:
"We have been very active with current and future customers on 2.0 for a while. Making very good progress. We have evaluations at all points of the sales cycle. We are happy with the progress we are making."

I got his email reply as of this morning. So if we could count on what Rob said, I guess at least one customer should be very close to the end of this sales cycle if I understood it correctly.
Wow thanks for that stan 👏👏👏 ..This sounds very exciting .. "at all points of the sales cycle". $$$$$$$ incoming! :)
 
  • Like
  • Fire
Reactions: 28 users

Dhm

Regular
Hi Semmel,

Welcome to the BRN discussion. It will make for a change from reindeer politics.

Your timing is impeccable as I doubt the price will ever be this low again.

The BRN business model is licensing the IP for the Akida digital SNN processor IP, in a similar manner to the way ARM licences its RISC-IV processor IP. There is a "sign-on" licence fee of a few million $AU, and royalties are paid on sales.

Akida consists of an array of neuromorphic processing units (NPUs). The NPUs are grouped into nodes (4 NPUs per node). The number of nodes can be chosen depending on the complexity of the intended task from 2 nodes up to 64 nodes. Several Akida chips can be combined for even larger tasks. Akida 2 will come in 3 different classes, E being 2 to 4 nodes, S being up to 8 nodes, and P being up to 64 nodes. The licence fee and royalties will be calculated on the number of nodes chosen.

Renesas has a licence for 2 nodes which will be integrated into a microprocessor, and this is said to be sufficient to perform inference (object classification/identification) at 30 frames per second.

Megachips has a licence for Akida although we have not seen the details we know that they were involved in the development of Akida 1500, which involved the production of the Akida chip by Global Foundries on 22 nm FDSoI (Fully depleted Silicon on Insulator, a very low leakage loss technology.

Akida has been produced by Vorago in radiation hardened format for NASA.

Mercedes used Akida in its EQXX giving the example of the key word spotting being 5 to 10 times more energy efficient than alternatives.

BRN has been working with the lidar manufactures Valeo for some years, and Akida is said to have a sweet spot for lidar.

Akida has also been trialed with Prophesee's DVS (dynamic vision system) event camera performing object classification such as hand gesture recognition, again greatly outperforming the Synsense model.

Akida is processor-agnostic and can be used with any sensor input. It is "programmed" by an associated CPU processor loading model libraries and weights and configured into the appropriate arrangement of layers and nodes, but, once configured, the CPU does not take part in the inference/classification which is all carried out in the Akida silicon without any software being involved. This makes Akida both highly energy efficient and extremely high speed.

Akida also uses N-of-M coding, which is much more efficient than rate coding previously used in NNs. This coding is based on the fact the information is carried in the first spike to arrive from an optical sensor, while rate coding counts the spike frequency to extract the information. BRN purchased Spikenet (Simon Thorpe's spin-off company) which developed N-of-M coding.

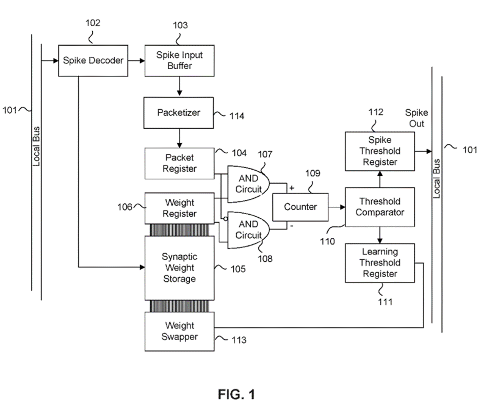
This is the patent for the NPU along with my favourite drawing:

US11468299B2




View attachment 46151


Footnote: For those who think @Semmel is a troll or is lazy, I recommend you have a look at the contributions to the Talga threads. Semmel's contributions and depth of analysis are a major cornerstone of the complex discussion of the native title court issues Talga is subjected to.

Trawling through this thread BRN would be a very difficult and inefficient way of gathering information for someone starting from scratch.
And this is the reason why many of us, including @Semmel and myself, are generously helped and informed by some very smart cookies like the humble yet knowledgable @Diogenese and many others. Thank you from the bottom of my heart for helping us map our path through some very choppy waters full of sharks.

Heart Smile GIF by Shark Week
 
  • Like
  • Love
  • Fire
Reactions: 36 users

skutza

Regular
Does my 2.2 Mill sell on open count as line wiping?








Nah just kidding lol
 
  • Haha
Reactions: 8 users

Damo4

Regular
  • Haha
  • Like
Reactions: 17 users

SERA2g

Founding Member
Are you actually going to lay off the abusive emails to Tony while he's on holidays?
I have Tony's mobile number mate. I don't abuse him via email.

I find 3am phone calls work best.

"Hey Big T, just wondering when AKD 2.0 will be announced".

Seriously though, I have emailed him maybe 5 times over the past 2 years and it has always been a positive email to thank him and the team for their efforts or something similar. I know the amount of crap Tony deals with and don't wish to add more crap to his plate which will strain his workload even more than it already is. I'd much rather he spend his time productively then hosing down the same questions over and over again.

I really do feel for him. It would be a very tough gig doing IR for Brainchip. The company has a very large retail holding, share price performance has been on a constant decline for the past year and to add to all of that, Brainchip has some of the most passionate shareholders of any company on the ASX which just adds that extra level of emotion to every email Tony receives lol.

I hope he comes back from his holiday feeling refreshed - his efforts are probably not appreciated by most as much as they should be and he no doubt deserves a break.
 
  • Like
  • Love
  • Fire
Reactions: 48 users

rgupta

Regular
Rob said quote:
"We have been very active with current and future customers on 2.0 for a while. Making very good progress. We have evaluations at all points of the sales cycle. We are happy with the we are making."

I got his email reply as of this morning. So if we could count on what Rob said, I guess at least one customer should be very close to the end of this sales cycle if I understood it correctly.
When was last time Rob told us he is not happy with the progress but market is looking for results than words.
For a change a year and half ago Rob told us tip of iceberg and train is ready to leave. But the same did not happen. So better to wait for results than keep speculating.
 
  • Like
  • Haha
  • Fire
Reactions: 7 users

7für7

Top 20
I have Tony's mobile number mate. I don't abuse him via email.

I find 3am phone calls work best.

"Hey Big T, just wondering when AKD 2.0 will be announced".

Seriously though, I have emailed him maybe 5 times over the past 2 years and it has always been a positive email to thank him and the team for their efforts or something similar. I know the amount of crap Tony deals with and don't wish to add more crap to his plate which will strain his workload even more than it already is. I'd much rather he spend his time productively then hosing down the same questions over and over again.

I really do feel for him. It would be a very tough gig doing IR for Brainchip. The company has a very large retail holding, share price performance has been on a constant decline for the past year and to add to all of that, Brainchip has some of the most passionate shareholders of any company on the ASX which just adds that extra level of emotion to every email Tony receives lol.

I hope he comes back from his holiday feeling refreshed - his efforts are probably not appreciated by most as much as they should be and he no doubt deserves a break.
Exactly! Can you imagine working hard to find a solution for the next level futuristic product and you get daily emails like „hey tony… when lambo?“ „hey tony what about the share price“ „hey tony I am shareholder of 20 BRN shares.. what the fu… is going on ? Work for my money“ If I would be Tony, I would set my email account on vacation….: 🤔 wait a minute
 
  • Haha
  • Like
Reactions: 15 users

mrgds

Regular
  • Like
Reactions: 4 users

AusEire

Founding Member.
I have Tony's mobile number mate. I don't abuse him via email.

I find 3am phone calls work best.

"Hey Big T, just wondering when AKD 2.0 will be announced".

Really? I do the same. 3am is a nice sweet spot as it aligns perfectly with the night time feed of my baby girl.

Goes something like this(paraphrased), "Hey Tony just a quick night time call to ask wen revenue"

I often get really abusive responses to this not sure why though? 🤷🏻‍♂️ Maybe I'll start asking Wen Moon instead for a while and follow it up with a quick text afterwards.

DYOR
 
  • Haha
  • Like
Reactions: 18 users
What does this mean? And why is it on same day as 2.0 announcement?

Thanks.
 

Attachments

  • IMG_6254.png
    IMG_6254.png
    284.8 KB · Views: 323
  • Like
Reactions: 3 users

Bravo

If ARM was an arm, BRN would be its biceps💪!

Neuromorphic chips to tackle AI’s power consumption​

GettyImages - informatique neuromorphique - neuromorphic computing


Friday 29th of September 2023
Reading time: 4 min


● Numerous studies are underway to develop chip architectures based on neural networks with the potential to meet the latency and energy consumption requirements of AI.
● The goal is to create autonomous embedded systems that no longer need to communicate with servers, which will benefit from much lower energy consumption.
● This new approach to computing, which makes use of processors with onboard memory, will drive innovation in the automotive, robotics and healthcare sectors.
Will autonomous on-board sensors soon be able to spot movements in live footage, identify them and thus recognize what is happening in a video, with no need for the vast amounts of energy needed for data transfers? Such technology worthy of the scenario of Minority Report could be made possible by neuromorphic computing, which draws its inspiration from networks of neurons in the human brain. “As it stands, computing tasks of this kind can only be done by sending data to servers, which process it before sending it back to autonomous systems, which requires enormous amounts of energy”, points out Corentin Delacour, a doctoral student and researcher at Montpellier University working on the European NeurONN project, which is developing neuromorphic chip architectures for oscillatory neural networks. A response to the physical challenges implied by Moore’s law, neuromorphic computing could pave the way for more powerful and hugely energy-efficient chip architectures. Neuromorphism takes its inspiration from the functioning of biological neural networks, favouring parallel rather than sequential architectures, meaning that several operations can be carried out at the same time, rather than in succession. As Fabio Pavanello, a photonics researcher at the IMEP-LAHC laboratory, explains, it may hold the key to overcoming difficulties associated with “traditional architectures, which have limitations in terms of energy efficiency and on the level of communication between memory and processors.”
Low-power embedded computing solutions for networked devices in automobiles, robotics, health care and other sectors.
“In photonic technology-based neuromorphic chips, latency is reduced to the speed of light,” explains Pavanello. The idea is to directly integrate memory into the processors of these chips, which would eliminate the need for constant communication between distinct blocks and result in a ten- to 100-fold reduction in power consumption. “Combining these two essential components would result in faster data processing and a significant decrease in latency,” adds the researcher.

Applications in a comprehensive range of sectors​

The challenge is therefore to develop architectures in the form of neural networks. “When the scope of a mathematical problem increases, the number of feasible solutions increases exponentially,” points out Corentin Delacour. “The oscillating neural networks (ONN) we work on allow us to solve optimization problems that involve conducting large numbers of calculations in real time.” Other research teams are studying alternative architectures that address the same needs, like spiking neural networks (SNNs). Madeleine Abernot, another doctoral student and researcher at the University of Montpellier, explains what these are: “The goal is to provide embedded computing solutions for networked devices in automobiles, robotics, health care, agriculture and other sectors. We have for example developed proof of concept for a FPGA chip with a start-up, A.I.Mergence, for on-board computer vision detection.” Jean-Baptiste Floderer, an expert in neuromorphic engineering and founder of Neurosonics, a company specialising in electronics for medical devices is focused on yet another field of application for the new chips: “Today, start-ups like Prophesee are working on neuromorphic cameras inspired by the functioning of the human retina. Detecting pixel changes in microseconds, they are able to carry out complex image processing in real time, with a minimum of computation and minimal power. Given that they mimic human neurons, neuromorphic chips could also be used to connect living neuronal networks with artificial neuronal networks for therapeutic purposes. The hope is that could be used to stimulate areas of the brain or spinal cord with such precision that it would be possible to treat neurological diseases, and even paralysis and blindness.”

Scaling up​

Intel has a developed a neuromorphic chip christened Loihi 2, based on asynchronous circuits with the capacity to learn in real time using synaptic plasticity mechanisms. In other words, this is a chip that is directly inspired by the real-world functioning of neuron synapses, which in biology, permit the passing of nervous signals between neurons that enable them to communicate. This latest generation of neuromorphic chips also offers advanced features for neuronal connectivity, enabling more complex interactions between neurons and more accurate modelling of the brain. In industry, companies like General Electric and Siemens are exploring possibilities offered by neuromorphic electronics for the optimization of manufacturing processes, that make use of autonomous systems capable of real-time learning to adapt to variations in production. In the field of security, companies like AnyVision and DeepCam are using neuromorphic computing for tasks like facial recognition, behavioural analysis and fault detection.

 
  • Like
  • Fire
  • Love
Reactions: 33 users

Bravo

If ARM was an arm, BRN would be its biceps💪!
  • Like
  • Fire
  • Love
Reactions: 28 users

Cgc516

Regular
Normal!
 
Top Bottom