BRN Discussion Ongoing

But surely the sophisticated tools in ASIC's hands would detect such egregious and, dare I say, repetitive manipulation?
Detecting and doing something are two different things.

Regulators in the financial sector prefer the silk glove of education and changing cultures to bring about sustainable long term reform of systems which once reformed can become self regulatory.

So much more efficient than the iron fist ruling by fear continuously funded from the public purse.

This is the 21st century not the dark ages. 🤡😂🤣🤡😂🤣🤡😂🤣

Not my opinion so DYOR
FF

AKIDA BALLISTA
 
  • Like
  • Haha
  • Wow
Reactions: 4 users

Xray1

Regular
You refer to the shorter manipulating the SP. That would be illegal.
IMO ... there was no manipulation involved this time round ....... It was purely the result of a poor revenue 4C with short term investors being burn't and mitigating their losses ..... whilst in turn, I think that many LTH's took the opportunity / advantage to top up their holdings ...just like I did !!!
 
  • Like
Reactions: 10 users

Diogenese

Top 20
Detecting and doing something are two different things.

Regulators in the financial sector prefer the silk glove of education and changing cultures to bring about sustainable long term reform of systems which once reformed can become self regulatory.

So much more efficient than the iron fist ruling by fear continuously funded from the public purse.

This is the 21st century not the dark ages. 🤡😂🤣🤡😂🤣🤡😂🤣

Not my opinion so DYOR
FF

AKIDA BALLISTA
Give me the silk glove every time.
 
  • Haha
Reactions: 4 users
Hi Martin
Now this is a way to emerge I have taken the liberty of copying this article as many will not open links but I am a past Optus customer so what’s the point of protecting my details I will open anything. Just kidding but everyone this is a must read:

BrainChip (ASX: BRN)
BrainChip (ASX: BRN) shares are down ~20% (at the time of writing) today on the back of reporting routine quarterly activities for 1Q23. While no bad news is being reported, BRN shares have been under pressure as traders are booking profits, as there is no good news on the commercialisation front yet!









155000008247433_zc_v3_1666931264903_1_(23).png
Today’s decline was mainly due to two factors:

1. BrainChip reported $118,000 in revenue from customers in the quarter, and traders have been expecting more considering that BRN has a $1.5 billion market capitalisation.


With only $118,000 coming in, BrainChip reported a cash burn of $3.8 million. The company has $24.6 million in cash on its balance sheet. This is enough funding for 6 quarters – meaning that BRN would not have to perform a capital raise for over a year.

2. A lack of news flow and commentary by the CEO.

We know that BrainChip has shipped Akida development kits to partners, large enterprises in strategic end markets, and Original Equipment Manufacturers (“OEMs”) to perform their own internal testing, validation, and product development.

BrainChip said they see the greatest amount of sales activity and engagement in the company’s history. However, no new deals have been announced yet. Today’s decline is a case of traders and investors being eager to hear more news from the CEO about their commercialisation timeline.

The Verdict

BrainChip said it will focus on key sales targets and converting technical evaluations into paid licenses in the coming quarter. In addition, BRN is accelerating the development of its next-generation Akida IP and products to extend its technological lead and market opportunity.

There was no bad news today, but there is no good news either. The decline can therefore be attributed to heightened speculation in the market. The company remains well-funded, and we have placed BrainChip under review as we perform a comprehensive analysis and share an update in the coming days
 
  • Like
  • Fire
  • Haha
Reactions: 29 users

equanimous

Norse clairvoyant shapeshifter goddess
IMO ... there was no manipulation involved this time round ....... It was purely the result of a poor revenue 4C with short term investors being burn't and mitigating their losses ..... whilst in turn, I think that many LTH's took the opportunity / advantage to top up their holdings ...just like I did !!!
EVERYTHING in the financial market is manipulated. There is no exception
 
  • Like
  • Haha
  • Fire
Reactions: 11 users

HopalongPetrovski

I'm Spartacus!
Ok, probably a silly question but let me get something straight as I just don’t understand all this sort of stuff that well. If an institution, say a super fund or investment fund etc, buys 1 million shares at $1 each for $1M for argument’s sake and then loans them to a shorter who through manipulation forces the price down to say 50c , who then buys them back to give back to the institution. The institution’s fund is now worth half what it was. How is this good for the institution?
It's just a part of the mix.
Your hypothetical fund who "loans out" for a hefty fee the 1million shares will have billions under management spread over a diverse range of the market and can call in those 1 million at any time irregardless of the current share price whether it be 50 cents or $1.50.
The fund will also have that $ million's value covered by variations of insurance, or by farming part of it out to other speculators or have a lien over other collateral owned by the shorter.
Most of the stocks the funds own, they are long on, but they can effectively "rent out" a proportion of a percentage at any given time basically risk free so that they have an income stream whether the market is going up or down.
Soph's play these games and occasionally get burnt in which case they'll probably be offered a piece of a capital raise at favourable terms providing them a stag profit which they can sell into.
Of course, you must've gone to the right school darlink. 🤣
 
  • Like
  • Love
  • Fire
Reactions: 10 users

Martin00

Emerged
Thanks sharing.
Just to provide some background regarding this 'Shares in Value' article, they had a recommendation for BRN at 92c on the 27/06/22.

Previously they had a buy at 0.49c on 01/09/22 followed by a sell recommendation of $1.40 on the 14/01/22.

I am not promoting them, as they get some recommendations wrong and right, but just giving holders a balanced perspective compared to 'Motley Fools' mob.
 
  • Like
  • Love
  • Fire
Reactions: 18 users

Esq.111

Fascinatingly Intuitive.
Give me the silk glove every time.
Afternoon Diogenese,

Stop it , A .... a, Great sense of humour 😄 .

Thankyou for your expertise breaking down all of the technical articles & questions of late for all mere mortles of late.

Extremely greatful.

Roughly two days ago , Anistasi In tech, did a short vidio on IBM'S new chip . I briefly watched her video and a few things rang a bell, in the technical jargon side of things.

Only if you are board, and I'm shaw you are not , Might be worth having a look at.
Anistaci's post / video popped up in my mail box two days ago so I presume it is her latest release.

Regards,
Esq.
 
  • Like
  • Love
Reactions: 10 users

Martin00

Emerged
Hi Martin
Now this is a way to emerge I have taken the liberty of copying this article as many will not open links but I am a past Optus customer so what’s the point of protecting my details I will open anything. Just kidding but everyone this is a must read:

BrainChip (ASX: BRN)
BrainChip (ASX: BRN) shares are down ~20% (at the time of writing) today on the back of reporting routine quarterly activities for 1Q23. While no bad news is being reported, BRN shares have been under pressure as traders are booking profits, as there is no good news on the commercialisation front yet!








155000008247433_zc_v3_1666931264903_1_(23).png
Today’s decline was mainly due to two factors:

1. BrainChip reported $118,000 in revenue from customers in the quarter, and traders have been expecting more considering that BRN has a $1.5 billion market capitalisation.


With only $118,000 coming in, BrainChip reported a cash burn of $3.8 million. The company has $24.6 million in cash on its balance sheet. This is enough funding for 6 quarters – meaning that BRN would not have to perform a capital raise for over a year.

2. A lack of news flow and commentary by the CEO.

We know that BrainChip has shipped Akida development kits to partners, large enterprises in strategic end markets, and Original Equipment Manufacturers (“OEMs”) to perform their own internal testing, validation, and product development.

BrainChip said they see the greatest amount of sales activity and engagement in the company’s history. However, no new deals have been announced yet. Today’s decline is a case of traders and investors being eager to hear more news from the CEO about their commercialisation timeline.

The Verdict

BrainChip said it will focus on key sales targets and converting technical evaluations into paid licenses in the coming quarter. In addition, BRN is accelerating the development of its next-generation Akida IP and products to extend its technological lead and market opportunity.

There was no bad news today, but there is no good news either. The decline can therefore be attributed to heightened speculation in the market. The company remains well-funded, and we have placed BrainChip under review as we perform a comprehensive analysis and share an update in the coming days
Thanks FF , wasn't sure if I should copy and paste or provide a link.
 
  • Like
  • Love
Reactions: 4 users
Hi Martin
Now this is a way to emerge I have taken the liberty of copying this article as many will not open links but I am a past Optus customer so what’s the point of protecting my details I will open anything. Just kidding but everyone this is a must read:

BrainChip (ASX: BRN)
BrainChip (ASX: BRN) shares are down ~20% (at the time of writing) today on the back of reporting routine quarterly activities for 1Q23. While no bad news is being reported, BRN shares have been under pressure as traders are booking profits, as there is no good news on the commercialisation front yet!








155000008247433_zc_v3_1666931264903_1_(23).png
Today’s decline was mainly due to two factors:

1. BrainChip reported $118,000 in revenue from customers in the quarter, and traders have been expecting more considering that BRN has a $1.5 billion market capitalisation.


With only $118,000 coming in, BrainChip reported a cash burn of $3.8 million. The company has $24.6 million in cash on its balance sheet. This is enough funding for 6 quarters – meaning that BRN would not have to perform a capital raise for over a year.

2. A lack of news flow and commentary by the CEO.

We know that BrainChip has shipped Akida development kits to partners, large enterprises in strategic end markets, and Original Equipment Manufacturers (“OEMs”) to perform their own internal testing, validation, and product development.

BrainChip said they see the greatest amount of sales activity and engagement in the company’s history. However, no new deals have been announced yet. Today’s decline is a case of traders and investors being eager to hear more news from the CEO about their commercialisation timeline.

The Verdict

BrainChip said it will focus on key sales targets and converting technical evaluations into paid licenses in the coming quarter. In addition, BRN is accelerating the development of its next-generation Akida IP and products to extend its technological lead and market opportunity.

There was no bad news today, but there is no good news either. The decline can therefore be attributed to heightened speculation in the market. The company remains well-funded, and we have placed BrainChip under review as we perform a comprehensive analysis and share an update in the coming days
Hey Blind Freddie these jokers recon Brainchips current cash of $24.6 million gives them 6 quarters of operating runway.

How many quarters are there in a year?

What’s that 4. So 4 into 6 goes how much?

A year and a half so if you double $24.6 million what’s that?

Really $49.2 million so that’s less than the $50 million you said they can get their hands on which would be three years and a bit left over.

Do you recon these jokers have got that right?

You do. 3 years plus I don’t believe it you sure your maths is right?

I mean if you are wrong about how many quarters are in a year.

I’m gunna Google it to be sure.

Hey Freddie your right. No doubt about you. Mum was right you certainly are the one with the brains.

Three years so that bloke saying the next 4C’s was make or break was talking through his hat. I’ll tell him he’s dreaming if I see him down the pub.

My opinion only and lots of plagiarism so DYOR & add ups.
FF

AKIDA BALLISTA
 
  • Haha
  • Like
  • Love
Reactions: 21 users
Thanks FF , wasn't sure if I should copy and paste or provide a link.
I have found it is best to copy and past at least the relevant part relating to BRN or the point you want to make. Sometimes it will be too long as there is a character limit on individual posts.
Regards
FF

AKIDA BALLISTA
 
  • Like
Reactions: 5 users

Milo

Member
Hi Milo
As you are emerged you might not know that I am a self confessed technophobe and as such I do not claim any technology expertise so I rely upon the engineer/s in our midst to keep me on track and accurate.

What I do, do, in a haphazard way is remember what is said and 95% of my posts are from memory so you need to do your own research but in making point number 5. I relied upon the following:

1. The Screen shot posted of the Edge Impulse presenter standing in front of the graphic comparing AKIDA technology to GPU's and CPU's and as Brainchip had a much bigger bar by some measure he was suggesting what we have been told by Brainchip;

2. The first thing we were told by Brainchip was at the 2019 AGM presentation by Peter van der Made where he stated that 100 AKD1000 chips could provide all of the computing power necessary to achieve full autonomous driving;

3. The second thing we were told by Brainchip is that AKIDA 1.0 can process all five senses including vision as well as Lidar, Radar and Ultrasonics on chip and can do sensor fusion;

4. The third thing we were told by Anil Mankar is that others (I assume now to be Edge Impulse) were bench marking AKIDA against GPU's and it was coming up favorable to AKIDA; (Just reading your post again to make sure I did not miss anything out and it occurs to me that this statement by Anil Mankar makes your suggestion about cars, buses and motor bikes totally incorrect I think.)

5. The fourth thing we were told is that using the Meta TF platform and the CNN2SNN converter you can keep all your existing compute and run it through Meta TF and the converter and achieve all the benefits of spiking neural network processing;

6. The fifth thing we were told is that AKIDA can do on chip convolution;

7. The sixth thing we have been told at the same 2019 AGM by Peter van der Made is that AKIDA can do maths;

8. The seventh thing we have been told is that AKIDA 1.0 is capable of performing regression analysis for vibration detection; and

9. Finally the ability of AKIDA technology to process multiple video streams with state of the art performance was proven with Studio and Accelerator which both won industry awards both of which were based upon exactly the same but earlier versions of AKIDA technology.

So if I have been misleading I apologize but it was not with any intent as I have simply accepted all of these known facts.

I will leave it to the engineer/s here to take these facts and explain why point 5. is or is not misleading. Perhaps @Diogenese can assist or perhaps you can also as I am assuming you have engineering or data science qualifications though you have not stated so.

My opinion only DYOR
FF

AKIDA BALLISTA
Hi Fact Finder,
Yes I'm an emerged poster and don't really post here like some of you do. Mainly because I have a full-time job and a young family. Just to give some background, I'm an electrical engineer by profession so I'm not an expert in electronics or chips but have some basic understanding enough to grasp the difference between Akida, GPUs and CPUs. Since you have commented about me and my post in a separate post as well let me provide my view about the points above. For simplicity, I just pointed to your point 5 in the original post but even the cost comparison is not viable if you cannot replace a GPU with Akida in all use cases. Akida is for the edge and GPUs are for Graphics processing.

1. I'm not sure what you are referring to here and I can't comment further without knowing what parameter they are comparing.

2. Akida is an AI chip and I think here he means that Akida can be used to process all the sensor data of the car. That doesn't mean Akida can outperform a GPU in areas the GPU's are good at. Do you think Akida can replace a GPU and able to handle the graphics you see in modern cars? Can Akida PCIe board replace a GPU and run modern games? If that were the case our Market cap won't be this by now.

3. Yes because Akida is an AI chip which is designed to work at the edge and process sensor data at a lower power. Therefore, it'll outperform GPUs in those edge use cases when it comes to power and cost. That doesn't mean Akida is better than GPUs in a general way.

4. I would like to know what they were benchmarking? Outperformance will depend on the parameter they were benchmarking. For example, you can benchmark the emissions of cars. But just because one car has less emissions, you can't claim it is superior than than its peers in every way. A car with higher emissions will outperform its peers in other parameters. So it is in fact misleading to say "AKIDA 1.0 out performs GPUs and CPUs." without mentioning in what way?

5. Its a feature they added so that its easier for end users to use Akida. Can you explain how this improves the performance of Akida?

6. Yes so its good for edge applications. Another feature of Akida.

7. Not sure about how good is Akida in maths but would like to know from @Diogenese if Akida can outperform a CPU in this case?

8 and 9. Again this is related to sensor data so no one is saying Akida cannot process sensor data.
 
  • Like
  • Fire
Reactions: 10 users

Iseki

Regular
So Ford, VW, Intel, and Tesla have all attempted to bypass the intermediate steps to autonomous driving (AD) and fallen short - you have to crawl before you can walk.

It's not that the billions of dollars they invested has been totally wasted - you should always learn from your mistakes. But both Ford and Intel have recently sold their AD subsidiaries. The "recently" is significant in that it shows that these large companies are feeling the pinch now. As Sean intimated, it's a tough economic environment at the moment.

Remember that they were attempting AD without Valeo's SCALA. I haven't researched Mobileye's technology in depth, but this sample looks unpromising from a SNN point of view:

US2022222317A1 APPLYING A CONVOLUTION KERNEL ON INPUT DATA

View attachment 20521

[0028] Both application processor 180 and image processor 190 can include various types of processing devices. For example, either or both of application processor 180 and image processor 190 can include one or more microprocessors, preprocessors (such as image preprocessors), graphics processors, central processing units (CPUs), support circuits, digital signal processors, integrated circuits, memory, or any other types of devices suitable for running applications and for image processing and analysis. In some embodiments, application processor 180 or image processor 190 can include any type of single or multi-core processor, mobile device microcontroller, central processing unit, or other type of processor. Various processing devices can be used, for example including processors available from manufacturers (e.g., Intel®, AMD®, etc.), and can include various architectures (e.g., x86 processor, ARM®, etc.).

[0054] A convolution neural network includes an input layer, an output layer, as well as multiple hidden layers. The hidden layers of a CNN typically include a series of convolution layers that convolve with a multiplication or other dot product. The activation function is commonly a RELU layer, and is subsequently followed by additional convolutions such as pooling layers, fully connected layers and normalization layers, referred to as hidden layers because their inputs and outputs are masked by the activation function and final convolution. The final convolution, in turn, often involves backpropagation in order to more accurately weight the end product.

Argo AI seems likewise deficient:
US2022301099A1 SYSTEMS AND METHODS FOR GENERATING OBJECT DETECTION LABELS USING FOVEATED IMAGE MAGNIFICATION FOR AUTONOMOUS DRIVING

View attachment 20524


[0044] The machine learning model for generating a saliency map may be generated and/or trained using any now or hereafter known techniques such as, without limitation, kernel density estimation (KDE) and convolution neural network (CNN), both of which are differentiable and the parameters can be learned through the final task loss. In KDE, the system may use bounding box centers as the data points that have a bandwidth proportional to the square root of the area of the bounding box. In CNN, the system may represent the bounding boxes as an N×4 matrix, where N is a fixed maximum value for the number of bounding boxes. If there are less than N objects, the input may be zero-padded to this dimension. Once a model has been generated, the system may also apply the model to all bounding boxes in a training dataset to obtain a dataset-wide prior.

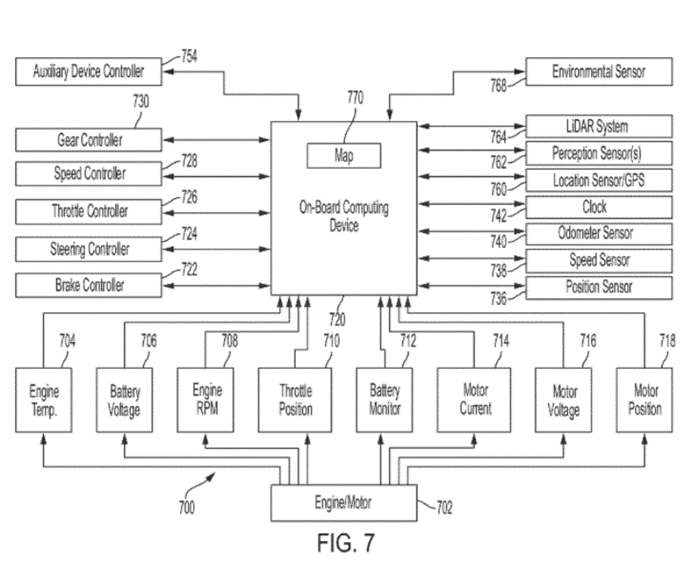
[0076] During operations, information is communicated from the sensors to the on-board computing device 720 . The on-board computing device 720 can (i) cause the sensor information to be communicated from the mobile platform to an external device (e.g., computing device 101 of FIG. 1) and/or (ii) use the sensor information to control operations of the mobile platform
.

So, not only do they not have SCALA, they don't seem to be aware of Akida.

Could it be possible that both Argo and Mobileye had very good algorithms, but they were implementing them on 20th century processors?

That's like getting into the ring against Muhammad Ali with your shoe laces tied together.
"Could it be possible that both Argo and Mobileye had very good algorithms, but they were implementing them on 20th century processors?"

Absolutely. I can just see Gelsinger rallying the troops: Let's not check out Akida, lets just flog off mobileye for $30bill less.

But watch this space: using impeccable logic intel will now become an EAP and put Akida IP into x86 chips.
 
  • Like
  • Haha
Reactions: 7 users

Gazzafish

Regular
The SEMA car industry show in Las Vegas runs from Nov.1-4. Wonder if any of our NDA customers will announce their adoption of Akida during their presentations?? 🤞🏻
 
  • Like
  • Fire
  • Thinking
Reactions: 8 users

Foxdog

Regular
“In the coming quarter, the Company will focus on key sales targets and converting technical evaluations into paid licenses.”
This comment has me intrigued.
Sean has not struck me as a CEO who throws away comments. Every interview has been clear and considered.
I’m sure he knows that by the making this statement he is creating the expectancy of paid licences occurring during this next quarter. (Note the plural).
This means we are to expect announcements. Otherwise he is putting his reputation on the line.
The team have described him as laser focussed! Sloppy comments I don’t expect.
Am I reading too much into it?
The way I read it was a much less confident, perhaps reserved, version of our CEO. I think the reality and enormity of introducing new tech into the current world (wars, recessions, inflation, interest rate rises, blah, blah, blah) has dawned upon him (not saying he doesn't know what he is doing but the climate has changed). His comments are valid whichever way this eventually goes - he hasn't said that the evaluations will actually be converted, that's just a goal for the company.
I think it was a measured response to difficult times. If we see this through to the inevitable economic rebound then we should be in a good position to prosper from the work that is being done now. imo
 
  • Like
  • Love
  • Fire
Reactions: 15 users
Hi Fact Finder,
Yes I'm an emerged poster and don't really post here like some of you do. Mainly because I have a full-time job and a young family. Just to give some background, I'm an electrical engineer by profession so I'm not an expert in electronics or chips but have some basic understanding enough to grasp the difference between Akida, GPUs and CPUs. Since you have commented about me and my post in a separate post as well let me provide my view about the points above. For simplicity, I just pointed to your point 5 in the original post but even the cost comparison is not viable if you cannot replace a GPU with Akida in all use cases. Akida is for the edge and GPUs are for Graphics processing.

1. I'm not sure what you are referring to here and I can't comment further without knowing what parameter they are comparing.

2. Akida is an AI chip and I think here he means that Akida can be used to process all the sensor data of the car. That doesn't mean Akida can outperform a GPU in areas the GPU's are good at. Do you think Akida can replace a GPU and able to handle the graphics you see in modern cars? Can Akida PCIe board replace a GPU and run modern games? If that were the case our Market cap won't be this by now.

3. Yes because Akida is an AI chip which is designed to work at the edge and process sensor data at a lower power. Therefore, it'll outperform GPUs in those edge use cases when it comes to power and cost. That doesn't mean Akida is better than GPUs in a general way.

4. I would like to know what they were benchmarking? Outperformance will depend on the parameter they were benchmarking. For example, you can benchmark the emissions of cars. But just because one car has less emissions, you can't claim it is superior than than its peers in every way. A car with higher emissions will outperform its peers in other parameters. So it is in fact misleading to say "AKIDA 1.0 out performs GPUs and CPUs." without mentioning in what way?

5. Its a feature they added so that its easier for end users to use Akida. Can you explain how this improves the performance of Akida?

6. Yes so its good for edge applications. Another feature of Akida.

7. Not sure about how good is Akida in maths but would like to know from @Diogenese if Akida can outperform a CPU in this case?

8 and 9. Again this is related to sensor data so no one is saying Akida cannot process sensor data.
As I said I only know what I am told and read.

Therefore I can tell you that you are wrong as to your view at point 2. I was present at the 2019 AGM as were many who post here when Peter van der Made made it perfectly clear that what he was saying was that he could throw away the GPU and CPUs in the current cars and do all the compute with 100 AKD1000 chips as they were then called. He further stated that with nine AKD1000 including providing redundancy he could cover all the sensors necessary for ADAS.

( Also intended to mention that as well as the throwing out statement he referenced the fact that the current compute was costing a minimum of three thousand plus dollars and that AKIDA was likely to be $10 a chip in bulk so total compute cost per vehicle would be one third or about $1,000 he could not have been any clearer. Following this in early 2020 the then CEO Mr Dinardo in one of his webinars went to some length to hose down shareholder enthusiasm about this use of AKIDA saying that while Peter van der Made was correct their sole focus was to target the Edge.)

This debate about AKIDA only being suitable for Edge compute is a long dead smelly red herring. It has been stated by the company many times that they have chosen to target the Edge because there is no incumbent player and so they do not have any true competitor in that market.

The intention has always been to move back up the supply chain into the data centre as the company becomes established and the technology is recognised and understood.

You will notice that up to this point @Diogenese has not taken up my challenge to correct my view point as he has on many prior occasions.

I accept you are genuine but you really do need to do a lot more research around the AKIDA technology value proposition.

For example the following research from Sandia makes clear that the full power of SNN computing is not yet understood with the reservation that this is not the case where Peter van der Made and his team are concerned:


Sandia Researchers Show Neuromorphic Computing Widely Applicable​

March 10, 2022
ALBUQUERQUE, N.M., March 10, 2022 — With the insertion of a little math, Sandia National Laboratories researchers have shown that neuromorphic computers, which synthetically replicate the brain’s logic, can solve more complex problems than those posed by artificial intelligence and may even earn a place in high-performance computing.
The findings, detailed in a recent article in the journal Nature Electronics, show that neuromorphic simulations using the statistical method called random walks can track X-rays passing through bone and soft tissue, disease passing through a population, information flowing through social networks and the movements of financial markets, among other uses, said Sandia theoretical neuroscientist and lead researcher James Bradley Aimone.
Showing a neuromorphic advantage, both the IBM TrueNorth and Intel Loihi neuromorphic chips observed by Sandia National Laboratories researchers were significantly more energy efficient than conventional computing hardware. The graph shows Loihi can perform about 10 times more calculations per unit of energy than a conventional processor.
“Basically, we have shown that neuromorphic hardware can yield computational advantages relevant to many applications, not just artificial intelligence to which it’s obviously kin,” said Aimone. “Newly discovered applications range from radiation transport and molecular simulations to computational finance, biology modeling and particle physics.”
In optimal cases, neuromorphic computers will solve problems faster and use less energy than conventional computing, he said.
The bold assertions should be of interest to the high-performance computing community because finding capabilities to solve statistical problems is of increasing concern, Aimone said.
“These problems aren’t really well-suited for GPUs [graphics processing units], which is what future exascale systems are likely going to rely on,” Aimone said. “What’s exciting is that no one really has looked at neuromorphic computing for these types of applications before.”
Sandia engineer and paper author Brian Franke said, “The natural randomness of the processes you list will make them inefficient when directly mapped onto vector processors like GPUs on next-generation computational efforts. Meanwhile, neuromorphic architectures are an intriguing and radically different alternative for particle simulation that may lead to a scalable and energy-efficient approach for solving problems of interest to us.”
Franke models photon and electron radiation to understand their effects on components.
The team successfully applied neuromorphic-computing algorithms to model random walks of gaseous molecules diffusing through a barrier, a basic chemistry problem, using the 50-million-chip Loihi platform Sandia received approximately a year and a half ago from Intel Corp., said Aimone. “Then we showed that our algorithm can be extended to more sophisticated diffusion processes useful in a range of applications.”
The claims are not meant to challenge the primacy of standard computing methods used to run utilities, desktops and phones. “There are, however, areas in which the combination of computing speed and lower energy costs may make neuromorphic computing the ultimately desirable choice,” he said.
Unlike the difficulties posed by adding qubits to quantum computers — another interesting method of moving beyond the limitations of conventional computing — chips containing artificial neurons are cheap and easy to install, Aimone said.
There can still be a high cost for moving data on or off the neurochip processor. “As you collect more, it slows down the system, and eventually it won’t run at all,” said Sandia mathematician and paper author William Severa. “But we overcame this by configuring a small group of neurons that effectively computed summary statistics, and we output those summaries instead of the raw data.”
Severa wrote several of the experiment’s algorithms.
Like the brain, neuromorphic computing works by electrifying small pin-like structures, adding tiny charges emitted from surrounding sensors until a certain electrical level is reached. Then the pin, like a biological neuron, flashes a tiny electrical burst, an action known as spiking. Unlike the metronomical regularity with which information is passed along in conventional computers, said Aimone, the artificial neurons of neuromorphic computing flash irregularly, as biological ones do in the brain, and so may take longer to transmit information. But because the process only depletes energies from sensors and neurons if they contribute data, it requires less energy than formal computing, which must poll every processor whether contributing or not. The conceptually bio-based process has another advantage: Its computing and memory components exist in the same structure, while conventional computing uses up energy by distant transfer between these two functions. The slow reaction time of the artificial neurons initially may slow down its solutions, but this factor disappears as the number of neurons is increased so more information is available in the same time period to be totaled, said Aimone.
The process begins by using a Markov chain — a mathematical construct where, like a Monopoly gameboard, the next outcome depends only on the current state and not the history of all previous states. That randomness contrasts, said Sandia mathematician and paper author Darby Smith, with most linked events. For example, he said, the number of days a patient must remain in the hospital are at least partially determined by the preceding length of stay.
Beginning with the Markov random basis, the researchers used Monte Carlo simulations, a fundamental computational tool, to run a series of random walks that attempt to cover as many routes as possible.
“Monte Carlo algorithms are a natural solution method for radiation transport problems,” said Franke. “Particles are simulated in a process that mirrors the physical process.”
The energy of each walk was recorded as a single energy spike by an artificial neuron reading the result of each walk in turn. “This neural net is more energy efficient in sum than recording each moment of each walk, as ordinary computing must do. This partially accounts for the speed and efficiency of the neuromorphic process,” said Aimone. More chips will help the process move faster using the same amount of energy, he said.
The next version of Loihi, said Sandia researcher Craig Vineyard, will increase its current chip scale from 128,000 neurons per chip to up to one million. Larger scale systems then combine multiple chips to a board.
“Perhaps it makes sense that a technology like Loihi may find its way into a future high-performance computing platform,” said Aimone. “This could help make HPC much more energy efficient, climate-friendly and just all around more affordable.”
The work was funded under the NNSA Advanced Simulation and Computing program and Sandia’s Laboratory Directed Research and Development program.

A random walk diffusion model based on data from Sandia National Laboratories algorithms running on an Intel Loihi neuromorphic platform. Video courtesy of Sandia National Laboratories.
About Sandia National Laboratories
Sandia National Laboratories is a multimission laboratory operated by National Technology and Engineering Solutions of Sandia LLC, a wholly owned subsidiary of Honeywell International Inc., for the U.S. Department of Energy’s National Nuclear Security Administration. Sandia Labs has major research and development responsibilities in nuclear deterrence, global security, defense, energy technologies and economic competitiveness, with main facilities in Albuquerque, New Mexico, and Livermore, California.

Source: Sandia National Laboratories

*********************************************************************************************************************************************************

Moving on from this in the final report to NASA of the outcome of its Phase 1 project to provide a design for a hardsil AKIDA 1000 for unconnected autonomous space applications Vorago stated that AKIDA would allow Rover to achieve full autonomy and the NASA goal of speeds up to 20 kph.

AKIDA technology is not just about processing sensors and again accepting you are genuine why do you not contact Edge Impulse or Brainchip and ask them for the details of the bench marking they engaged in.

I will say this at the 2021 Ai Field Day Anil Mankar said this about GPUs and AKIDA


"And that's why we are able to do low power analysis.. The same Mobilenet V1 that you can run on a GPU I can do inference on it. I'll be doing exactly the same level of computation that you want to do because depending on the number of parameters in your CNN, what your input resolutions, you have to do certain calculations to find object classification. We do something similar, but because we do an event domain, I will not be doing, I will be avoiding operations where they are zero value events."

Your statement that if AKIDA could do these things then our valuation would not be where it is and that is the whole point AKIDA technology is beyond anything you are imaging to be its limits.

Finally these researchers do not share your view regarding being able to do regression analysis using SNN technology in fact they think they are on to something however Peter van der Made and team beat them to it by a significant margin:


Spiking Neural Networks for Nonlinear Regression
Alexander Henkes, Jason K. Eshraghian, Member, IEEE, Henning Wessels
Abstract—Spiking neural networks, also often referred to as
the third generation of neural networks, carry the potential for
a massive reduction in memory and energy consumption over
traditional, second-generation neural networks. Inspired by the
undisputed efficiency of the human brain, they introduce temporal
and neuronal sparsity, which can be exploited by next-generation
neuromorphic hardware. To broaden the pathway toward engi-
neering applications, where regression tasks are omnipresent, we
introduce this exciting technology in the context of continuum
mechanics. However, the nature of spiking neural networks poses
a challenge for regression problems, which frequently arise in
the modeling of engineering sciences. To overcome this problem,
a framework for regression using spiking neural networks
is proposed. In particular, a network topology for decoding
binary spike trains to real numbers is introduced, utilizing the
membrane potential of spiking neurons. Several different spiking
neural architectures, ranging from simple spiking feed-forward
to complex spiking long short-term memory neural networks,
are derived. Numerical experiments directed towards regression
of linear and nonlinear, history-dependent material models are
carried out. As SNNs exhibit memory-dependent dynamics, they
are a natural fit for modelling history-dependent materials which
are prevalent through all of engineering sciences. For example, we
show that SNNs can accurately model materials that are stressed
beyond reversibility, which is a challenging type of non-linearity.
A direct comparison with counterparts of traditional neural
networks shows that the proposed framework is much more
efficient while retaining precision and generalizability. All code
has been made publicly available in the interest of reproducibility
and to promote continued enhancement in this new domain

(Sorry left out this paper was published in October, 2022)


My opinion only so DYOR
FF

AKIDA BALLISTA


 
Last edited:
  • Like
  • Fire
  • Love
Reactions: 35 users

Diogenese

Top 20
Hey Blind Freddie these jokers recon Brainchips current cash of $24.6 million gives them 6 quarters of operating runway.

How many quarters are there in a year?

What’s that 4. So 4 into 6 goes how much?

A year and a half so if you double $24.6 million what’s that?

Really $49.2 million so that’s less than the $50 million you said they can get their hands on which would be three years and a bit left over.

Do you recon these jokers have got that right?

You do. 3 years plus I don’t believe it you sure your maths is right?

I mean if you are wrong about how many quarters are in a year.

I’m gunna Google it to be sure.

Hey Freddie your right. No doubt about you. Mum was right you certainly are the one with the brains.

Three years so that bloke saying the next 4C’s was make or break was talking through his hat. I’ll tell him he’s dreaming if I see him down the pub.

My opinion only and lots of plagiarism so DYOR & add ups.
FF

AKIDA BALLISTA
Also tell him not to sit on his hat ...
 
  • Haha
  • Like
Reactions: 6 users
Also tell him not to sit on his hat ...
Ssssh I put it on his favourite chair to teach him a lesson. He is so smug about being able to do maths.
 
  • Haha
  • Like
  • Wow
Reactions: 9 users
Top Bottom