Technology, Resource and Mining

Diogenese

Top 20
Hi @Semmel ,

Further to today's recycling agreement announcement with Aurubis and our discussion on recycling, this is Talga's recycling patent application to be used in the process. It was published in January 2024.

WO2024003761A1 GRAPHITE MATERIAL PURIFICATION PROCESS 20220629

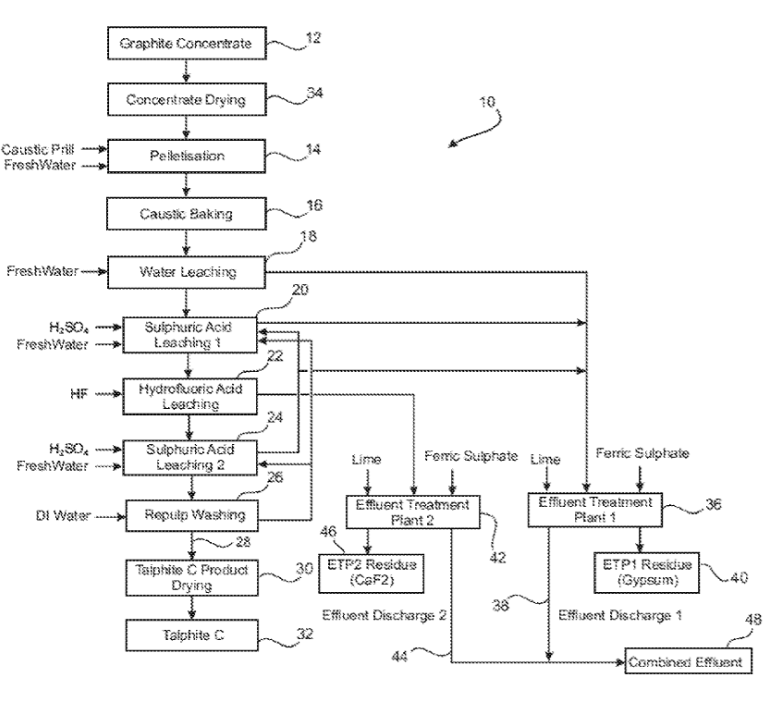
A graphite material purification process (10) comprising

a pelletisation step (14),

a caustic baking step (16) providing a sintered product,

a water leach step (18) whereby impurity minerals are solubilised, forwarded for effluent treatment, and separated,

a first sulphuric acid leach step (20) wherein remaining impurity minerals are solubilised, forwarded for effluent treatment, and separated from leach solids,

a hydrofluoric acid leach step (22) wherein partially leached impurity minerals are solubilised, forwarded for effluent treatment, and separated from leach solids,

a second sulphuric acid leach step (24) wherein impurity minerals not leached in previous steps and components precipitated in the hydrofluoric acid leach step (22) are solubilised, forwarded for effluent treatment, and separated from leach solids, and

washing stages wherein remaining soluble impurities are separated, and providing a purified graphite material (32).



[0055] The caustic baking step (ii) is undertaken at between about 150 and 300°C and causes the caustic soda and, in particular, silicate impurity minerals to react and be rendered soluble in water and mild acid conditions. The caustic baking step has a residence time in the range of about 60 to 240 minutes, for example about 120 minutes. The amount of caustic soda added to the graphite material to be purified is calculated using the ratio of at least 1 mol caustic to 1 mol silicon, for example between 2.5 to 5.5 moles caustic to silicon, particularly 3.2 mol caustic : 1 mol silicon. The caustic baking step (ii) is undertaken, for example, in a rotating kiln.

[0056] The water leach step (iii) is undertaken at between about 5-60°C, for example about 35°C ±5°C. The water leach step (iii) is undertaken in a single leach step, although in certain circumstances it may be undertaken in multiple, for example three, counter-current leach stages. The water leach step (iii) has a retention time of between about 30 to 240 minutes.



[0057] The first sulphuric acid leach step (iv) is undertaken at between about 5 to 60°C, for example about 40°C ±5 °C with a retention time of between about 30 to 240 minutes, for example about 120 minutes. Concentrated sulphuric acid is added in the first sulphuric acid leach step (iv). Impurities leached in the sulphuric acid leach step (iv) preferably include residual amounts of sodium silicate, sodium alunite, iron oxide and iron hydroxide, and titanium mineral phases not removed in step (iii). Still preferably, the residual free acid at the end of the first sulphuric leach step (iv) is in the range of 5-75 g/L H2SO4, for example about 50 g/L ±5 g/L H2SO4. The first sulphuric acid leach step (iv) preferably operates with between 5 to 25% solids, for example 10% solids.

[0058] Impurities leached in the first sulphuric acid leach step (iv) include sodium silicate, sodium alunite, iron oxide and iron hydroxide mineral phases formed during the caustic baking step, together with any residual caustic.

[0059] It is envisaged that all, or a portion of, the product of the first sulphuric acid leach step (iv) may be recycled to step (i) in order to expose it to a second baking step (ii). It is understood that this may be advantageous in addressing titanium levels, as the baking step (ii) is the stage of the process of the present invention in which titanium minerals are ‘cracked’ (eg. titanite and rutile).

[0060] The hydrofluoric acid leach step (v) is undertaken at between about 5- 60°C, for example about 40°C ±5°C. Impurities leached in the hydrofluoric leach step (v) include but are not limited to quartz, titanium mineral phases, and residual amounts of albite, biotite, and pyrophyllite. The residual free acid at the end of the hydrofluoric acid leach step (v) is in the range of about 5-75 g/LHF, for example about 25 g/L ±5 g/L HF. The hydrofluoric acid leach step (v) operates with between 5 to 25% solids, for example 10% solids. [0061] The hydrofluoric acid added to the acid leach step (v) is in the range of about 20 to 70% concentration. The hydrofluoric acid concentration in the acid leach step (v) is preferably in the range of 15-50 g/L, depending on the grade and mineralogical composition of the starting graphite material. The leach solids from the hydrofluoric leach step (v) have substantially no, or only trace amounts of, silicon remaining therein.

[0062] The second sulphuric acid leach step (vi) is undertaken at between about 5-60°C, for example about 40°C ±5°C. Impurities leached in the second sulphuric acid leach step (vi) include precipitated fluoride phases, for example calcium fluoride, and remaining base metals. The second sulphuric acid leach step (vi) operates with between 5 to 25% solids, for example 10% solids. The second sulphuric acid leach step (iv) has a retention time of between about 30 to 240 minutes, for example about 120 minutes.

[0063] Concentrated sulphuric acid is added in the second sulphuric acid leach step (vi). The residual free acid at the end of the second sulphuric leach step (iv) is in the range of 5-75 g/L H2SO4, for example about 50 g/L ±5 g/L H2SO4. Acid solutions from the second sulphuric acid leach step (vi) are recovered and recycled to the first sulphuric acid leach step (iv) and the second sulphuric acid leach step (vi).

1725957685553.png
 
Last edited:
  • Like
  • Love
Reactions: 9 users

cosors

👀

I would like to remind you that the Sustainability Act has recently come into force. All companies in the EU must comply with it. It was also stipulated that suppliers must endeavour to recycle.
So it is not a question of why Talga is doing this. The customers have to prove it. Talga is simply filling a gap that previously existed. Talga and the customers can demonstrate this in their report in order to fulfil the sustainability report.
@Dio: Thanks for the patent. It is quite informative.
Just my thoughts.
 
  • Like
  • Love
Reactions: 9 users

brewm0re

Regular
Hi @Semmel ,

Further to today's recycling agreement announcement with Aurubis and our discussion on recycling, this is Talga's recycling patent application to be used in the process. It was published in January 2024.

WO2024003761A1 GRAPHITE MATERIAL PURIFICATION PROCESS 20220629

A graphite material purification process (10) comprising

a pelletisation step (14),

a caustic baking step (16) providing a sintered product,

a water leach step (18) whereby impurity minerals are solubilised, forwarded for effluent treatment, and separated,

a first sulphuric acid leach step (20) wherein remaining impurity minerals are solubilised, forwarded for effluent treatment, and separated from leach solids,

a hydrofluoric acid leach step (22) wherein partially leached impurity minerals are solubilised, forwarded for effluent treatment, and separated from leach solids,

a second sulphuric acid leach step (24) wherein impurity minerals not leached in previous steps and components precipitated in the hydrofluoric acid leach step (22) are solubilised, forwarded for effluent treatment, and separated from leach solids, and

washing stages wherein remaining soluble impurities are separated, and providing a purified graphite material (32).



[0055] The caustic baking step (ii) is undertaken at between about 150 and 300°C and causes the caustic soda and, in particular, silicate impurity minerals to react and be rendered soluble in water and mild acid conditions. The caustic baking step has a residence time in the range of about 60 to 240 minutes, for example about 120 minutes. The amount of caustic soda added to the graphite material to be purified is calculated using the ratio of at least 1 mol caustic to 1 mol silicon, for example between 2.5 to 5.5 moles caustic to silicon, particularly 3.2 mol caustic : 1 mol silicon. The caustic baking step (ii) is undertaken, for example, in a rotating kiln.

[0056] The water leach step (iii) is undertaken at between about 5-60°C, for example about 35°C ±5°C. The water leach step (iii) is undertaken in a single leach step, although in certain circumstances it may be undertaken in multiple, for example three, counter-current leach stages. The water leach step (iii) has a retention time of between about 30 to 240 minutes.



[0057] The first sulphuric acid leach step (iv) is undertaken at between about 5 to 60°C, for example about 40°C ±5 °C with a retention time of between about 30 to 240 minutes, for example about 120 minutes. Concentrated sulphuric acid is added in the first sulphuric acid leach step (iv). Impurities leached in the sulphuric acid leach step (iv) preferably include residual amounts of sodium silicate, sodium alunite, iron oxide and iron hydroxide, and titanium mineral phases not removed in step (iii). Still preferably, the residual free acid at the end of the first sulphuric leach step (iv) is in the range of 5-75 g/L H2SO4, for example about 50 g/L ±5 g/L H2SO4. The first sulphuric acid leach step (iv) preferably operates with between 5 to 25% solids, for example 10% solids.

[0058] Impurities leached in the first sulphuric acid leach step (iv) include sodium silicate, sodium alunite, iron oxide and iron hydroxide mineral phases formed during the caustic baking step, together with any residual caustic.

[0059] It is envisaged that all, or a portion of, the product of the first sulphuric acid leach step (iv) may be recycled to step (i) in order to expose it to a second baking step (ii). It is understood that this may be advantageous in addressing titanium levels, as the baking step (ii) is the stage of the process of the present invention in which titanium minerals are ‘cracked’ (eg. titanite and rutile).

[0060] The hydrofluoric acid leach step (v) is undertaken at between about 5- 60°C, for example about 40°C ±5°C. Impurities leached in the hydrofluoric leach step (v) include but are not limited to quartz, titanium mineral phases, and residual amounts of albite, biotite, and pyrophyllite. The residual free acid at the end of the hydrofluoric acid leach step (v) is in the range of about 5-75 g/LHF, for example about 25 g/L ±5 g/L HF. The hydrofluoric acid leach step (v) operates with between 5 to 25% solids, for example 10% solids. [0061] The hydrofluoric acid added to the acid leach step (v) is in the range of about 20 to 70% concentration. The hydrofluoric acid concentration in the acid leach step (v) is preferably in the range of 15-50 g/L, depending on the grade and mineralogical composition of the starting graphite material. The leach solids from the hydrofluoric leach step (v) have substantially no, or only trace amounts of, silicon remaining therein.

[0062] The second sulphuric acid leach step (vi) is undertaken at between about 5-60°C, for example about 40°C ±5°C. Impurities leached in the second sulphuric acid leach step (vi) include precipitated fluoride phases, for example calcium fluoride, and remaining base metals. The second sulphuric acid leach step (vi) operates with between 5 to 25% solids, for example 10% solids. The second sulphuric acid leach step (iv) has a retention time of between about 30 to 240 minutes, for example about 120 minutes.

[0063] Concentrated sulphuric acid is added in the second sulphuric acid leach step (vi). The residual free acid at the end of the second sulphuric leach step (iv) is in the range of 5-75 g/L H2SO4, for example about 50 g/L ±5 g/L H2SO4. Acid solutions from the second sulphuric acid leach step (vi) are recovered and recycled to the first sulphuric acid leach step (iv) and the second sulphuric acid leach step (vi).

View attachment 69095
Thanks Dio. Great find. Reinforces this isn’t a company simply digging up some mineral from the ground. Slowly but surely TLG are getting its claws in many areas with a range of companies.
 
  • Like
  • Love
Reactions: 4 users

cosors

👀
Hi @Semmel ,

Further to today's recycling agreement announcement with Aurubis and our discussion on recycling, this is Talga's recycling patent application to be used in the process. It was published in January 2024.

WO2024003761A1 GRAPHITE MATERIAL PURIFICATION PROCESS 20220629

A graphite material purification process (10) comprising

a pelletisation step (14),

a caustic baking step (16) providing a sintered product,

a water leach step (18) whereby impurity minerals are solubilised, forwarded for effluent treatment, and separated,

a first sulphuric acid leach step (20) wherein remaining impurity minerals are solubilised, forwarded for effluent treatment, and separated from leach solids,

a hydrofluoric acid leach step (22) wherein partially leached impurity minerals are solubilised, forwarded for effluent treatment, and separated from leach solids,

a second sulphuric acid leach step (24) wherein impurity minerals not leached in previous steps and components precipitated in the hydrofluoric acid leach step (22) are solubilised, forwarded for effluent treatment, and separated from leach solids, and

washing stages wherein remaining soluble impurities are separated, and providing a purified graphite material (32).



[0055] The caustic baking step (ii) is undertaken at between about 150 and 300°C and causes the caustic soda and, in particular, silicate impurity minerals to react and be rendered soluble in water and mild acid conditions. The caustic baking step has a residence time in the range of about 60 to 240 minutes, for example about 120 minutes. The amount of caustic soda added to the graphite material to be purified is calculated using the ratio of at least 1 mol caustic to 1 mol silicon, for example between 2.5 to 5.5 moles caustic to silicon, particularly 3.2 mol caustic : 1 mol silicon. The caustic baking step (ii) is undertaken, for example, in a rotating kiln.

[0056] The water leach step (iii) is undertaken at between about 5-60°C, for example about 35°C ±5°C. The water leach step (iii) is undertaken in a single leach step, although in certain circumstances it may be undertaken in multiple, for example three, counter-current leach stages. The water leach step (iii) has a retention time of between about 30 to 240 minutes.



[0057] The first sulphuric acid leach step (iv) is undertaken at between about 5 to 60°C, for example about 40°C ±5 °C with a retention time of between about 30 to 240 minutes, for example about 120 minutes. Concentrated sulphuric acid is added in the first sulphuric acid leach step (iv). Impurities leached in the sulphuric acid leach step (iv) preferably include residual amounts of sodium silicate, sodium alunite, iron oxide and iron hydroxide, and titanium mineral phases not removed in step (iii). Still preferably, the residual free acid at the end of the first sulphuric leach step (iv) is in the range of 5-75 g/L H2SO4, for example about 50 g/L ±5 g/L H2SO4. The first sulphuric acid leach step (iv) preferably operates with between 5 to 25% solids, for example 10% solids.

[0058] Impurities leached in the first sulphuric acid leach step (iv) include sodium silicate, sodium alunite, iron oxide and iron hydroxide mineral phases formed during the caustic baking step, together with any residual caustic.

[0059] It is envisaged that all, or a portion of, the product of the first sulphuric acid leach step (iv) may be recycled to step (i) in order to expose it to a second baking step (ii). It is understood that this may be advantageous in addressing titanium levels, as the baking step (ii) is the stage of the process of the present invention in which titanium minerals are ‘cracked’ (eg. titanite and rutile).

[0060] The hydrofluoric acid leach step (v) is undertaken at between about 5- 60°C, for example about 40°C ±5°C. Impurities leached in the hydrofluoric leach step (v) include but are not limited to quartz, titanium mineral phases, and residual amounts of albite, biotite, and pyrophyllite. The residual free acid at the end of the hydrofluoric acid leach step (v) is in the range of about 5-75 g/LHF, for example about 25 g/L ±5 g/L HF. The hydrofluoric acid leach step (v) operates with between 5 to 25% solids, for example 10% solids. [0061] The hydrofluoric acid added to the acid leach step (v) is in the range of about 20 to 70% concentration. The hydrofluoric acid concentration in the acid leach step (v) is preferably in the range of 15-50 g/L, depending on the grade and mineralogical composition of the starting graphite material. The leach solids from the hydrofluoric leach step (v) have substantially no, or only trace amounts of, silicon remaining therein.

[0062] The second sulphuric acid leach step (vi) is undertaken at between about 5-60°C, for example about 40°C ±5°C. Impurities leached in the second sulphuric acid leach step (vi) include precipitated fluoride phases, for example calcium fluoride, and remaining base metals. The second sulphuric acid leach step (vi) operates with between 5 to 25% solids, for example 10% solids. The second sulphuric acid leach step (iv) has a retention time of between about 30 to 240 minutes, for example about 120 minutes.

[0063] Concentrated sulphuric acid is added in the second sulphuric acid leach step (vi). The residual free acid at the end of the second sulphuric leach step (iv) is in the range of 5-75 g/L H2SO4, for example about 50 g/L ±5 g/L H2SO4. Acid solutions from the second sulphuric acid leach step (vi) are recovered and recycled to the first sulphuric acid leach step (iv) and the second sulphuric acid leach step (vi).

View attachment 69095
The amount of caustic soda added to the graphite material to be purified is calculated using the ratio of at least 1 mol caustic to 1 mol silicon, for example between 2.5 to 5.5 moles caustic to silicon, particularly 3.2 mol caustic : 1 mol silicon. The caustic baking step (ii) is undertaken, for example, in a rotating kiln.

The ann roday mentions Talnode-C and in the patent I read silicon. Does this have anything to do with the process or the end product? Unfortunately, I don't understand enough about it.
 
  • Like
  • Thinking
Reactions: 3 users

Diogenese

Top 20
The amount of caustic soda added to the graphite material to be purified is calculated using the ratio of at least 1 mol caustic to 1 mol silicon, for example between 2.5 to 5.5 moles caustic to silicon, particularly 3.2 mol caustic : 1 mol silicon. The caustic baking step (ii) is undertaken, for example, in a rotating kiln.

The ann roday mentions Talnode-C and in the patent I read silicon. Does this have anything to do with the process or the end product? Unfortunately, I don't understand enough about it.

The patent is to recover graphite. The silicon (silicate material) is an impurity which the process removes. Thus I assume it can be used to recycle Talnode-Si.


[0019] The caustic baking step (ii) is preferably undertaken at between about 150 and 300°C and causes the caustic soda and, in particular, silicate impurity minerals to react and be rendered soluble in water and mild acid conditions.

[0020] Preferably, the caustic baking step has a residence time in the range of about 60 to 240 minutes, preferably about 120 minutes.

[0021] Still preferably, the amount of caustic soda added to the graphite material to be purified is calculated using the ratio of at least 1 mol caustic to 1 mol silicon, for example between 2.5 to 5.5 mol caustic to silicon, particularly 3.2 mol caustic : 1 mol silicon
.
 
  • Love
  • Like
Reactions: 5 users

mpk1980

Regular
I remember MT talking about a programme called RELOAD where he said they were looking to use by-products from recycling to create the silicon needed for Talnode-Si? I recall silicon was being sourced externally but this approach made the process efficient.

Does anyone remember this?
 
  • Like
Reactions: 2 users

Semmel

Top 20
Hi @Semmel ,

Further to today's recycling agreement announcement with Aurubis and our discussion on recycling, this is Talga's recycling patent application to be used in the process. It was published in January 2024.

WO2024003761A1 GRAPHITE MATERIAL PURIFICATION PROCESS 20220629

A graphite material purification process (10) comprising

a pelletisation step (14),

a caustic baking step (16) providing a sintered product,

a water leach step (18) whereby impurity minerals are solubilised, forwarded for effluent treatment, and separated,

a first sulphuric acid leach step (20) wherein remaining impurity minerals are solubilised, forwarded for effluent treatment, and separated from leach solids,

a hydrofluoric acid leach step (22) wherein partially leached impurity minerals are solubilised, forwarded for effluent treatment, and separated from leach solids,

a second sulphuric acid leach step (24) wherein impurity minerals not leached in previous steps and components precipitated in the hydrofluoric acid leach step (22) are solubilised, forwarded for effluent treatment, and separated from leach solids, and

washing stages wherein remaining soluble impurities are separated, and providing a purified graphite material (32).



[0055] The caustic baking step (ii) is undertaken at between about 150 and 300°C and causes the caustic soda and, in particular, silicate impurity minerals to react and be rendered soluble in water and mild acid conditions. The caustic baking step has a residence time in the range of about 60 to 240 minutes, for example about 120 minutes. The amount of caustic soda added to the graphite material to be purified is calculated using the ratio of at least 1 mol caustic to 1 mol silicon, for example between 2.5 to 5.5 moles caustic to silicon, particularly 3.2 mol caustic : 1 mol silicon. The caustic baking step (ii) is undertaken, for example, in a rotating kiln.

[0056] The water leach step (iii) is undertaken at between about 5-60°C, for example about 35°C ±5°C. The water leach step (iii) is undertaken in a single leach step, although in certain circumstances it may be undertaken in multiple, for example three, counter-current leach stages. The water leach step (iii) has a retention time of between about 30 to 240 minutes.



[0057] The first sulphuric acid leach step (iv) is undertaken at between about 5 to 60°C, for example about 40°C ±5 °C with a retention time of between about 30 to 240 minutes, for example about 120 minutes. Concentrated sulphuric acid is added in the first sulphuric acid leach step (iv). Impurities leached in the sulphuric acid leach step (iv) preferably include residual amounts of sodium silicate, sodium alunite, iron oxide and iron hydroxide, and titanium mineral phases not removed in step (iii). Still preferably, the residual free acid at the end of the first sulphuric leach step (iv) is in the range of 5-75 g/L H2SO4, for example about 50 g/L ±5 g/L H2SO4. The first sulphuric acid leach step (iv) preferably operates with between 5 to 25% solids, for example 10% solids.

[0058] Impurities leached in the first sulphuric acid leach step (iv) include sodium silicate, sodium alunite, iron oxide and iron hydroxide mineral phases formed during the caustic baking step, together with any residual caustic.

[0059] It is envisaged that all, or a portion of, the product of the first sulphuric acid leach step (iv) may be recycled to step (i) in order to expose it to a second baking step (ii). It is understood that this may be advantageous in addressing titanium levels, as the baking step (ii) is the stage of the process of the present invention in which titanium minerals are ‘cracked’ (eg. titanite and rutile).

[0060] The hydrofluoric acid leach step (v) is undertaken at between about 5- 60°C, for example about 40°C ±5°C. Impurities leached in the hydrofluoric leach step (v) include but are not limited to quartz, titanium mineral phases, and residual amounts of albite, biotite, and pyrophyllite. The residual free acid at the end of the hydrofluoric acid leach step (v) is in the range of about 5-75 g/LHF, for example about 25 g/L ±5 g/L HF. The hydrofluoric acid leach step (v) operates with between 5 to 25% solids, for example 10% solids. [0061] The hydrofluoric acid added to the acid leach step (v) is in the range of about 20 to 70% concentration. The hydrofluoric acid concentration in the acid leach step (v) is preferably in the range of 15-50 g/L, depending on the grade and mineralogical composition of the starting graphite material. The leach solids from the hydrofluoric leach step (v) have substantially no, or only trace amounts of, silicon remaining therein.

[0062] The second sulphuric acid leach step (vi) is undertaken at between about 5-60°C, for example about 40°C ±5°C. Impurities leached in the second sulphuric acid leach step (vi) include precipitated fluoride phases, for example calcium fluoride, and remaining base metals. The second sulphuric acid leach step (vi) operates with between 5 to 25% solids, for example 10% solids. The second sulphuric acid leach step (iv) has a retention time of between about 30 to 240 minutes, for example about 120 minutes.

[0063] Concentrated sulphuric acid is added in the second sulphuric acid leach step (vi). The residual free acid at the end of the second sulphuric leach step (iv) is in the range of 5-75 g/L H2SO4, for example about 50 g/L ±5 g/L H2SO4. Acid solutions from the second sulphuric acid leach step (vi) are recovered and recycled to the first sulphuric acid leach step (iv) and the second sulphuric acid leach step (vi).

View attachment 69095

Hi @Diogenese , thx for digging this patent up!

the moste interesting part here is the end product. Talhite-C. Meaning, the precursor to Talnode-C, Talnode-Si (the carbon part) and Talphene. It appears that the technology that Talga uses does not require a filtering and/or sifting of the particles. This means hey have a way to manufacture Talnode-C, i.e. spheriodization and coating, with smaller particles than everyone else. I guess we all remember the meta-particles of Talnode-Si. This indicates to me, that Talnode-C is also comprised as meta-particles. Meaning, the source material Talphite-C consists of smaller particles that are then baked or clumped up to larger um-sized cupcakes.

So from Talgas point of view, chemical cleaning is all they need for recycling, whereas everyone else cant do that because they dont have meta-particles formed from the source material. That might be the unique property that makes Talnode-C stand out and also maybe the reason it had so extensive testing. If this is correct (and please post a rebuttal if you find one!) then Talga has a significant technological advantage over everyone else in the industry.

This makes a very excited Semmel.
 
  • Like
  • Love
  • Haha
Reactions: 9 users
I successfully turned on his internet camera and here is @Semmel looking very excited

Freaks And Geeks Nerd GIF
 
  • Haha
  • Like
Reactions: 6 users

Semmel

Top 20
  • Haha
  • Like
Reactions: 4 users

Diogenese

Top 20
Hi @Diogenese , thx for digging this patent up!

the moste interesting part here is the end product. Talhite-C. Meaning, the precursor to Talnode-C, Talnode-Si (the carbon part) and Talphene. It appears that the technology that Talga uses does not require a filtering and/or sifting of the particles. This means hey have a way to manufacture Talnode-C, i.e. spheriodization and coating, with smaller particles than everyone else. I guess we all remember the meta-particles of Talnode-Si. This indicates to me, that Talnode-C is also comprised as meta-particles. Meaning, the source material Talphite-C consists of smaller particles that are then baked or clumped up to larger um-sized cupcakes.

So from Talgas point of view, chemical cleaning is all they need for recycling, whereas everyone else cant do that because they dont have meta-particles formed from the source material. That might be the unique property that makes Talnode-C stand out and also maybe the reason it had so extensive testing. If this is correct (and please post a rebuttal if you find one!) then Talga has a significant technological advantage over everyone else in the industry.

This makes a very excited Semmel.
We're singing from the same hymn sheet - it's just that I've got the back side.
 
  • Haha
  • Like
Reactions: 4 users

anbuck

Regular
Hi @Diogenese , thx for digging this patent up!

the moste interesting part here is the end product. Talhite-C. Meaning, the precursor to Talnode-C, Talnode-Si (the carbon part) and Talphene. It appears that the technology that Talga uses does not require a filtering and/or sifting of the particles. This means hey have a way to manufacture Talnode-C, i.e. spheriodization and coating, with smaller particles than everyone else. I guess we all remember the meta-particles of Talnode-Si. This indicates to me, that Talnode-C is also comprised as meta-particles. Meaning, the source material Talphite-C consists of smaller particles that are then baked or clumped up to larger um-sized cupcakes.

So from Talgas point of view, chemical cleaning is all they need for recycling, whereas everyone else cant do that because they dont have meta-particles formed from the source material. That might be the unique property that makes Talnode-C stand out and also maybe the reason it had so extensive testing. If this is correct (and please post a rebuttal if you find one!) then Talga has a significant technological advantage over everyone else in the industry.

This makes a very excited Semmel.
Isn't one of the benefits of Talga's mines that they have particles of optimal size for batteries though? If Tagla is able to use smaller particles, then that seems to undermine that claimed advantage. Have they said that the recycled graphite would be used for batteries? I'm wondering if they're instead planning for it to be used for other applications where smaller particle sizes are desirable.
 
  • Like
  • Thinking
Reactions: 3 users

Diogenese

Top 20
Isn't one of the benefits of Talga's mines that they have particles of optimal size for batteries though? If Tagla is able to use smaller particles, then that seems to undermine that claimed advantage. Have they said that the recycled graphite would be used for batteries? I'm wondering if they're instead planning for it to be used for other applications where smaller particle sizes are desirable.


[0079] The process further comprises a drying step 30 in which the purified graphite material 28 of step (vii) is dried, providing a dried purified graphite material 32 (here also referenced as Talphite-CTM ). It is intended that whilst the purified graphite material 28 of step (vii) will contain about 40% moisture prior to the drying step, the dried purified graphite material contains between 0 to 2.5% moisture, for example less than about 0.1% moisture. The purified graphite material 28 of step (vii) has a pH of 7 ± 2.5 when repulped in water, whereby the purified graphite material is suitable for use directly in calendaring of electrodes (not shown).

[0080] The purified graphite material 28 of step (vii) is classified in the drying step 30, into at least two fractions, for example using cyclone classification. The two fractions would typically include fine and coarse fractions.

[0081] The graphite material concentrate 12 has a moisture content of up to about 26 to 28 %w/w. This concentrate 12 is first passed to a concentrate drying step 34, for example a flash drying stage or rotary drum drier. Whilst a proportion of the material 12 exits in flue gas it is recovered and reintroduced to the dried concentrate that is passed to the pelletisation step 14.

[0082] The pelletisation step 14 comprises the addition, in stepwise fashion, of caustic soda, in the form of caustic prill, and water to the graphite material to be purified. The pellets produced in the pelletisation step 14 are micro-pellets of about 2-10 mm in diameter, for example 5mm ± 2mm.

[0083] Dry fines of the purified graphite material are added during the pelletisation step 14, for example dry fines in the order of about 50 kg/t are added. The dry fines of the purified graphite material are sourced from the drying step 30. The pellets produced in the pelletisation step 14 have a moisture content of about 13 to 24%w/w, for example about 20%w/w.
 
  • Love
  • Like
Reactions: 3 users

Semmel

Top 20
[0079] The process further comprises a drying step 30 in which the purified graphite material 28 of step (vii) is dried, providing a dried purified graphite material 32 (here also referenced as Talphite-CTM ). It is intended that whilst the purified graphite material 28 of step (vii) will contain about 40% moisture prior to the drying step, the dried purified graphite material contains between 0 to 2.5% moisture, for example less than about 0.1% moisture. The purified graphite material 28 of step (vii) has a pH of 7 ± 2.5 when repulped in water, whereby the purified graphite material is suitable for use directly in calendaring of electrodes (not shown).

[0080] The purified graphite material 28 of step (vii) is classified in the drying step 30, into at least two fractions, for example using cyclone classification. The two fractions would typically include fine and coarse fractions.

[0081] The graphite material concentrate 12 has a moisture content of up to about 26 to 28 %w/w. This concentrate 12 is first passed to a concentrate drying step 34, for example a flash drying stage or rotary drum drier. Whilst a proportion of the material 12 exits in flue gas it is recovered and reintroduced to the dried concentrate that is passed to the pelletisation step 14.

[0082] The pelletisation step 14 comprises the addition, in stepwise fashion, of caustic soda, in the form of caustic prill, and water to the graphite material to be purified. The pellets produced in the pelletisation step 14 are micro-pellets of about 2-10 mm in diameter, for example 5mm ± 2mm.

[0083] Dry fines of the purified graphite material are added during the pelletisation step 14, for example dry fines in the order of about 50 kg/t are added. The dry fines of the purified graphite material are sourced from the drying step 30. The pellets produced in the pelletisation step 14 have a moisture content of about 13 to 24%w/w, for example about 20%w/w.

The pelletisation is just for transport, so hat dust generation and environmental contamination is minimized. The pellets are broken down into dust again at the factory.
 
  • Like
  • Wow
Reactions: 3 users

cosors

👀
  • Like
Reactions: 4 users

cosors

👀
"Anode with graphene facilitates corrosion protection
Posted on October 11, 2024 Author Surface forum

1728712423319.jpeg

Arezou Baba Ahmadi, Chalmers, and Lilei Ye, Chalmers Industriteknik, have developed a new type of anode with graphene. Photo: SIO Grafen

Corrosion in the rebars as a result of chloride penetration is a common problem in reinforced concrete structures. One solution is cathodic protection with applied current, so-called ICCP (Impressed Current Cathodic Protection). In Sweden, however, interest in the market has cooled due to certain problems.

- The biggest obstacles are the high costs of the anode materials, installation difficulties and maintenance of the system, says Lilei Ye, graphene expert at Chalmers Industriteknik, in a press release.

She has been involved in the GREC project that started in 2021, where she, together with Chalmers, GVV, Lanark, SIKA and Talga, has investigated how a new type of anode could look, using graphene.

In the project, the group chose to depart from the traditional method of titanium mesh that is normally used. Instead, they developed a durable cement-based conductive surface treatment reinforced with graphene, which is used as an anode. The graphene reinforcement provides a more durable anode that both saves valuable time during production and reduces labor costs.

- We have tested several types of graphite and graphene with different mixture combinations in cement paint. The coatings show correct properties in terms of conductivity and water resistance, and are porous enough to release relatively large amounts of the gases generated during the anode reaction, explains Arezou Baba Ahmadi, civil engineer and materials expert at Chalmers, as well as project manager for GREC.

The results also show that the integration of small amounts of graphene into the cement affects the homogeneity of the matrix.

- The new coatings make it possible to avoid expensive and time-consuming work with installing a titanium mesh, which also means reduced labor costs, says Arezou Baba Ahmadi."

What a pity, perhaps they could try again on an other and larger market, for example in the USA? Sweden is currently being ~overtaken by a wave of insolvencies.
 
Last edited:
  • Like
  • Wow
Reactions: 4 users

cosors

👀

"Talga changes the rules of the game for sustainable graphite production​

1728979653616.png

The electrification of the automotive industry and other industries is necessary to create a sustainable future. At the same time, a new environmental challenge is emerging – the management of end-of-life batteries. To solve this, sustainability innovator Talga has developed technologies that can streamline the recycling of an important but often overlooked battery component: graphite.​


Published Monday 14 October 2024 - 14:55

Electrification is spreading across the world fast like an oiled lightning bolt. Above all in the automotive industry, but nowadays most industries have caught on. The global increase in electric vehicles means, among other things, that the amount of waste from batteries will multiply in the coming years. At the same time, the solutions for recycling the batteries are still insufficient. Talga wants to change that.

"Graphite is a clear example – while a lot of focus is placed on the recycling of cathode metals, the efforts for graphite are surprisingly few, which we have chosen to address," says Karanveer S. Aneja, R&D Manager at Talga.

He is the R&D Manager at Talga, where he leads a team that develops and improves battery materials through advanced technologies and innovative production methods. He holds a PhD in Materials Science with a focus on Carbon Compound Materials from IIT Bombay and over seven years of experience at Talga. Karanveers S. Anja's expertise includes both graphene and graphite.

1728979673371.png

Karanveer S. Aneja, R&D Manager at Talga.

Challenges in graphite production​

An electric car battery consists largely of graphite. The problem is that current production methods for synthetic graphite are far from sustainable. Almost 90 percent is produced in China using energy-intensive processes that have a high carbon footprint. In addition, the synthetic graphite is based on coke – a residual product from the oil industry that is heated in furnaces to over 3000 degrees for several days, generating large amounts of carbon dioxide emissions. This means that batteries made with this type of graphite are not as fossil-free as many people might think.

"We see a need to challenge the general perception that graphite is impossible to recycle. Moving production away from China and developing a sustainable production method in Europe is both a challenge and a great opportunity for us," says Karanveer S. Aneja.

To meet both the technical and sustainability-related challenges, Talga is working to integrate recycled graphite into its production line. It reduces dependence on fossil-based synthetic graphite and creates a stable and sustainable supply chain for European battery production.

"Only a few players globally have come so far as to develop ready-made solutions with tested and validated products, and we are proud to be among the leaders in this field," says Per-Inge Kruse, Group Director for Business Development & Strategic Alliances at Talga.
1728979691576.png

Per-Inge Kruse, Group Director för Business Development & Strategic Alliances hos Talga.

Enabling recycling​

The method involves first separating graphite from other battery components. The material then undergoes a purification process similar to Talga's existing production methods for natural graphite. Traditionally, graphite is purified using large amounts of toxic acids, something that is still common in several unregulated markets. Talga has developed a significantly cleaner technology that minimizes emissions and waste, while maintaining high quality in the finished material. The process shall ensure that the original structure of the graphite is restored and that the graphite can be used as an anode material again.

The challenges of optimizing the processes for recycled graphite have required new innovations in purification and processing, which means that they can now offer high-performance recycled graphite with the same properties as natural ditto. Through these technologies, Talga wants to help close the loop for battery materials and create an efficient recycling flow for the European market.

"One of the biggest challenges we encountered was that many people did not think that graphite was worth recycling. In the beginning, there were few recycling companies that could even provide graphite material. It was a big part of our journey to change that perception and show that graphite recycling is a possible and necessary solution," says Karanveer S. Aneja.

Standardizing graphite recycling​

Several recycling companies such as Altilium and Aurubis have now joined forces around Talga's project: It is companies working in metal recycling and sustainability that Talga is now collaborating with to create a circular supply chain for battery materials.

"We strive to understand the differences in raw materials from different suppliers in order to guarantee that the materials used in our production meet the same specifications. To achieve this, collaborations are required with more than our two current partners, and we are also exploring opportunities in other parts of the world," says Per-Inge Kruse.

Broadening perspectives and exploring opportunities is at the heart of Talga. Thanks to the company's integrated business model, the business has full control over the entire value chain – from mining and production to graphite purification and recycling.

"We do not define ourselves as a mining company or solely as a supplier of raw materials and purification. Instead, we see ourselves as a technology provider that offers solutions in mining, purification and anode manufacturing. It's about more than just vertical integration of these processes; we have several technology centers that enable us to deliver customized solutions to our customers," explains Kruse.

Circular battery materials for a European market​

Talga has a clear vision of creating local and sustainable supply chains in Europe and eventually becoming a global leader in sustainable battery materials. Reducing dependency on China is crucial, not only to create a stable and secure supply chain, but also to drastically lower the environmental impact associated with synthetic graphite.

In the long term, the sustainability innovator wants to become a reliable partner for the European market, where sustainability and local production are key factors for the green transition of the future.

"With our natural supply of graphite and our focus on recycling, we have the potential to grow internationally. We see Talga as a significant player in the global market in anodes and related metals," concludes Per-Inge Kruse.

Want to know more about how Talga is driving the development of sustainable battery materials and reducing dependence on fossil raw materials? Read more about Talga's technologies and circular solutions here ."



The news came this morning:
None of the companies scored higher than 51 on Amnesty International’s human rights due diligence assessment. At the bottom of the list was Chinese company BYD, which scored a dire 11/90. German company Mercedes-Benz scored highest with 51/90.


I guess both requirements are slowly bearing fruit. The main thing is that it has an effect in the end, except for rising costs and not that they continue to sell their stuff diligently from China as if these problems didn't exist. In the end, it's us, the customers, who decide to buy a BYD or not.
 
Last edited:
  • Like
  • Fire
Reactions: 5 users

cosors

👀
  • Like
  • Fire
Reactions: 6 users

Diogenese

Top 20
So, including graphite.
The recycling rate here is up to 96 per cent.
MB, the first plant is starting today:
Hi cosors,

Primobius is part owned by Neometals (ASX - NMT):

https://cdn-api.markitdigital.com/apiman-gateway/ASX/asx-research/1.0/file/2924-02869563-6A1232456


1729837860430.png
 
  • Like
Reactions: 2 users

cosors

👀
  • Like
Reactions: 2 users

Diogenese

Top 20
I had them on my radar a few years ago. There is told straight away (?) that profits are a long way off. The recyclers are preparing for the business and the storm towards 2030.
You Australians are very enterprising. I think that's good!
Yes. I've had a small holding just to keep them on my radar too.

10 for $1 at the moment - much less than what I paid for them.
 
  • Like
Reactions: 1 users
Top Bottom