BRN Discussion Ongoing

7für7

Top 20
  • Haha
Reactions: 2 users
  • Wow
  • Like
  • Fire
Reactions: 5 users

gilti

Regular
Thrill seeker
 

Attachments

  • brn.JPG
    brn.JPG
    60.5 KB · Views: 233
  • Wow
  • Haha
Reactions: 7 users

Earlyrelease

Regular
Just a reminder on the art of patience
IMG_0448.jpeg
 
  • Like
  • Fire
Reactions: 16 users

Braintonic

Regular
Below is a concise summary of the press release, highlighting key points and explaining how it relates to a cybersecurity device co-located with each network interface (NIC):


Press Release Summary​

  • Companies & Partners
    • BrainChip Holdings Ltd: Described as the world’s first commercial producer of ultra-low power, fully digital, event-based (“neuromorphic”) AI.
    • Quantum Ventura: Developed the CyberNeuro-RT (CNRT) technology in partnership with Lockheed Martin’s MFC Division and Pennsylvania State University.
    • Funding: Partial funding provided by the U.S. Department of Energy under the SBIR program.
  • Technology & Use Case
    • CyberNeuro-RT (CNRT): A solution to protect WiFi access points, home routers, small enterprise routers, and other network access devices where full-scale centralized security is impractical (due to cost, bandwidth, or power constraints).
    • Integration of BrainChip’s Akida Processor: Akida provides on-device, ultra-low-power AI capabilities to detect and learn network-specific cyberattacks.
    • Neuromorphic Edge AI:
      • Enables on-chip (in-situ) learning of normal versus abnormal traffic patterns.
      • Minimizes power consumption (much lower than GPUs), essential for edge devices.
      • Reduces reliance on cloud-based or central servers for updates, since Akida can adapt locally to evolving attack signatures.
  • Value Proposition
    • Local Threat Detection: Because Akida can learn in real time, it identifies unknown patterns that deviate from normal network traffic—i.e., novel malware or exploit attempts.
    • Ultra-Low Power & Small Form Factor: Ideal for battery-operated, fanless, or otherwise resource-constrained devices (like small home routers or IoT gateways).
    • Incremental Learning: Akida’s architecture supports continuous updates without retraining the entire model offsite, which is critical for real-world and evolving threats.
  • Quotable Insight
    • Srini Vasan (CEO of Quantum Ventura) describes CNRT as “the only game in town” for managed cybersecurity support of devices that cannot rely on centralized server-based defenses.

Relation to “Co-Located with Each NIC”​

  1. Device-Level Security:
    • The press release implies this cybersecurity solution (CNRT + Akida) runs at or near each network access point (e.g., home router, WiFi access point).
    • In practical terms, if your product is “co-located with each NIC,” this press release shows how Akida’s neuromorphic AI can be embedded or paired at the edge interface level.
  2. Ultra-Low Power, Embedded Approach:
    • Traditional, high-power security solutions (like GPU-based intrusion detection) cannot be installed individually on every port or router.
    • Neuromorphic AI (like Akida) fits the “per NIC” concept by being extremely compact and requiring minimal power, thus making it possible to deploy at many endpoints that previously could not host such technology.
  3. Immediate Detection & Localized Learning:
    • When the cybersecurity module is physically adjacent to the NIC or integrated into the router, abnormal traffic flows can be spotted immediately.
    • This local presence allows for near real-time detection of zero-day attacks without waiting for cloud updates.

Why It Matters​

  • Edge Growth: With billions of IoT devices connecting over WiFi, cellular, and home/enterprise routers, having a practical per-port or per-device cybersecurity layer addresses a massive threat surface.
  • Scalability: A small, low-power neuromorphic chip like Akida offers scalable protection without the overhead of large centralized systems—key for widespread deployment.
  • Evolving Threat Landscape: Attackers continuously modify exploits. On-chip/in-line learning helps keep pace without requiring every router to communicate with a central, high-power server.

Final Takeaway​

This press release underscores the feasibility of deploying neuromorphic AI directly at each network interface—precisely the concept of “co-locating” security with the NIC. BrainChip’s Akida processor, used in Quantum Ventura’s CNRT solution, exemplifies how edge-based, ultra-low-power AI can protect network devices from emerging cyber threats by learning in real time and adapting on the spot.


Below is an updated view of the U.S. market size and device counts specifically focused on WiFi access points, home routers, small enterprise routers, and similar network access devices. Since the press release targets “WiFi access, home router, small enterprise routers, and other network access devices,” these estimates emphasize that subset of the broader network infrastructure.

As with any market sizing, no single public source tracks every device. The following figures combine publicly reported data (e.g., broadband adoption, small business counts) with typical assumptions about device ownership or usage.


1. Overview of Key Segments​

A. Consumer/Home Routers & WiFi Access Points​

  • U.S. Households: ~130 million total (U.S. Census).
  • Broadband Penetration: ~90% of households have home broadband.
  • Estimated Home Routers: 110–120 million installed (some households rely on ISP-provided modems/routers, while others purchase separate devices).
  • Typical Device NIC Configuration: A consumer router often has 1 WAN port, 4 LAN ports, and integrated WiFi radios. If you are counting physical Ethernet NICs, that can be 5+ ports per router, plus the WiFi interfaces.

B. Small Enterprise Routers​

  • U.S. Small Businesses: ~32 million total (SBA data), of which ~6 million have paid employees. Most rely on at least one router/firewall device.
  • Estimated Small Enterprise Routers: 10–15 million active devices (some businesses have multiple sites; others use combined router/switch/firewall appliances).

C. “Other Network Access Devices” (WiFi Hotspots, Range Extenders, Guest Networks)​

  • Hotspots & Range Extenders: Millions of such units are sold each year, mainly to enhance existing home or small-business WiFi coverage.
  • Estimated Installed Base: 30–40 million (roughly) across the U.S., counting both consumer and SMB usage. Many are replaced or upgraded every 2–3 years.
  • NIC Configuration: Often 1 Ethernet port + WiFi radio(s).
(Note: This category sometimes overlaps with the “home router” segment if a device doubles as a router/access point.)


2. Consolidated Table: U.S. Market for Home & Small Business Network Access Devices​

Totals

  • Installed Base of “Network Access Devices” (home + small biz + extenders): ~150–175 million devices in the U.S.
  • Potential NIC Count: Each device can have multiple physical Ethernet ports plus WiFi radios; a very rough estimate is 300–600 million discrete “NIC interfaces” across these device categories.

3. Market Value Indicators​

While the press release highlights device-level protection, some organizations track market value rather than installed units. For reference:

  • Home / Consumer WiFi Router Market (U.S.): Often cited at $2–3 billion annually (subset of a global market of $9+ billion).
  • Small Business Router/Firewall Segment (U.S.): Part of an overall $15–20 billion enterprise networking market, though that includes larger routers/switches.
  • Growth Trend: Upgrades to WiFi 6/6E and upcoming WiFi 7, plus new broadband subscribers, continue to drive replacement cycles.

4. Key Assumptions and Caveats​

  1. Overlap with ISP Equipment: Many households use an ISP-provided gateway. We count these as home routers, even if they’re integrated modem/router/WiFi combos.
  2. Multi-Site Businesses: A small company with multiple branches might have multiple routers. Conversely, some micro-businesses (home-based) might only use a consumer router.
  3. NIC Definition: If you’re counting physical Ethernet ports + wireless radios as discrete NICs, the total can vary widely by device model.
  4. Replacement Cycles: Consumer WiFi routers are often replaced every 3–5 years. Small enterprise gear can have slightly longer refresh cycles.
  5. Exact Figures: No single authoritative public source reports a real-time tally of “router + NIC” counts. The ranges above reflect triangulations from broadband adoption, small business counts, and industry shipment data.

Final Takeaway​

  • Device Count: 150–175 million home and small enterprise “network access devices” in the U.S. is a reasonable ballpark.
  • NIC Count: If your solution physically sits at each interface (wired or wireless), the total number of NICs across these devices can easily reach 300–600+ million.
  • Market Potential: Given continuous growth and replacement cycles, annual shipments number in the tens of millions, supporting a robust ongoing market for edge-based cybersecurity solutions such as the one described in the press release (CNRT with BrainChip’s Akida).
This part is mind 🤯

Final Takeaway​

  • Device Count: 150–175 million home and small enterprise “network access devices” in the U.S. is a reasonable ballpark.
  • NIC Count: If your solution physically sits at each interface (wired or wireless), the total number of NICs across these devices can easily reach 300–600+ million.
  • Market Potential: Given continuous growth and replacement cycles, annual shipments number in the tens of millions, supporting a robust ongoing market for edge-based cybersecurity solutions such as the one described in the press release (CNRT with BrainChip’s Akida).
 
  • Like
  • Fire
  • Wow
Reactions: 29 users

TasTroy77

Founding Member
Screenshot_20250122_162156_Chrome.jpg
 
  • Like
  • Fire
  • Wow
Reactions: 26 users

Diogenese

Top 20
  • Haha
  • Like
Reactions: 15 users

RobjHunt

Regular
If we get other speeding ticket, do we have enough points to lose our licence?
Got plenty in the kitty. None lost so far of late ;)
 
  • Like
Reactions: 1 users
No time to watch




In this video, we delve into the exciting advancements of Edge AI technologies, focusing on two major players in the field: STMicroelectronics with its STM32 Edge AI Contest and BrainChip with its Akida Edge AI Box. We explore the details of the STM32 Edge AI Contest, where innovators are invited to create groundbreaking Edge AI-driven projects and stand a chance to win €5,000 in cash prizes. Participants are challenged to utilize the powerful STM32N657 microcontroller and its AI capabilities to develop applications that range from image recognition to smart home solutions. We'll take a closer look at what makes the STM32N657 a game-changer in Edge AI, showcasing its features and how it can impact sectors like IoT, robotics, and anomaly detection. Shifting gears, we then highlight BrainChip's Akida Edge AI Box, celebrating its first anniversary at CES 2025 and the burgeoning ecosystem of applications it supports. BrainChip's neuromorphic technology empowers developers to create sophisticated AI solutions in various industries, pushing the envelope of what's possible with Edge AI. We also discuss key partnerships and innovations from the likes of Edge Impulse and BeEmotion that enhance the functionality of the Akida Box. Join us as we unravel the intricacies of these advancements and what they mean for the future of AI technology. This is an informative and inspiring exploration that arms you with the knowledge of how Edge AI is evolving and its transformative potential on everyday technology. Don't miss out on this chance to get ahead in the Edge AI game! A special thanks to our sponsor, AILeadStar.com! If you're looking for top-notch leads generation, AILeadStar offers billions of verified, targeted emails to help you reach the right audience and boost your marketing efforts. Whether it's B2B or B2C, AILeadStar provides professional and efficient solutions to drive your business growth. Fast, reliable, and effective—AILeadStar is here to help you expand your business effortlessly!
 
  • Like
  • Fire
Reactions: 17 users

Earlyrelease

Regular
If we get other speeding ticket, do we have enough points to lose our licence?
Not a public holiday so not double points at least 😝
 
  • Haha
  • Like
Reactions: 8 users

TECH

Regular
Good afternoon/evening/morning, wherever you are based around the globe.

Looks like a thermal is forming, I detect some upward pressure, news flow is rather steady as we head into next week,
where our 4C and 4th Quarter Figures from 2024 will be released to the market, as mentioned I expect an improvement
from the last report, but nothing major.

I've been too busy today and haven't even watched the Podcast, but noticed the share price late this afternoon here in NZ,
nice work loyal shareholders, hold strong, you hold a winners ticket in the medium/long term in my opinion.

No point in asking how Steve carried himself in this mornings Podcast, I'm sure he represented us brilliantly !!

There seems to be quite a bit of talk about takeovers, I'll stick to my, within the next 3 years comment as we need to clear
a few more waypoints, so to speak, BUT, I wouldn't be at all surprised if our Board has been approached already in informal
conversations about what our future plans/directions are, and because no formal (material) offer has been tabled, the Board
is under no legal obligation to advertise the fact to the shareholder base, happy to be corrected by any poster who knows
otherwise.

This photo is one of my proudest moments, getting to see our AKD 1000 first run NSoC here in Perth, Australia with our founder,
Peter, a truly blessed moment in time in my life....I have never, ever given up the belief that, the dream will not succeed, stay strong
shareholders, Peter and Anil's dream is right on track (and the institutions) know it !

Image (1).jpeg
 
  • Like
  • Love
  • Fire
Reactions: 81 users

Bravo

If ARM was an arm, BRN would be its biceps💪!
We've had many ups and downs. I don't class the ups as false dawns, more like glimpses into the future. Like most of us here, I have found the protracted downs tedious. For the management and employees, the frustration has no doubt been amplified, but tempered by the amazing technological advances, not to mention the NDAs.

But we have never doubted the capabilities of Akida or the genuine efforts of the company to have the the technology adopted. We are emerging from the mists of the WANCA period, and Akida is begining to turn heads that count. There may be more fluctuations ahead, but there is now a palpable sense that finally the world gets it. Personally. I would be astonished, as I always have been, if we see a significant retrace in the face of the snowballing accretion of good news.

Yes - the market demands BRN shows them the money - and the focus on the SDV seems to have postponed that possibility in that quarter at least for IP licensing, but the urgency of the need in security and defence may advaned that prospect. As Srini Vasan said, a minute's delay could cost millions.

Every connected processor needs real time cyber protection.

This rare footage offers a glimpse into what life was like for us before we emerged from the mists of the WANCA period. Suffice to say, I have no desire to return to those days of yore.


giphy.gif
 
  • Haha
  • Like
  • Wow
Reactions: 24 users

Cardpro

Regular
Wow omgosh what a nice surprise, only just found out about the sp!!!
 
  • Like
  • Haha
  • Fire
Reactions: 5 users

TasTroy77

Founding Member
Screenshot_20250122_170020_YouTube.jpg
I particularly liked this part of the podcast by QUANTUM VENTURA Ceo.
He rates Akida as a,game changer for cyber security.
Anyone who now thinks that Brainchip isn't succeeding commercially has their head in the sand 🤔.
 
  • Like
  • Love
  • Fire
Reactions: 70 users
Softbank owns ARM.

Most server farms use Nvidia GPUs.

ARM is a competitor of Nvidia.

ARM has its own in-house AI - Ethos and Helium.

https://developer.arm.com/ip-products/processors/machine-learning/arm-ethos-n/ethos-n78

View attachment 76494

Akida is in the ARM ecosystem.

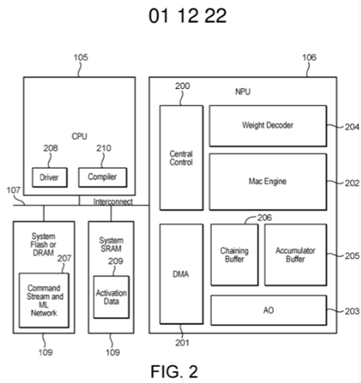
ARM uses MACs in its NPU:

GB2611751A Neural network processing 20211008
View attachment 76492

MAC (a multiply-accumulate) engine (circuit) 202, which is operable to perform, inter aria*, multiply-accumulate (dot product operations) (for example for convolution and pooling layers of neural network processing). In the present embodiments, the MAC unit is also operable to perform, and used to perform, other (potentially non-elementwise) operations, such as pooling and/or min/max reductions. The results of processing by the MAC -53 -engine 202 may be stored in local storage, in the form of an accumulator buffer 205, of the NPU 106.

The NPU 106 also includes an appropriate weight decoder circuit (unit) 204 which is operable to decode weights (filters) to be used, for example, by the MAC engine 202 when performing convolution operations
.

*inter aria - at the opera, the space between songs.

ARM believes (or used to believe) that MACs are the foundation of CNN and ML:

https://developer.arm.com/documenta... Digital Signal Processing (DSP) applications.

ML is a subset of Artificial Intelligence (AI) that provides systems the ability to automatically learn and improve from experience without being explicitly programmed. Helium helps to boost Matrix Multiplication operations, which are the foundation of Convolutional Neural Networks or Classical based Machine Learning kernels.


MACs are heavy users (of power that is).

MACs turn mobile devices into porta-potties.

The Trump, Elison Altman, Son emporium (TEASE) plan is to build server farms. Can they afford to do this without the latest and most effective cybersecurity?

Same page….. ! Thx @Diogenese
 
  • Like
  • Fire
Reactions: 8 users

cassip

Regular
In pre-market trading BRN stock is up about 16 - 20%, atm 0,2368 EUR, volume 339.686
Regards from Germany
Cassip
 
  • Like
  • Fire
  • Love
Reactions: 42 users

TopCat

Regular
I wonder if we could be working with Thales on all this. They seem to fit the trifecta….defence, aerospace, and cybersecurity.
 
  • Like
  • Fire
  • Thinking
Reactions: 13 users

Worker122

Regular
He or she has an ugly character to behave like this… this is so annoying… trying to make people lose their money … scamming… lying … making things up… what kind of person is seriously happy when others are losing something ?
Agree, conniving, manipulative nature, and most likely a braggart in its lunch break.
 
  • Like
  • Sad
Reactions: 6 users

FJ-215

Regular
Good afternoon/evening/morning, wherever you are based around the globe.

Looks like a thermal is forming, I detect some upward pressure, news flow is rather steady as we head into next week,
where our 4C and 4th Quarter Figures from 2024 will be released to the market, as mentioned I expect an improvement
from the last report, but nothing major.

I've been too busy today and haven't even watched the Podcast, but noticed the share price late this afternoon here in NZ,
nice work loyal shareholders, hold strong, you hold a winners ticket in the medium/long term in my opinion.

No point in asking how Steve carried himself in this mornings Podcast, I'm sure he represented us brilliantly !!

There seems to be quite a bit of talk about takeovers, I'll stick to my, within the next 3 years comment as we need to clear
a few more waypoints, so to speak, BUT, I wouldn't be at all surprised if our Board has been approached already in informal
conversations about what our future plans/directions are, and because no formal (material) offer has been tabled, the Board
is under no legal obligation to advertise the fact to the shareholder base, happy to be corrected by any poster who knows
otherwise.

This photo is one of my proudest moments, getting to see our AKD 1000 first run NSoC here in Perth, Australia with our founder,
Peter, a truly blessed moment in time in my life....I have never, ever given up the belief that, the dream will not succeed, stay strong
shareholders, Peter and Anil's dream is right on track (and the institutions) know it !

View attachment 76502
For Christ Sake,

Tuck your shirt in and iron those bloody pants!!!!
 
  • Haha
  • Like
Reactions: 18 users
Top Bottom