Pom down under
Top 20

Nintendo To Go In 'Different Direction' To Current AI Trends, Says Miyamoto
Music to our ears

Holy…. What’s going on here
View attachment 71678 View attachment 71679 View attachment 71680 View attachment 71681 View attachment 71683
They are concerned about the safety of the players and data privacy… taking a different path than the hype…![]()
Nintendo To Go In 'Different Direction' To Current AI Trends, Says Miyamoto
Music to our earswww.nintendolife.com
The point is that he might not be up to date on the latest developments. Neither regarding BrainChip, nor Intel, because he no longer works there. I can easily imagine that internally at Intel he was already acting like a know-it-all. He’s just an Intel lohi fanboy who wants to talk down BrainChip. Additionally, maybe he’s a shorter? Who knows. His profile say “investor” maybe he is investing in an other company trying to down ramp openly? DHWhat point is David Wyatt actually trying to make?
Is he suggesting that BrainChip's technology shouldn't be classified as spiking neural network (SNN) because it's not spiking in nature according to him?
Is he accusing BrainChip of false advertising?
Is he trying to tarnish BrainChip's reputation stating that " the lack of details and open technical information should be a red flag"?
Honestly, how can this type of denigrating communication on the world's largest professional network be considered appropriate?
He is basically calling it a scam, no more spiking than his hair after a rough pillow.What point is David Wyatt actually trying to make?
Is he suggesting that BrainChip's technology shouldn't be classified as spiking neural network (SNN) because it's not spiking in nature according to him?
Is he accusing BrainChip of false advertising?
Is he trying to tarnish BrainChip's reputation stating that " the lack of details and open technical information should be a red flag"?
Honestly, how can this type of denigrating communication on the world's largest professional network be considered appropriate?
And the reactions on his posts compared to Lewis comment, is showing the quality of his behaviourHe is basically calling it a scam, no more spiking than his hair after a rough pillow.
That's an outright lie, and he should be forced to apologize or kicked out on Linkedin.
Think they were taking more about games than the consoleThat’s annoying
Sean need to address his share holders as this is just about enough for everyone.
It’s been months since the AGM
It meant to happen before years end yet next week is November and nothing
We deserve to be updated Sean
Is it just me or do others feel this way
I am just feeling disappointed atm
Hopefully this will pass I am usually more positive
All i want is a statement from Sean or anyone saying like thisSean need to address his share holders as this is just about enough for everyone.
It’s been months since the AGM
It meant to happen before years end yet next week is November and nothing
We deserve to be updated Sean
Is it just me or do others feel this way
I am just feeling disappointed atm
Hopefully this will pass I am usually more positive
I don't think Dave knows much about Akida. In fact he admits as much in complaining about available information. The BRN web page has lots of information. His knowledge of Akida seems to be derived from a single presentation at a tech expo.What point is David Wyatt actually trying to make?
Is he suggesting that BrainChip's technology shouldn't be classified as spiking neural network (SNN) because it's not spiking in nature according to him?
Is he accusing BrainChip of false advertising?
Is he trying to tarnish BrainChip's reputation stating that " the lack of details and open technical information should be a red flag"?
Honestly, how can this type of denigrating communication on the world's largest professional network be considered appropriate?
Surely an Ai company can work out a way to save $250k a year using AI.That guy needs something to do! He is not worth anywhere near the 250k he is getting paid imo. At least from a shareholders pov. Don't get help for him, get a replacement who actually is interested in answering shareholders very valid questions........sorry TRIGGERED.
Carry on.
Agreed and I let Tony know in case he missed itWhat point is David Wyatt actually trying to make?
Is he suggesting that BrainChip's technology shouldn't be classified as spiking neural network (SNN) because it's not spiking in nature according to him?
Is he accusing BrainChip of false advertising?
Is he trying to tarnish BrainChip's reputation stating that " the lack of details and open technical information should be a red flag"?
Honestly, how can this type of denigrating communication on the world's largest professional network be considered appropriate?
They're probably blissfully unaware of his lack of care and effort towards shareholders i assume ......or maybe they aren't.Surely an Ai company can work out a way to save $250k a year using AI.
It wouldn't be hard. Have an AI model generate an automated response. It's basically what we get from Tony in every response!
They're probably blissfully unaware of his lack of care and effort towards shareholders i assume ......or maybe they aren't.
Something needs to change imo
Hi Bravo,![]()
Qualcomm’s next AI frontier is… your car
Qualcomm thinks smart cars will work a lot like smartphones, and that means AIwww.techradar.com
Extract 1
View attachment 71687
Extract 2
View attachment 71689
Extract 3
View attachment 71688
Look……I don’t think they’ve got a smarter solution than our nice beautiful brains, okay? Huuuuuge difference. But………., never mind, to each their own …right? That’s true …We’re not living in a planned economy..We’re not living in little Rocket Man’s land!Hi Bravo,
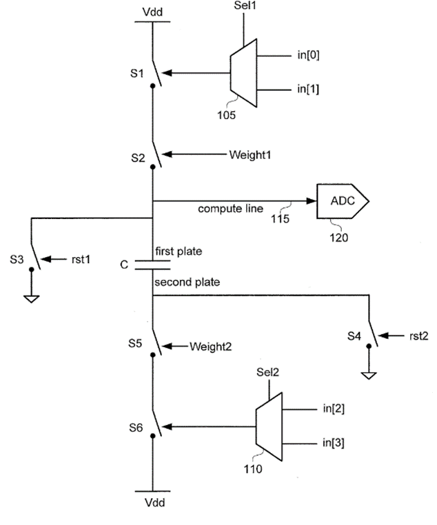
The latest Qualcomm patent I found indicates they are using a hynrid analog compute-in-memory neuron arrangement:
US2023297335A1 Hybrid Compute-in-Memory 20220315
View attachment 71695
The capacitor C is charged when both the switches S1 & S2 are closed.
US2023115373A1 ACCUMULATOR FOR DIGITAL COMPUTATION-IN-MEMORY ARCHITECTURES 20211013
a method for in-memory computation. The method generally includes: accumulating, via each digital counter of a plurality of digital counters, output signals on a respective column of multiple columns of a memory, wherein a plurality of memory cells are on each of the multiple columns, the plurality of memory cells storing multiple bits representing weights of a neural network, wherein the plurality of memory cells of each of the multiple columns correspond to different word-lines of the memory; adding, via an adder circuit, output signals of the plurality of digital counters; and accumulating, via an accumulator, output signals of the adder circuit.