BRN Discussion Ongoing

Thanks Slade - I've been holding my breath since the first announcement ...

For those of us who are "X" reluctant:

https://www.vvdntech.com/vision/akida-edge-ai-box


Developed in collaboration between VVDN and BrainChip, the Akida™ Edge AI Box is a small form factor device designed to accelerate AI processing and enable advanced AI solutions at the Edge. With the integration of two BrainChip AKD1000 AI Accelerators and NXP's i.MX 8M Plus SoC, this box can execute diverse AI applications for vision, voice, vibration, and many other sensor applications. By processing data close to the sensor, security and privacy are enhanced through minimizing the need for cloud connectivity and reducing exposure of sensitive data.

VVDN and BrainChip also offer customization options to meet specific end-customer requirements.

Highlights​

  • NXP i.MX 8M Plus Quad SoC
  • 2 x BrainChip AKD1000 Processors
  • 4GB LPDDR4, 32GB eMMC
  • Supports Linux Embedded OS Version 6.1
  • Small and Compact Size Enclosure
  • Easy to Build, Deploy, and Manage AI at the Edge
  • Supports 12VDC with an External Power Adapter
Not sure what you mean by "Holding your breath" Diogenese? 🤔..

The link that you provided (at least) has been around for a while (Frangipani raised it in a post some time back)..

I'm guessing you mean, that all stations are still go?

I do think they probably had some teething issues, but that is the same, for almost any new products, even from the Big Boys.

Obviously, reputationally, it's more important for us, to have a smooth launch.
 
  • Like
Reactions: 9 users

Diogenese

Top 20
Not sure what you mean by "Holding your breath" Diogenese? 🤔..

The link that you provided (at least) has been around for a while (Frangipani raised it in a post some time back)..

I'm guessing you mean, that all stations are still go?

I do think they probably had some teething issues, but that is the same, for almost any new products, even from the Big Boys.

Obviously, reputationally, it's more important for us, to have a smooth launch.
Hi DB,

Short term memory's shot - every day is a new surprise!
 
  • Haha
  • Like
  • Love
Reactions: 17 users

CHIPS

Regular
Order filled and thank you to all you shorters and especially @DK6161 for making the price lower than what I originally was going to buy on the cap raise. Now hit my target of 250k shares ❤️

View attachment 67384

Same here. Bought more yesterday at the lowest price in a long time. (y)

Now ... live well or die with BrainChip for me.
 
  • Like
  • Fire
  • Love
Reactions: 15 users

CHIPS

Regular
20 Jahre. Das ursprüngliche Patent läuft bis 2028.
Für die anderen addieren Sie einfach 20.

Was bedeutet das ursprüngliche Patent und kann es verlängert werden? Do you happen to know?
 
  • Thinking
Reactions: 1 users

Diogenese

Top 20
Was bedeutet das ursprüngliche Patent und kann es verlängert werden? Do you happen to know?
Hi Chips,


This is the original patent:

US8250011B2 Autonomous learning dynamic artificial neural computing device and brain inspired system 20080921

This is the main claim which defined the invention in its broadest form:

An information processing system intended for use in artificial intelligence and having a plurality of digital artificial neuron circuits connected in an array, the system comprising

a plurality of digital dynamic synapse circuits, wherein each digital dynamic synapse circuit contains a binary register that stores a value representing neurotransmitter type and level, wherein the digital dynamic synapse circuits comprise a means of learning and responding to input signals, either by producing or compounding the value, thereby simulating behavior of a biological synapse; and

a temporal integrator circuit that integrates and combines each individually simulated synapse neurotransmitter type and value over time, wherein time is dependent on the neurotransmitter type stored in each digital dynamic synapse circuit
.

It is highly improbable that it can be extended. That requires exceptional circumstances which prevented exploitation of the invention, eg, war. Normal technical/commercial circumstances would not suffice.

I think that this one is more relevant to Akida 1 ...

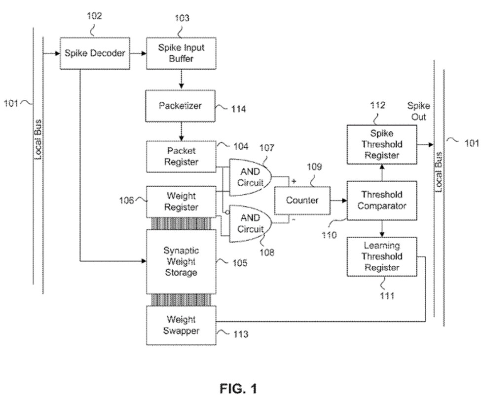
US11468299B2 Spiking neural network 20181101

1722499300239.png



A neuromorphic integrated circuit, comprising:

a spike converter circuit configured to generate spikes from input data;

a reconfigurable neuron fabric comprising a neural processor comprising a plurality of spiking neuron circuits configured to perform a task based on the spikes and a neural network configuration; and

a memory comprising the neural network configuration, wherein the neural network configuration comprises a potential array and a plurality of synapses, and the neural network configuration defines connections between the plurality of spiking neuron circuits and the plurality of synapses, the potential array comprising membrane potential values for the plurality of spiking neuron circuits, and the plurality of synapses having corresponding synaptic weights,

wherein the neural processor is configured to:

select a spiking neuron circuit in the plurality of spiking neuron circuits based on the selected spiking neuron circuit having a membrane potential value that is a highest value among the membrane potential values for the plurality of spiking neuron circuits;

determine that the membrane potential value of the selected spiking neuron circuit reached a learning threshold value associated with the selected spiking neuron circuit; and

perform a Spike Time Dependent Plasticity (STDP) learning function based on the determination that the membrane potential value of the selected spiking neuron circuit reached the learning threshold value associated with the selected spiking neuron circuit
.


... because it gives me the chance to post the Mona Lisa of NNs (elegance, beauty and simplicity).


The TeNNs patent may prove to be just as valuable:

WO2023250093A1 METHOD AND SYSTEM FOR IMPLEMENTING TEMPORAL CONVOLUTION IN SPATIOTEMPORAL NEURAL NETWORKS 20220622

1722499969355.png


a neural network system generally relates to the field of neural networks (NNs). In particular, the present disclosure relates to event-based convolutional neural networks (NNs) that are trained to process spatial and temporal data using kernels represented by polynomial expansion. The event-based convolutional neural networks (NNs) are spatiotemporal neural networks. According to an embodiment, an explicit temporal convolution capability is added through Temporal Event-based Neural Networks (TENN) models, or TENNs in the spatiotemporal neural networks. The TENNs includes a plurality of temporal and spatial convolution layers that combine spatial and temporal features of data for low-level and high-level features. The TENNs as disclosed herein are configured to perform in a buffer mode and recurrent mode that effectively learns both spatial and temporal correlations from the input data.

... and this supporting patent application:

WO2023250092A1 METHOD AND SYSTEM FOR PROCESSING EVENT-BASED DATA IN EVENT-BASED SPATIOTEMPORAL NEURAL NETWORKS 20220622

a method for processing event-based input data using a neural network. The neural network comprises a plurality of neurons and one or more connections associated with each of the plurality of neurons. Further, each of the plurality of neurons is configured to receive a corresponding portion of the event-based data. The method comprises receiving, at a neuron of the plurality of neurons, a plurality of events associated with the event-based data over the one or more connections associated with the neuron. Each of the one or more connections is associated with a kernel. The method further comprises determining a potential of the neuron over the period of time based on processing of the kernels. In order to determine the potential, the method further comprises offsetting the kernels in one of a spatial dimension, a temporal dimension, or a spatiotemporal dimension, and processing the offset kernels in order to determine the potential. The method further comprises generating, at the neuron, output based on the determined potential.
 
  • Like
  • Fire
  • Love
Reactions: 21 users

Kachoo

Regular
VVDN Technologies
@vvdn_tech

Akida™ Edge AI Box, a powerhouse in a compact form! Developed by VVDN and BrainChip, this cutting-edge device integrates the BrainChip AKD1000 AI Accelerators and NXP’s http://i.MX 8M Plus SoC more at:https://bit.ly/3WKrDkf #EdgeAI #Innovation #AI #TechSolutions
Image
Nice to see VVDN advertise it.

For the SP well I don't think that price will be south if the SPP 19.3 for long but to short bellow the SP what is the shorters game only logical thought is they shorted it to a mother buyer that was short to buy back just to trip stop loss Sales? The only other gamble would be is the BRN will not have any contracts over the next 1.5 year and they cover lower but I mean really weird.
 
  • Like
Reactions: 5 users
Nice to see VVDN advertise it.

For the SP well I don't think that price will be south if the SPP 19.3 for long but to short bellow the SP what is the shorters game only logical thought is they shorted it to a mother buyer that was short to buy back just to trip stop loss Sales? The only other gamble would be is the BRN will not have any contracts over the next 1.5 year and they cover lower but I mean really weird.
Expecting the price to drop lower if games are being played as previously mentioned, but wasn’t brave enough to take that gamble and happy with the few extra shares.
 
  • Like
  • Love
Reactions: 5 users

CHIPS

Regular
Hi Chips,


This is the original patent:

US8250011B2 Autonomous learning dynamic artificial neural computing device and brain inspired system 20080921

This is the main claim which defined the invention in its broadest form:

An information processing system intended for use in artificial intelligence and having a plurality of digital artificial neuron circuits connected in an array, the system comprising

a plurality of digital dynamic synapse circuits, wherein each digital dynamic synapse circuit contains a binary register that stores a value representing neurotransmitter type and level, wherein the digital dynamic synapse circuits comprise a means of learning and responding to input signals, either by producing or compounding the value, thereby simulating behavior of a biological synapse; and

a temporal integrator circuit that integrates and combines each individually simulated synapse neurotransmitter type and value over time, wherein time is dependent on the neurotransmitter type stored in each digital dynamic synapse circuit
.

It is highly improbable that it can be extended. That requires exceptional circumstances which prevented exploitation of the invention, eg, war. Normal technical/commercial circumstances would not suffice.

I think that this one is more relevant to Akida 1 ...

US11468299B2 Spiking neural network 20181101

View attachment 67401


A neuromorphic integrated circuit, comprising:

a spike converter circuit configured to generate spikes from input data;

a reconfigurable neuron fabric comprising a neural processor comprising a plurality of spiking neuron circuits configured to perform a task based on the spikes and a neural network configuration; and

a memory comprising the neural network configuration, wherein the neural network configuration comprises a potential array and a plurality of synapses, and the neural network configuration defines connections between the plurality of spiking neuron circuits and the plurality of synapses, the potential array comprising membrane potential values for the plurality of spiking neuron circuits, and the plurality of synapses having corresponding synaptic weights,

wherein the neural processor is configured to:

select a spiking neuron circuit in the plurality of spiking neuron circuits based on the selected spiking neuron circuit having a membrane potential value that is a highest value among the membrane potential values for the plurality of spiking neuron circuits;

determine that the membrane potential value of the selected spiking neuron circuit reached a learning threshold value associated with the selected spiking neuron circuit; and

perform a Spike Time Dependent Plasticity (STDP) learning function based on the determination that the membrane potential value of the selected spiking neuron circuit reached the learning threshold value associated with the selected spiking neuron circuit
.


... because it gives me the chance to post the Mona Lisa of NNs (elegance, beauty and simplicity).


The TeNNs patent may prove to be just as valuable:

WO2023250093A1 METHOD AND SYSTEM FOR IMPLEMENTING TEMPORAL CONVOLUTION IN SPATIOTEMPORAL NEURAL NETWORKS 20220622

View attachment 67402

a neural network system generally relates to the field of neural networks (NNs). In particular, the present disclosure relates to event-based convolutional neural networks (NNs) that are trained to process spatial and temporal data using kernels represented by polynomial expansion. The event-based convolutional neural networks (NNs) are spatiotemporal neural networks. According to an embodiment, an explicit temporal convolution capability is added through Temporal Event-based Neural Networks (TENN) models, or TENNs in the spatiotemporal neural networks. The TENNs includes a plurality of temporal and spatial convolution layers that combine spatial and temporal features of data for low-level and high-level features. The TENNs as disclosed herein are configured to perform in a buffer mode and recurrent mode that effectively learns both spatial and temporal correlations from the input data.

... and this supporting patent application:

WO2023250092A1 METHOD AND SYSTEM FOR PROCESSING EVENT-BASED DATA IN EVENT-BASED SPATIOTEMPORAL NEURAL NETWORKS 20220622

a method for processing event-based input data using a neural network. The neural network comprises a plurality of neurons and one or more connections associated with each of the plurality of neurons. Further, each of the plurality of neurons is configured to receive a corresponding portion of the event-based data. The method comprises receiving, at a neuron of the plurality of neurons, a plurality of events associated with the event-based data over the one or more connections associated with the neuron. Each of the one or more connections is associated with a kernel. The method further comprises determining a potential of the neuron over the period of time based on processing of the kernels. In order to determine the potential, the method further comprises offsetting the kernels in one of a spatial dimension, a temporal dimension, or a spatiotemporal dimension, and processing the offset kernels in order to determine the potential. The method further comprises generating, at the neuron, output based on the determined potential.

Thank you @Diogenese

It is a bit difficult to understand. Do I understand it right that the invalidity of our original patent does not endanger our business as much as the following ones would? What if somebody uses the original patent once it is invalid? What would be the worst that could happen to BrainChip?
 
  • Like
Reactions: 2 users

DK6161

Regular
Order filled and thank you to all you shorters and especially @DK6161 for making the price lower than what I originally was going to buy on the cap raise. Now hit my target of 250k shares ❤️

View attachment 67384
Well done pom.
Glad you did that and all the best.
Not sure why you think I am a shorter, as most of my comments reflect my confidence with Sean and co.
 
  • Haha
Reactions: 2 users

Kachoo

Regular
Expecting the price to drop lower if games are being played as previously mentioned, but wasn’t brave enough to take that gamble and happy with the few extra shares.
Look 1 or 2 penny buy difference is nothing if we achieve what was stated long ago. So Pom you do what you know is right for you. Congrats! Good luck to us and all.
 
  • Like
  • Fire
  • Love
Reactions: 13 users
Well done pom.
Glad you did that and all the best.
Not sure why you think I am a shorter, as most of my comments reflect my confidence with Sean and co.
1722504788814.gif
 
  • Haha
Reactions: 7 users
Well done pom.
Glad you did that and all the best.
Not sure why you think I am a shorter, as most of my comments reflect my confidence with Sean and co.
Looking forward to all you positive posts going forward
























.















.










1722504929735.gif
 
  • Haha
Reactions: 5 users

HopalongPetrovski

I'm Spartacus!
Well done pom.
Glad you did that and all the best.
Not sure why you think I am a shorter, as most of my comments reflect my confidence with Sean and co.
Have you recently completely changed your sentiment in regards to the Company?
There seems to be a memory of you being very negative and only recently changing your tune, which of course arouses suspicion.
I went to have a look back at your posting history but it is blocked, apparently by you.
None of this proves anything of course and we all could be mistaken, or you maybe have had a personal conversion on the road to Damascus, but this is perhaps the reason your recent Pollyanna postings are being received with some caution.
Unfortunately some scum like T&J and a number of other more recent rodents from the crapper like to hide out in the shadows here, not daring to squeak and reveal themselves, seeking ammunition for their malicious and twisted diatribe.
 
  • Like
  • Fire
  • Haha
Reactions: 22 users

7für7

Top 20
Have you recently completely changed your sentiment in regards to the Company?
There seems to be a memory of you being very negative and only recently changing your tune, which of course arouses suspicion.
I went to have a look back at your posting history but it is blocked, apparently by you.
None of this proves anything of course and we all could be mistaken, or you maybe have had a personal conversion on the road to Damascus, but this is perhaps the reason your recent Pollyanna postings are being received with some caution.
Unfortunately some scum like T&J and a number of other more recent rodents from the crapper like to hide out in the shadows here, not daring to squeak and reveal themselves, seeking ammunition for their malicious and twisted diatribe.
Yes it’s the T&J Syndrome , suddenly you turn and say l always believed in brainchip… I just wanted to point some issues out and make some questions… go brainchip” and two days later “😏 nice that our ceo decided to sell his private car … looks like the company is going well” or something like this
 
  • Like
  • Haha
Reactions: 3 users

IMG_2384.jpeg
 
  • Like
  • Love
  • Fire
Reactions: 25 users

manny100

Top 20
I just though i would ask Co pilot what AKIDA limitations are.
Nothing that we already do not know. There is room for both the Cloud and Cloudless applications depending on the tasks.
SOME THINGS THAT STAND OUT:
Co Pilot 'understands' adoption is still developing - see point 1 patience still required.
Point 6 is the same - BrainChip’s visibility in the AI market is relatively low compared to larger players. Awareness and adoption take time.
Again patience required. My bold above.
Co pilot answers:
  1. Early Deployment: Akida remains in the early stages of deployment within niche markets1. While it shows promise, widespread adoption is still evolving.
  2. Complexity and Learning Curve: Implementing Akida requires understanding its unique features, such as event-based processing and on-device learning. Developers need to adapt to these novel paradigms.
  3. Specific Use Cases: Akida excels in specific applications like vision, audio processing, and time series forecasting. However, it may not be the best fit for all AI tasks.
  4. Resource Constraints: Although Akida is efficient, it still requires computational resources. Developers must balance performance with power consumption and memory constraints.
  5. Model Size Reduction: While Akida’s TENNs reduce model size significantly, some complex networks may still pose challenges2.
  6. Market Awareness: BrainChip’s visibility in the AI market is relatively low compared to larger players. Awareness and adoption take time.
 
  • Like
  • Fire
  • Sad
Reactions: 11 users

Diogenese

Top 20
Thank you @Diogenese

It is a bit difficult to understand. Do I understand it right that the invalidity of our original patent does not endanger our business as much as the following ones would? What if somebody uses the original patent once it is invalid? What would be the worst that could happen to BrainChip?
Hi Chips,

"Expiry" is a better term than "Invalidity" in patent parlance in this context.

The claim is probably very broad, but, as you suggest, the terminology of the claim would need a lot of unwrapping in court.

A lot of technological water has passed under the bridge between the 2008 patent and the 2018 patent for Akida 1.

I doubt that the expiry of 2008 will significantly affect the value of the patent portfolio, remembering that there are several other patents granted or in the pipeline.

I think the TeNNs patents, when granted, will double the value of the portfolio because it covers a whole different area of the technology, whereas most of the current patents are within the same ballpark.
 
  • Like
  • Fire
  • Love
Reactions: 20 users

manny100

Top 20
From the BRN website and how true:
"

The key to growth is
effective partnership."​

 
  • Like
Reactions: 11 users
  • Haha
Reactions: 13 users
Good to see neuromorphic computing is gaining traction in the UK:


"We expect the centre to:

Draw in all stakeholders​

  • engage across and bring together neuromorphic computing, including (but not limited to) the multidisciplinary academic community of computer science, software engineering, semiconductors and hardware and neuroscience
  • create a unified sector voice and common language across the disciplines and across the stack to accelerate innovation
  • bring together the research community, policy makers and industrial partners
  • work internationally to demonstrate the capability of neuromorphic computing research and innovation in the UK

Seed a UK research and innovation programme in neuromorphic computing​

  • carry out UK landscaping and road mapping to evaluate the current state and opportunities for the area, which will provide evidence of the benefits and potential of neuromorphic computing to inform stakeholders
  • engage with existing investments across UK Research and Innovation (UKRI), linking current and future investments to add value
  • build a focused research and innovation programme across the full stack to address core research challenges in neuromorphic computing
  • target the core research challenges that will advance the discipline and demonstrate its power
  • the programme of research must be outcomes focused, with clear goals that can be delivered within the timeframe, moving the area forwards

Provide a focal point for neuromorphic computing research in the UK​

  • demonstrate the capabilities and potential of neuromorphic computing in real world scenarios and in different sectors, including use cases
  • Interface with technologies that could benefit from neuromorphic computing (such as AI, quantum computing and so on)"
 
  • Like
  • Fire
  • Love
Reactions: 24 users
Top Bottom