BRN Discussion Ongoing

Labsy

Regular
It was a technology talkfest.........I'll get excited when we appear at a major commercial event arm in ARM........... :D
Talkfest? 👍😁 Yeah... With the following participants ... "Researchers and workers in related industries, government departments, and public institutions"...
Don't worry about ARM mate .... This is growing organically...
 
  • Like
  • Love
  • Fire
Reactions: 22 users

Iseki

Regular
Objective:
  • Promote technology exchange through presentations and discussions on the direction of neuromorphic semiconductor technology development.
Main Content:
  • Share current trends and future prospects of development in the field of neuromorphic semiconductors.
Detailed Schedule:

TimePresentation TopicPresenter
10:00~10:20Participant Registration-
10:20~10:20Opening Ceremony-
Welcoming RemarksKim Hyung-jun (Chairman), Yoon Woo-hee (Manager), Oh Woo-jae (PM), Yoo Hwi-joon (Chair)
Session 1: Neuromorphic Semiconductor Design Field
10:20~10:50Development Trends of Digital Neuromorphic ProcessorsProf. Jung Doo-seok (Hanyang University)
10:50~11:20Algorithms for Ultra-low Power AI for NeuromorphicPark Seong-seok (Senior Researcher, KIST)
11:20~11:50Software and Compiler for Neuromorphic ArchitecturesProf. Lee Jong-eun (UNIST)
11:50~13:20Lunch Break-
Session 2: Neuromorphic Semiconductor Materials Field
13:20~13:50Melister Research Trends and New MaterialsProf. Park Tae-joo (Hanyang University)
13:50~14:20Ferroelectric Devices for Next-generation Neuromorphic ApplicationsProf. Kwon Dae-woong (Hanyang University)
Session 3: Invited Lecture
14:20~14:50TENN: A Highly Efficient Transformer Replacement Compatible with Event-based ComputingTony Lewis (Brainchip)
14:50~15:20Future Prospects of Neuromorphic SemiconductorsProf. Yoo Hyun-kyu (KAIST)
15:20~15:40Coffee Break-
Session 4: Comprehensive Discussion (Moderator: Prof. Jung Doo-seok)
15:40~16:10Comprehensive DiscussionVarious Experts
16:10~16:20Closing Ceremony-
Closing RemarksKim Hyung-jun (Chairman)

Participants:
  • Researchers and workers in related industries, government departments, and public institutions.
Hosted by:
  • Ministry of Science and ICT
Organized by:
  • Next-generation Intelligent Semiconductor Project
  • Information and Communication Planning and Evaluation Institute
  • Semiconductor Engineering Association
  • AI Semiconductor Forum
He Wilzy, is that you talking at 15:40?
 
  • Haha
Reactions: 3 users

JDelekto

Regular
Tried to search but struggled to find the link. A few years ago there was a website/app setup by a member on here where we could run our own one-shot learning demo/test. Is this website still available? Might have been esq11?? Thanks in advance..
As mentioned, this was uiux. The GitHub repositories for uiux's projects can be found here.
 
  • Like
  • Love
  • Fire
Reactions: 14 users

Bravo

If ARM was an arm, BRN would be its biceps💪!

Exclusive: Arm aims to capture 50% of PC market in five years, CEO says​


June 3, 202410:19 PM GMT+10Updated 2 days ago



ARM CEO Rene Haas makes a speech at COMPUTEX forum in Taipei





ARM CEO Rene Haas makes a speech at COMPUTEX forum in Taipei, Taiwan June 3, 2024. REUTERS/Ann Wang


TAIPEI, June 3 - Arm Holdings aims to gain more than 50% of the Windows PC market in five years, the chip designer's CEO said, as Microsoft (MSFT.O), opens new tab and its hardware partners prepare to launch a new batch of computers based on the British firm's technology.
Arm's U.S.-listed shares climbed 2.6% in pre-market trade on Monday.
Demand for use of Arm's technology in personal computers got a boost after Microsoft unveiled ambitious plans last month to launch a new breed of PCs with artificial intelligence features to compete with Alphabet (GOOGL.O), opens new tab and Apple (AAPL.O), opens new tab.

Its flagship Windows operating system will now run on chips designed by Arm, whose technology powered the rise of smartphones. Chips made by Intel (INTC.O), opens new tab have dominated the PC industry for decades and if the Arm push succeeds, it would reorder the market.
"Arm's market share in Windows - I think, truly, in the next five years, it could be better than 50%," CEO Rene Haas told Reuters in an interview.

Microsoft has made a significant commitment to ensure its alternative technology to Advanced Micro Devices (AMD.O), opens new tab and Intel's x86 technology is embraced by consumers, building a suite of software developer tools to make it possible to produce programs that function on Arm-based chips.
"They've (Microsoft) gone way beyond anything they had (in developer tools) and they really picked it up in the last couple of years," Haas said. "They are very, very much committed from a software standpoint."
The video player is currently playing an ad.

Microsoft and hardware vendors are following in Apple's footsteps. The company has seen success from its introduction of Arm designs. It has sold machines with its "M Series" processors for roughly four years and those chips offer long battery life and speedy performance.
Qualcomm (QCOM.O), opens new tab has designed the first Arm-based chip to introduce consumers and businesses to the new Windows-based Arm machines, but other vendors will follow, Haas said.
 
  • Like
  • Love
Reactions: 16 users

Iseki

Regular
Just think about it... The ministry of science and ICT of South Korea, invited brainchip to discuss our innovative "Tenns" technology....
How can you not get excited about that .. Far out...
I am holding on for dear life.. must admit I'm getting sweaty palms but hanging on damn it!
Let's go chippers! $5 party next announcement!
🚀🚀🚀🚀
I wonder if Ed Husic will be there? Maybe he can jag us a contract.
 
  • Haha
Reactions: 2 users

Bravo

If ARM was an arm, BRN would be its biceps💪!
Hmmm ... it never Rains*, but it's poor.

The original Rain AI analog random nanowire tech, which was also backed by Sam Altman to the tune of $50M of OpenAi's money (and a little of his own) was a complete fizzer, and they are now pursuing a totally different digital approach.

Their random nanowire NN, which so beguiled Altman and the Saudis, confused the brain's complexity with chaos.

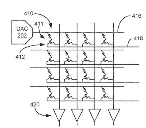
US2023023533A1 MEMRISTIVE DEVICE 20200218

View attachment 63711

[0035] As indicated in the cross-sectional view of FIG. 3 B, not all nanowires 310 have electrodes located at the same cross-sectional cut. Although electrodes 350 are arranged in a rectangular array, memristive device 300 is not a crossbar array. Instead, nanowires 310 are dispersed on substrate 302 . In some embodiments, nanowires 310 are randomly or pseudo-randomly distributed across substrate 302 . In some embodiments, nanowires 310 have a distribution that is replicated multiple times across substrate. However, the arrangement of nanowires 310 in a particular replication may not be ordered. In other embodiments, the distribution of nanowires 310 may not be random or pseudo-random, but is not an ordered array. For example, two nanowires 310 may cross in multiple locations.

Rain have now moved on to what they call digital-in-memory, but this patent application is for analog-in-memory with DAC/ADC.


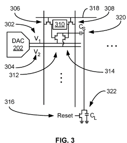
WO2024091680A1 COMPUTE IN-MEMORY ARCHITECTURE FOR CONTINUOUS ON-CHIP LEARNING 20221028

View attachment 63712 View attachment 63713


[0036] FIG. 3 depicts an embodiment of a cell in one embodiment of an SRAM CIM module usable for CIM module 230 . Also shown is DAC 202 of compute engine 200 . For clarity, only one SRAM cell 310 is shown. However, multiple SRAM cells 310 may be present. For example, multiple SRAM cells 310 may be arranged in a rectangular array. An SRAM cell 310 may store a weight or a part of the weight. The CIM module shown includes lines 302 , 304 , and 318 , transistors 306 , 308 , 312 , 314 , and 316 , capacitors 320 (Cs) and 322 (CL ). In the embodiment shown in FIG. 3 , DAC 202 converts a digital input voltage to differential voltages, V1 and V2 , with zero reference. These voltages are coupled to each cell within the row. DAC 202 is thus used to temporal code differentially. Lines 302 and 304 carry voltages V1 and V2 , respectively, from DAC 202 . Line 318 is coupled with address decoder 270 (not shown in FIG. 3 ) and used to select cell 310 (and, in the embodiment shown, the entire row including cell 310 ), via transistors 306 and 308.

So what does Rain have up its sleeve? (wet elbow, cold shoulder, goosebumps, ...)

Gordon Wilson Co-founder & Executive Advisor​

CEO at Rain for 6 years, Gordon laid the foundation for Rain to become a leading AI infrastructure company. He is a lifelong storyteller and scientific communicator.

Say no more ...


I think the Biden administration has done the Saudis a favour.


* ... in southern California, ...


It's interesting that Rain AI is no longer referring to neuromorphic technology.

Rain AI Unveils Andes Technology as Its RISC-V Partner​




Andes Technology Corporation
Tue, 4 June 2024 at 11:00 am AEST·4-min read





Andes Technology Corporation

Andes Technology Corporation
San Francisco, CA , June 03, 2024 (GLOBE NEWSWIRE) -- Rain AI Licenses Andes AX45MPV and Taps Andes Custom Computing BU to Accelerate Its Launch of Groundbreaking Compute-In-Memory (CIM) Generative AI Solutions
San Francisco, CA, June 03, 2024
- Andes Technology, a leading supplier of high-efficiency, low-power 32/64-bit RISC-V processor cores and Founding Premier member of RISC-V International announces that Rain AI, a pioneer in compute-in-memory (CIM) technology, licensed Andes’ AX45MPV RISC-V vector processor. Rain AI designs novel accelerator solutions, and the two companies are collaborating to accelerate Rain AI’s product roadmap.
As the world economy embraces generative AI to deliver unprecedented benefits to consumers and business alike, energy consumption stands as a significant hurdle regardless of the deployment points, be it the cloud, edge, and especially the smallest sensors. CIM represents the most promising solution to lower the energy footprint by as much as 50X. By performing computations directly in the memory bit-cells, CIM can dramatically reduce the energy required for matrix operations commonly found in machine learning.

However, CIM by itself cannot completely address the vast and growing number of machine learning operators. A RISC-V CPU is ideal for efficient programming and future-proofing of an CIM-based NPU. The RISC-V architecture allows users to add custom instructions to encapsulate the CIM computing blocks, easing software development efforts. Andes automates this instruction customization process with its automated COPILOT compiler.
Mr. Frankwell Lin, Chairman and CEO of Andes, says, "Andes is honored and excited to have Rain AI as its licensee and partner. As the first RISC-V vector processor provider, we see CIM as an inevitable necessity to enable generative AI applications and therefore have focused on CIM customers. To our knowledge, Rain AI has designed one of the most energy efficient matrix multiplication units using digital CIM technology, so we look forward to Rain AI unveiling its breakthrough solutions."
Mr. William Passo, CEO of Rain AI, echoed this sentiment, stating, "It is rare to see a vendor who shares the same market and technology vision as us, has best-in-class RISC-V solutions for our technology needs, and can commit resources to help us accelerate our roadmap to significantly reduce the energy required for AI. Running the most advanced models in any form factor is the future of AI, and we are now one step closer with Andes."
Indeed, Rain AI further taps into Andes’ Custom Computing Business Unit (CCBU) to help accelerate the integration of Andes AX45MPV and the ACE/COPILOT instruction customization with on-site and remote consulting services. Andes’ CCBU is a small team of experts tasked to perform complex customizations and integrations for a few promising cutting-edge licensees.

Both companies can share that AX45MPV and Andes’ unique RISC-V instruction customization solution, ACE/COPILOT both play pivotal roles to complement Rain AI’s groundbreaking CIM hardware, compiler, and runtime software to deliver scalable ML solutions for a variety of deployment points. Rain AI will unveil its accelerator solution in early 2025.
About Andes Technology
Nineteen years in business and a Founding Premier member of RISC-V International, Andes is a publicly-listed company (TWSE: 6533; SIN: US03420C2089; ISIN: US03420C1099) and a leading supplier of high-performance/low-power 32/64-bit embedded processor IP solutions, and the driving force in taking RISC-V mainstream. Its V5 RISC-V CPU families range from tiny 32-bit cores to advanced 64-bit Out-of-Order processors with DSP, FPU, Vector, Linux, superscalar, functional safety and/or multi/many-core capabilities. By the end of 2023, the cumulative volume of Andes-Embedded™ SoCs has surpassed 14 billion. For more information, please visit https://www.andestech.com. Follow Andes on LinkedIn, Twitter, Bilibili and YouTube! !
About Rain AI
Rain AI’s mission is to enable advanced and abundant AI everywhere by building the world’s most efficient AI hardware. It creates flexible solutions for generative AI inference and training utilizing novel compute-in-memory CIM technology, RISC-V processing cores, advanced packaging techniques, and optimized ML algorithms. By co-designing hardware with leading AI models, Rain AI sets new standards in AI efficiency and performance. Rain AI investors include Sam Altman, Dan Gross, and Y Combinator. For further information, visit http://www.rain.ai.
CONTACT: Jonah McLeod +1 (510) 449-8634 Jonahm@andestch.com

 
  • Like
  • Thinking
  • Fire
Reactions: 16 users

Bravo

If ARM was an arm, BRN would be its biceps💪!
Former Meta architecture leader joins Rain AI.




Leading Architect Joins Rain AI to Accelerate Vision to Enable Advanced AI Everywhere​

NEWS PROVIDED BY
ACCESSWIRE
Jun 04, 2024, 10:30 AM ET
Former Meta architecture leader Amin Firoozshahian has joined the Rain AI team as their Lead Architect
SAN FRANCISCO, CA / ACCESSWIRE / June 4, 2024 / Rain AI, an AI hardware startup and compute-in-memory pioneer whose mission is to enable advanced AI everywhere, today announced that former Meta architecture leader Amin Firoozshahian has joined the team as Lead Architect. In his new role, Firoozshahian will lead the design and development of new technologies that will significantly reduce the energy required to run AI inference and model training, allowing a growing list of customers and partners to deploy and productize AI.
img69179963-1.jpg




"We could not be more excited to have an architect of Amin's caliber leading the next iteration of our architecture," said Rain AI CEO William Passo. "Our novel compute-in-memory technology will help unlock the true potential of today's generative AI models, and get us one step closer to running the most advanced models anywhere."
Firoozshahian joins the company from Meta, where he was a leading architect on the AI Systems Hardware/Software Co-Design and Infra Silicon teams working on the company's MTIA family of accelerators. In 2023, he was the lead author of Meta's 2023 paper on MTIAv1. Prior to joining Meta in 2019, he worked in Intel's Product Architecture Group, integrating novel technologies into the Xeon family of products and worked on AI accelerator performance evaluation as part of the company's Artificial Intelligence Product Group (AIPG). He joined Intel in 2014 when that company acquired Hicamp Systems Inc., a startup that developed novel memory system architectures. He received his Ph.D. in Electrical Engineering from Stanford University in 2009.
About Rain AI
Rain AI's mission is to enable advanced AI everywhere. Rain AI creates accelerator solutions for AI inference and training using novel compute-in-memory (CIM) technology, RISC-V processing cores, and specialized machine learning model optimization tools. By designing chips to run the world's most powerful AI models, Rain AI can dramatically reduce the energy consumption of AI compute. Rain AI is backed by investors including Sam Altman, Dan Gross, Grep VC, and Y Combinator. Follow further information, visit rain.ai or follow Rain AI on LinkedIn.
Contact information:
Andrei Santalo
Head of Operations
andrei@rain.ai
SOURCE: Rain AI
 
  • Like
  • Love
  • Thinking
Reactions: 8 users

Esq.111

Fascinatingly Intuitive.
Tried to search but struggled to find the link. A few years ago there was a website/app setup by a member on here where we could run our own one-shot learning demo/test. Is this website still available? Might have been esq11?? Thanks in advance..
Afternoon Gazzafish,

I broke out laughing.... flat out operating my phone , at the best of times.

The expertise / demo would more than likely have been Uiux.

Think he is occasionally looking in on us .

Sorry for the delayed response.... doing a bit of engineering pressently.
9 inch angle grinders & all sorts flying around.

Regards,
Esq.
 
  • Like
  • Fire
Reactions: 8 users

SERA2g

Founding Member
Tried to search but struggled to find the link. A few years ago there was a website/app setup by a member on here where we could run our own one-shot learning demo/test. Is this website still available? Might have been esq11?? Thanks in advance..

This is what you're looking for
 
  • Like
  • Love
Reactions: 11 users

wilzy123

Founding Member
He Wilzy, is that you talking at 15:40?
No, my presentation is at 11:50
 
  • Haha
Reactions: 5 users

IMG_1913.jpeg
 
  • Like
  • Fire
  • Wow
Reactions: 17 users

7für7

Top 20

View attachment 64397
Congrats…. But no mention of akidas brainchip🤷🏻‍♂️ so what’s the point? It’s like showing some hungry people a juicy steak behind the window
 
  • Like
  • Haha
Reactions: 8 users

7für7

Top 20
  • Like
Reactions: 2 users

Guess who likes this
Rob Telson
 
  • Haha
  • Like
Reactions: 7 users

Dallas

Regular
  • Like
  • Fire
  • Love
Reactions: 8 users

Diogenese

Top 20

View attachment 64397


Magnus ÖstbergMagnus Östberg • 3rd+ • 3rd+Chief Software Officer at Mercedes-Benz AGChief Software Officer at Mercedes-Benz AG1h • 1 hour ago
Follow

hashtag#MercedesBenz is reinventing the in-car digital experience by leveraging the power of artificial intelligence.

Navigation is one example. Today, more than three million customers around the world are using Google Place Details in their cars. Next year, with the advent of our new own Mercedes-Benz Operating System, MB.OS, we will take navigation to a new level with MBUX Surround Navigation.

Voice assistance also benefits from AI. Our upcoming hashtag#MBUXVirtualAssistant uses generative AI and advanced 3D graphics to make interactions more natural, intuitive and personalized.

None of these game-changing technologies would be possible without the skill and dedication from our team of talented engineers. So, it’s great to be able to announce that our MBUX Virtual Assistant technology has won the Automotive AI Product of the Year award from the ICA Summit 2024.👏

Recognition from the industry strengthens our focus and further underlines why hashtag#AI is at the heart of our software strategy
.


"Voice assistance also benefits from AI"

Mercedes has continually referred back to the "Hey Mercedes!" feature of the EQXX, noting that they continue to develop this feature.

They have decoupled hardware and software developments because the tech is in a state of flux, so using software allows them to implement new features (TeNNs) whereas silicon is not so pliable.
 
  • Like
  • Love
  • Fire
Reactions: 34 users

7für7

Top 20
Magnus ÖstbergMagnus Östberg • 3rd+ • 3rd+Chief Software Officer at Mercedes-Benz AGChief Software Officer at Mercedes-Benz AG1h • 1 hour ago
Follow

hashtag#MercedesBenz is reinventing the in-car digital experience by leveraging the power of artificial intelligence.

Navigation is one example. Today, more than three million customers around the world are using Google Place Details in their cars. Next year, with the advent of our new own Mercedes-Benz Operating System, MB.OS, we will take navigation to a new level with MBUX Surround Navigation.

Voice assistance also benefits from AI. Our upcoming hashtag#MBUXVirtualAssistant uses generative AI and advanced 3D graphics to make interactions more natural, intuitive and personalized.

None of these game-changing technologies would be possible without the skill and dedication from our team of talented engineers. So, it’s great to be able to announce that our MBUX Virtual Assistant technology has won the Automotive AI Product of the Year award from the ICA Summit 2024.👏

Recognition from the industry strengthens our focus and further underlines why hashtag#AI is at the heart of our software strategy
.


"Voice assistance also benefits from AI"

Mercedes has continually referred back to the "Hey Mercedes!" feature of the EQXX, noting that they continue to develop this feature.

They have decoupled hardware and software developments because the tech is in a state of flux, so using software allows them to implement new features (TeNNs) whereas silicon is not so pliable.



I said……. JUICY STEAK!!!!!!!


1717577673051.gif
 
  • Haha
Reactions: 2 users

Guess who likes this

:unsure: hmmm... Steve Jobs?
 
  • Like
  • Wow
Reactions: 2 users

FJ-215

Regular
Magnus ÖstbergMagnus Östberg • 3rd+ • 3rd+Chief Software Officer at Mercedes-Benz AGChief Software Officer at Mercedes-Benz AG1h • 1 hour ago
Follow

hashtag#MercedesBenz is reinventing the in-car digital experience by leveraging the power of artificial intelligence.

Navigation is one example. Today, more than three million customers around the world are using Google Place Details in their cars. Next year, with the advent of our new own Mercedes-Benz Operating System, MB.OS, we will take navigation to a new level with MBUX Surround Navigation.

Voice assistance also benefits from AI. Our upcoming hashtag#MBUXVirtualAssistant uses generative AI and advanced 3D graphics to make interactions more natural, intuitive and personalized.

None of these game-changing technologies would be possible without the skill and dedication from our team of talented engineers. So, it’s great to be able to announce that our MBUX Virtual Assistant technology has won the Automotive AI Product of the Year award from the ICA Summit 2024.👏

Recognition from the industry strengthens our focus and further underlines why hashtag#AI is at the heart of our software strategy
.


"Voice assistance also benefits from AI"

Mercedes has continually referred back to the "Hey Mercedes!" feature of the EQXX, noting that they continue to develop this feature.

They have decoupled hardware and software developments because the tech is in a state of flux, so using software allows them to implement new features (TeNNs) whereas silicon is not so pliable.
Does this circle back to my question on the possibility of TENNs being a stand alone product?

As Dr J, stated, SNNs are damn hard to train.
 
  • Like
Reactions: 4 users

Esq.111

Fascinatingly Intuitive.
Good evening Chippers,

Far to lickerd to type out the following, quicker to use a pen.

ARM ..Rene Hase CEO ( apologies for miss spelling) is ither full of it , and like ours waiting for the next bonus or may be talking sense .

Certainly attainable, just need to deliver , hell of alot of big talk seems to come from many... yet the delivery is...

Regards,
Esq.
 

Attachments

  • 20240605_183745.jpg
    20240605_183745.jpg
    1.7 MB · Views: 244
  • Like
  • Haha
  • Thinking
Reactions: 16 users
Top Bottom