BRN Discussion Ongoing

stockduck

Regular
Back home on PC.

Much criticism has been levelled at Sean Hehir for not communicating with shareholders over the last several months and to some extent this type of criticism has been made since shortly after he took the reins at Brainchip.

My intention is not to debate the merits of the criticism suffice to say I on two occasions have made clear a concern I had about his communication style, but as I am just an old technophobe without any experience of running, for the sake of this discussion a Silicon Valley type technology start-up that originated from Australia currently listed on the ASX and intending to eventually launch on Nasdaq during a time of global turbulence with the major shareholders and founders looking over my shoulder, so I expressed those concerns directly to the company.

In expressing those concerns it was emphasised that the company was in the process of reinventing its corporate branding as a commercial entity and while it appeared to be taking backward steps these measures were essential if the end goals were to be realised.

I probably do not need to write that Tony Dawe has been under almost constant attack for the best part of six months from shareholders concerned about the direction of the company and that over this time the company has only poorly at one level communicated the importance of what was taking place to set the foundations for success.

These foundations can be summed up from the company's point of view in the one word "ECOSYSTEMS".

So if we look at the avalanche of news over the last couple of weeks, today's promise by Sean Hehir of more to come, and the focus of today's podcast fronted by Sean Hehir being "ECOSYSTEMS" and the qualifications of the guest to speak precisely on this point it is my impression that this podcast was Sean Hehir trying to explain to shareholders why the pain of the last 18 months since his appointment had been necessary.

I posted earlier a quote relating to competitors but the overall paper is about whether the world is ready for neuromorphic computing and in essence it does nothing if not make clear that in the absence of what Sean Hehir and his guest describe as "Ecosystems" an AKIDA technology revolution cannot take place.

Building these "ECOSYSTEMS" is not sexy, it does not bring in immediate income but without technology "ECOSYSTEMS" AKIDA will have no value to anyone.

Sean Hehir used at the AGM last year his three legged chair to describe what he was doing and how without one of the legs a three legged chair cannot stand or be of any use.

"ECOSYSTEMS" were one of the legs of this chair and today was Sean Hehir attempting to explain with the assistance of someone who has done it for Nvidia why taking the time to build "ECOSYSTEMS" to support AKIDA technology just had to be accomplished otherwise failure would be the outcome.

I hope that this podcast has drawn a line in the sand and that going forward we will see a change in the communication that takes place with shareholders and in this regard I am not talking about lots of IP licence agreements being announced what I am talking about is a less introspective style, one where Sean Hehir takes on fully the role of visionary CEO leading from the front confident that all the foundations needed including "ECOSYSTEMS" are firmly in place.

If this all sounds a bit Tesla-ish having a vision that shareholders, customers and "ECOSYSTEM" partners can embrace is in my opinion absolutely essential if Brainchip is to lead the Artificial Intelligence revolution and have the world follow AKIDA technology science fiction forward into the 4th Industrial Revolution.

Well you did ask.😁😂🤣😂

My opinion only DYOR
FF

AKIDA BALLISTA
A very nice one of explanation....and I think you "nailed" it.

That`s how I feel it too, but for a "mom and dad investor" it is also feeling pain and high financial risk even if you do not "need" the money you have invested in. I hope Mr. CEO knows about this convidence those shareholders put on him.

This will be very exciting to see how an new financial investment will be made, if this will be the case in future.

Do we have to endure a further fall in the share price, or can a new investment also result in added value in terms of the share price, so that although patience is required on the part of the shareholders as an ingredient in the cake, the shareholders are not thrown out of the kitchen and can continue to watch the preparation of the coffee coronation and are welcome co-owners as tasters?

Are "mom and dad Investors" a part of the ecosystem?

;)😇
I hope, I got the message right.
 
  • Like
  • Love
  • Fire
Reactions: 18 users

overpup

Regular
A very nice one of explanation....and I think you "nailed" it.

That`s how I feel it too, but for a "mom and dad investor" it is also feeling pain and high financial risk even if you do not "need" the money you have invested in. I hope Mr. CEO knows about this convidence those shareholders put on him.

This will be very exciting to see how an new financial investment will be made, if this will be the case in future.

Do we have to endure a further fall in the share price, or can a new investment also result in added value in terms of the share price, so that although patience is required on the part of the shareholders as an ingredient in the cake, the shareholders are not thrown out of the kitchen and can continue to watch the preparation of the coffee coronation and are welcome co-owners as tasters?

Are "mom and dad Investors" a part of the ecosystem?

;)😇
I hope, I got the message right.
Well said, SD... I have been trying to find the words for this growing feeling for some time now. You have done it better than i could. - thank you!
 
  • Like
Reactions: 8 users

stockduck

Regular
Some news from Nürnberg....


".......o realize continuous data collection, system monitoring, and remote debugging for the charging equipment across the world. The solution can restart the power during system failures or while offline to optimize edge device management and reduce downtime.

....."

There seems to be a business relationship to aetina.



There seems a connection to Hailo....

".....
Aetina AI-MXM-H84A modules feature four Hailo-8™ AI processors, providing up to 104 Tera-Operations Per Second (TOPS) AI performance with best-in-class power efficiency to speed up deployment of neural network (NN) and deep learning (DL) processes on edge devices by AI developers. The Hailo-8™ AI accelerator allows edge devices to run DL applications at full scale with superb efficiency, effectiveness, and sustainability.
......"
😲
 
  • Like
  • Fire
Reactions: 9 users

Evermont

Stealth Mode
Nice to see we cracked a mention in GFT Ventures Q1 Update.


1678888808081.png
 
  • Like
  • Fire
Reactions: 23 users

stockduck

Regular
Some news from Nürnberg....


".......o realize continuous data collection, system monitoring, and remote debugging for the charging equipment across the world. The solution can restart the power during system failures or while offline to optimize edge device management and reduce downtime.

....."

There seems to be a business relationship to aetina.



There seems a connection to Hailo....

".....
Aetina AI-MXM-H84A modules feature four Hailo-8™ AI processors, providing up to 104 Tera-Operations Per Second (TOPS) AI performance with best-in-class power efficiency to speed up deployment of neural network (NN) and deep learning (DL) processes on edge devices by AI developers. The Hailo-8™ AI accelerator allows edge devices to run DL applications at full scale with superb efficiency, effectiveness, and sustainability.
......"
😲
I took a look at their technologiy partners.....

I think.....here we go.:D🙃😉
Let`s see in patient.....patient....patient......:love:


....but maybe 2,5-5 W powerconsumption is to much...?

"....
  • Industry-leading power efficiency with a typical power consumption of 5W ...."


but there is a nice correlation in the spelling in this news from 8. March:


".....
The Hailo-15 VPU family includes three variants — the Hailo-15H, Hailo-15M, and Hailo-15L — to meet the varying processing needs and price points of smart camera makers and AI application providers. Ranging from 7 TOPS (Tera Operation per Second) up to an astounding 20 TOPS, this VPU family enables over 5x higher performance than currently available solutions in the market, at a comparable price point. All Hailo-15 VPUs support multiple input streams at 4K resolution and combine a powerful CPU and DSP subsystems with Hailo’s field-proven AI core.
...."
just like akida E/akida S/ akida P..?



".....
With this family of high-performance AI vision processors, Hailo is also pioneering the use of vision-based transformers in cameras for real-time object detection. The added AI capacity can also be utilized for video enhancement and much better video quality in low-light environments, for video stabilization, and high dynamic range performance.
...."
 
Last edited:
  • Like
  • Thinking
  • Fire
Reactions: 14 users

Serengeti

Regular

Attachments

  • 60600EAB-62E5-43C4-8C83-839EAF9B9870.jpeg
    60600EAB-62E5-43C4-8C83-839EAF9B9870.jpeg
    413 KB · Views: 157
Last edited:
  • Like
  • Wow
  • Fire
Reactions: 19 users

dippY22

Regular
I have said it many times when this place is used for its proper purpose to share thoughts (not anxieties) and research this is as close to insider trading as you will get without breaking the law. Many thanks @stuart888 . You see Americans are nice people too.😂🤣😂

However lets look at what Teksun replaced Cisco, Toshiba and Lenaro with:


"BrainChip is a technology company making AI everywhere easier to deploy and scale. It’s neuromorphic processor called, Akida™, is pure digital and is an event-based technology that is inherently lower power when compared to conventional neural network accelerators. BrainChip IP supports incremental learning and high-speed inference in a wide variety of use cases, making it cost effective and simple to implement. Designed for sustainable AI, Akida™, performs complex functions at the device level, delivering a real-time, instant response.

BrainChip's solutions have applications in various industries, including automotive, smart homes, security and surveillance. The company has partnered with industry leaders such as Arm, Mercedes Benz, and Renesas driving intelligence into next generation device
s."

So,

I knew
Brainchip had partnered with ARM its on their website.

I DID NOT know that Brainchip had partnered with Renesas to drive intelligence into next generation devices what was announced on the ASX was that Renesas had purchased two nodes of AKIDA IP and more recently that Renesas had taped out its own chip which it would be bringing to market later in 2023. Even Chippy said in his magazine interview that they had purchased what they needed from Brainchip fullstop. No ongoing partnership was implied in any way shape or form.

I MOST CERTAINLY DID NOT KNOW THAT MERCEDES BENZ HAD PARTNERED WITH BRAINCHIP TO DRIVE INTELLIGENCE INTO NEXT GENERATION DEVICES because all I was told by Brainchip was they could not talk about Mercedes Benz other than to say they continued to work with Mercedes Benz and Mercedes Benz had said they were working with artificial intelligence experts Brainchip. Just because you are working with someone it does not mean it is a partnership nor does it signal anything about your future intentions. Brainchip has on its website that they are trusted by Mercedes Benz. I am trust my brother-in-law but I am not in partnership. This is a significant statement of intent.

Given this is a revised statement I think it is reasonable to conclude that both Teksun and Brainchip have agreed on this wording. Indeed Tony Dawe has said Brainchip has approved this new wording. As such I am just as excited if not more so by what it now publicly reveals. The significance in my opinion dictates the conclusion that Teksun had leverage and wanted something of equal or greater significance to replace Cisco, Toshiba and Lenaro with for the purpose of driving their customers interest in a Teksun Brainchip product offerings. In other words if you don't want us to use Cisco, Toshiba and Lenaro what can we use?

I hope that our German investor friends take comfort from the fact that this partnership between Mercedes Benz and Brainchip to drive intelligence into next generation devices has now been publicly confirmed.

My opinion only DYOR
FF

AKIDA BALLISTA

Really nice FF.

There is a saying I like, regardless of who has said it in the past and to whom it may be recently attributed to, .... " it takes a village ".

The phrase is applicable in very general terms that to succeed is often beyond just the individual abilities. Think of the rural underdeveloped village and the necessary communal support required for it to survive. Or the family member needing a helping hand in a period of distress or hardship. Churches are great examples of the village, as are many helping hand non profits.

But the 1,000 eyes that comprise this forum are that metaphorical village, too.

And in times of a shrinking stock price when many here (me included) get agitated and distressed fretting about it alone with their thoughts at 3 a.m., it is an immense relief to have input from some who have the ability to cull out the wheat from the chaff, and FF is a prominent example of that. He is a superb reader with a laser focus attention to details. Perhaps that is from being an attorney I'd surmise. I read the same updated post from Teksun and flew over the words without another glance, or thought such as,...."Whoa, wait...., that is different than what I previously knew, isn't it?"

Their are many others in the TSE village who do the same thing but in a different way, ....hence the powerful heterogenious nature of the 1,000 eyes and what makes it so daunting and relentless in the pursuit of, not just dot connections, but the truth. The TSE village, like any "village", has a wonderful and necessary diverse mix of life and work experience, ...from engineering to management, entrepreneuship to lifelong investor class, internationally located fan base, enthusiasm levels, and research acumen. From the passive non contributing reader to the enegizer bunny types who have insatiable drive and impressive detective skills like - stuart888 and of course, the irrepressible Bravo (meow meow). Many, many others I will neglect to mention but they are well known and valued.

With age comes a mellowing of sorts and a knack for not getting "ones undies in a bundle" when challenges confront you.

The culmination of lifelong experential learning result in what a common villager might refer to as the elder who responds to a challenge in a way most of the village is incapable of, calmly and wisely. I'm not calling Fact Finder an elder, per se (well, actually I guess I am), but he is really good when it comes to such nuggets as the example post I replied to.

I suppose in investing it is like a Warren Buffet who has been at the game a long time is buying when the rest of his investing breatheren village is selling. Or, vice versa. Reading the tea leaves has always had some cache for a reason, but being a discerning reader like FF (or Buffet) is priceless to success and to this forum and our investing success.

The TSE is a great forum (and village) when it chooses to be and I again applaud those here who make it so. Regards, dippY
 
  • Like
  • Love
  • Fire
Reactions: 75 users

Beebo

Regular
I have said it many times when this place is used for its proper purpose to share thoughts (not anxieties) and research this is as close to insider trading as you will get without breaking the law. Many thanks @stuart888 . You see Americans are nice people too.😂🤣😂

However lets look at what Teksun replaced Cisco, Toshiba and Lenaro with:


"BrainChip is a technology company making AI everywhere easier to deploy and scale. It’s neuromorphic processor called, Akida™, is pure digital and is an event-based technology that is inherently lower power when compared to conventional neural network accelerators. BrainChip IP supports incremental learning and high-speed inference in a wide variety of use cases, making it cost effective and simple to implement. Designed for sustainable AI, Akida™, performs complex functions at the device level, delivering a real-time, instant response.

BrainChip's solutions have applications in various industries, including automotive, smart homes, security and surveillance. The company has partnered with industry leaders such as Arm, Mercedes Benz, and Renesas driving intelligence into next generation device
s."

So,

I knew
Brainchip had partnered with ARM its on their website.

I DID NOT know that Brainchip had partnered with Renesas to drive intelligence into next generation devices what was announced on the ASX was that Renesas had purchased two nodes of AKIDA IP and more recently that Renesas had taped out its own chip which it would be bringing to market later in 2023. Even Chippy said in his magazine interview that they had purchased what they needed from Brainchip fullstop. No ongoing partnership was implied in any way shape or form.

I MOST CERTAINLY DID NOT KNOW THAT MERCEDES BENZ HAD PARTNERED WITH BRAINCHIP TO DRIVE INTELLIGENCE INTO NEXT GENERATION DEVICES because all I was told by Brainchip was they could not talk about Mercedes Benz other than to say they continued to work with Mercedes Benz and Mercedes Benz had said they were working with artificial intelligence experts Brainchip. Just because you are working with someone it does not mean it is a partnership nor does it signal anything about your future intentions. Brainchip has on its website that they are trusted by Mercedes Benz. I am trust my brother-in-law but I am not in partnership. This is a significant statement of intent.

Given this is a revised statement I think it is reasonable to conclude that both Teksun and Brainchip have agreed on this wording. Indeed Tony Dawe has said Brainchip has approved this new wording. As such I am just as excited if not more so by what it now publicly reveals. The significance in my opinion dictates the conclusion that Teksun had leverage and wanted something of equal or greater significance to replace Cisco, Toshiba and Lenaro with for the purpose of driving their customers interest in a Teksun Brainchip product offerings. In other words if you don't want us to use Cisco, Toshiba and Lenaro what can we use?

I hope that our German investor friends take comfort from the fact that this partnership between Mercedes Benz and Brainchip to drive intelligence into next generation devices has now been publicly confirmed.

My opinion only DYOR
FF

AKIDA
Ok, so if QCOM is not the “communications” company, could CISCO be it? Could we be involved in Industrial IoT with CISCO (?)

Well, CISCO is another household name I approve of 😀 👍
 
  • Like
Reactions: 11 users

Makeme 2020

Regular
 
  • Like
  • Fire
Reactions: 29 users

Makeme 2020

Regular
 
  • Like
  • Fire
  • Wow
Reactions: 22 users
D

Deleted member 118

Guest
A complete stranger at embedded world day 2

 
  • Fire
  • Like
Reactions: 3 users

rgupta

Regular
Latest tweet from edge impulse.

It is an Nvidia embedded product which can survive 2 years on 19ah battery.
If brainchip is not involved here that means ???
 
  • Like
Reactions: 6 users

rgupta

Regular
Looks like train on the edge. Camera, noise, vibration samples etc.
Another part of the puzzle megachips sell two of our licences any guesses who can be those two.
I assume more likely than not edge impulse is one of them.
Dyor
 
  • Like
Reactions: 2 users
PvdM news

1678910415206.png


 
  • Like
  • Love
  • Fire
Reactions: 117 users
Latest tweet from edge impulse.

It is an Nvidia embedded product which can survive 2 years on 19ah battery.
If brainchip is not involved here that means ???

What other products that are out there, besides Akida, can do this? Can Akida even do this?
 
  • Like
Reactions: 2 users
Something brewing in Asia for BrainChip?!

Amazing post by Jeff Herbst's business partner at GFT Ventures - check out who he has tagged (below) 🤯
Not sure what is going on here, but I like it

1678910927578.png



1678911029707.png


1678910992489.png


1678911062961.png


1678911095193.png


1678911127173.png


1678911161390.png


1678911257088.png


1678911286254.png


1678911321552.png
 
  • Like
  • Fire
  • Wow
Reactions: 48 users

TheFunkMachine

seeds have the potential to become trees.
Latest tweet from edge impulse.

It is an Nvidia embedded product which can survive 2 years on 19ah battery.
If brainchip is not involved here that means ???

19 AH battery is a fairly large unit, wouldn’t be a small IOT device that’s for sure
 
  • Like
  • Fire
Reactions: 11 users

Deadpool

Regular
The NPU of the


The NPU of the STM32N6 is internally developed by STM.


Remi El-Ouazzane 10mo

Earlier today during STMicroelectronics Capital Markets Day (https://cmd.st.com), I gave a presentation on MDG contribution to our ambition of reaching $20B revenue ambition by 2025-27.

During the event, I was proud to pre-announce the #STM32N6: a high performance #STM32 #MCU with our new internally developed Neural Processing Unit (#NPU) providing an order of magnitude benefit in both inference/w and inference/$ against alternative MPU solutions

The #STM32N6 will deliver #MPU #AI workloads at the cost and the power consumption of #MCU. This a complete game changer that will open new ranges of applications for our customers and allow them to democratise #AI at the edge.

I am excited to say we are on track to deliver first samples of the #STM32N6by the end of 2022. I

I am even more excited to announce that LACROIX will leverage this technology in their next generation smart city products.

Stay tuned for more news on the #STM32N6 in the coming months
:=)

########################################################

Bells and whistles:

This is how STM does in-memory compute (not a pretty sight):

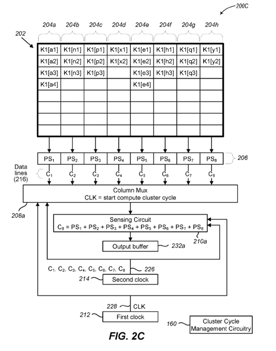
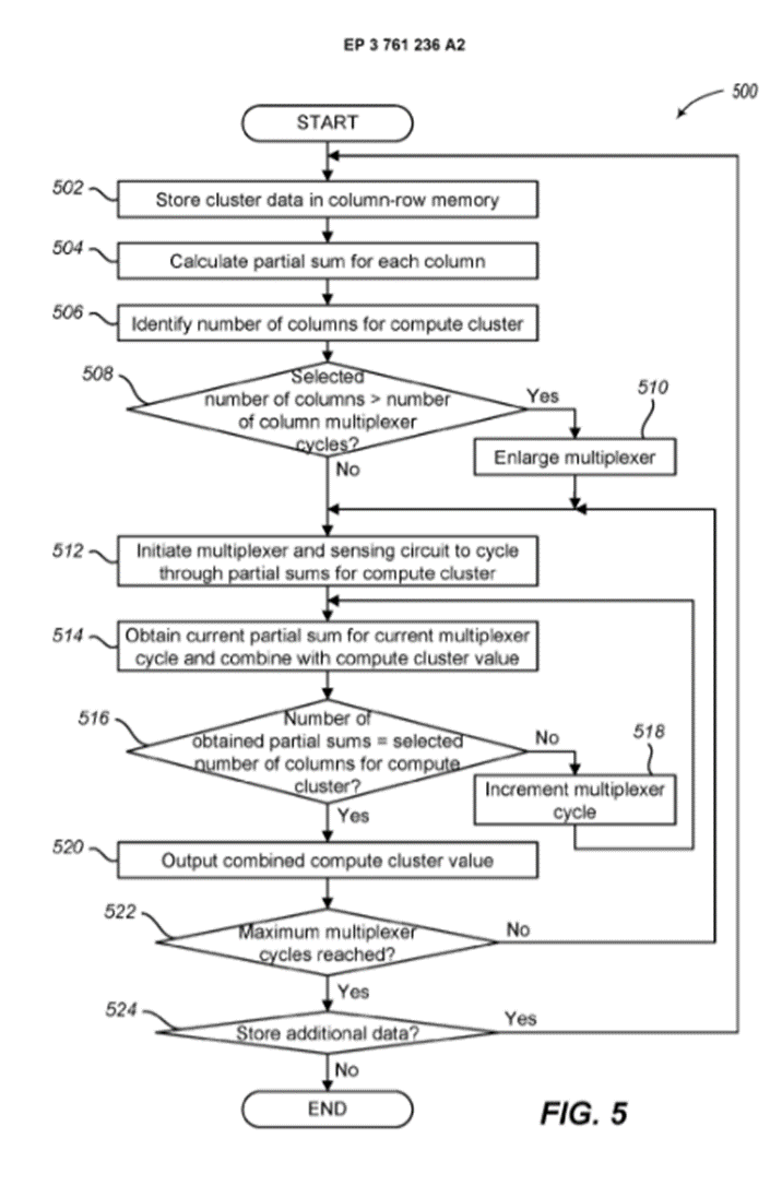
EP3761236A2 ELEMENTS FOR IN-MEMORY COMPUTE

View attachment 32263




View attachment 32266

A memory array arranged in multiple columns and rows. Computation circuits that each calculate a computation value from cell values in a corresponding column. A column multiplexer cycles through multiple data lines that each corresponds to a computation circuit. Cluster cycle management circuitry determines a number of multiplexer cycles based on a number of columns storing data of a compute cluster. A sensing circuit obtains the computation values from the computation circuits via the column multiplexer as the column multiplexer cycles through the data lines. The sensing circuit combines the obtained computation values over the determined number of multiplexer cycles. A first clock may initiate the multiplexer to cycle through its data lines for the determined number of multiplexer cycles, and a second clock may initiate each individual cycle. The multiplexer or additional circuitry may be utilized to modify the order in which data is written to the columns.

So add that to Weebit's hybrid analog/digital ReRAM ...

We you did ask!
Hey mate, are you saying that on its own it's a bit Frankensteinish but with ReRam added its more like Bride of Frankenstein?
A very awkward and complicated dynamic going on?





Black And White Film GIF
 
  • Like
  • Haha
Reactions: 4 users

GStocks123

Regular
Something brewing in Asia for BrainChip?!

Amazing post by Jeff Herbst's business partner at GFT Ventures - check out who he has tagged (below) 🤯
Not sure what is going on here, but I like it

View attachment 32274


View attachment 32277

View attachment 32276

View attachment 32278

View attachment 32279

View attachment 32280

View attachment 32281

View attachment 32282

View attachment 32283

View attachment 32284
TBH I find this post kind of concerning. What’re everyone’s thoughts?
 
Top Bottom