BRN Discussion Ongoing

I like this quote "Sony is working on a new sensor using semiconductor technologies, letting more light in and reducing the possibility of under or overexposure"

Apple confirms it uses Sony camera sensors for its iPhones​

13 December 2022
gsmarena_000.jpg

Everyone in the smartphone industry knows that Apple keeps a tight lid on its suppliers and a lot the more technical specs of its products, so Tim Cook's visit to Sony's facility for CMOS sensors is kind of a big deal.

Analysts and fans have been suspecting this for a while now and Tim Cook finally admitted that Apple has been working with Sony for over a decade. Apple's CEO posted a photo of Sony's CEO Kenichiro Yoshida showing him around a Sony facility.

gsmarena_001.jpg

The Cupertino-based company isn't very vocal about its battery, chip and display suppliers either, but supply chain analysts have revealed g that Corning is making Apple's front and back glass sheets while Samsung and LG are supplying the majority of OLED panels. Chips, of course, come from TSMC's fabs.

However, the Sony-Apple deal for camera hardware was still largely unconfirmed and by the looks of it, it won't end anytime soon. According to some reports, Sony is working on a new sensor using semiconductor technologies, letting more light in and reducing the possibility of under or overexposure. Of course, that sensor will end up in future generation iPhones.

Learning.
Just on Apple.

Post from early Nov re the Sony connection and the linked article is an interesting read.

One excerpt below lends weight to some of the posts about how Apple deal with partners and how it would be difficult I guess for us to dig for confirmations.

But we will get there...so says the 1000 eyes :LOL:


"Apple has hundreds of major suppliers around the world, and in order to maintain stability, every year, a group of partners is purposefully eliminated, even if these manufacturers have made no mistakes. In the cooperation with Apple, the two sides are not a “win-win” equal relationship, but closer to a master-servant relationship model. Apple has the absolute right to speak, and even top partners Samsung and Foxconn cannot bargain with Apple."



Appears Apples camera CMOS sensor is supplied by Sony.

Now....if we can succeed with Prophesee onto Sony sensors then....who knows hey.

iPhone 14 Pro Max Bom cost exposure: the proportion of parts in the United States has increased significantly, and China has declined – yqqlm
October 8, 2022

Recently, Nikkei Shimbun cooperated with Tokyo research firm Fomalhaut Techno Solutions to dismantle the three models of the iPhone 14 series launched by Apple in September. Models on sale rose by about 20%, setting a new record. In terms of countries/regions, the proportion of US-made parts has made a major leap forward, surpassing the Korean factory, and the proportion of mainland China and Taiwan has shrunk.

The performance of the camera components has also improved, with the main camera CMOS sensor made by Sony Group, the largest of the three rear cameras, 30% larger in size and about 50% more expensive to $15.

Sony’s sensor has a unique layered structure that ensures the area of each pixel through a smaller sensor size, ensures brightness and suppresses noise, you can take high-quality photos.

 
  • Like
  • Fire
  • Love
Reactions: 30 users

JK200SX

Regular
In the attached article below, these 2 sentences are quite interesting:

"Apple is not getting an exclusive on this technology so we could see it used on some Android handsets as well. However, what isn't clear is whether Apple is getting the first crack at these new sensors."

I would interpret the first sentence to mean that the sensors don't have Apple IP or Apple developed neural engine/processor - this then puts more weight on our Prophesee/Sony dot joining that AKIDA is present.
The second sentence could imply that other phone manufacturers may already be planning/starting to use these sensors too.

 
  • Like
  • Fire
  • Love
Reactions: 35 users

Mccabe84

Regular
Lots of small trades going on, bots ? Is someone still keeping the price down, I wonder for what reason
 
  • Like
  • Thinking
Reactions: 4 users

Diogenese

Top 20
Just on Apple.

Post from early Nov re the Sony connection and the linked article is an interesting read.

One excerpt below lends weight to some of the posts about how Apple deal with partners and how it would be difficult I guess for us to dig for confirmations.

But we will get there...so says the 1000 eyes :LOL:


"Apple has hundreds of major suppliers around the world, and in order to maintain stability, every year, a group of partners is purposefully eliminated, even if these manufacturers have made no mistakes. In the cooperation with Apple, the two sides are not a “win-win” equal relationship, but closer to a master-servant relationship model. Apple has the absolute right to speak, and even top partners Samsung and Foxconn cannot bargain with Apple."



Appears Apples camera CMOS sensor is supplied by Sony.

Now....if we can succeed with Prophesee onto Sony sensors then....who knows hey.

iPhone 14 Pro Max Bom cost exposure: the proportion of parts in the United States has increased significantly, and China has declined – yqqlm
October 8, 2022

Recently, Nikkei Shimbun cooperated with Tokyo research firm Fomalhaut Techno Solutions to dismantle the three models of the iPhone 14 series launched by Apple in September. Models on sale rose by about 20%, setting a new record. In terms of countries/regions, the proportion of US-made parts has made a major leap forward, surpassing the Korean factory, and the proportion of mainland China and Taiwan has shrunk.

The performance of the camera components has also improved, with the main camera CMOS sensor made by Sony Group, the largest of the three rear cameras, 30% larger in size and about 50% more expensive to $15.

Sony’s sensor has a unique layered structure that ensures the area of each pixel through a smaller sensor size, ensures brightness and suppresses noise, you can take high-quality photos.

Great sleuthing Fmf,

Each pixel has a light receptor (photodetector) and a couple of transistors (ADC). In the old layout, the transistors were in the same plane as the CMOS photodetector, so took up a lot of space so some of the incoming light was wasted. As the article mentions, Sony's layered arrangement means the top layer now only has photodetectors, and the transistors are now located on the layer under the photodiodes, meaning almost all the incident light now impinges on the photodetectors.

I posted this Sony patent application a few weeks ago:

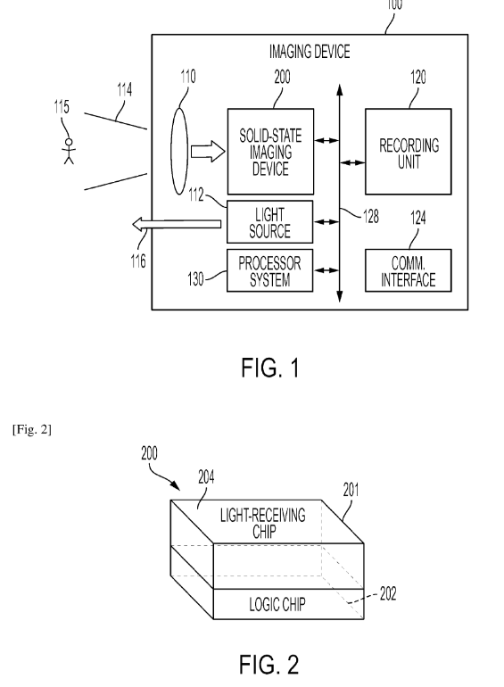
WO2021117642A1 EBS/TOF/RGB CAMERA FOR SMART SURVEILLANCE AND INTRUDER DETECTION

1670987731566.png




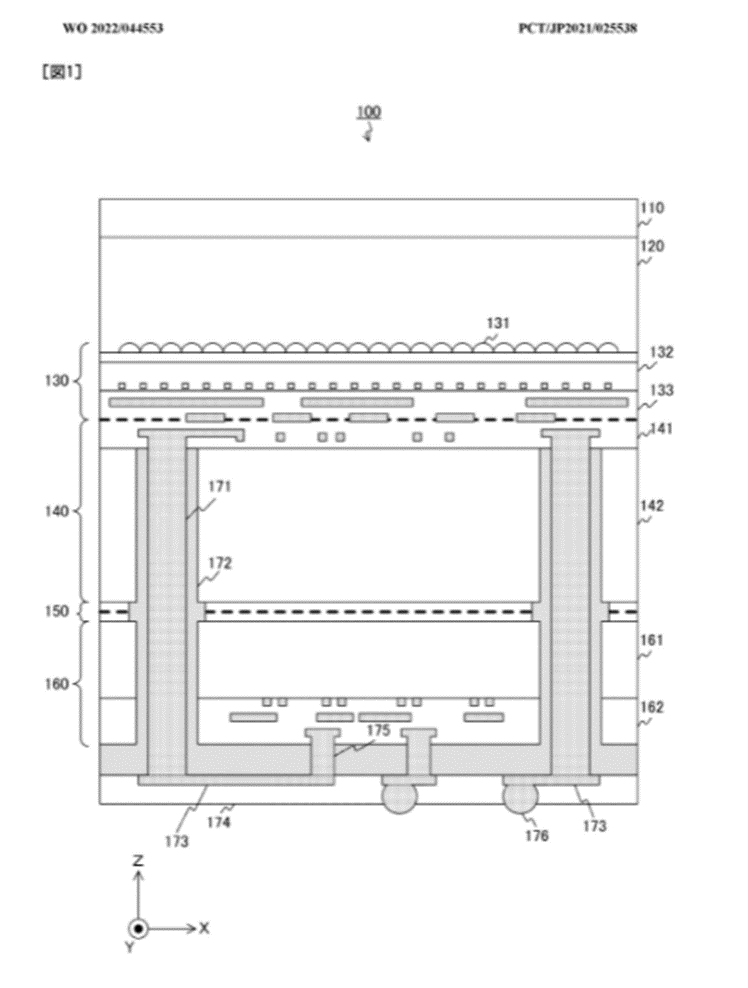
This one gives detail of the 3D stacking:

WO2022044553A1 SEMICONDUCTOR DEVICE AND METHOD FOR MANUFACTURING SEMICONDUCTOR DEVICE


1670986946613.png



Provided is a semiconductor device in which a plurality of semiconductor chips 160, 140, 130) are stacked, the semiconductor device having enhanced functionality while reducing manufacturing cost. The semiconductor chips include a light-receiving chip (130), a redistribution wiring-side semiconductor chip (160), an intermediate semiconductor chip (140), a through-electrode (171), and redistribution wiring (141).

The light-receiving chip receives incoming light. A wiring layer is formed on a predetermined wiring surface of the redistribution wiring-side semiconductor chip. One of a pair of joint surfaces of the intermediate semiconductor chip is joined to the light-receiving chip, and the other is joined to the redistribution wiring-side semiconductor chip. The through-electrode extends through a semiconductor substrate of the intermediate semiconductor chip. The redistribution wiring is wired on a wiring surface and connects the through-electrode and the wiring layer
.
 
  • Like
  • Love
  • Fire
Reactions: 22 users

toasty

Regular
I was pondering our CEO's remarks that, at the 2023 AGM he is happy to be judged on results rather than activity. This led me to an interesting thought......

The AGM is the shareholders meeting where the results from the previous year are presented, along with any new news that's able to be published. At the 2023 AGM that would be the finances for the year ending December 2022. If Sean is as confident as he sounds about the 2023 AGM then, ergo, he must be confident that the 2022 financial result will show dramatic improvement over the previous year. Which means that a ton of commercial stuff must be happening while I write this..................

Shorts and WANCA's beware!!!

My opinion only but based on some known facts and some sound logic (I think).
 
  • Like
  • Fire
  • Love
Reactions: 37 users

Shoota02

Member
Lots of small trades going on, bots ? Is someone still keeping the price down, I wonder for what reason
Sean stated “The share price will do what the share price does” He also stated watch the financials, I read comments weekly regarding this I’ve got a lot of skin in this, I believe in the tech and I just continue to read and research and most importantly continue to work, I’ll wait on the financials 4 times a yr!! I believe we’ve found the 1….
 
  • Like
  • Love
  • Fire
Reactions: 22 users

VictorG

Member
I was pondering our CEO's remarks that, at the 2023 AGM he is happy to be judged on results rather than activity. This led me to an interesting thought......

The AGM is the shareholders meeting where the results from the previous year are presented, along with any new news that's able to be published. At the 2023 AGM that would be the finances for the year ending December 2022. If Sean is as confident as he sounds about the 2023 AGM then, ergo, he must be confident that the 2022 financial result will show dramatic improvement over the previous year. Which means that a ton of commercial stuff must be happening while I write this..................

Shorts and WANCA's beware!!!

My opinion only but based on some known facts and some sound logic (I think).
I think you think spot on.
Also if there were any cash receipts that didn't make it into the 3rd qtr 4c might make their way into the 4th qtr 4c.
 
  • Like
Reactions: 16 users

Damo4

Regular
Lots of small trades going on, bots ? Is someone still keeping the price down, I wonder for what reason
It could be an effort to close short positions at the lowest price possible.
Takes a lot of effort to close without moving the market
 
  • Like
  • Thinking
Reactions: 8 users

Diogenese

Top 20
I was pondering our CEO's remarks that, at the 2023 AGM he is happy to be judged on results rather than activity. This led me to an interesting thought......

The AGM is the shareholders meeting where the results from the previous year are presented, along with any new news that's able to be published. At the 2023 AGM that would be the finances for the year ending December 2022. If Sean is as confident as he sounds about the 2023 AGM then, ergo, he must be confident that the 2022 financial result will show dramatic improvement over the previous year. Which means that a ton of commercial stuff must be happening while I write this..................

Shorts and WANCA's beware!!!

My opinion only but based on some known facts and some sound logic (I think).
But just a note of caution - in the last 4C Sean did warn of headwinds - chip shortage, recession, trade wars, shooting war - that said, he did say they would be focusing on closing deals despite reduced customer budgets.

I remember the first GSM bandwidth auctions - Telstra spent every penny on airwaves and stopped buying hardware from local manufacturers for a long time. So reduced customer budgets are not to be taken lightly.
 
Last edited:
  • Like
  • Fire
  • Love
Reactions: 27 users
Great sleuthing Fmf,

Each pixel has a light receptor (photodetector) and a couple of transistors (ADC). In the old layout, the transistors were in the same plane as the CMOS photodetector, so took up a lot of space so some of the incoming light was wasted. As the article mentions, Sony's layered arrangement means the top layer now only has photodetectors, and the transistors are now located on the layer under the photodiodes, meaning almost all the incident light now impinges on the photodetectors.

I posted this Sony patent application a few weeks ago:

WO2021117642A1 EBS/TOF/RGB CAMERA FOR SMART SURVEILLANCE AND INTRUDER DETECTION

View attachment 24330



This one gives detail of the 3D stacking:

WO2022044553A1 SEMICONDUCTOR DEVICE AND METHOD FOR MANUFACTURING SEMICONDUCTOR DEVICE


View attachment 24329


Provided is a semiconductor device in which a plurality of semiconductor chips 160, 140, 130) are stacked, the semiconductor device having enhanced functionality while reducing manufacturing cost. The semiconductor chips include a light-receiving chip (130), a redistribution wiring-side semiconductor chip (160), an intermediate semiconductor chip (140), a through-electrode (171), and redistribution wiring (141).

The light-receiving chip receives incoming light. A wiring layer is formed on a predetermined wiring surface of the redistribution wiring-side semiconductor chip. One of a pair of joint surfaces of the intermediate semiconductor chip is joined to the light-receiving chip, and the other is joined to the redistribution wiring-side semiconductor chip. The through-electrode extends through a semiconductor substrate of the intermediate semiconductor chip. The redistribution wiring is wired on a wiring surface and connects the through-electrode and the wiring layer
.
That seems a very shallow way to look at things.😂🤣😂🤡😂🤣
 
  • Haha
  • Thinking
Reactions: 5 users

TopCat

Regular
In the attached article below, these 2 sentences are quite interesting:

"Apple is not getting an exclusive on this technology so we could see it used on some Android handsets as well. However, what isn't clear is whether Apple is getting the first crack at these new sensors."

I would interpret the first sentence to mean that the sensors don't have Apple IP or Apple developed neural engine/processor - this then puts more weight on our Prophesee/Sony dot joining that AKIDA is present.
The second sentence could imply that other phone manufacturers may already be planning/starting to use these sensors too.

Seems a long way for the CEO to travel to just look at a phone camera…..unless it’s something so unbelievable he had to see it himself!
 
  • Like
  • Love
  • Fire
Reactions: 27 users

Jefwilto

Regular
  • Like
  • Fire
  • Love
Reactions: 24 users

VictorG

Member
Ha Ha.PNG
 
  • Haha
  • Like
  • Love
Reactions: 20 users
In the attached article below, these 2 sentences are quite interesting:

"Apple is not getting an exclusive on this technology so we could see it used on some Android handsets as well. However, what isn't clear is whether Apple is getting the first crack at these new sensors."

I would interpret the first sentence to mean that the sensors don't have Apple IP or Apple developed neural engine/processor - this then puts more weight on our Prophesee/Sony dot joining that AKIDA is present.
The second sentence could imply that other phone manufacturers may already be planning/starting to use these sensors too.

"Apple is not getting an exclusive on this technology so we could see it used on some Android handsets as well. However, what isn't clear is whether Apple is getting the first crack at these new sensors."

I love that statement.
While most probably also Sony's ethos, it's most definitely ours.

There is no exclusivity, in any of our agreements (to my knowledge and has been stated as such, by management, in my recollection, in the past).

I'm sure Apple would want exclusivity, on anything that would give them a competitive edge, which is why they like to keep things "in house", as much as possible.

Obviously, that can't be done here.

Brainchip's future, not because of the above, which is only speculative, but because of everything else we know, seems assured.

What's not assured, is the share price.

I've been keeping an eye on another company, for over 20 years, that's had their ups and downs, but have been profitable for many years and have just had one of their best years.

Citicorp, recently became a major share holder and the company share price, has been smashed, by a major shorting campaign.
Average shorting volumes, had been only around 100k, these rose to 1.5 million a day, over 3 days, with one day of 3 million (these figures are from memory, as this happened a couple of weeks ago, but are near enough to correct).

This is on a company, that is profitable!

The games here, with managing the share price, will continue, for as long as they can.

I know I've gone on about "short squeezes" in the past and this is still possible.
But I think it will take more than Good News and increasing Income.

The thing that BrainChip will have, that the other "playthings" in Citicorp's grasp don't have, is a true Global appeal and demand.

Yes Citicorp, is a Global banking group, but I don't think they will be able to control and manipulate, what will be strong Global demand for our stock.

Nothing short of that, will appreciate our share price, to where we know it should be.

We need institutions, like Ark Invest and others, around the World, on board.
Followed, by every man and his dog, who wants to be in on the next Big Thing! 😛

Until that time, BRN's share price represents buying opportunities and trading, if you're game, but don't prostitute your future, for a few easy dollars now..

My opinions only.
Not financial advice, a taxi driver, would be more qualified to give it..
 
Last edited:
  • Like
  • Fire
  • Love
Reactions: 42 users

buena suerte :-)

BOB Bank of Brainchip
1670993672736.png
 
  • Like
  • Fire
  • Love
Reactions: 30 users

wilzy123

Founding Member
Look at this shit.......

1670993817060.png
 
  • Sad
  • Like
  • Thinking
Reactions: 23 users

Rskiff

Regular

Attachments

  • trump.jpeg
    trump.jpeg
    19 KB · Views: 102
  • Haha
  • Like
Reactions: 11 users

buena suerte :-)

BOB Bank of Brainchip
Sean stated “The share price will do what the share price does” He also stated watch the financials, I read comments weekly regarding this I’ve got a lot of skin in this, I believe in the tech and I just continue to read and research and most importantly continue to work, I’ll wait on the financials 4 times a yr!! I believe we’ve found the 1….
Yep "Watch the financials" (Sean Hehir) and "The share price will do what the share price does" (Antonio Viana), and all in all I think we are in for a very exciting 2023 .... GO BRN
 
Last edited:
  • Like
  • Fire
  • Love
Reactions: 27 users

jk6199

Regular
I agree with the astute gentleman who stated,

"they're a bunch of corrupt pricks, those ASX"

or something as refined!
 
  • Like
  • Haha
  • Love
Reactions: 18 users
Top Bottom