BRN Discussion Ongoing

Tothemoon24

Top 20
B8922FA1-5F96-45E3-85D6-0C1895AE1883.png
After a day like today , me & my mates are off to the pub for a couple of frostie’s & a Parma


Keep smiling chippers
 
  • Haha
  • Like
  • Wow
Reactions: 22 users

Nobody

Regular
Screen Shot 2022-06-14 at 2.30.59 pm.png
 
  • Like
  • Fire
  • Love
Reactions: 51 users

Diogenese

Top 20
Bugger. I have been waiting for that share to come up to complete the set. I got distracted and missed it. I will pay 85 cents if the person who bought it wants to sell. I really need it for my collection. Damn.

:(:mad:😂🤣😂

You just have to laugh the original idea of allowing bots to buy and sell one share was to test the market. What market is it testing at 4:10:04pm???
These guys must be related to my brick code speaking former armed robbery clients. Have brains the size of peas and utter contempt for the non existent regulator and the community.

My opinion only DYOR
FF

AKIDA BALLISTA
Same people?
 
  • Like
Reactions: 2 users

robsmark

Regular
Jesus, all considered - that wasn’t too bad…
 
  • Like
  • Fire
Reactions: 24 users

Esq.111

Fascinatingly Intuitive.
Good Afternoon Chippers ,

As of 4.07pm CST AUS.

Dow Futures. June22 +330 pts. +1.08%

Nasdaq Futures. June 22 . +194 pts. +1.72%


BRN in Germany on Tradegate +1.26% on 16300units.

Shaping up for a interesting evening abroad.

Regards,
Esq.
 
  • Like
  • Fire
Reactions: 34 users

buena suerte :-)

BOB Bank of Brainchip
Hey all!

I've been working on a small project - hopefully something useful for you all and for future investors of BRN. It's a small website that has a BRN timeline of important past and future events, and a few links etc. I made it so that we can have a quick reference of important BRN information and an easy way to introduce people to BRN.

https://akida.io/

Hopefully it's going to be useful. I have done my best to include as much as I can initially and will keep adding as new things come up.

A big thank you to TSE's "Founding Members" for their ideas and support and also to @Esq.111 for providing a list of upcoming events and @Fact Finder for allowing me to share his "The Brainchip Story".

I have made it on behalf of and for all of us shareholders and BRN supporters, so if there's anything you would like added or changed feel free to let me know!

Also a big Thank You to all of the 1000 eyes, your work is amazing and I love reading it all every day!

AKIDA BALLISTA

GR.
WOW .... that is outstanding GR ... a 'few' hours went into that!! Thanks for compiling and sharing 👏👏👏🙏
 
  • Like
  • Love
  • Fire
Reactions: 31 users
  • Like
  • Fire
  • Haha
Reactions: 9 users

Diogenese

Top 20

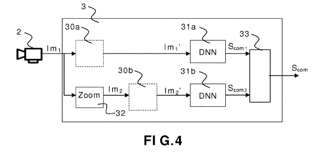
As we discussed not so long ago, Valeo were keen to point out that it is their in-house IP.

That may be so for the zoom feature, but they do not claim the DNN feature on its own.
What technology do Valeo use for their DNNs?

Does this application require 2 full NNs?


US2021166090A1 DRIVING ASSISTANCE FOR THE LONGITUDINAL AND/OR LATERAL CONTROL OF A MOTOR VEHICLE

1655188819327.png


The invention relates to a driving assistance system (3) for the longitudinal and/or lateral control of a motor vehicle, comprising an image processing device (31a) trained beforehand using a learning algorithm and configured so as to generate, at output, a control instruction (Scom1) for the motor vehicle from an image (Im1) provided at input and captured by an on-board digital camera (2); a digital image processing module (32) configured so as to provide at least one additional image (Im2) at input of an additional device (31b), identical to the device (31a), for parallel processing of the image (Im1) captured by the camera (2) and said at least one additional image (Im2), such that said additional device (31b) generates at least one additional control instruction (Scom2) for the motor vehicle, said additional image (Im2) resulting from at least one geometric and/or radiometric transformation performed on said captured image (Im1), and a digital fusion module (33) configured so as to generate a resultant control instruction (Scom) on the basis of said control instruction (Scom1) and of said at least one additional control instruction (Scom2).
 
  • Like
  • Fire
  • Thinking
Reactions: 18 users

Aretemis

Regular
Well, he certainly isn't a method actor because he has absolutely no idea what he's doing with that greased-up ultrasound-wand-gizmo.
He might need the machine that goes ping
 
  • Haha
  • Like
  • Love
Reactions: 8 users
yeah, but ...

they may be flying under the LiDaR.

Their tie up with continental (20210426) postdates their 10 million ADAS by a couple of months. I took it to mean a cumulative 10 million, not 10 million p.a. They have been around since 2004, and tied up with Bosch since 2012:
https://www.videantis.com/company#milestone:

PS: trying to capture the screenshots of this scrolling timeline makes cat-herding a breeze.
View attachment 9261

View attachment 9264

View attachment 9262

View attachment 9266


View attachment 9263


View attachment 9267

View attachment 9268
I think they are stretching the truth that their chip has been used 10 million times for true ADAS. I think they have taken the number of their chips that have been used in motor vehicles since their inception and extrapolated that as ADAS when it may have been for minor early driving assistant platforms say reversing camera obstacle warning etc;

My opinion only DYOR
FF

AKIDA BALLISTA
 
  • Fire
  • Like
Reactions: 6 users

GazDix

Regular
Our share price held up really well comparatively to other companies today after the bloodbath and after the US officially declaring they are in a 'bear market' seeing they are 20% down from all time highs.

Today did remind me of March 23rd 2020 when Brainchip was 3 cents and was begging to be bought by those savvy enough at such a discount.
Although there will be plenty more buying opportunities ahead seeing tomorrow night (Wednesday night / Thursday morning) the FED needs to make a decision on rates that puts them between a rock and a hard place. If they do increase the % more than .5 (say .75) then the market may think it will cause a recession. But if they keep them at a .5% raise, then they are ignoring inflation and will still let it go rife. Either way, the bears will win no matter what they do so I expect another few buying opportunities before the markets will run again.

Also these big sell downs present opportunities as well for tech stocks. Seeing institutions are selling and holding cash now they will look into the next big opportunities particularly in the tech sector. We may be seeing a large transference of assets coming soon which happens after every market crash. I am sure a lot will come our way.
 
  • Like
  • Fire
  • Love
Reactions: 23 users

Worker122

Regular
Hey all!

I've been working on a small project - hopefully something useful for you all and for future investors of BRN. It's a small website that has a BRN timeline of important past and future events, and a few links etc. I made it so that we can have a quick reference of important BRN information and an easy way to introduce people to BRN.

https://akida.io/

Hopefully it's going to be useful. I have done my best to include as much as I can initially and will keep adding as new things come up.

A big thank you to TSE's "Founding Members" for their ideas and support and also to @Esq.111 for providing a list of upcoming events and @Fact Finder for allowing me to share his "The Brainchip Story".

I have made it on behalf of and for all of us shareholders and BRN supporters, so if there's anything you would like added or changed feel free to let me know!

Also a big Thank You to all of the 1000 eyes, your work is amazing and I love reading it all every day!

AKIDA BALLISTA

GR.
That is an excellent post GR . Thanks for all the effort you put in!
 
  • Like
  • Fire
  • Love
Reactions: 17 users
Not sure if we're involved in this in some way (through Valeo), or if we should be worried about it in terms of competition?






TEMPO AI Chip Tapes Out with videantis Processor Platform​



News, Processors, videantis / June 9, 2022


TEMPO_Logo-e1607520447178-768x622-1.jpg



Hannover, Germany, June 09, 2022 – videantis GmbH, a leading supplier of deep learning, computer vision, image processing, and video coding solutions, today announced the tape-out of a low-power AI chip based on its v-MP6000UDX unified processing platform. The chip development is part of the European TEMPO project and targets several autonomous driving use cases. TEMPO (Technology and hardware for neuromorphic computing) is an ECSEL JU project supported by the EU Horizon 2020 programme and by the German Federal Ministry of Education and Research (BMBF).
The tape-out of the AI chip has been achieved together with the Fraunhofer Institute for Integrated Circuits IIS. It constitutes an important milestone of the collaborative research project TEMPO on its way to strengthening the European semiconductor supply chain. Together with automotive application partners like Valeo and InnoSenT, the AI chip will be used within the TEMPO project to accelerate deep learning inference for automotive use cases at a small silicon footprint and low power consumption which previously required high-end compute devices.
The heart of the AI chip is videantis’ v-MP6000UDX unified processing platform, which will be used to run various neural networks to process radar, lidar or camera data for object detection, classification, and localization. It is a highly scalable multi-core architecture combined with a tailored bus fabric and multi-banked shared on-chip SRAM which delivers exceptional efficiency and performance for a variety of algorithm types, like deep learning, computer vision, image processing and video coding. The project also makes extensive use of videantis’ comprehensive v‑CNNDesigner front-to-end tool flow, offering automatic mapping and optimization of neural networks onto the target architecture without requiring deep programming expertise.

About TEMPO​

TEMPO (Technology and hardware for neuromorphic computing) is a European innovation project. This project has received funding from the ECSEL Joint Undertaking (JU) under grant agreement No 826655. The JU receives support from the European Union’s Horizon 2020 research and innovation programme, and from Belgium, France, Germany, Netherlands, Switzerland. TEMPO was kicked off on the 1st of April 2019 and has a duration of three and a half years. The consortium of this ambitious project consists of no less than nineteen members. Imec takes the lead as the sole Belgian consortium partner. The other consortium members are, for France: CEA-LETI, ST-Microelectronics Crolles, ST-Microelectronics Grenoble, Thales Alenia Space and Valeo. For Germany: Bosch, Fraunhofer EMFT, Fraunhofer IIS, Fraunhofer IPMS, Infineon, Innosent, TU Dresden and videantis. For the Netherlands: imec the Netherlands, Philips Electronics and Philips Medical Systems. For Switzerland: aiCTX and the University of Zürich.
For more information, please visit https://tempo-ecsel.eu/.

About videantis​

Headquartered in Hannover, Germany, videantis GmbH is a leading supplier of deep learning and computer vision solutions based on its unified processing platform. With its processor IP, hardware/software-based solutions for deep learning, computer vision, image processing and video coding, as well as its development tools, videantis globally supports semiconductor manufacturers, automotive OEMs and tier 1 suppliers together with customers in other high-volume embedded markets. videantis has been recognized with the Red Herring Award and multiple Deloitte Technology Fast 50 Awards as one of the fastest growing technology companies in Ger
I haven't looked at Tempo project for a couple of years so have started revisiting it. Time for dot joining again. I'm putting this up early without too much follow up in case someone wants to join in. I'm going to throw up Infineon as a company to watch. The following link is to their site and on this page you should open their 2nd qtr presentation as there is a lot to interest me here. (Don't know how to post a pdf by phone, if someone can add it here). Concentrate on the cars that have a red cover over them especially the german one, there is also a picture of a screen in car that reminds me of the mbux. Note that Valeo is a customer as is a few other well known names. It also says how many MCU's will be in a car, 35 in total next to a car with a red cover. They mention neural networks further down and found it very interesting. I will leave it to others here to pull this apart but will continue reseaching this.

https://www.infineon.com/cms/en/search.html#!term=Neural network&view=all

SC
 
  • Like
  • Fire
  • Wow
Reactions: 16 users
Here’s a good example of journalistic bullshit from Simply Wall Street.

On face value this looks atrocious, but the 1000 eyes know the truth. And in knowing the truth, we know PVD isn’t selling out but is rather proving how beautiful a human being he truly is.

Isn’t it so refreshing to NOT be misguided by this type of eye-catching headline and lead-in!!! I expect the FOOLS will soon publish a similar story too.

So many others will see this and run for the hills.

Their loss is our gain.

View attachment 9252
That's a disgustingly misleading statement.

Goes to show, how desperate those low life scum bags are..
 
  • Like
  • Sad
  • Fire
Reactions: 14 users

LordByron

Member
Imagine the safety and luxury features the brain chip edition of Maybach will have!

Im thinking a designated camera will scan the chosen bottle of champagne, then proceed to give a detailed flow of information referencing key attributes all while the lucky one or two pop the top and sip diligently as they're chauffeured around.

'Ha ha ha, ah yes the unmistakable taste of 59' Dom.'

All while your vitals are being monitored and the probability of external threats are being calculated.

'Another bottle dear?'
 
  • Like
  • Love
  • Haha
Reactions: 14 users
As we discussed not so long ago, Valeo were keen to point out that it is their in-house IP.

That may be so for the zoom feature, but they do not claim the DNN feature on its own.
What technology do Valeo use for their DNNs?

Does this application require 2 full NNs?


US2021166090A1 DRIVING ASSISTANCE FOR THE LONGITUDINAL AND/OR LATERAL CONTROL OF A MOTOR VEHICLE

View attachment 9270

The invention relates to a driving assistance system (3) for the longitudinal and/or lateral control of a motor vehicle, comprising an image processing device (31a) trained beforehand using a learning algorithm and configured so as to generate, at output, a control instruction (Scom1) for the motor vehicle from an image (Im1) provided at input and captured by an on-board digital camera (2); a digital image processing module (32) configured so as to provide at least one additional image (Im2) at input of an additional device (31b), identical to the device (31a), for parallel processing of the image (Im1) captured by the camera (2) and said at least one additional image (Im2), such that said additional device (31b) generates at least one additional control instruction (Scom2) for the motor vehicle, said additional image (Im2) resulting from at least one geometric and/or radiometric transformation performed on said captured image (Im1), and a digital fusion module (33) configured so as to generate a resultant control instruction (Scom) on the basis of said control instruction (Scom1) and of said at least one additional control instruction (Scom2).
I suppose that if we believed Brainchip and its people are honest and reliable purveyors of the truth then we would also read something into the publication by Brainchip on a routine basis in made public industry presentations and on its website that Valeo an announced fee paying EAP customer in 2020 has moved on to be an Early Adopter of the AKIDA technology.

In consequence we might also link the multiple statements by Brainchip regarding AKIDA finding a sweet spot with LiDAR as being linked to Valeo.

We might also find something in the fact that Mercedes Benz described Brainchip as being ARTIFICIAL INTELLIGENCE EXPERTS while at the same time adopting Valeo’s LiDAR for its vehicles.

But who knows time will tell if I am a complete fool to be convinced of the integrity of those that lead Brainchip and allowing that to colour my judgment.

My opinion only DYOR
FF

AKIDA BALLISTA
 
  • Like
  • Love
  • Fire
Reactions: 37 users
That’s one of the huge problems with university degrees these days, especially technology based ones. They teach from decade-old text books and the lecturers got their own degrees in the previous decade to that.

I wouldn’t call them a bunch of luddites, but from personal experience, you get rewarded for spewing back what was spoken at you during lectures and get punished for thinking outside the box.

IMHO universities have really gone down hill. It’s a damn shame.
"Knowledge is fixed in time, whereas knowing is continual. Knowledge comes from a source, from an accumulation, from a conclusion, while knowing is a movement"
 
  • Like
  • Love
  • Fire
Reactions: 10 users

Bravo

If ARM was an arm, BRN would be its biceps💪!
  • Like
  • Haha
  • Fire
Reactions: 19 users
  • Like
  • Fire
Reactions: 27 users

Esq.111

Fascinatingly Intuitive.
Imagine the safety and luxury features the brain chip edition of Maybach will have!

Im thinking a designated camera will scan the chosen bottle of champagne, then proceed to give a detailed flow of information referencing key attributes all while the lucky one or two pop the top and sip diligently as they're chauffeured around.

'Ha ha ha, ah yes the unmistakable taste of 59' Dom.'

All while your vitals are being monitored and the probability of external threats are being calculated.

'Another bottle dear?'
Afternoon LordByron,

AHhhh, personally I'd only get a Mayback if the seats were crafted from the shavings of black truffles, well Mercedes are into fungas fabrics.

Not long now, can taste the bubbles.

Regards,
Esq.
 
  • Haha
  • Like
Reactions: 18 users
Top Bottom