Mea culpa
prəmɪskjuəs
And promiscuous.
I guess this has been discussed. The Renesas guy on the video suggests Akida will be use on the new Prophesee camera.
Is he talking about this mob:
Industry Insights
Find the world semiconductor news on our website! Keep up to date of the latest news by subscribing to our weekly newsletterwww.i-micronews.com
Sorry don’t have my laptop. I have fallen behind a bit.
Awsome Slade....this just gets better and betterVibration data.....nice
Today I took the time to listen again to the BrainChip podcast with Edge Impulse's CEO, Zach Shelby. At approx 4 mins in, there's a discussion about why being part of an ECOSYSTEM is so necessary if you are attempting to bring disruptive technologies into the mainstream.
When I reflect on what has happened in between this podcast and now, I am literally blown away. Blown away because of the progress that's been made in so short a time-frame. What a well thought out, strategic move! The ecosystem is now blossoming with links in every possible direction - BrainChip - Arm - Edge Impulse - SiFive - NVISO - NASA - Mercedes - etc, etc..
Please, if you haven't done so before, listen in again and I promise it will give you goosebumps!
To be honest I have no idea what will actually happen but my take on it is that the more exposure we get the better off we will be in the long term.
Both of us have been here since 2015 (I think that is the case for you as well) and I personally see this milestone as a recognition by the market in general on how far we have progressed. It's been a long journey but an exciting one.
If anyone did not take us seriously before they are going to have to now!
Unfortunately there are still a lot of people out there who don't know we even exist so this is a step in the right direction.
I agree there is some risk involved in being played by the institutions but if all of us Long Term Holders can just hang in there for a couple of more years our patience we will be rewarded.
As others have stated the games will probably be played for a while until the revenue starts to roll but I say to the players, Let the Games Begin as we will be the eventual winners![]()
Agreed. Credible analyst coverage would be welcome, but who would be brave enough to stick their neck out with all the NDA fog?One other thing I would like to see as a knock on to our admission is more local and overseas credible analyst coverage and research reports issued for the wider investor mkt.
Hi dippY22,Agree. Totally agree.
I have had such angst about U.S. participation in our companies prospects I am at a loss for words. What and where is Integrous??? Why is the take up in ADR shares virtually non-existent? Something is definately missing here, and I cannot put my finger on it.
I recently discussed that one of Sean's stated goals is to get the word out about Brainchip. My thinking then and now, is that the word needs to be taken directly to the investment community in the United States.
At this point I am so frustrated that I would be even willing to have Sean, or Jerome, or Rob, or Anil, etc. make an appearence on the Mad Money clown show. Something .....anything. Regards, dippY
Yes, Zack Shelby (Edge Impulse) says at about 15.30 that they’re matching Akida with Prophesee cameras! Great pick-up Slade!I guess this has been discussed. The Renesas guy on the video suggests Akida will be use on the new Prophesee camera.
Is he talking about this mob:
Industry Insights
Find the world semiconductor news on our website! Keep up to date of the latest news by subscribing to our weekly newsletterwww.i-micronews.com
Sorry don’t have my laptop. I have fallen behind a bit.
Prophesee worked with Bosch in developments for the DVS event camera which is highly compatible with SNNs.Yes, Zack Shelby (Edge Impulse) says at about 15.30 that they’re matching Akida with Prophesee cameras! Great pick-up Slade!
Akida or Brainchip anywhere mentioned by name? Prophesee partners with SynSense. BMW is one of their customers. Better file under competition:The Renesas guy in the video let’s it slip that Akida will be in the latest Prophesee camera.
From Prophesee website:
“
Built on the most advanced neuromorphic vision research in the world.
Based on decades of research in the field of neuromorphic engineering and computer vision, Prophesee brings dramatic improvements in artificial vision speed and efficiency.
Combined with advanced AI-based processing, Prophesee introduces a paradigm shift in computer vision that strongly reduces machines’ energy consumption and computational power requirements.”
![]()
PROPHESEE | Metavision Technologies
REVEAL THE INVISIBLE with the world's most advanced neuromorphic vision system, inspired by human vision and built on the foundation of neuromorphic engineering. PROPHESEE gives Metavision to machines, revealing what was previously invisible to them.www.prophesee.ai
This isn't up to date but the information within would serve as a good starting point for anyone keen to put something together.Your "milestone" comment got me to thinking about timelines. Timelines are a way to visually see the progress of something, right?
Well, in a similar way that the tip of the iceberg graphic visually presents companies with a Brainchip connection on one simple image, a Brainchip timeline might be an interesting graphic to make, as well. A visual diary of significant events. And it can be annotated as time goes by. Today, for example, a tick would be added with the notation "Added to ASX 200" (or the actual date it happens).
My computer / graphic production skills suck so if anyone else thinks this would be worth creating go for it. We are assembling quite a list of noteworthy events. And it is only going to increase and become more significant. For example, I look forward to the day when a tick is added for inclusion of Brainchip into the Nasdaq.
I also think such a graphic could be useful on Brainchips website. It is an easy and quick way for interested eyes, especially new visitor eyes, to see in one easy to understand way (visually) the chronological progress Brainchip is making. A snapshot in time does not speak to the progress a company like Brainchip is making, but a timeline does.
The challenge may be to determine what is "timeline worthy" and what is not.
Anyway,....just a thought. Regards, dippY
And that's the result:Prophesee worked with Bosch in developments for the DVS event camera which is highly compatible with SNNs.
WO2019180033A1 FAST DETECTION OF SECONDARY OBJECTS THAT MAY INTERSECT THE TRAJECTORY OF A MOVING PRIMARY OBJECT
View attachment 8458
View attachment 8459
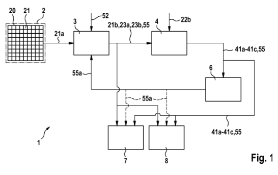
A system (1) for detecting dynamic secondary objects (55) that have a potential to intersect the trajectory (51) of a moving primary object (50), comprising a vision sensor (2) with a light-sensitive area (20) that comprises event-based pixels (21), so that a relative change in the light intensity impinging onto an event-based pixel (21) of the vision sensor (2) by at least a predetermined percentage causes the vision sensor (2) to emit an event (21a) associated with this event-based pixel (21), wherein the system (1) further comprises a discriminator module (3) that gets both the stream of events (21a) from the vision sensor (2) and information (52) about the heading and/or speed of the motion of the primary object (50) as inputs, and is configured to identify, from said stream of events (21a), based at least in part on said information (52), events (21b) that are likely to be caused by the motion of a secondary object (55), rather than by the motion of the primary object (50).
CLAIMS:
1. A system (1) for detecting dynamic secondary objects (55) that have a potential to intersect the trajectory (51) of a moving primary object (50), comprising a vision sensor (2) with a light-sensitive area (20) that comprises event-based pixels (21), so that a relative change in the light intensity impinging onto an event-based pixel (21) of the vision sensor (2) by at least a predetermined percentage causes the vision sensor (2) to emit an event (21a) associated with this event-based pixel (21), characterized in that the system (1) further comprises a discriminator module (3) that gets both the stream of events (21a) from the vision sensor (2) and information (52) about the heading and/or speed of the motion of the primary object (50) as inputs, and is configured to identify, from said stream of events (21a), based at least in part on said information (52), events (21b) that are likely to be caused by the motion of a secondary object (55), rather than by the motion of the primary object (50).
...
6. The system (1) according to any one of claims 1 to 5, characterized in that the system (1) further comprises a classifier module (4) that is configured to classify, from the events (21a) that the discriminator module (3) has identified as events (21b) that are caused by the motion of a secondary object (55), and/or from image information (22b) pertaining to a region (23a, 23b) in the field of view (23) of the vision sensor (2) that has given rise to said identified events (21b), said secondary object (55) into at least one of several categories (41a-41c).
7. The system (1) according to claim 6, characterized in that the classifier module (4) comprises an artificial intelligence module, a computer vision module, and/or a statistical classifier module, that is trainable, and/or has been trained, using learning samples of input information and corresponding learning samples of desired classification results (41a-41c).
8. The system (1) according to claim 7, characterized in that the artificial intelligence module comprises a spiking neural network that is configured to directly receive a stream of identified events (21b) as input.
Maybe I should move Prophesee from my "Competitors" list to my "Partners" list, oh, and Bosch?