BRN Discussion Ongoing

Diogenese

Top 20
I dont post often, but watch alot (creepy sorry) Well, this i am excited about. I can see this iteration selling in volume. This is where BRN will see revenue to sustain their higher goals of umbiqutous AI (in my opinion).

How long it takes to sell? 1 day, 10 years?

But hoping, this was requested by an interested party that make headphones, hearing aids or cameras etc and discussions are well advanced (in my opinion).

Event based (high security, low power), wake up device, noise reduction, biomed. It has so many applications. I wouldn't be surprised if this is just the release date and will be followed by some quick fire contract signings (in my opinion).

I always use a good friend's business analogy. Back in the 90s he had a juice kiosk stand at a university. Great business plan and well researched. He was going bankrupt though and not selling juices (much like you would see at a boost juice). Anyway they decided to sell coffee as well. They became successful overnight with long lines for their coffee (the coffee dependancy in australia had just started to kick in). Many new kiosks openned since, but now, they have gone back to selling juices because that is more popular. Its all about the right product at the right time, in the right place at the right price (basics of marketing).

I believe we are ahead of the market with our akida 2.0. It's a game changing product, but the market is not ready for such a monumental shift (in my opinion). The pico will give BRN a chance to get their name out there and prove themselves in lower risk settings. Aiming for self driving cars and data centres should always be the aim. But this is a smart move.

DYOR.
... but there is a slightly longer time to market ...
 
  • Like
Reactions: 6 users

Esq.111

Fascinatingly Intuitive.
Talk to me Esqy, how we lookin??
Oh and hey, how's things?
Good Afternoon HarryCool1 ,

Have not been at my computers , so lacking all the loose parameters / metrics which generally go into my price guidance......... predictions.

BUT.... the new PICO AKIDA should be an absolute ball tearer, absolute no brainer for any up and coming company to integrate on a new fangled product , if not already.
When the larger Company's will pull their head out and start implementing is anyone's guess.

Going for a STONKING GREEN FINNISH today.

* pressently doing gabian cage work , bit like Bravo , seems to be working.

Regards,
Esq.
 
  • Like
  • Love
  • Fire
Reactions: 23 users

buena suerte :-)

BOB Bank of Brainchip
Thank you.... And keep going! :ROFLMAO::love:


1727840412057.png
 
  • Like
  • Fire
  • Love
Reactions: 19 users

Diogenese

Top 20
Multiple websites are now promoting this news 👍

What I want to know is...

View attachment 70211

How is AKIDA Pico, different from AKIDA-E ?
(both based on AKIDA 2.0 IP)

I'm guessing it's obviously smaller again?
But AKIDA-E is already from "1" node?..

Is this BrainChip going for the "low hanging fruit" ?..

View attachment 70212

(any similarity to an apple, is purely coincidental)
Hi DB,

A node has 4 NPUs.

1727840858667.png

https://brainchip.com/wp-content/uploads/2023/03/BrainChip_second_generation_Platform_Brief.pdf

So that leaves open the possibility of, say, 1, 2 or 3 NPUs. Also the data can be recirculated through the nodes for additional processing if the first pass was insufficient to obtain classification/inference.
 
Last edited:
  • Like
  • Fire
  • Love
Reactions: 29 users

Diogenese

Top 20
Hi DB,

A node has 4 NPUs.

View attachment 70233
https://brainchip.com/wp-content/uploads/2023/03/BrainChip_second_generation_Platform_Brief.pdf

So that leaves open the possibility of, say, 1, 2 or 3 NPUs. Also the data can be recirculated through the nodes for additional processing if the first pass was insufficient to obtain classification/inference.
OK,

So they have used a single NPE (nee NPU).

https://brainchip.com/wp-content/uploads/2024/10/BC_Akida_Pico_Brochure.pdf

1727841629363.png
 
  • Like
  • Fire
  • Love
Reactions: 17 users
  • Haha
  • Sad
  • Like
Reactions: 6 users

Diogenese

Top 20
"Single neural processing engine
Minimal core for TENNS
"

I had assumed that the Akida NN would need at least 2 NPEs, but TENNS can run in a single NPE???!!!!

That is truly astonishing.

... and it does not need a microprocessor????!!!!!

https://www.epdtonthenet.net/articl...ion-for-Resource-Constrained-Deployments.aspx

This IP relies on the Akida2 event-based computing platform configuration engine as its foundation, meaning that the data quantities needing to be dealt with are kept to a minimum. Consequently only a small logic die area is required (0.18mm x 0.18mm on a 22nm semiconductor process with 50kBytes of SRAM memory incorporated), plus the associated power budget remains low (with <1mW operation being comfortably achieved). It can serve as either a standalone device (without requiring a microcontroller) or alternatively become a co-processor.

It's a self-contained package that sets the benchmark for low power.
 
  • Like
  • Love
  • Fire
Reactions: 74 users
  • Like
  • Fire
Reactions: 9 users
"Single neural processing engine
Minimal core for TENNS
"

I had assumed that the Akida NN would need at least 2 NPEs, but TENNS can run in a single NPE???!!!!

That is truly astonishing.

... and it does not need a microprocessor????!!!!!

https://www.epdtonthenet.net/articl...ion-for-Resource-Constrained-Deployments.aspx

This IP relies on the Akida2 event-based computing platform configuration engine as its foundation, meaning that the data quantities needing to be dealt with are kept to a minimum. Consequently only a small logic die area is required (0.18mm x 0.18mm on a 22nm semiconductor process with 50kBytes of SRAM memory incorporated), plus the associated power budget remains low (with <1mW operation being comfortably achieved). It can serve as either a standalone device (without requiring a microcontroller) or alternatively become a co-processor.

It's a self-contained package that sets the benchmark for low power.


The product line, is really starting to stack up and fill the niches..

Tony Lewis has made the statement, or close to it of..
"Can we scale up is the big question"
In reference to data centers?..

A development in that area, will really round things out..
 
Last edited:
  • Like
  • Fire
  • Love
Reactions: 25 users

Diogenese

Top 20
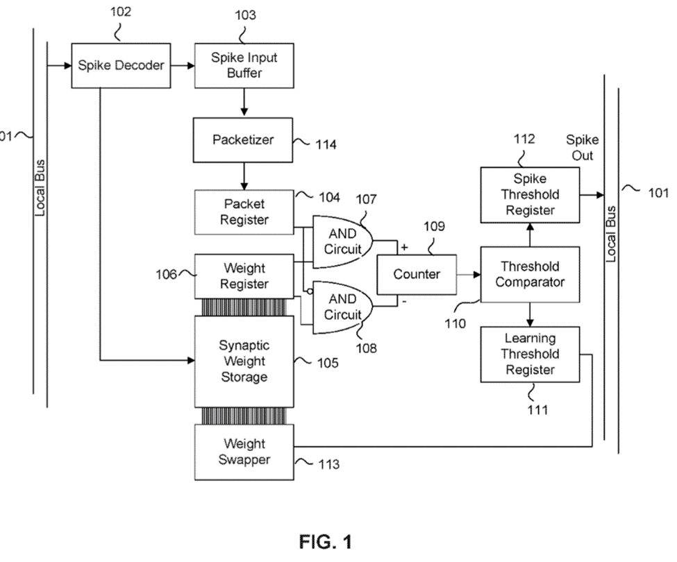
Please don't get us confused 😳..
For the sake of clarification, this is a picture of an NPU from the Akida patent:

WO2020092691A1 AN IMPROVED SPIKING NEURAL NETWORK 20181101 pub 20200507


1727843444404.png

The Mona Lisa of ICs.
 
  • Like
  • Love
  • Fire
Reactions: 26 users
For the sake of clarification, this is a picture of an NPU from the Akida patent:

WO2020092691A1 AN IMPROVED SPIKING NEURAL NETWORK 20181101 pub 20200507


View attachment 70237
The Mona Lisa of ICs.
It was you calling me "DK" I was talking about, Diogenese 😛

You don't ever leave me confused, about technical issues 🙄..
 
  • Haha
  • Like
Reactions: 4 users

Draed

Regular
At least if there is a speeding ticket BRN could say "hey we released information today on social media and it was obviously price sensitive, but you've wrapped us on the knuckles in the past for ramping, so F you asx".
 
  • Like
  • Fire
  • Haha
Reactions: 23 users

gilti

Regular
We have broken the ASX.
The Daily Gross Short Sales Report has gone 404
 
  • Haha
  • Like
Reactions: 16 users

Diogenese

Top 20
It was you calling me "DK" I was talking about, Diogenese 😛

You don't ever leave me confused, about technical issues 🙄..
My one rule when typing is: "Never let the left hand know what the right hand is doing."
 
  • Haha
  • Like
Reactions: 16 users
My one rule when typing is: "Never let the left hand know what the right hand is doing."
Man...
You didn't even call me DK, you said "OK"...
I didn't look closely enough and just thought it was referring to me directly 😛..
 
  • Haha
  • Like
Reactions: 3 users

hotty4040

Regular
"Single neural processing engine
Minimal core for TENNS
"

I had assumed that the Akida NN would need at least 2 NPEs, but TENNS can run in a single NPE???!!!!

That is truly astonishing.

... and it does not need a microprocessor????!!!!!

https://www.epdtonthenet.net/articl...ion-for-Resource-Constrained-Deployments.aspx

This IP relies on the Akida2 event-based computing platform configuration engine as its foundation, meaning that the data quantities needing to be dealt with are kept to a minimum. Consequently only a small logic die area is required (0.18mm x 0.18mm on a 22nm semiconductor process with 50kBytes of SRAM memory incorporated), plus the associated power budget remains low (with <1mW operation being comfortably achieved). It can serve as either a standalone device (without requiring a microcontroller) or alternatively become a co-processor.

It's a self-contained package that sets the benchmark for low power.
Dodgy, I don't think Pvdm has quite retired yet IMO. Maybe he's just part time, or possibly on ( piece work ) on a leisurely basis.


Akida Ballista >>>>> Errrrr - Yep ( maybe ) ! <<<<<

hotty...
 
  • Fire
  • Like
Reactions: 4 users

Diogenese

Top 20
We have broken the ASX.
The Daily Gross Short Sales Report has gone 404
... but you can still smell the smoke.
 
  • Haha
  • Like
Reactions: 9 users

MDhere

Top 20
O you mean this event - which I happen to be attending on the 18th Oct !! 😀😁 👍boomidity boom boom
Screenshot_20241002-054943_Gmail.jpg
 
  • Like
  • Love
  • Fire
Reactions: 21 users
Top Bottom