BRN Discussion Ongoing

rgupta

Regular
"Found the above web page only by googling - couldn’t see any link to it at all on their home page, not to mention any promo.
However, there is no Buy Now button to date, just one saying Enquire Now"


Is that the case with all their products though?

I could only find the Nvidia edge box page, by Googling too..
(didn't try "real" hard on main website..)


And just in general, what's the story with BRN posting the Tachyum news folks??

Doesn't that deserve a bit of a "please explain"?..
I cannot confirm whether vvdn and brainchip sold some edge boxes from initial batches but I can confirm the new edge boxes will only be available by end of 2024.
 
  • Like
Reactions: 3 users

rgupta

Regular
"Found the above web page only by googling - couldn’t see any link to it at all on their home page, not to mention any promo.
However, there is no Buy Now button to date, just one saying Enquire Now"


Is that the case with all their products though?

I could only find the Nvidia edge box page, by Googling too..
(didn't try "real" hard on main website..)


And just in general, what's the story with BRN posting the Tachyum news folks??

Doesn't that deserve a bit of a "please explain"?..

See the comments
 
  • Like
Reactions: 3 users

ydqcau

Emerged
Last night on Brainchip's X, they posted this news of Tachyum.


1720567292799.png



About a year ago, Tachyum also posted Brainchip's achievement. Anyone know what is this about?
1720567402371.png
 
  • Like
  • Fire
  • Love
Reactions: 40 users

7für7

Top 20

See the comments
T&J has multiple accounts in every social media platform… I bet this guys have even not order any product. But if they did, how can you order something without knowing what brainchip is communicating to their customers ?
 
  • Like
  • Thinking
Reactions: 3 users

JoMo68

Regular

View attachment 66266

Roadmap To Neuromorphic Computing (Collaboration Of 27 Universities/Companies)​



JULY 9TH, 2024 - BY: TECHNICAL PAPER LINK
popularity

A technical paper titled “Roadmap to Neuromorphic Computing with Emerging Technologies” was published by researchers at University College London, Politecnico di Milano, Purdue University, ETH Zurich and numerous other institutions.

Summary:​

“The roadmap is organized into several thematic sections, outlining current computing challenges, discussing the neuromorphic computing approach, analyzing mature and currently utilized technologies, providing an overview of emerging technologies, addressing material challenges, exploring novel computing concepts, and finally examining the maturity level of emerging technologies while determining the next essential steps for their advancement.”

Find the technical paper here. Published July 2024.

I couldn’t see us anywhere in here Bravo (unless I missed it in my skim reading) 🤔 The closest was Technion who we have a past association with?
 
  • Like
Reactions: 6 users

rgupta

Regular
T&J has multiple accounts in every social media platform… I bet this guys have even not order any product. But if they did, how can you order something without knowing what brainchip is communicating to their customers ?
To me important is who make the answer and what is the answer. So yes edge box not till end 2024.
I assume market in already factoring that into sp. But there is definitely lack of communication with share holders here. We were told end of 23, then just after the AGM and now end 24.
Not a good looking picture to me as a holder.
 
  • Like
Reactions: 7 users
And here additional regarding tachyum

If you search Tachyum on TSE, the name popped up and discussed back in like 2022 but was apparently shelved at the time with something TD replied to that someone on HC posted as per FFs post back then and I think Dio pointed out patent / tech differences.

At the time I was wondering more about a BRN to Rambus connection to Tachyum as per prev post and info there :unsure:

 
  • Like
  • Fire
  • Thinking
Reactions: 6 users

7für7

Top 20
To me important is who make the answer and what is the answer. So yes edge box not till end 2024.
I assume market in already factoring that into sp. But there is definitely lack of communication with share holders here. We were told end of 23, then just after the AGM and now end 24.
Not a good looking picture to me as a holder.
Yes but at least they communicate it. (Define lack of communication) There are plenty of so called “companies” which don’t even respond or make updates. I mean what else they should do? In a complex process with complex technology shi(f)t happen IMO
 
  • Like
Reactions: 4 users

rgupta

Regular
Yes but at least they communicate it. (Define lack of communication) There are plenty of so called “companies” which don’t even respond or make updates. I mean what else they should do? In a complex process with complex technology shi(f)t happen IMO
Unlike Mercedes announcement and renasas taping out announcement, this time it was started by brainchip about brainchip vvdn edge box. Sean had used that reference many times.
I assume they sell a few edge boxes before getting more orders but if that is not the case I would consider it management was lying to the market.
Even for a few days brainchip was taking orders @ 799 USD per box before showing sold out.
So let us wait and watch what company financials say about that and what management commentary of 4c tell us about that.
 
  • Like
Reactions: 2 users

FJ-215

Regular
Yes but at least they communicate it. (Define lack of communication) There are plenty of so called “companies” which don’t even respond or make updates. I mean what else they should do? In a complex process with complex technology shi(f)t happen IMO
It can't be that complex. Pre-order was completed months ago.

1720574168227.png

No sure if it was the AGM but I thought that boxes would be delivered this quarter. Quarterly due in a few weeks so we should be updated then.
 
  • Like
  • Fire
Reactions: 9 users

IloveLamp

Top 20
What is the strange colour on the sp 🤔
1000016906.jpg
 
  • Haha
  • Like
  • Wow
Reactions: 28 users

7für7

Top 20
Unlike Mercedes announcement and renasas taping out announcement, this time it was started by brainchip about brainchip vvdn edge box. Sean had used that reference many times.
I assume they sell a few edge boxes before getting more orders but if that is not the case I would consider it management was lying to the market.
Even for a few days brainchip was taking orders @ 799 USD per box before showing sold out.
So let us wait and watch what company financials say about that and what management commentary of 4c tell us about that.
It can't be that complex. Pre-order was completed months ago.

View attachment 66275
No sure if it was the AGM but I thought that boxes would be delivered this quarter. Quarterly due in a few weeks so we should be updated then.

I wouldn't immediately assume intentional lying or concealment; that's all. It's easy to criticize from the outside without knowing the reasons behind decisions. Internal matters are contractually reserved for employees. In my opinion, external communication runs as it should.
 
Last edited:
  • Like
Reactions: 2 users
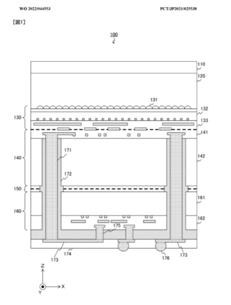
Sony have a patent for a 3D pixel in which a layer of photovoltaic sensor elements of the pixel are deposited over a layer of processing circuitry, effectively doubling the surface of PV sensors in comparison with the existing system in which the processing circuitry and PV sensors are co-planar,

WO2022044553A1 SEMICONDUCTOR DEVICE AND METHOD FOR MANUFACTURING SEMICONDUCTOR DEVICE

View attachment 66228

a semiconductor device in which a plurality of semiconductor chips 160, 140, 130) are stacked, the semiconductor device having enhanced functionality while reducing manufacturing cost. The semiconductor chips include a light-receiving chip (130), a redistribution wiring-side semiconductor chip (160), an intermediate semiconductor chip (140), a through-electrode (171), and redistribution wiring (141). The light-receiving chip receives incoming light. A wiring layer is formed on a predetermined wiring surface of the redistribution wiring-side semiconductor chip. One of a pair of joint surfaces of the intermediate semiconductor chip is joined to the light-receiving chip, and the other is joined to the redistribution wiring-side semiconductor chip. The through-electrode extends through a semiconductor substrate of the intermediate semiconductor chip. The redistribution wiring is wired on a wiring surface and connects the through-electrode and the wiring layer.

 The intermediate semiconductor chip 140 includes a wiring layer 141 and a semiconductor substrate 142. The wiring layer 141 is formed on the upper surface of the semiconductor substrate 142. Further, the wiring layer 141 of the intermediate semiconductor chip 140 is joined to the wiring layer 133 of the light receiving chip 130. The thick dotted line in the figure indicates the joint surface. The intermediate semiconductor chip 140 is provided with, for example,
a memory for holding image data and a signal processing circuit for processing the image data.


Sony have opted for analog NNs:

US2022020757A1 SEMICONDUCTOR STORAGE DEVICE AND NEURAL NETWORK DEVICE

A convolution neural network device is one of semiconductor storage devices, and includes a synapse circuit that performs multiply-accumulate operation and a buffer memory or the like that temporarily holds a multiply-accumulate operation result.

A neural network device according to one embodiment of the present disclosure includes a substrate, a first storage element, and a second storage element. The first storage element is formed on the substrate and includes a first insulating film. The first storage element functions as a buffer memory that temporarily stores a multiply-accumulate operation result. The second storage element is formed on the substrate and includes a second insulating film having a film thickness of equal to or greater than 0.5 times and equal to or less than 2 times a film thickness of the first insulating film. The second storage element differs from the first storage element in power consumption at a time of writing and functions as an analog multiplier-accumulator.
Can I ask Diogenese, regarding the patient here mentioning Anolog NN, does that mean BRN are excluded do you think from this Sony deal ?.
 
Last edited:
  • Like
Reactions: 1 users
2F6CB576-E71F-4EBB-9AE9-A8387EBD51D8.jpeg
 
  • Haha
  • Like
  • Fire
Reactions: 7 users

Cardpro

Regular
I hope there will be some good signs on the quarterly...
 
  • Like
  • Haha
Reactions: 3 users
https://www.qualcomm.com/news/onq/2...s-it-key-to-unlocking-on-device-generative-ai

Qualcomm CEO talking about AI PC's and their work with Microsoft and Co-Pilot+. This is with a NPU, and he says at the end, without the NPU it does not run, and you do not get 22 Hours battery life. Found it interesting but nothing to say we are involved, but nothing to say we aren't either.

SC

Well, that sucks, wrong link. Now can't find it.
 
Last edited:
  • Like
  • Love
  • Thinking
Reactions: 7 users

mrgds

Regular
I hope there will be some good signs on the quarterly...
Speaking of good signs @Cardpro ,

Years ago at a boat ramp, i came across a sign that had fallen off the post, took it home and displayed it on my bedroom door.

It read; "Mount and dis-mount area only, maximum time allowed 15mins "

That was back in the day when i could actually do 15 minutes ............... :cry:
 
  • Haha
  • Like
Reactions: 25 users

IloveLamp

Top 20
  • Haha
  • Like
  • Fire
Reactions: 11 users

Slade

Top 20
I hope there will be some good signs on the quarterly...
Stick a carrot where it fits.
 
  • Haha
  • Fire
  • Like
Reactions: 15 users
Top Bottom