BRN Discussion Ongoing

buena suerte :-)

BOB Bank of Brainchip
View attachment 63524

View attachment 63523
Wow some decent floor space this time...A sign things are getting 'bigger!!' :) ...And next door to
1716421439693.png
 
Last edited:
  • Like
  • Fire
Reactions: 31 users

Cgc516

Regular
  • Like
  • Love
Reactions: 6 users

schuey

Regular
Now don’t kill me here for saying the following.

The sex industry is always out in front when the internet came to peoples homes

The sex industry and gaming I think were responsible for mass adoption weather you like it or not of course as well as big business

How would Akida go in vibrators smart toys that remember Wharton you like and how you like it willing to learn how you like it what ever it is.

Not so sure SH and the board of directors would approve but it’s AI for good not evil lol

Have a happy night
Akida Inside........hahahahahA
 
  • Haha
  • Like
Reactions: 7 users
How do we know Sean was going to South Korea on the way home? Did he say that?
I am only guessing
He is stopping off somewhere on his way back to the states to make more sales calls.
He states that in the last podcast ep.5 q1
Last 2 minutes

Look it might be Japan
 
  • Like
Reactions: 8 users

HopalongPetrovski

I'm Spartacus!
A couple of my favorite quotes from the AGM:

“Between Tony, Sean, myself and a couple of others at BrainChip, we can get audiences with anyone in the global tech market. We can. And they’re listening to us. And they’re asking the right questions, and they’re intrigued by what we’re doing.” Antonio

“ I see the fact that Sean recently, a couple of weeks ago, didn’t just have a meeting with an engineering manager or a engineering VP, he is meeting CEO’s and COO’s of the largest tech companies on the planet who are actively engage with us right now looking at our technology.” Antonio
Thank you so much Terroni for putting this together for us all.
It is why I have been enquiring regarding the release of the AGM video.
The prepared statements are good, but for we, who follow the Company closely, the Q&A is the meat in the sandwich.
Where we, who want more, get a little peek under the covers.
An invaluable resource going forward.
Again, Thank you so much.
 
  • Like
  • Love
  • Fire
Reactions: 37 users

HopalongPetrovski

I'm Spartacus!
Tony Dawe just advised that the 2024 AGM webcast is up on the site.
Hit RESOURCES tab.
Then EVENTS.
past events....BRAINCHIP AGM.
Hit AGM WEBCAST.

It's all there. 🤣


AGM Webcast
 
  • Like
  • Love
  • Fire
Reactions: 46 users

Wags

Regular
How do we know Sean was going to South Korea on the way home? Did he say that?
Not sure exactly where he was going but I did over hear him say he was travelling for another 8 days or so, though if he got that special phonecall, he would redirect and go straight there. (wherever that was?)
 
  • Like
  • Fire
Reactions: 8 users

Esq.111

Fascinatingly Intuitive.
Morning HopalongPetrovski ,


Thankyou.

Link as provided above . skip to 8:44 for start



Regards,
Esq.
 
  • Like
  • Love
  • Fire
Reactions: 27 users

Learning

Learning to the Top 🕵‍♂️
 
  • Like
  • Love
  • Fire
Reactions: 53 users
Older one but it only just came up on a random goggle search.

Always great to see others in the industry, particularly working at the bigger players, following along. Ex TCS as well I see.


Jatin Koshiya’s Post​

Jatin Koshiya
Design Verification Engineer 2 @ Microsoft | Ex Nvidia, Intel & TCS | 11k+ Followers & Growing 📈 | 170+ Bookings on Topmate | Career Guidance ✨ | Interview Preparation & Tips 🎯 | Resume Building 📝 | Mock Interview 🎙️
8mo

https://lnkd.in/dcDUwnuA #ai #neuromorphic #medical #semiconductor
19


The link was for this EETimes Aug article about us and Tata Elxsi.



Screenshot_2024-05-23-08-40-13-11_4641ebc0df1485bf6b47ebd018b5ee76.jpg
 
  • Like
  • Fire
  • Love
Reactions: 18 users

7für7

Top 20
  • Like
  • Fire
  • Love
Reactions: 21 users

Diogenese

Top 20
A couple of my favorite quotes from the AGM:

“Between Tony, Sean, myself and a couple of others at BrainChip, we can get audiences with anyone in the global tech market. We can. And they’re listening to us. And they’re asking the right questions, and they’re intrigued by what we’re doing.” Antonio

“ I see the fact that Sean recently, a couple of weeks ago, didn’t just have a meeting with an engineering manager or a engineering VP, he is meeting CEO’s and COO’s of the largest tech companies on the planet who are actively engage with us right now looking at our technology.” Antonio

Random sample of the largest tech companies:

Nvidia, Apple, Intel, Samsung, Microsoft, IBM, Sony, Alphabet (Google), Meta (FB), Panasonic, Sony, Dell, ARM, Qualcomm, ...

We are in the ecosystems of Intel, ARM.

We have had Dell on the podcast.

Rumour has it Sean is heading to Korea (again) after the AGM.

Our friend Prophesee has links with Sony.

Can we overcome the "not-invented-here" syndrome?

Will incumbency blind Nvidia?

ARM has their in-house Helium/Ethos.

Intel has Loihi +.

IBM has true North.

Even Dell lays claim to SNN technology:

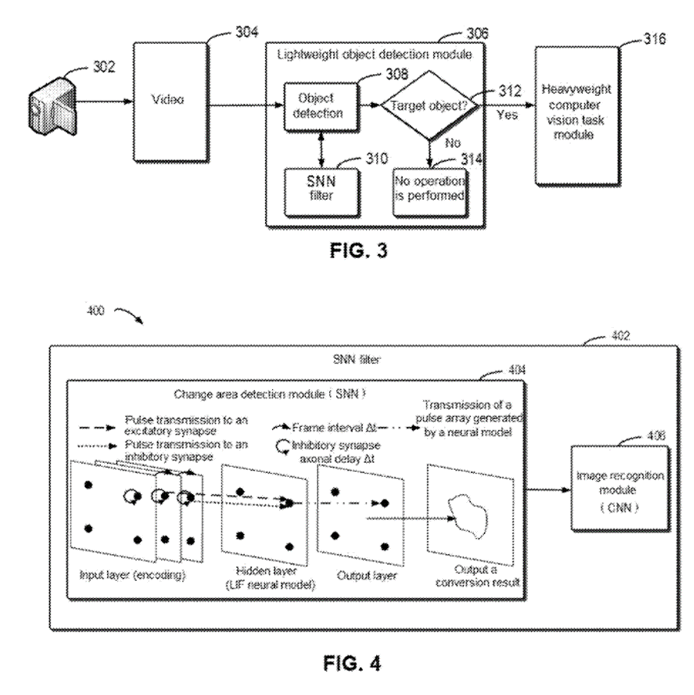
US2023237675A1 METHOD, ELECTRONIC DEVICE, AND COMPUTER PROGRAM PRODUCT FOR PROCESSING VIDEO 20220121

1716426309020.png



US2023342193A1 TASK PROCESSING METHOD, TASK PROCESSING DEVICE, AND COMPUTER PROGRAM PRODUCT 20220422
[0036] In order to at least partially solve one or more of the above problems and other potential problems, embodiments of the present disclosure provide an approach in which a spiking neural network and a convolutional neural network are used in combination



Notably the Dell podcast was several months earlier than the priority date of the first patent application:

https://brainchip.com/brainchip-podcast-ep-6-rob-lincourt/

BrainChip Talks with Rob Lincourt of Dell Technologies in Latest Monthly Podcast​

Edge devices, neuromorphic computing and beneficial AI among the topics covered in sixth episode of ‘This is our Mission’ series

Aliso Viejo, Calif. – May 2, 2021
 
  • Like
  • Fire
  • Love
Reactions: 42 users
Random sample of the largest tech companies:

Nvidia, Apple, Intel, Samsung, Microsoft, IBM, Sony, Alphabet (Google), Meta (FB), Panasonic, Sony, Dell, ARM, Qualcomm, ...

We are in the ecosystems of Intel, ARM.

We have had Dell on the podcast.

Rumour has it Sean is heading to Korea (again) after the AGM.

Our friend Prophesee has links with Sony.

Can we overcome the "not-invented-here" syndrome?

Will incumbency blind Nvidia?

ARM has their in-house Helium/Ethos.

Intel has Loihi +.

IBM has true North.

Even Dell lays claim to SNN technology:

US2023237675A1 METHOD, ELECTRONIC DEVICE, AND COMPUTER PROGRAM PRODUCT FOR PROCESSING VIDEO 20220121

View attachment 63531


US2023342193A1 TASK PROCESSING METHOD, TASK PROCESSING DEVICE, AND COMPUTER PROGRAM PRODUCT 20220422
[0036] In order to at least partially solve one or more of the above problems and other potential problems, embodiments of the present disclosure provide an approach in which a spiking neural network and a convolutional neural network are used in combination



Notably the Dell podcast was several months earlier than the priority date of the first patent application:

https://brainchip.com/brainchip-podcast-ep-6-rob-lincourt/

BrainChip Talks with Rob Lincourt of Dell Technologies in Latest Monthly Podcast​

Edge devices, neuromorphic computing and beneficial AI among the topics covered in sixth episode of ‘This is our Mission’ series

Aliso Viejo, Calif. – May 2, 2021
So Dio
If we were to say partner with Samsung are they not analog Brainchip are digital
So does that cross them off the list as potential customers
I see apple or Qualcomm or Dell
But if you think about who would want to have the upper hand be one better
Sony, there phone market is small in comparison to others but they have lots of other sku ‘s
Arm I thought were a given and will use us anyway
Alphabet would want to crush any competition
I would think they like being in the for front and show off
Look at their last product launch it was loud and in your face

So who do you think has the most to gain???
 
  • Like
  • Thinking
Reactions: 10 users

TECH

Regular
I'm sure PvdM would be aware of AON and Mouna, but that was 8 years ago.

100% correct Dio.

Mouna worked with us for about 6 months on a project that resulted in a shared Patent Application in 2017.

Named inventors are Peter, Mouna and Nic Oros.

US10157629B2 Low power neuromorphic voice activation system and method

ALSO....something very new, this AUSTRALIAN FILING is the first that I believe names us in the Agriculture sector !!
It was only filed 6 days ago !!

AU2023255049A1 System and Method for growing fungal mycelium Patent Translate

Love Tech and Akida 💘

Research Alzheimers GIF by MIT
 
  • Like
  • Fire
  • Love
Reactions: 39 users

Esq.111

Fascinatingly Intuitive.
Morning TECH ,

Nice find .

Extract from Above patent ,

[0082]. The controller 1.011 may include a neural network such as Akida from BrainChip. This artificial intelligence neural processor can be configured to distinguish between chemical signatures provided by chemical sensors to identify various chemical characteristics of a liquid including pH, volatile organic chemicals, gas content, nutrients, etc.

Regards,
Esq.
 
  • Like
  • Fire
  • Love
Reactions: 34 users

manny100

Top 20
A couple of my favorite quotes from the AGM:

“Between Tony, Sean, myself and a couple of others at BrainChip, we can get audiences with anyone in the global tech market. We can. And they’re listening to us. And they’re asking the right questions, and they’re intrigued by what we’re doing.” Antonio

“ I see the fact that Sean recently, a couple of weeks ago, didn’t just have a meeting with an engineering manager or a engineering VP, he is meeting CEO’s and COO’s of the largest tech companies on the planet who are actively engage with us right now looking at our technology.” Antonio
Thanks for the work you put into posting the transcripts.
I tuned into the AGM but I missed a bit.
Great read.
Cheers
 
  • Like
  • Love
Reactions: 15 users

Slade

Top 20
  • Haha
  • Like
Reactions: 9 users
Random sample of the largest tech companies:

Nvidia, Apple, Intel, Samsung, Microsoft, IBM, Sony, Alphabet (Google), Meta (FB), Panasonic, Sony, Dell, ARM, Qualcomm, ...

We are in the ecosystems of Intel, ARM.

We have had Dell on the podcast.

Rumour has it Sean is heading to Korea (again) after the AGM.

Our friend Prophesee has links with Sony.

Can we overcome the "not-invented-here" syndrome?

Will incumbency blind Nvidia?

ARM has their in-house Helium/Ethos.

Intel has Loihi +.

IBM has true North.

Even Dell lays claim to SNN technology:

US2023237675A1 METHOD, ELECTRONIC DEVICE, AND COMPUTER PROGRAM PRODUCT FOR PROCESSING VIDEO 20220121

View attachment 63531


US2023342193A1 TASK PROCESSING METHOD, TASK PROCESSING DEVICE, AND COMPUTER PROGRAM PRODUCT 20220422
[0036] In order to at least partially solve one or more of the above problems and other potential problems, embodiments of the present disclosure provide an approach in which a spiking neural network and a convolutional neural network are used in combination



Notably the Dell podcast was several months earlier than the priority date of the first patent application:

https://brainchip.com/brainchip-podcast-ep-6-rob-lincourt/

BrainChip Talks with Rob Lincourt of Dell Technologies in Latest Monthly Podcast​

Edge devices, neuromorphic computing and beneficial AI among the topics covered in sixth episode of ‘This is our Mission’ series

Aliso Viejo, Calif. – May 2, 2021
Absolutely Dell across neuromorphic and were aware of us since early 2022.



From Dell Tech presso this month (Oct 23).

Wonder if they just watching the general horizon or they talking about their own horizon :unsure:

HERE


Screenshot_2023-10-12-08-37-13-79_e2d5b3f32b79de1d45acd1fad96fbb0f.jpg


IMG_20231012_083418.jpg



We also know from a previous post that Dell aware of us from at least early 2022.

Was from one of the Directors at Dell China Research Institute.


  • From a hardware perspective, the accelerators of Domain Specific Architectures (DSA) [12] enable the third-wave AI algorithms to operate in a hybrid ecosystem consisting of Edge, Core, and Cloud. run anywhere in the system . Specifically, accelerators for specific domain architectures include the following examples: Nvidia's GPU, Xilinx's FPGA, Google's TPU, and artificial intelligence acceleration chips such as BrainChip's Akida Neural Processer, GraphCore's Intelligent Processing Unit (IPU), Cambrian's Machine Learning Unit (MLU) and more. These types of domain-specific architecture accelerators will be integrated into more information devices, architectures, and ecosystems by requiring less training data and being able to operate at lower power when needed. In response to this trend, the area where we need to focus on development is to develop a unified heterogeneous architecture approach that enables information systems to easily integrate and configure various different types of domain-specific architecture hardware accelerators. For Dell Technologies, we can leverage Dell's vast global supply chain and sales network to attract domain-specific architecture accelerator suppliers to adhere to the standard interfaces defined by Dell to achieve a unified heterogeneous architecture .
 
  • Like
  • Fire
  • Love
Reactions: 37 users
Top Bottom