BRN Discussion Ongoing

Arcelik was mentioned by ARM a while ago. They make house hold appliances and are partnered with ARM.

I remember specifically making fun of the name 😅

Agree @IloveLamp we’d been dot joined with them several years ago, well before ARM. No small company.

Despite the name I’d be happy to partner with them in white goods. I thought it was the smart washing machine or fridge we were thought to be going in back then but they make numerous products; from their website.

About Us
Our journey started in 1955...
With over 40.000 employees throughout the world, Arçelik's global operations include subsidiaries in 53 countries, and 31 production facilities in 9 countries and 14 brands (Arçelik, Beko, Grundig, Blomberg, ElektraBregenz, Arctic, Leisure, Flavel, Defy, Altus, Dawlance, Voltas Beko, SINGER* and HITACHI*).
*Licensee limited to certain jurisdictions.


:)
 
  • Like
  • Fire
  • Love
Reactions: 23 users
I'm unsure what would constitute a breach of our patented IP? There seems to be so much similarity in process it's hard for the lay person to differentiate, yet there is rarely if ever discussion that competitors approaches might be impinging on our IP?
Would love any thoughts from those with a good head for this stuff.
I'm not expecting the CSIRO outcome of owning WiFi and raking in the royalties.. I would really just like to know what specific things we are protecting that others are unable to touch. What can they NOT do without us? I had thought this was largely around spiking neural networks, but that doesn't seem to be exclusive to us either.
I'm a 7+ year investor and have been reading and learning over the whole journey.. I love @Fact Finder and @Diogenese insights and obvious intellect, not to mention the many other amazing contributors. I'd be greatly appreciative of help in honing my understanding of our absolute USP. 🤷🏻‍♂️
Hi Bigal

I am unable to technically analyse the competing technologies from an engineers perspective as Diogenese is able to do so what I rely upon is comparison.

When Brainchip announced the IP sale to Renesas in 2020 Renesas was already years into a program to develop their DRP.

At that time on Renesas website they had a roadmap and they still had two destinations to reach but the final destination was continuous learning on chip.

When Brainchip licenced the AKIDA IP to Renesas this was the standout differentiator. AKIDA was and is capable of unconnected continuous on chip learning and one shot several shot learning.

Intel Loihi and IBM True North have not achieved this despite all their years of research and hundreds of millions of funding.

I only mention Intel and IBM to make the point that this is a BIG engineering deal.

Given this fact and that achieving it was Renesas’s final development destination for DRP logic tells me that if they get there they will shout it from the roof tops.

So from my lay perspective while ever Renesas is not claiming this ability there can be no possibility that they are breaching Brainchip’s Intellectual Property rights.

My opinion only DYOR
Fact Finder
 
  • Like
  • Love
  • Fire
Reactions: 35 users
Agree @IloveLamp we’d been dot joined with them several years ago, well before ARM. No small company.

Despite the name I’d be happy to partner with them in white goods. I thought it was the smart washing machine or fridge we were thought to be going in back then but they make numerous products; from their website.

About Us
Our journey started in 1955...
With over 40.000 employees throughout the world, Arçelik's global operations include subsidiaries in 53 countries, and 31 production facilities in 9 countries and 14 brands (Arçelik, Beko, Grundig, Blomberg, ElektraBregenz, Arctic, Leisure, Flavel, Defy, Altus, Dawlance, Voltas Beko, SINGER* and HITACHI*).
*Licensee limited to certain jurisdictions.


:)

“I thought it was the smart washing machine or fridge we were thought to be going in back then but they make numerous products; from their website.”

I think it was a Bidet 😂
 
  • Haha
  • Like
  • Thinking
Reactions: 12 users

FJ-215

Regular
A name we are familiar with.....SoundHound


SoundHound AI Reports Record Quarter with 80% Q4 Revenue Growth to $17.1 Million; Adjusted EBITDA Improved by 80% Year-Over-Year in Q4


Just watched an interview on Bloomberg TV with their CEO, Keyvan Mohajer, discussing their results and Nvida taking a stake in the company.

A couple of key points....

The welcome the backing from Nvida.
They have two new major customers but cannot disclose who they are due to NDAs
It's taken them 20 years to get to this point.
 
Last edited:
  • Like
  • Thinking
  • Love
Reactions: 17 users

MDhere

Top 20
Annual Report 2023

From "Letter from the Chair". Page 5

"We are more active and agile than we have ever been. This is critical for us to build on the opportunities that
the market looks to give us. There are many aspects to our immediate strategic acceleration; however, there
are two that stand out.

The first is our ability to raise needed capital. We will continue to assess alternative funding sources and timing
to minimize the impact on shareholders while maintaining appropriate cash levels
. As for the second, we have
instilled a culture of rapid innovation and agility, starting with new Executive Team personnel. More broadly, a
key element in our agility includes upskilling and restructuring our organization across the board. During much
of 2023, BrainChip built out the marketing, product, and ecosystem organizations to enhance our product,
message, and value propositions, as well as our partnerships. We expect to make further changes as we
continue to grow with this agility in mind."
to my understanding in Jan 2024 it was cited that only 2.7m was left by end of March 2024 then further to 12mil by end of Dec 2024, not 40mil.

Sydney – 3 January 2024 – BrainChip Holdings Ltd (ASX: BRN, OTCQX: BRCHF, BCHPY), the world’s first commercial producer of neuromorphic artificial intelligence IP, today announced that the company has entered into a third amendment to the previously announced Put Option Agreement (POA) with LDA Capital LLC (LDA Capital). The amendment will provide the company with access to capital, when necessary, until December 2024. The company is committed to meeting its obligation under the current agreement by drawing down the remaining $2.7M AUD which is currently underway and expected to conclude sometime in Q1 of 2024. Under this Third Amendment, the company has agreed to an additional Minimum Drawdown Amount of $12M to be drawn no later than 31 December 2024.
 
  • Like
  • Fire
Reactions: 13 users

jtardif999

Regular
Yes. I saw that and wondered, as you did, if it referred to Thorpe's N-of-M coding.

N-of-M coding is directly tied to the arrival time of spikes from different "pixel" neurons although I would guess it also applies to auditory and other sensory neurons.

To get to N-of-M coding, there was a two step process. The first step was in realizing that the then "orthodox" spike rate coding was inefficient and error-prone. When a nerve fires, it transmits a burst of decreasing pulses, the pulse rate being a measure of the strength of the signal. Thorpe realized that measuring the rate was inefficient mainly because it involved using a redundant secondary source of the spike information, and it was error-prone because neuron firing at rates of less than 1/10th of a second is unreliable. As I've mentioned before, Thorpe found that the initial spike of a spike burst from an optical nerve carried all the necessary information.

Thorpe also noticed that the firing time was inverse to the amplitude of the excitatory energy - the stronger the signal, the sooner the nerve fired.

Hence the switch from rate coding to spike time coding.

So that leaves all M spikes from M neurons still being processed, which brings us to the second step.

The next step was the realization that the later-arriving spikes added little to the accuracy of the visual detection. In other words, accurate detection could be carried out from the first N pulses to arrive - N-of-M coding.

As you can see, Thorpe's N-of-M coding is all about spikes which arrive asynchronously.

I could find nothing in the Renesas article or in their patents suggesting the use of spikes.


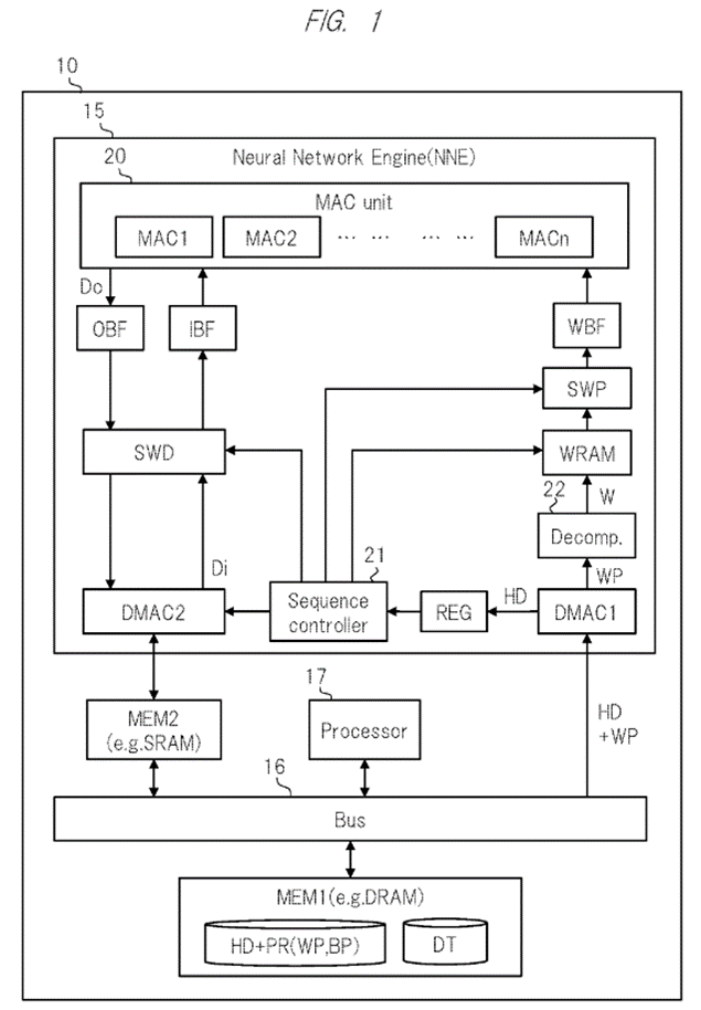
This recent Renesas patent application uses MACs.

US2024054083A1 SEMICONDUCTOR DEVICE 20220808


View attachment 58151

A semiconductor device capable of shortening processing time of a neural network is provided. The memory stores a compressed weight parameter. A plurality of multiply accumulators perform a multiply-accumulation operation to a plurality of pixel data and a plurality of weight parameters. A decompressor restores the compressed weight parameter stored in the memory to a plurality of weight parameters. A memory for weight parameter stores the plurality of weight parameters restored by the decompressor. The DMA controller transfers the plurality of weight parameters from the memory to the memory for weight parameter via the decompressor. A sequence controller writes down the plurality of weight parameters stored in the memory for weight parameter to a weight parameter buffer at write timing.

That said, I haven't found out what their N:M refers to, and there is still 18 months of unpublished patent applications.
And the latest, dunno if they’ve perhaps upgraded the DRP with some extra sauce…


Renesas Unveils Powerful Single-Chip RZ/V2H MPU for Next-Gen Robotics with Vision AI and Real-Time Control

New Generation AI Accelerator with 10 TOPS/W Power Efficiency Delivers AI Inference Performance of up to 80 TOPS Without Cooling Fan


February 29, 2024, 8:00 AM Eastern Standard Time


TOKYO--(BUSINESS WIRE)--Renesas Electronics Corporation (TSE:6723), a premier supplier of advanced semiconductor solutions, has expanded its popular RZ Family of microprocessors (MPUs) with a new device targeting high-performance robotics applications.


This press release features multimedia. View the full release here: https://www.businesswire.com/news/home/20240229979997/en/


Offering the highest levels of performance within the family, the RZ/V2H enables both vision AI and real-time control capabilities.


The device comes with a new generation of Renesas proprietary AI accelerator, DRP (Dynamically Reconfigurable Processor)-AI3, delivering 10 TOPS/W power efficiency, an impressive 10-fold improvement over previous models. Additionally, pruning technology employed in the DRP-AI3 accelerator significantly improves AI computing efficiency, boosting AI inference performance up to 80 TOPS. This performance boost allows engineers to process vision AI applications directly at edge AI devices without relying on cloud computing platforms. The details of the new DRP-AI3 acceleration technology were recently presented at the International Solid-State Circuits Conference (ISSCC 2024) in San Francisco.


The RZ/V2H incorporates four Arm® Cortex®-A55 CPU cores with a maximum operating frequency of 1.8 GHz for Linux application processing, two Cortex-R8 cores running at 800 MHz for high-performance real-time processing, and one Cortex-M33 as a sub core. By integrating these cores into a single chip, the device can effectively manage both vision AI and real-time control tasks, making it ideal for demanding robotics applications of the future. Since the RZ/V2H consumes less power, it eliminates the need for cooling fans and other heat-dissipating components. This means engineers can design systems that are smaller in size, less expensive, and more reliable.


“As a market leader in motor control microprocessors, Renesas is ready to take on the next challenge to drive the advancement of the robotics market with AI technology,” said Daryl Khoo, Vice President of the Embedded Processing 1st Business Division at Renesas. “The RZ/V2H will facilitate the development of next-generation autonomous robots with vision AI capabilities, that have the ability to think independently and control movements in real time."


Renesas has applied its proprietary DRP technology to develop the OpenCV Accelerator that speeds up the processing of OpenCV, an open-source industry standard library for computer vision processing. The resulting speed improvement is up to 16 times faster compared to CPU processing. The combination of the DRP-AI3 and the OpenCV Accelerator enhances both AI computing and image processing algorithms, enabling the power-efficient, real-time execution of Visual SLAM(Note 1) used in applications such as robot vacuum cleaners.


To accelerate development, Renesas also released AI Applications, a library of pre-trained models for various use cases, and the AI SDK (Software Development Kit) for rapid development of AI applications. By running these software on the RZ/V2H's evaluation board, engineers can evaluate AI applications easily and earlier in the design process, even if they do not have extensive knowledge of AI.


“We are thrilled to be part of the launch of the RZ/V2H, which combines AI technology with real-time control,” says Rolf Segger, founder of SEGGER Microcontroller GmbH. “SEGGER’s J-Link debug probe, widely adopted by numerous embedded development projects globally, will provide the support needed for the RZ/V2H, helping accelerate the development of next-generation robotic innovations. We look forward to this next phase in our multi-decade long partnership with Renesas."


Winning Combinations


Renesas has developed the "Visual Detection Single Board Computer" that uses camera images to identify its surroundings, and to determine and control its movements in real-time. This solution combines the RZ/V2H with power management ICs and VersaClock programmable clock generators to support power-efficient industrial robots and machinery. Its efficient design eliminates the requirement for an additional cooling fan, keeping the solution BOM and size down. These Winning Combinations are technically vetted system architectures from mutually compatible devices that work together seamlessly to bring an optimized, low-risk design for faster time to market. Renesas offers more than 400 Winning Combinations with a wide range of products from the Renesas portfolio to enable customers to speed up the design process and bring their products to market more quickly. They can be found at renesas.com/win.


Availability


The RZ/V2H is available today, along with the evaluation board and the AI SDK. More information about the device and development tools are available at: https://www.renesas.com/rzv2h.


About Renesas Electronics Corporation


Renesas Electronics Corporation (TSE: 6723) empowers a safer, smarter and more sustainable future where technology helps make our lives easier. The leading global provider of microcontrollers, Renesas combines our expertise in embedded processing, analog, power and connectivity to deliver complete semiconductor solutions. These Winning Combinations accelerate time to market for automotive, industrial, infrastructure and IoT applications, enabling billions of connected, intelligent devices that enhance the way people work and live. Learn more at renesas.com. Follow us on LinkedIn, Facebook, X, YouTube, and Instagram.


(Note 1) Visual SLAM (Simultaneous Localization and Mapping) is a technology that analyzes images captured by on-board cameras on robots and drones and estimates their own position while simultaneously creating detailed maps of their surroundings.


(Remarks) This DRP-AI technology uses a part of the results of work commissioned by the New Energy and Industrial Technology Development Organization (NEDO). Arm, Arm Cortex are trademarks or registered trademarks of Arm Limited in the EU and other countries. All names of products or services mentioned in this press release are trademarks or registered trademarks of their respective owners.


View source version on businesswire.com: https://www.businesswire.com/news/home/20240229979997/en/


Contacts


Media Contacts:
Americas
Akiko Ishiyama
Renesas Electronics Corporation
+ 1-408-887-9006
akiko.ishiyama.xf@renesas.com
 
  • Like
  • Thinking
  • Fire
Reactions: 17 users

FJ-215

Regular
to my understanding in Jan 2024 it was cited that only 2.7m was left by end of March 2024 then further to 12mil by end of Dec 2024, not 40mil.

Sydney – 3 January 2024 – BrainChip Holdings Ltd (ASX: BRN, OTCQX: BRCHF, BCHPY), the world’s first commercial producer of neuromorphic artificial intelligence IP, today announced that the company has entered into a third amendment to the previously announced Put Option Agreement (POA) with LDA Capital LLC (LDA Capital). The amendment will provide the company with access to capital, when necessary, until December 2024. The company is committed to meeting its obligation under the current agreement by drawing down the remaining $2.7M AUD which is currently underway and expected to conclude sometime in Q1 of 2024. Under this Third Amendment, the company has agreed to an additional Minimum Drawdown Amount of $12M to be drawn no later than 31 December 2024.
Hi MD,

We issued them 25M shares for the last call back in December. The 40M shares is for the next call and will be issued by the end of this month. That does mean there will be a call, only that we have to transfer the shares.
 
  • Like
Reactions: 3 users

jtardif999

Regular
Actually it looks like Competitor 1 is Intel, if the previous chart is anything to go by. How come Qualcomm has never been on any of our competitor charts?


View attachment 58152
Earlier charts prior to about 2018 showed Qualcomm as a competitor. I’ve often wondered whether that was because they were no longer considered a competitor after this point. But there’s no indication that we can find so far in their tech to indicate that we are working with them?
 
  • Like
  • Thinking
Reactions: 3 users

Esq.111

Fascinatingly Intuitive.
Morning Chippers ,

Shaping up to be a cracker of a day.

Nasdaq, closed at two year high.

Nasdaq futures , up 0.88%

Philadelphia Semiconductor Index , SOX , up 2.7%

NVIDIA, up 1.87%
ARM , up 4.2%
Microchip, up 2.38%
On Semi , up 3.20%

Revised Polly Rating on BRN, $5.32

Macaw Photos, Download The BEST Free Macaw Stock Photos & HD Images


Regards,
Esq.
 
Last edited:
  • Like
  • Fire
  • Love
Reactions: 48 users

Bravo

If ARM was an arm, BRN would be its biceps💪!
Qualcomm confirms Snapdragon 8 Gen 4 coming in October

MWC has produced a lot of buzz for the upcoming year’s worth of announcements from various companies. One such prospect is Qualcomm’s upcoming Snapdragon 8 Gen 4, the company confirmed would be coming in October.


Qualcomm and other chip manufacturers have started to shift focus to a more AI-friendly future. That means that most phones and devices released within the next few years will exponentially ramp up their capabilities in handling onboard AI processes.


Qualcomm has done well in developing SoCs with capable NPUs that give us a glimpse into what smartphones and other devices can handle. Of course, it isn’t perfect, and phones like the Galaxy S24 Ultra show us that. AI is inherently limited right now, as limiting as the hardware that powers it.


According to a new post from Snapdragon UK’s Twitter/X account, CMO Don McGuire let some information slip regarding the company’s net SoC release. According to the video, Qualcomm will soon introduce the Snapdragon 8 Gen 4, powered by an Oryon CPU and an updated neural processing engine. It seems that the SoC will be announced sometime in October.

None of this is groundbreaking, but it seems to be the first time we’ve heard anyone from the company mention the expected Snapdragon 8 Gen 4 by name. It also doesn’t come as a shock that the company is continuing innovation on the NPU front, as that’s what will be make or break for the company in the next few years.


We likely won’t have further details on the 8 Gen 4 until it gets closer to the October launch date. Even then, we won’t see devices until possibly a month or two after that.

Thanks for posting @Tothemoon24. I'll eat my sneakers if Qualcomm's updated NPU doesn't incorporate AKIDA.

Screenshot 2024-03-01 at 9.31.27 am.png
 
  • Like
  • Fire
  • Thinking
Reactions: 36 users

Learning

Learning to the Top 🕵‍♂️
  • Like
  • Fire
  • Love
Reactions: 19 users

Shadow59

Regular
Morning Chippers ,

Shaping up to be a cracker of a day.

Nasdaq, closed at two year high.

Nasdaq futures , up 0.88%

Philadelphia Semiconductor Index , SOX , up 2.7%

NVIDIA, up 1.87%
ARM , up 4.2%
Microchip, up 2.38%
On Semi , up 3.20%

Revised Polly Rating on BRN, $5.32

Macaw Photos, Download The BEST Free Macaw Stock Photos & HD Images


Regards,
Esq.
Your Polly Rating has so much more meaning than the Morningstar Rating
 
  • Haha
  • Like
Reactions: 18 users

Terroni2105

Founding Member
Perhaps there’s a working connection going on here with our partner

View attachment 58216
You could be onto something Tothemoon, afterall there was the recent comment about putting something out from Teksun that is 'intriguing' (if memory serves me correctly).
 
  • Like
  • Fire
  • Love
Reactions: 13 users
to my understanding in Jan 2024 it was cited that only 2.7m was left by end of March 2024 then further to 12mil by end of Dec 2024, not 40mil.

Sydney – 3 January 2024 – BrainChip Holdings Ltd (ASX: BRN, OTCQX: BRCHF, BCHPY), the world’s first commercial producer of neuromorphic artificial intelligence IP, today announced that the company has entered into a third amendment to the previously announced Put Option Agreement (POA) with LDA Capital LLC (LDA Capital). The amendment will provide the company with access to capital, when necessary, until December 2024. The company is committed to meeting its obligation under the current agreement by drawing down the remaining $2.7M AUD which is currently underway and expected to conclude sometime in Q1 of 2024. Under this Third Amendment, the company has agreed to an additional Minimum Drawdown Amount of $12M to be drawn no later than 31 December 2024.
40M share @30c =$12M
 
  • Like
Reactions: 3 users
Thanks for posting @Tothemoon24. I'll eat my sneakers if Qualcomm's updated NPU doesn't incorporate AKIDA.

View attachment 58218
Hi Bravo
Where do they say it does unconnected on chip continuous or one or few shot learning?
My opinion only DYOR
Fact Finder
 
  • Like
  • Fire
Reactions: 5 users

Damo4

Regular
 
  • Like
  • Fire
  • Love
Reactions: 25 users

7für7

Top 20
So far ahead of the time. Walking around with a mobile phone, true science fiction right there.



View attachment 58214

The Portable Cone of Silence.......
On this picture you can clearly see that not always the best product will survive… 🫵
 
  • Haha
  • Like
Reactions: 6 users

Diogenese

Top 20
Arcelik was mentioned by ARM a while ago. They make house hold appliances and are partnered with ARM.

I remember specifically making fun of the name 😅

... while I showed commendable restraint by declaring my intention not to do so.
 
  • Haha
  • Like
  • Fire
Reactions: 11 users

Bravo

If ARM was an arm, BRN would be its biceps💪!
Hi Bravo
Where do they say it does unconnected on chip continuous or one or few shot learning?
My opinion only DYOR
Fact Finder
Hi Fact Finder,

There was no information given other than it would be an updated NPU.

But watching the interview yesterday with Ziad Ashgar (senior vice president of product management and head of AI Technology at Qualcomm Technologies Inc)., he said that Qualcomm are preparing for their next gen which will have a lot more techniques, models, capabilities and use cases. He also discussed throughout the interview use cases which I thought would require continuous learning, in particular when he discussed being able to personalize information and predict certain things.

I have also noticed that there seems to be an adoption of similar language (i.e. hybrid edge, hybrid AI) between BrainChip and Qualcomm and time will tell whether this means anything or not. Yesterday Ziad said "We're calling this the hybrid AI approach".

So I'm hopeful, if nothing else.


Screenshot 2024-03-01 at 9.49.30 am.png
 
  • Like
  • Love
  • Fire
Reactions: 57 users
Hi Fact Finder,

There was no information given other than it would be an updated NPU.

But watching the interview yesterday with Ziad Ashgar (senior vice president of product management and head of AI Technology at Qualcomm Technologies Inc)., he said that Qualcomm are preparing for their next gen which will have a lot more techniques, models, capabilities and use cases. He also discussed throughout the interview use cases which I thought would require continuous learning, in particular when he discussed being able to personalize information and predict certain things.

I have also noticed that there seems to be an adoption of similar language (i.e. hybrid edge, hybrid AI) between BrainChip and Qualcomm and time will tell whether this means anything or not. Yesterday Ziad said "We're calling this the hybrid AI approach".

So I'm hopeful, if nothing else.


View attachment 58226
Hi Bravo
It is the shoe eating bit based on hope alone that worries me most.

Fact Finder
 
  • Haha
Reactions: 22 users
Top Bottom