BRN Discussion Ongoing

Frangipani

Top 20


Sadly, some - if not all - of those humanoid robots (aka Universal Workers) may have actually ended up in storage - lifeless reminders of those halcyon days, packed up in moving boxes…

Here is another (much longer) video, dated June 30, 2022, titled Giant.AI Robotics Lab Tour with Robert Scoble and CEO Adrian Kaehler.





Undoubtedly fascinating to watch… First and foremost, however, I would like to draw your attention to the two comments underneath: the first poster happens to wonder whether Brainchip is on Giant AI’s radar at all, and the second one alludes to the company’s soon-after-this-video-recording-to-be-met fate!


1B74A56A-5418-47EE-84B3-62FC03E8D86A.jpeg



Giant AI’s founder and CEO at the time, Adrian Kaehler, has a truly impressive CV - listen to him being introduced right at the start of the video or have a look at his (not quite up-to-date) Wikipedia page here:

F8ADAFB4-1DA8-4190-B33C-7026D1033A96.jpeg


According to his LinkedIn profile, Adrian Kaehler left Giant AI in August 2022 to become CEO of EDEXAI (which is still in stealth mode as to date) in September 2022. That timeline aligns with the comment above about the apparent demise of the company (last paycheck in July).

So what happened to Giant AI, then? Did those humanoid robots eventually become sentient, join a trade union (since they are also known as “Universal Workers”), rebel against their human inventors and operators, kick them out Animal Farm-style and take over the company? 🤖

Well, while that was obviously rather unlikely in the year 2022, I think I may have found a Russian connection of a different kind, after all. (Some of you may recall that George Orwell allegorised the Russian Revolution of 1917 in his short novel.)

ED305508-F3F5-4D47-9543-609FD8FAEB53.jpeg





80605191-5E5E-45EF-8C1B-83CCB8730C1A.jpeg




6B0C4C3E-57C9-45B0-84D3-6BC534B70509.jpeg


3385ECC0-E98B-423F-983C-BD3FF8B30286.jpeg


I happened to notice that the first five names in Kaehler’s LinkedIn profile listed under “Recommendations Received” all sounded Russian, which I sensed was more than mere coincidence, and thus had a closer look at their profiles. Bingo! All five of them, computer vision resp. ML engineers, had worked for Giant AI after graduating from Russian universities, and the first one had even set up a subsidiary in Saint Petersburg (the original one in Russia, not the one in Florida 😉).

So my educated guess is that the sanctions against Russia in the wake of Putin’s invasion of Ukraine could possibly have something to do with Giant AI’s demise (or hibernation?)…

15FD627D-5439-4E12-A867-F9388ABB3FE8.jpeg
 
  • Like
  • Fire
  • Love
Reactions: 16 users
This looks interesting:

webicon_green.png
Autonomous monitoring of traffic, rail, and industrial noise using acoustic vector beamformers based on 3D MEMS accelerometers

J Waite, D Dall'Osto, C McCubbin - INTER-NOISE and NOISE …, 2023 - ingentaconnect.com
… with an Akida neural network processor from BrainChip. This is presently used for fusing … 100 Hz to 2 kHz range) as well as impulsivenoise event detection and localization. The system …

Home / INTER-NOISE and NOISE-CON Congress and Conference Proceedings, InterNoise23, Chiba, Japan, pages 1995-2994

Autonomous monitoring of traffic, rail, and industrial noise using acoustic vector beamformers based on 3D MEMS accelerometers​

Buy Article:​

$15.00 + tax(Refund Policy)


Authors: Waite, Jim 1 ; Dall'Osto, David 2 ; McCubbin, Callum 1 ;
Source: INTER-NOISE and NOISE-CON Congress and Conference Proceedings, InterNoise23, Chiba, Japan, pages 1995-2994, pp. 2124-2132(9)
Publisher: Institute of Noise Control Engineering
DOI:
webicon_green.png
https://doi.org/10.3397/IN_2023_0312


webicon_green.png



Document Type: Research Article
Affiliations: 1: AIVS Inc 2: Applied Physics Laboratory, University of Washington
Publication date: 30 November 2023
Fully unattended acoustic monitoring has been hindered by the need to automatically discriminate specific sources from overall noise levels at a measurement location, even if that noise is very close in proximity. Existing 3D microphone-based acoustic intensity or camera solutions are unwieldy and expensive for real-time deployments. A new system has been developed for autonomously monitoring noise levels in transportation and industrial settings, managed within an IoT network. Each measurement node has one or two Acoustic Real-time Event Sensors (ARES) and a beamformer algorithm using 3D MEMS accelerometer-enabled Acoustic Vector Sensing (AVS) technology. Beamforming enables the system to focus on specific areas or sources of noise, delivering more precise monitoring and identification of noise sources, useful for noise reduction efforts and compliance with noise regulations. Deploying 3D accelerometers, rather than microphone arrays, in the beamformer provides improved system performance and environmental protection, with reductions in array size, cost, and unwanted sidelobes. ARES beamformer array apertures occupy just 1 cm for a single sensor, or 13 cm for 2 sensors, and can distinguish sources in frequencies from 50 to 2 kHz with excellent angular resolution, in real-time. Example traffic and rail noise applications are presented.”


webicon_gray.png
https://www.aivs.us/

Very interesting company headed by Jim Waite and also closely aligned with the US Army Research Lab so more secret squirrel business.

Just one more of the hundreds of companies using AKIDA as mentioned by Rob Telson. Quite a large number still to expose. How many more do we need to capture just one percent of Kathy Woods trillion dollar Ai market prediction?

My opinion only DYOR
Fact Finder
 
  • Like
  • Love
  • Fire
Reactions: 57 users

TheDrooben

Pretty Pretty Pretty Pretty Good
Someone's hungry......
 
  • Like
  • Fire
Reactions: 12 users

Esq.111

Fascinatingly Intuitive.
Hope we are all strapped in.
Shaking Up Conventional Bubbly Wisdom! -
Esq.
 
  • Like
  • Love
  • Fire
Reactions: 29 users

buena suerte :-)

BOB Bank of Brainchip
  • Like
  • Fire
  • Love
Reactions: 27 users

Bravo

If ARM was an arm, BRN would be its biceps💪!
However, in a Secret Santa, some more interesting news / developments :)

According to a paper just released a couple of days ago (not peer reviewed as yet) it appears some Snr Researchers over at Ericsson have been playing with Akida and "for instance, to demonstrate the feasibility of AI-enabled ZE-IoT, we have developed a prototype of a solar-powered AI-enabled ZE-IoT camera device with neuromorphic computing."

My question would be is this something off their own back or do we have a hand in the background somewhere as well :unsure:


Towards 6G Zero-Energy Internet of Things:
Standards, Trends, and Recent Results
  • December 2023


View attachment 52677 View attachment 52678
Hi FMF,

I wonder if Peter Van Der Made was referring to a hand-held solar powered camera when he said at Stocks Down Under’s Semiconductor Conference on 30 November 2021:

"We also priced the chip for use in hand-held solar-powered equipment. So that at the [inaudible 00:14:01] at the dollar store for a chip, so we priced this chip at a very competitive level, somewhere between $15 and $25 in quantities. Other point is real-time learning. We do real-time learning, which is unique in the market."

thinking-hard.gif
 
  • Like
  • Love
Reactions: 15 users

Bravo

If ARM was an arm, BRN would be its biceps💪!
what-just-happened-whats-up.gif




Sh*t! I better finish scrubbing the rust converter off the spa bath!
 
  • Haha
  • Like
  • Love
Reactions: 28 users
What's goin' on 'ere then?

Big bites!
 
  • Like
  • Fire
Reactions: 6 users

Bravo

If ARM was an arm, BRN would be its biceps💪!

Stop dishonest practices on the Australian Stock Exchange and demand a Royal Commission.


Sign this petition! (y)



 
  • Like
  • Love
  • Fire
Reactions: 21 users

Diogenese

Top 20
I have just been communing with the muse about Rain AI's patented analog random nanowire neuron.

US10430493B1 Systems and methods for efficient matrix multiplication 20180405

1707184497930.png
1707184525135.png



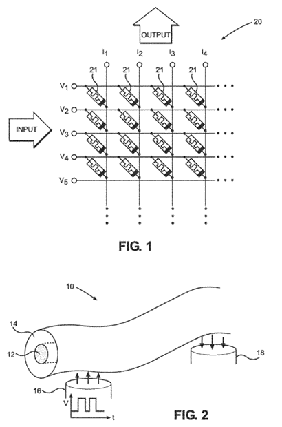
[0056] FIG. 3 illustrates a diagram of a sparse vector-matrix multiplication (SVMM) engine 22 . The SVMM engine 22 includes a silicon substrate 24 , control circuitry within a circuit layer 26 , for example, a complementary metal-oxide-semiconductor (CMOS) layer, a grid of electrodes 28 and a randomly formed mesh 30 of coaxial nanowires 10 deposited on top of the grid 28 . Mesh 30 is placed above or formed on top of the electrode grid 28 , providing physical contact between the mesh 30 and the top of electrode grid 28 . Alternatively, the electrodes of the grid 28 can be grown through the mesh 30 as pillars of metal. The coaxial nanowires 10 deposited randomly on top of the electrodes of the grid 28 can provide electrical connections between the electrodes that they contact. Consequently, the coaxial nanowires 10 sparsely connect the electrodes of the grid 28 . The strength of the electrical connections between the electrodes can be modulated based on increasing or decreasing the resistances of the coaxial nanowires 10.
...
[0059] In various applications, the resistances formed at the intersection of the electrodes of the grid 28 and the mesh 30 can be adjusted by tuning or fitting to known sets of input/output pairs until a useful matrix of conductances is formed.*

This is similar to sculpting, where you start with a big rock and chip away all the bits that don't look like a naked lady.

The nanowires have conductive offshoots connecting the insulated wire with the external electrodes.

The inventor apparently was trying to emulate the structure of the human brain more closely than the standard analog neuron, but I think he confused complexity with randomness. The human brain's interconnexion of neurons and synapses is indeed complex, but it is not random. It is arranged in accordance with DNA code and the synaptic connexions, leaving aside the original pre-wired connexions, are formed in response to external data inputs from eyes, ears, nose, tongue ...

Given that the human brain can memorize information virtually instantaneously, and given that it would not be possible for new synapses to grow and connect neurons in such a short time, a potential explanation is that the neurons are densely interconnected by a network of dormant synapse which are activated when new information is added to memory.

So each neuron has many more synaptic inputs than those actively involved in memory.

The next question is whether a neuron cn be involved in the memory of more than one item. I would guess that neurons can be involved in memorizing more than one item otherwise brain overload would be a real thing. That would mean that, to remember a first object, a first group of synapses of the neuron would need to be activated, and to remember a second object, a second group of synapses would need to be activated.

The synaptic weights (ON/OFF or 0.1 to 1.0?) could determine which synapses are involved in recognizing the input data spikes.

Well, the point is Rain sought to make sparse random neuronal interconnexions, whereas wetware is both organized and densely interconnected.

So, the analog system of the Rain patents, on which they raised millions, including a promise from Sam Altman, is a system which may not work.

Indeed, Rain now talks about a digital system which uses MACs.

https://rain.ai/approach
AI workloads possess extraordinary compute and memory demands, and they are often limited by legacy computer architectures. Rain AI is pioneering the Digital In-Memory Computing (D-IMC) paradigm to address these inefficiencies to refine AI processing, data movement and data storage.
Unlike traditional In-Memory Computing designs, Rain AI’s proprietary D-IMC cores are scalable to high-volume production and support training and inference. When combined with Rain AI's propriety quantization algorithms, the accelerator maintains FP32 accuracy
.

Reaping the benefits of high-accuracy, AI-focused numerics in hardware remains a core challenge in AI training and inference. Rain AI’s block brain floating point scheme ensures no accuracy loss compared to FP32. The numerical formats are co-designed at the circuit level with our D-IMC core, leveraging the immense performance gains of optimized 4-bit and 8-bit matrix multiplication. Our flexible approach ensures broad applicability across diverse networks, setting a new standard in AI efficiency

It looks like their special sauce is plain old catchup.

* [#### this technique is known in the industry as FITUMI "fake-it-til-you-make-it" ####]
 
Last edited:
  • Like
  • Love
  • Haha
Reactions: 47 users
I have just been communing with the muse about Rain AI's patented analog random nanowire neuron.

US10430493B1 Systems and methods for efficient matrix multiplication 20180405

View attachment 56010 View attachment 56011


[0056] FIG. 3 illustrates a diagram of a sparse vector-matrix multiplication (SVMM) engine 22 . The SVMM engine 22 includes a silicon substrate 24 , control circuitry within a circuit layer 26 , for example, a complementary metal-oxide-semiconductor (CMOS) layer, a grid of electrodes 28 and a randomly formed mesh 30 of coaxial nanowires 10 deposited on top of the grid 28 . Mesh 30 is placed above or formed on top of the electrode grid 28 , providing physical contact between the mesh 30 and the top of electrode grid 28 . Alternatively, the electrodes of the grid 28 can be grown through the mesh 30 as pillars of metal. The coaxial nanowires 10 deposited randomly on top of the electrodes of the grid 28 can provide electrical connections between the electrodes that they contact. Consequently, the coaxial nanowires 10 sparsely connect the electrodes of the grid 28 . The strength of the electrical connections between the electrodes can be modulated based on increasing or decreasing the resistances of the coaxial nanowires 10.
...
[0059] In various applications, the resistances formed at the intersection of the electrodes of the grid 28 and the mesh 30 can be adjusted by tuning or fitting to known sets of input/output pairs until a useful matrix of conductances is formed.*

This is similar to sculpting, where you start with a big rock and chip away all the bits that don't look like a naked lady.

The nanowires have conductive offshoots connecting the insulated wire with the external electrodes.

The inventor apparently was trying to emulate the structure of the human brain more closely that the standard analog neuron, but I think he confused complexity with randomness. The human brain's interconnexion of neurons and synapses is indeed complex, but it is not random. It is arranged in accordance with DNA code and the synaptic connexions, leaving aside the original pre-wired connexions, are formed in response to external data inputs from eyes, ears, nose, tongue ...

Given that the human brain can memorize information virtually instantaneously, and given that it would not be possible for new synapses to grow and connect neurons in such a short time, a potential explanation is that the neurons are densely interconnected by a network of dormant synapse which are activated when new information is added to memory.

So each neuron has many more synaptic inputs than those actively involved in memory.

The next question is whether a neuron cn be involved in the memory of more than one item. I would guess that neurons can be involved in memorizing more than one item otherwise brain overload would be a real thing. That would mean that, to remember a first object, a first group of synapses of the neuron would need to be activated, and to remember a second object, a second group of synapses would need to be activated.

The synaptic weights (ON/OFF or 0.1 to 1.0?) could determine which synapses are involved in recognizing the input data spikes.

Well, the point is Rain sought to make sparse random neuronal interconnexions, whereas wetware is both organized and densely interconnected.

So, the analog system of the Rain patents, on which they raised millions, including a promise from Sam Altman, is a system which may not work.

Indeed, Rain now talks about a digital system which uses MACs.

https://rain.ai/approach
AI workloads possess extraordinary compute and memory demands, and they are often limited by legacy computer architectures. Rain AI is pioneering the Digital In-Memory Computing (D-IMC) paradigm to address these inefficiencies to refine AI processing, data movement and data storage.
Unlike traditional In-Memory Computing designs, Rain AI’s proprietary D-IMC cores are scalable to high-volume production and support training and inference. When combined with Rain AI's propriety quantization algorithms, the accelerator maintains FP32 accuracy
.

Reaping the benefits of high-accuracy, AI-focused numerics in hardware remains a core challenge in AI training and inference. Rain AI’s block brain floating point scheme ensures no accuracy loss compared to FP32. The numerical formats are co-designed at the circuit level with our D-IMC core, leveraging the immense performance gains of optimized 4-bit and 8-bit matrix multiplication. Our flexible approach ensures broad applicability across diverse networks, setting a new standard in AI efficiency

It looks like their special sauce is plain old catchup.

* [#### this technique is known in the industry as FITUMI "fake-it-til-you-make-it" ####]
Hi Diogenese

Thanks.

I watched their first presentation and thought he looked shifty and was speaking in riddles unlike Peter van der Made, Anil Mankar and others.

My opinion only DYOR
Fact Finder
 
  • Like
Reactions: 13 users

IloveLamp

Top 20
  • Like
  • Fire
  • Love
Reactions: 39 users

IloveLamp

Top 20
19c....

Let the fomo begin
 
  • Like
  • Fire
  • Haha
Reactions: 15 users

buena suerte :-)

BOB Bank of Brainchip
  • Like
  • Fire
Reactions: 13 users

buena suerte :-)

BOB Bank of Brainchip
  • Haha
  • Like
Reactions: 8 users
  • Like
Reactions: 1 users

Colorado23

Regular
Morning Chippers ,

Ground crew have given the green light....
I'm expecting something today..... not sure what , but expecting nonetheless.



Regards,
Esq.

Can you call this everyday esqy. It's a beautiful thing.
 
  • Like
  • Haha
  • Fire
Reactions: 12 users
Top Bottom