BRN Discussion Ongoing

Perhaps

Regular

Ultra-efficient machine learning transistor cuts AI energy use by 99%​


AI machine learning uses so much computing power and energy that it's typically done in the cloud. But a new microtransistor, 100X more efficient than the current tech, promises to bring new levels of intelligence to mobile and wearable devices.


A competitor it seems but its unclear when it goes on the market and likely only for mobile and wearable devices.
There are hundreds of university studies like this handling new technologies. It's nice to have a look at them to get an idea what might be possible in 10 years. Not more, not less, wouldn't call this competition.
 
  • Like
  • Thinking
  • Haha
Reactions: 11 users
Not only like you would I like to see at the very least 1 IP Lic' Agt penned before Xmas 20223, but I would also like to see that this upcoming 4C and the next 4C after that for the Dec Quarter, showing signs of marked recovery and financial engagements... otherwise imo things will not be looking too good for the next AGM .
I would say by the nxt AGM the companies future will be sorted with deals and a slow stream of income, I feel we have hit the bottom
 
As the share price languishes the following question might reasonably be asked:

If a blind poll of genuine investors were to be presented with just the following eleven facts would they conclude the target company was oversold at 19 cents a share (giving a market cap of $340 million) when the addressable market for their technology is in the billions of dollars?

FACT ONE

TATA ELXSI a member of the TATA GROUP is a company with over 12,000 employees and is an announced partner of the target company for the stated purpose of driving the adoption of the target company’s technology into medical and industrial use cases.

FACT TWO

TATA GROUP is a global company with over 600,000 employees across 100 subsidiaries and boasting a research arm TATA Consulting Services with over 10,000 employees which has been investigating the target company’s technology since at least 2019 publilshing papers and engaging in live demonstrations of the target companies technology and recently making public the following comparison of the target companies technology with Nvidia Jetson TX2:

Abstract:

Emergence of small satellites for earth observation missions has opened up new horizons for space research but at the same time posed newer challenges of limited power and compute resource arising out of the size & weight constraints imposed by these satellites. The currently evolving neuromorphic computing paradigm shows promise in terms of energy efficiency and may possibly be exploited here. In this paper, we try to prove the applicability of neuromorphic computing for on-board data processing in satellites by creating a 2-stage hierarchical cloud cover detection application for multi-spectral earth observation images. We design and train a CNN and convert it into SNN using the CNN2SNN conversion toolkit of TARGET COMPANY'S neuromorphic platform. We achieve 95.46% accuracy while power consumption and latency are at least 35x and 3.4x more efficient respectively in stage-1 (and 230x & 7x in stage-2) compared to the equivalent CNN running on Jetson TX2.

FACT THREE

This published research relates to the target companies first generation technology which has in the last ten months been advanced with the release of a next generation chip to show its versatility to be produced across different major foundries and a further generation technology IP has been recently released which is said to have increased the target company’s technology lead from about 3 years to over 5 years against all competitors.

FACT FOUR

The target company has a comprehensive PATENT portfolio of 17 granted patents including its technologies foundational patent with a further 30 filed patents awaiting approval at last report.

FACT FIVE

The target company has five quarters of cash runway and further guaranteed right to call on additional funds from LDA Capital under a put option.

FACT SIX

Multiple industry and government partnerships and at least 5 University research/teaching partnerships across the USA and Europe.

FACT SEVEN

Product coming to market from Renesas and VVDN during the next six months.

FACT EIGHT

A European aerospace and robotics company EDGX and an Australian aerospace robotics company ANT61 both utilising the target company’s technology in already developed prototypes with ANT61 having announced a first launch date of early 2024.

FACT NINE

A startup Circle 8 and a company AVID Group with research partnerships with the University of Technology Sydney and the CSIRO and the US Department of Environment has partnered with the Target Company to market an already prototyped Smart Bin for plastic recycling.

FACT TEN

Jean-Luc Chatelain, Global Chief Technology Officer at Accenture an admitted fan of neuromorphic computing has cited the Target Company’s latest IP describing it as ‘innovating in a big way to bring GenAi and LLM to the Edge with their 2nd generation platform.’

FACT ELEVEN

The Target Company does not stand alone in publicly proclaiming the advantages of its technology as highlighted by the following selection of quotes on the release of their 2nd generation platform:

“XXXXXX and its unique digital neuromorphic IP have been part of IFS’ Accelerator IP Alliance ecosystem since 2022,” said Suk Lee, Vice President of Design Ecosystem Development at IFS. “We are keen to see how the capabilities in XXXX’s latest generation offerings enable more compelling AI use cases at the edge” Suk Lee, VP Design Ecosystem Development, Intel Foundry Services

“Edge Impulse is thrilled to collaborate with XXXXXX and harness their ground breaking neuromorphic technology. XXXX’s 2nd generation platform adds TENNs and Vision Transformers to a strong neuromorphic foundation. That’s going to accelerate the demand for intelligent solutions. Our growing partnership is a testament to the immense potential of combining Edge Impulse’s advanced machine learning capabilities with XXXXXX’s innovative approach to computing. Together, we’re forging a path toward a more intelligent and efficient future,” said Zach Shelby, Co-Founder and CEO at Edge Impulse. Zach Shelby, Co-Founder and CEO, Edge Impulse

“XXXXXX has some exciting upcoming news and developments underway,” said Daniel Mandell, Director at VDC Research. “Their 2nd generation XXXX platform provides direct support for the intelligence chip market, which is exploding. IoT market opportunities are driving rapid change in our global technology ecosystem, and XXXXXX will help us get there.” Daniel Mandell, Director, VDC Research

“Integration of AI Accelerators, such as XXXXXX’s XXXX technology, has application for high-performance RF, including spectrum monitoring, low-latency links, distributed networking, AESA radar, and 5G base stations,” said John Shanton, CEO of Ipsolon Research, a leader in small form factor, low power SDR technology. John Shanton, CEO, Ipsolon Research

“Through our collaboration with XXXXXX, we are enabling the combination of SiFive’s RISC-V processor IP portfolio and XXXXXX’s 2nd generation XXXX neuromorophic IP to provide a power-efficient, high capability solution for AI processing on the Edge,” said Phil Dworsky, Global Head of Strategic Alliances at SiFive. “Deeply embedded applications can benefit from the combination of compact SiFive Essential™ processors with XXXXXX’s XXXX-E, efficient processors; more complex applications including object detection, robotics, and more can take advantage of SiFive X280 Intelligence™ AI Dataflow Processors tightly integrated with XXXXXX’s XXXX-S or XXXX-P neural processors.”
Phil Dworsky, Global Head of Strategic Alliances, SiFive

“Ai Labs is excited about the introduction of XXXXXX’s 2nd generation XXXX neuromorphic IP, which will support vision transformers and TENNs. This will enable high-end vision and multi-sensory capability devices to scale rapidly. Together, Ai Labs and XXXXXX will support our customers’ needs to address complex problems,” said Bhasker Rao, Founder of Ai Labs. “Improving development and deployment for industries such as manufacturing, oil and gas, power generation, and water treatment, preventing costly failures and reducing machine downtime.” Bhasker Rao, Founder, Ai Labs

“We see an increasing demand for real-time, on-device, intelligence in AI applications powered by our MCUs and the need to make sensors smarter for industrial and IoT devices,” said Roger Wendelken, Senior Vice President in Renesas’ IoT and Infrastructure Business Unit. “We licensed Akida neural processors because of their unique neuromorphic approach to bring hyper-efficient acceleration for today’s mainstream AI models at the edge. With the addition of advanced temporal convolution and vision transformers, we can see how low-power MCUs can revolutionize vision, perception, and predictive applications in a wide variety of markets like industrial and consumer IoT and personalized healthcare, just to name a few.”
Roger Wendelken, Senior Vice President IoT and Infrastructure Business Unit, Renesas

“We see a growing number of predictive industrial (including HVAC, motor control) or automotive (including fleet maintenance), building automation, remote digital health equipment and other AIoT applications use complex models with minimal impact to product BOM and need faster real-time performance at the Edge” said Nalin Balan, Head of Business Development at Reality ai, a Renesas company. “XXXXXX’s ability to efficiently handle streaming high frequency signal data, vision, and other advanced models at the edge can radically improve scale and timely delivery of intelligent services.” Nalin Balan, Head of Business Development, Reality.ai, a Renesas Company

“Advancements in AI require parallel advancements in on-device learning capabilities while simultaneously overcoming the challenges of efficiency, scalability, and latency,” said Richard Wawrzyniak, Principal Analyst at Semico Research. “XXXXXX has demonstrated the ability to create a truly intelligent edge with XXXX and moves the needle even more, in terms of how Edge AI solutions are developed and deployed. The benefits of on-chip AI from a performance and cost perspective are hard to deny.”

Richard Wawrzyniak, Principal Analyst, Semico Research XXXXXX’s cutting-edge neuromorphic technology is paving the way for the future of artificial intelligence, and Drexel University recognizes its immense potential to revolutionize numerous industries. We have experienced that neuromorphic compute is easy to use and addresses real-world applications today. We are proud to partner with XXXXXX and advancing their ground breaking technology, including TENNS and how it handles time series data, which is the basis to address a lot of complex problems and unlocking its full potential for the betterment of society,” said Anup Das, Associate Professor and Nagarajan Kandasamy, Interim Department Head of Electrical and Computer Engineering, Drexel University. Anup Das, Associate Professor, Drexel University

My opinion only so DYOR

FF
 
Last edited:
  • Like
  • Love
  • Fire
Reactions: 164 users
I get market index's weekly (+ daily) wrap via email and just reading this morning's and thought this is a pertinent infographic.

Not about us being in an apple product, just more a visual of how we may sit behind the scenes somewhere in someone's product sometime like these companies do.

They don't get seen by the end user and is only really the marketed "brand" the consumer is attached to but all these other companies get a slice of the consumer spend....like to see our slices start appearing soon though.

868d12d0-8b01-65b2-00ec-89c725e672c7.jpg



It’s easy to think about the iPhone as an Apple product. But if you peek inside, you’ll find a massive ecosystem of chip manufacturers working together.

The above infographic by Quartr breaks down the key chip suppliers for Apple’s iPhone 15 Pro.

While only a dozen or so companies are listed above, there are literally hundreds of players involved behind the scenes to not only supply parts but also licensing agreements


 
  • Like
  • Fire
  • Love
Reactions: 73 users

Vladsblood

Regular
As the share price languishes the following question might reasonably be asked:

If a blind poll of genuine investors were to be presented with just the following eleven facts would they conclude the target company was oversold at 19 cents a share (giving a market cap of $340 million) when the addressable market for their technology is in the billions of dollars?

FACT ONE

TATA ELXSI a member of the TATA GROUP is a company with over 12,000 employees and is an announced partner of the target company for the stated purpose of driving the adoption of the target company’s technology into medical and industrial use cases.

FACT TWO

TATA GROUP is a global company with over 600,000 employees across 100 subsidiaries and boasting a research arm TATA Consulting Services with over 10,000 employees which has been investigating the target company’s technology since at least 2019 publilshing papers and engaging in live demonstrations of the target companies technology and recently making public the following comparison of the target companies technology with Nvidia Jetson TX2:

Abstract:

Emergence of small satellites for earth observation missions has opened up new horizons for space research but at the same time posed newer challenges of limited power and compute resource arising out of the size & weight constraints imposed by these satellites. The currently evolving neuromorphic computing paradigm shows promise in terms of energy efficiency and may possibly be exploited here. In this paper, we try to prove the applicability of neuromorphic computing for on-board data processing in satellites by creating a 2-stage hierarchical cloud cover detection application for multi-spectral earth observation images. We design and train a CNN and convert it into SNN using the CNN2SNN conversion toolkit of TARGET COMPANY'S neuromorphic platform. We achieve 95.46% accuracy while power consumption and latency are at least 35x and 3.4x more efficient respectively in stage-1 (and 230x & 7x in stage-2) compared to the equivalent CNN running on Jetson TX2.

FACT THREE

This published research relates to the target companies first generation technology which has in the last ten months been advanced with the release of a next generation chip to show its versatility to be produced across different major foundries and a further generation technology IP has been recently released which is said to have increased the target company’s technology lead from about 3 years to over 5 years against all competitors.

FACT FOUR

The target company has a comprehensive PATENT portfolio of 17 granted patents including its technologies foundational patent with a further 30 filed patents awaiting approval at last report.

FACT FIVE

The target company has five quarters of cash runway and further guaranteed right to call on additional funds from LDA Capital under a put option.

FACT SIX

Multiple industry and government partnerships and at least 5 University research/teaching partnerships across the USA and Europe.

FACT SEVEN

Product coming to market from Renesas and VVDN during the next six months.

FACT EIGHT

A European aerospace and robotics company EDGX and an Australian aerospace robotics company ANT61 both utilising the target company’s technology in already developed prototypes with ANT61 having announced a first launch date of early 2024.

FACT NINE

A startup Circle 8 and a company AVID Group with research partnerships with the University of Technology Sydney and the CSIRO and the US Department of Environment has partnered with the Target Company to market an already prototyped Smart Bin for plastic recycling.

FACT TEN

Jean-Luc Chatelain, Chief Technology Officer at Accenture an admitted fan of neuromorphic computing has cited the Target Company’s latest IP describing it as ‘innovating in a big way to bring GenAi and LLM to the Edge with their 2nd generation platform.’

FACT ELEVEN

The Target Company does not stand alone in publicly proclaiming the advantages of its technology as highlighted by the following selection of quotes on the release of their 2nd generation platform:

“XXXXXX and its unique digital neuromorphic IP have been part of IFS’ Accelerator IP Alliance ecosystem since 2022,” said Suk Lee, Vice President of Design Ecosystem Development at IFS. “We are keen to see how the capabilities in XXXX’s latest generation offerings enable more compelling AI use cases at the edge” Suk Lee, VP Design Ecosystem Development, Intel Foundry Services

“Edge Impulse is thrilled to collaborate with XXXXXX and harness their ground breaking neuromorphic technology. XXXX’s 2nd generation platform adds TENNs and Vision Transformers to a strong neuromorphic foundation. That’s going to accelerate the demand for intelligent solutions. Our growing partnership is a testament to the immense potential of combining Edge Impulse’s advanced machine learning capabilities with XXXXXX’s innovative approach to computing. Together, we’re forging a path toward a more intelligent and efficient future,” said Zach Shelby, Co-Founder and CEO at Edge Impulse. Zach Shelby, Co-Founder and CEO, Edge Impulse

“XXXXXX has some exciting upcoming news and developments underway,” said Daniel Mandell, Director at VDC Research. “Their 2nd generation XXXX platform provides direct support for the intelligence chip market, which is exploding. IoT market opportunities are driving rapid change in our global technology ecosystem, and XXXXXX will help us get there.” Daniel Mandell, Director, VDC Research

“Integration of AI Accelerators, such as XXXXXX’s XXXX technology, has application for high-performance RF, including spectrum monitoring, low-latency links, distributed networking, AESA radar, and 5G base stations,” said John Shanton, CEO of Ipsolon Research, a leader in small form factor, low power SDR technology. John Shanton, CEO, Ipsolon Research

“Through our collaboration with XXXXXX, we are enabling the combination of SiFive’s RISC-V processor IP portfolio and XXXXXX’s 2nd generation XXXX neuromorophic IP to provide a power-efficient, high capability solution for AI processing on the Edge,” said Phil Dworsky, Global Head of Strategic Alliances at SiFive. “Deeply embedded applications can benefit from the combination of compact SiFive Essential™ processors with XXXXXX’s XXXX-E, efficient processors; more complex applications including object detection, robotics, and more can take advantage of SiFive X280 Intelligence™ AI Dataflow Processors tightly integrated with XXXXXX’s XXXX-S or XXXX-P neural processors.”
Phil Dworsky, Global Head of Strategic Alliances, SiFive

“Ai Labs is excited about the introduction of XXXXXX’s 2nd generation XXXX neuromorphic IP, which will support vision transformers and TENNs. This will enable high-end vision and multi-sensory capability devices to scale rapidly. Together, Ai Labs and XXXXXX will support our customers’ needs to address complex problems,” said Bhasker Rao, Founder of Ai Labs. “Improving development and deployment for industries such as manufacturing, oil and gas, power generation, and water treatment, preventing costly failures and reducing machine downtime.” Bhasker Rao, Founder, Ai Labs

“We see an increasing demand for real-time, on-device, intelligence in AI applications powered by our MCUs and the need to make sensors smarter for industrial and IoT devices,” said Roger Wendelken, Senior Vice President in Renesas’ IoT and Infrastructure Business Unit. “We licensed Akida neural processors because of their unique neuromorphic approach to bring hyper-efficient acceleration for today’s mainstream AI models at the edge. With the addition of advanced temporal convolution and vision transformers, we can see how low-power MCUs can revolutionize vision, perception, and predictive applications in a wide variety of markets like industrial and consumer IoT and personalized healthcare, just to name a few.”
Roger Wendelken, Senior Vice President IoT and Infrastructure Business Unit, Renesas

“We see a growing number of predictive industrial (including HVAC, motor control) or automotive (including fleet maintenance), building automation, remote digital health equipment and other AIoT applications use complex models with minimal impact to product BOM and need faster real-time performance at the Edge” said Nalin Balan, Head of Business Development at Reality ai, a Renesas company. “XXXXXX’s ability to efficiently handle streaming high frequency signal data, vision, and other advanced models at the edge can radically improve scale and timely delivery of intelligent services.” Nalin Balan, Head of Business Development, Reality.ai, a Renesas Company

“Advancements in AI require parallel advancements in on-device learning capabilities while simultaneously overcoming the challenges of efficiency, scalability, and latency,” said Richard Wawrzyniak, Principal Analyst at Semico Research. “XXXXXX has demonstrated the ability to create a truly intelligent edge with XXXX and moves the needle even more, in terms of how Edge AI solutions are developed and deployed. The benefits of on-chip AI from a performance and cost perspective are hard to deny.”

Richard Wawrzyniak, Principal Analyst, Semico Research XXXXXX’s cutting-edge neuromorphic technology is paving the way for the future of artificial intelligence, and Drexel University recognizes its immense potential to revolutionize numerous industries. We have experienced that neuromorphic compute is easy to use and addresses real-world applications today. We are proud to partner with XXXXXX and advancing their ground breaking technology, including TENNS and how it handles time series data, which is the basis to address a lot of complex problems and unlocking its full potential for the betterment of society,” said Anup Das, Associate Professor and Nagarajan Kandasamy, Interim Department Head of Electrical and Computer Engineering, Drexel University. Anup Das, Associate Professor, Drexel University

My opinion only so DYOR

FF
Great to see you back on the field Fact Finder. Vlad
 
  • Like
  • Fire
Reactions: 23 users

charles2

Regular
As the share price languishes the following question might reasonably be asked:

If a blind poll of genuine investors were to be presented with just the following eleven facts would they conclude the target company was oversold at 19 cents a share (giving a market cap of $340 million) when the addressable market for their technology is in the billions of dollars?

FACT ONE

TATA ELXSI a member of the TATA GROUP is a company with over 12,000 employees and is an announced partner of the target company for the stated purpose of driving the adoption of the target company’s technology into medical and industrial use cases.

FACT TWO

TATA GROUP is a global company with over 600,000 employees across 100 subsidiaries and boasting a research arm TATA Consulting Services with over 10,000 employees which has been investigating the target company’s technology since at least 2019 publilshing papers and engaging in live demonstrations of the target companies technology and recently making public the following comparison of the target companies technology with Nvidia Jetson TX2:

Abstract:

Emergence of small satellites for earth observation missions has opened up new horizons for space research but at the same time posed newer challenges of limited power and compute resource arising out of the size & weight constraints imposed by these satellites. The currently evolving neuromorphic computing paradigm shows promise in terms of energy efficiency and may possibly be exploited here. In this paper, we try to prove the applicability of neuromorphic computing for on-board data processing in satellites by creating a 2-stage hierarchical cloud cover detection application for multi-spectral earth observation images. We design and train a CNN and convert it into SNN using the CNN2SNN conversion toolkit of TARGET COMPANY'S neuromorphic platform. We achieve 95.46% accuracy while power consumption and latency are at least 35x and 3.4x more efficient respectively in stage-1 (and 230x & 7x in stage-2) compared to the equivalent CNN running on Jetson TX2.

FACT THREE

This published research relates to the target companies first generation technology which has in the last ten months been advanced with the release of a next generation chip to show its versatility to be produced across different major foundries and a further generation technology IP has been recently released which is said to have increased the target company’s technology lead from about 3 years to over 5 years against all competitors.

FACT FOUR

The target company has a comprehensive PATENT portfolio of 17 granted patents including its technologies foundational patent with a further 30 filed patents awaiting approval at last report.

FACT FIVE

The target company has five quarters of cash runway and further guaranteed right to call on additional funds from LDA Capital under a put option.

FACT SIX

Multiple industry and government partnerships and at least 5 University research/teaching partnerships across the USA and Europe.

FACT SEVEN

Product coming to market from Renesas and VVDN during the next six months.

FACT EIGHT

A European aerospace and robotics company EDGX and an Australian aerospace robotics company ANT61 both utilising the target company’s technology in already developed prototypes with ANT61 having announced a first launch date of early 2024.

FACT NINE

A startup Circle 8 and a company AVID Group with research partnerships with the University of Technology Sydney and the CSIRO and the US Department of Environment has partnered with the Target Company to market an already prototyped Smart Bin for plastic recycling.

FACT TEN

Jean-Luc Chatelain, Chief Technology Officer at Accenture an admitted fan of neuromorphic computing has cited the Target Company’s latest IP describing it as ‘innovating in a big way to bring GenAi and LLM to the Edge with their 2nd generation platform.’

FACT ELEVEN

The Target Company does not stand alone in publicly proclaiming the advantages of its technology as highlighted by the following selection of quotes on the release of their 2nd generation platform:

“XXXXXX and its unique digital neuromorphic IP have been part of IFS’ Accelerator IP Alliance ecosystem since 2022,” said Suk Lee, Vice President of Design Ecosystem Development at IFS. “We are keen to see how the capabilities in XXXX’s latest generation offerings enable more compelling AI use cases at the edge” Suk Lee, VP Design Ecosystem Development, Intel Foundry Services

“Edge Impulse is thrilled to collaborate with XXXXXX and harness their ground breaking neuromorphic technology. XXXX’s 2nd generation platform adds TENNs and Vision Transformers to a strong neuromorphic foundation. That’s going to accelerate the demand for intelligent solutions. Our growing partnership is a testament to the immense potential of combining Edge Impulse’s advanced machine learning capabilities with XXXXXX’s innovative approach to computing. Together, we’re forging a path toward a more intelligent and efficient future,” said Zach Shelby, Co-Founder and CEO at Edge Impulse. Zach Shelby, Co-Founder and CEO, Edge Impulse

“XXXXXX has some exciting upcoming news and developments underway,” said Daniel Mandell, Director at VDC Research. “Their 2nd generation XXXX platform provides direct support for the intelligence chip market, which is exploding. IoT market opportunities are driving rapid change in our global technology ecosystem, and XXXXXX will help us get there.” Daniel Mandell, Director, VDC Research

“Integration of AI Accelerators, such as XXXXXX’s XXXX technology, has application for high-performance RF, including spectrum monitoring, low-latency links, distributed networking, AESA radar, and 5G base stations,” said John Shanton, CEO of Ipsolon Research, a leader in small form factor, low power SDR technology. John Shanton, CEO, Ipsolon Research

“Through our collaboration with XXXXXX, we are enabling the combination of SiFive’s RISC-V processor IP portfolio and XXXXXX’s 2nd generation XXXX neuromorophic IP to provide a power-efficient, high capability solution for AI processing on the Edge,” said Phil Dworsky, Global Head of Strategic Alliances at SiFive. “Deeply embedded applications can benefit from the combination of compact SiFive Essential™ processors with XXXXXX’s XXXX-E, efficient processors; more complex applications including object detection, robotics, and more can take advantage of SiFive X280 Intelligence™ AI Dataflow Processors tightly integrated with XXXXXX’s XXXX-S or XXXX-P neural processors.”
Phil Dworsky, Global Head of Strategic Alliances, SiFive

“Ai Labs is excited about the introduction of XXXXXX’s 2nd generation XXXX neuromorphic IP, which will support vision transformers and TENNs. This will enable high-end vision and multi-sensory capability devices to scale rapidly. Together, Ai Labs and XXXXXX will support our customers’ needs to address complex problems,” said Bhasker Rao, Founder of Ai Labs. “Improving development and deployment for industries such as manufacturing, oil and gas, power generation, and water treatment, preventing costly failures and reducing machine downtime.” Bhasker Rao, Founder, Ai Labs

“We see an increasing demand for real-time, on-device, intelligence in AI applications powered by our MCUs and the need to make sensors smarter for industrial and IoT devices,” said Roger Wendelken, Senior Vice President in Renesas’ IoT and Infrastructure Business Unit. “We licensed Akida neural processors because of their unique neuromorphic approach to bring hyper-efficient acceleration for today’s mainstream AI models at the edge. With the addition of advanced temporal convolution and vision transformers, we can see how low-power MCUs can revolutionize vision, perception, and predictive applications in a wide variety of markets like industrial and consumer IoT and personalized healthcare, just to name a few.”
Roger Wendelken, Senior Vice President IoT and Infrastructure Business Unit, Renesas

“We see a growing number of predictive industrial (including HVAC, motor control) or automotive (including fleet maintenance), building automation, remote digital health equipment and other AIoT applications use complex models with minimal impact to product BOM and need faster real-time performance at the Edge” said Nalin Balan, Head of Business Development at Reality ai, a Renesas company. “XXXXXX’s ability to efficiently handle streaming high frequency signal data, vision, and other advanced models at the edge can radically improve scale and timely delivery of intelligent services.” Nalin Balan, Head of Business Development, Reality.ai, a Renesas Company

“Advancements in AI require parallel advancements in on-device learning capabilities while simultaneously overcoming the challenges of efficiency, scalability, and latency,” said Richard Wawrzyniak, Principal Analyst at Semico Research. “XXXXXX has demonstrated the ability to create a truly intelligent edge with XXXX and moves the needle even more, in terms of how Edge AI solutions are developed and deployed. The benefits of on-chip AI from a performance and cost perspective are hard to deny.”

Richard Wawrzyniak, Principal Analyst, Semico Research XXXXXX’s cutting-edge neuromorphic technology is paving the way for the future of artificial intelligence, and Drexel University recognizes its immense potential to revolutionize numerous industries. We have experienced that neuromorphic compute is easy to use and addresses real-world applications today. We are proud to partner with XXXXXX and advancing their ground breaking technology, including TENNS and how it handles time series data, which is the basis to address a lot of complex problems and unlocking its full potential for the betterment of society,” said Anup Das, Associate Professor and Nagarajan Kandasamy, Interim Department Head of Electrical and Computer Engineering, Drexel University. Anup Das, Associate Professor, Drexel University

My opinion only so DYOR

FF
XXXXXXXXXXXXXXXXXXXXXXXXXXXXXXXXXXXXXXXXX APPEARS TO BE DECIDEDLY UNDERXXXXXVALUED.


I rest my case.
 
  • Fire
  • Like
  • Love
Reactions: 21 users

Diogenese

Top 20

Ultra-efficient machine learning transistor cuts AI energy use by 99%​


AI machine learning uses so much computing power and energy that it's typically done in the cloud. But a new microtransistor, 100X more efficient than the current tech, promises to bring new levels of intelligence to mobile and wearable devices.


A competitor it seems but its unclear when it goes on the market and likely only for mobile and wearable devices.
Hi Guzzi,

As I expected, this is an analog memristor-based device:

WO2019125994A1 MULTI-TERMINAL MEMTRANSISTORS, FABRICATING METHODS AND APPLICATIONS OF SAME 20171218


1697328168432.png


One aspect of the invention relates to a multi-terminal memtransistor. The memtransistor includes a substrate having a first surface and an opposite, second surface, a polycrystalline monolayer film formed of an atomically thin material on the first surface of the substrate, an electrode array having a plurality of electrodes spatial-apart formed on the polycrystalline monolayer film such that each pair of electrodes defines a channel in the polycrystalline monolayer film therebetween, and a gate electrode formed on the second surface of the substrate and capacitively coupled with the channel. The polycrystalline monolayer film contains grains defining a plurality of grain boundaries thereof. The multi-terminal memtransistor operates much like a neuron by performing both memory and information processing, and can be a foundational circuit element for new forms of neuromorphic computing.

It is known that the long-established memristors suffer from manufacturing variations which affect their accuracy, so it remains to be seen how they go with new materials and a new manufacturing process. Using monolayers may help improve manufacturing consistency.

Late edition:

But it seems that it could be one step forward ...

WO2016134011A1 GATE-TUNABLE ATOMICALLY-THIN MEMRISTORS AND METHODS FOR PREPARING SAME AND APPLICATIONS OF SAME 20150220

1697329311124.png


One of the objectives of this invention is to provide a new class of memristors based on grain boundaries (GBs) in atomically thin film devices. Specifically, the resistance of grain boundaries emerging from contacts can be easily and repeatedly modulated, with switching ratios up to about 10 and dynamic negative differential resistance. Furthermore, the atomically thin nature of the thin film enables tuning of the SET voltage by a third gate terminal in a field-effect geometry, providing new functionality not observed in other known memristive devices.

This is a fairly radical departure from the bulk material memristors.
 
Last edited:
  • Like
  • Thinking
  • Love
Reactions: 27 users

Bravo

If ARM was an arm, BRN would be its biceps💪!
Howdy All,

I find this very interesting!

The US Space Force has paused its use of ChatGPT temporarily and its office has "formed a generative AI task force with other Pentagon offices to mull ways to use the technology in a "responsible and strategic manner."

While the Space Force is a separate and distinct branch of the armed services, it is organized under the Department of the Air Force in a manner very similar to how the Marine Corps is organized under the Department of the Navy. What's interesting here is that The Air Force Research Laboratory is the primary scientific research and development center for the Department of the Air Force.

AND...we know that Information Systems Laboratories, Inc. (ISL) is developing an AI-based radar research solution for the Air Force Research Laboratory (AFRL) based on its Akida™ neural networking processor.

So, I'll be very interested to see whether BrainChip can provide solutions to allow for ChatGPT to be utilised in such a way that can protect the Space Force's data!!!

Let's not forget what Shayamal Anadkat (Applied AI @ OpenAI) wrote about BrainChip in his article published in June 2023:

"Edge AI is becoming essential due to its capability for real-time data processing, improved privacy, and enhanced security. It is becoming increasingly significant across various verticals due to the proliferation of devices with numerous sensors producing vast amounts of data. The complexity and resource demands of foundational models pose deployment challenges on edge devices. To counter this, the focus will shift toward specialized hardware, optimization techniques, and neural processor architectures. Being able to run optimized versions of foundational models at the edge/on-device will open up endless possibilities. Recognizing these emerging requirements, BrainChip has stepped forward with innovative solutions like the Akida processor, an advanced neural processing system for edge AI. It’s important to understand and assess edge AI technology to overcome deployment challenges and explore new potentials."




Screen Shot 2023-10-15 at 10.37.25 am.png

Screen Shot 2023-10-15 at 10.36.59 am.png





An example of the Space Force's links to AFRL.
Screen Shot 2023-10-15 at 10.35.29 am.png
Screen Shot 2023-10-15 at 10.35.36 am.png



Announcement (ISL) developing an AI-based radar research solution for the Air Force Research Laboratory (AFRL).

Screen Shot 2023-10-15 at 10.43.39 am.png
 
  • Like
  • Love
  • Fire
Reactions: 60 users

schuey

Regular

Diogenese

Top 20
Howdy All,

I find this very interesting!

The US Space Force has paused its use of ChatGPT temporarily and its office has "formed a generative AI task force with other Pentagon offices to mull ways to use the technology in a "responsible and strategic manner."

While the Space Force is a separate and distinct branch of the armed services, it is organized under the Department of the Air Force in a manner very similar to how the Marine Corps is organized under the Department of the Navy. What's interesting here is that The Air Force Research Laboratory is the primary scientific research and development center for the Department of the Air Force.

AND...we know that Information Systems Laboratories, Inc. (ISL) is developing an AI-based radar research solution for the Air Force Research Laboratory (AFRL) based on its Akida™ neural networking processor.

So, I'll be very interested to see whether BrainChip can provide solutions to allow for ChatGPT to be utilised in such a way that can protect the Space Force's data!!!

Let's not forget what Shayamal Anadkat (Applied AI @ OpenAI) wrote about BrainChip in his article published in June 2023:

"Edge AI is becoming essential due to its capability for real-time data processing, improved privacy, and enhanced security. It is becoming increasingly significant across various verticals due to the proliferation of devices with numerous sensors producing vast amounts of data. The complexity and resource demands of foundational models pose deployment challenges on edge devices. To counter this, the focus will shift toward specialized hardware, optimization techniques, and neural processor architectures. Being able to run optimized versions of foundational models at the edge/on-device will open up endless possibilities. Recognizing these emerging requirements, BrainChip has stepped forward with innovative solutions like the Akida processor, an advanced neural processing system for edge AI. It’s important to understand and assess edge AI technology to overcome deployment challenges and explore new potentials."



View attachment 47073
View attachment 47075




An example of the Space Force's links to AFRL.
View attachment 47078 View attachment 47076


Announcement (ISL) developing an AI-based radar research solution for the Air Force Research Laboratory (AFRL).

View attachment 47077

Hi Bravo,

Endorsement from the hottest ticket in town!

It's like being the warm-up act for Taylor Swift!
 
  • Like
  • Haha
  • Love
Reactions: 29 users

buena suerte :-)

BOB Bank of Brainchip
@rgupta do think perhaps the share price was artificially inflated by the merc announcement and we should never have had that high a price for the stage of commercialisation we were at then? Without that merc announcement imo we would have dropped from probably around 60c? Do you think also NOW the company is in a much stronger position and READY to really take off.. even explode over the next couple of years. I think so, I think there will be a coming wave in beneficial artificial intelligence and we will be at the forefront of that wave. It may still take a few years yet to really move but we should imo start to see some real traction next year. Imo 2024 will herald our beginning along the path to sustained success. At least I hope so, ..now I’ll get off my soap box for today! 🤓
Totally agree with all of the above...'The Merc' announcement did Artificially Inflate our SP.... $2.34!... It was great to see then and very much looking forward to seeing it happening again very soon... but this time with actual contracts signed sealed and delivered!! :)
I was very happy with that announcement as it allowed me to cover my initial outlay$$$$$ for my BRN shares as I sold a parcel @$2.30..I did think at the time what if it goes to $3++ would I be kicking myself!...Well the rest is history!!

As many others have done I also took the oppotunity to do some topping up at these very low prices a few weeks back so I'm loaded and waiting for that...........

🚀🚀........................📢📢📢One Power Announcement📢📢📢.......................🚀🚀

Hold tight Chippers and good luck
 
  • Like
  • Love
  • Fire
Reactions: 51 users

Esq.111

Fascinatingly Intuitive.
I get market index's weekly (+ daily) wrap via email and just reading this morning's and thought this is a pertinent infographic.

Not about us being in an apple product, just more a visual of how we may sit behind the scenes somewhere in someone's product sometime like these companies do.

They don't get seen by the end user and is only really the marketed "brand" the consumer is attached to but all these other companies get a slice of the consumer spend....like to see our slices start appearing soon though.

View attachment 47068


It’s easy to think about the iPhone as an Apple product. But if you peek inside, you’ll find a massive ecosystem of chip manufacturers working together.

The above infographic by Quartr breaks down the key chip suppliers for Apple’s iPhone 15 Pro.

While only a dozen or so companies are listed above, there are literally hundreds of players involved behind the scenes to not only supply parts but also licensing agreements


Afternoon Fullmoonfever & Diogenese,

Cheers for the breakdown pics , all very enlightening.

One for Diogenese , only if you have time.....
From the perspective of someone with a far greater grasp of chips than most....
Of all the diffrent chips , gpu ,cpu, tpu, mcu, Rf, etc etc in the above breakdown of the Apple phone could AKIDA IP & or standalone AKIDA silicone be potentially spliced into.

No need to go into advanced detail , layman terms if possible.
Eg, 10%, ..... 100% incorperation.

Thankyou in advance for your thoughts.

Regards,
Esq.
 
  • Like
  • Fire
Reactions: 13 users

Guzzi62

Regular
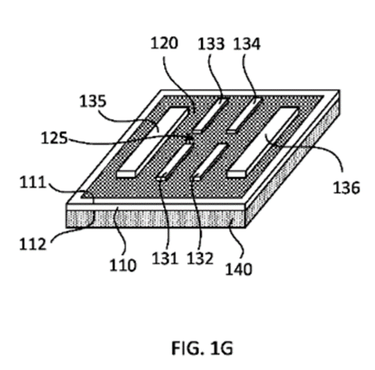
Hi Guzzi,

As I expected, this is an analog memristor-based device:

WO2019125994A1 MULTI-TERMINAL MEMTRANSISTORS, FABRICATING METHODS AND APPLICATIONS OF SAME 20171218


View attachment 47074

One aspect of the invention relates to a multi-terminal memtransistor. The memtransistor includes a substrate having a first surface and an opposite, second surface, a polycrystalline monolayer film formed of an atomically thin material on the first surface of the substrate, an electrode array having a plurality of electrodes spatial-apart formed on the polycrystalline monolayer film such that each pair of electrodes defines a channel in the polycrystalline monolayer film therebetween, and a gate electrode formed on the second surface of the substrate and capacitively coupled with the channel. The polycrystalline monolayer film contains grains defining a plurality of grain boundaries thereof. The multi-terminal memtransistor operates much like a neuron by performing both memory and information processing, and can be a foundational circuit element for new forms of neuromorphic computing.

It is known that the long-established silicon-based memristors suffer from manufacturing variations which affect their accuracy, so it remains to be seen how they go with new materials and a new manufacturing process. Using monolayers may help improve manufacturing consistency.

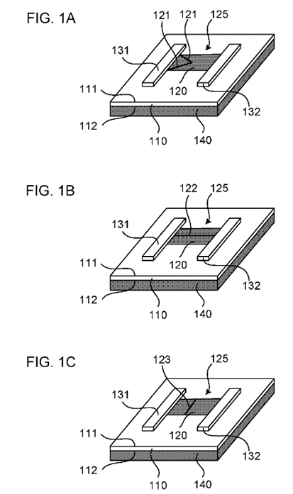
Late edition:

But it seems that it could be one step forward ...

WO2016134011A1 GATE-TUNABLE ATOMICALLY-THIN MEMRISTORS AND METHODS FOR PREPARING SAME AND APPLICATIONS OF SAME 20150220

View attachment 47087

One of the objectives of this invention is to provide a new class of memristors based on grain boundaries (GBs) in atomically thin film devices. Specifically, the resistance of grain boundaries emerging from contacts can be easily and repeatedly modulated, with switching ratios up to about 10 and dynamic negative differential resistance. Furthermore, the atomically thin nature of the thin film enables tuning of the SET voltage by a third gate terminal in a field-effect geometry, providing new functionality not observed in other known memristive devices.

This is a fairly radical departure from the bulk material memristors.
Thanks for the answer, I always appreciate your knowledgeable posts despite I not always fully understand them but helps me getting "the big picture".
 
  • Like
  • Fire
Reactions: 13 users

Quatrojos

Regular
As the share price languishes the following question might reasonably be asked:

If a blind poll of genuine investors were to be presented with just the following eleven facts would they conclude the target company was oversold at 19 cents a share (giving a market cap of $340 million) when the addressable market for their technology is in the billions of dollars?

FACT ONE

TATA ELXSI a member of the TATA GROUP is a company with over 12,000 employees and is an announced partner of the target company for the stated purpose of driving the adoption of the target company’s technology into medical and industrial use cases.

FACT TWO

TATA GROUP is a global company with over 600,000 employees across 100 subsidiaries and boasting a research arm TATA Consulting Services with over 10,000 employees which has been investigating the target company’s technology since at least 2019 publilshing papers and engaging in live demonstrations of the target companies technology and recently making public the following comparison of the target companies technology with Nvidia Jetson TX2:

Abstract:

Emergence of small satellites for earth observation missions has opened up new horizons for space research but at the same time posed newer challenges of limited power and compute resource arising out of the size & weight constraints imposed by these satellites. The currently evolving neuromorphic computing paradigm shows promise in terms of energy efficiency and may possibly be exploited here. In this paper, we try to prove the applicability of neuromorphic computing for on-board data processing in satellites by creating a 2-stage hierarchical cloud cover detection application for multi-spectral earth observation images. We design and train a CNN and convert it into SNN using the CNN2SNN conversion toolkit of TARGET COMPANY'S neuromorphic platform. We achieve 95.46% accuracy while power consumption and latency are at least 35x and 3.4x more efficient respectively in stage-1 (and 230x & 7x in stage-2) compared to the equivalent CNN running on Jetson TX2.

FACT THREE

This published research relates to the target companies first generation technology which has in the last ten months been advanced with the release of a next generation chip to show its versatility to be produced across different major foundries and a further generation technology IP has been recently released which is said to have increased the target company’s technology lead from about 3 years to over 5 years against all competitors.

FACT FOUR

The target company has a comprehensive PATENT portfolio of 17 granted patents including its technologies foundational patent with a further 30 filed patents awaiting approval at last report.

FACT FIVE

The target company has five quarters of cash runway and further guaranteed right to call on additional funds from LDA Capital under a put option.

FACT SIX

Multiple industry and government partnerships and at least 5 University research/teaching partnerships across the USA and Europe.

FACT SEVEN

Product coming to market from Renesas and VVDN during the next six months.

FACT EIGHT

A European aerospace and robotics company EDGX and an Australian aerospace robotics company ANT61 both utilising the target company’s technology in already developed prototypes with ANT61 having announced a first launch date of early 2024.

FACT NINE

A startup Circle 8 and a company AVID Group with research partnerships with the University of Technology Sydney and the CSIRO and the US Department of Environment has partnered with the Target Company to market an already prototyped Smart Bin for plastic recycling.

FACT TEN

Jean-Luc Chatelain, Chief Technology Officer at Accenture an admitted fan of neuromorphic computing has cited the Target Company’s latest IP describing it as ‘innovating in a big way to bring GenAi and LLM to the Edge with their 2nd generation platform.’

FACT ELEVEN

The Target Company does not stand alone in publicly proclaiming the advantages of its technology as highlighted by the following selection of quotes on the release of their 2nd generation platform:

“XXXXXX and its unique digital neuromorphic IP have been part of IFS’ Accelerator IP Alliance ecosystem since 2022,” said Suk Lee, Vice President of Design Ecosystem Development at IFS. “We are keen to see how the capabilities in XXXX’s latest generation offerings enable more compelling AI use cases at the edge” Suk Lee, VP Design Ecosystem Development, Intel Foundry Services

“Edge Impulse is thrilled to collaborate with XXXXXX and harness their ground breaking neuromorphic technology. XXXX’s 2nd generation platform adds TENNs and Vision Transformers to a strong neuromorphic foundation. That’s going to accelerate the demand for intelligent solutions. Our growing partnership is a testament to the immense potential of combining Edge Impulse’s advanced machine learning capabilities with XXXXXX’s innovative approach to computing. Together, we’re forging a path toward a more intelligent and efficient future,” said Zach Shelby, Co-Founder and CEO at Edge Impulse. Zach Shelby, Co-Founder and CEO, Edge Impulse

“XXXXXX has some exciting upcoming news and developments underway,” said Daniel Mandell, Director at VDC Research. “Their 2nd generation XXXX platform provides direct support for the intelligence chip market, which is exploding. IoT market opportunities are driving rapid change in our global technology ecosystem, and XXXXXX will help us get there.” Daniel Mandell, Director, VDC Research

“Integration of AI Accelerators, such as XXXXXX’s XXXX technology, has application for high-performance RF, including spectrum monitoring, low-latency links, distributed networking, AESA radar, and 5G base stations,” said John Shanton, CEO of Ipsolon Research, a leader in small form factor, low power SDR technology. John Shanton, CEO, Ipsolon Research

“Through our collaboration with XXXXXX, we are enabling the combination of SiFive’s RISC-V processor IP portfolio and XXXXXX’s 2nd generation XXXX neuromorophic IP to provide a power-efficient, high capability solution for AI processing on the Edge,” said Phil Dworsky, Global Head of Strategic Alliances at SiFive. “Deeply embedded applications can benefit from the combination of compact SiFive Essential™ processors with XXXXXX’s XXXX-E, efficient processors; more complex applications including object detection, robotics, and more can take advantage of SiFive X280 Intelligence™ AI Dataflow Processors tightly integrated with XXXXXX’s XXXX-S or XXXX-P neural processors.”
Phil Dworsky, Global Head of Strategic Alliances, SiFive

“Ai Labs is excited about the introduction of XXXXXX’s 2nd generation XXXX neuromorphic IP, which will support vision transformers and TENNs. This will enable high-end vision and multi-sensory capability devices to scale rapidly. Together, Ai Labs and XXXXXX will support our customers’ needs to address complex problems,” said Bhasker Rao, Founder of Ai Labs. “Improving development and deployment for industries such as manufacturing, oil and gas, power generation, and water treatment, preventing costly failures and reducing machine downtime.” Bhasker Rao, Founder, Ai Labs

“We see an increasing demand for real-time, on-device, intelligence in AI applications powered by our MCUs and the need to make sensors smarter for industrial and IoT devices,” said Roger Wendelken, Senior Vice President in Renesas’ IoT and Infrastructure Business Unit. “We licensed Akida neural processors because of their unique neuromorphic approach to bring hyper-efficient acceleration for today’s mainstream AI models at the edge. With the addition of advanced temporal convolution and vision transformers, we can see how low-power MCUs can revolutionize vision, perception, and predictive applications in a wide variety of markets like industrial and consumer IoT and personalized healthcare, just to name a few.”
Roger Wendelken, Senior Vice President IoT and Infrastructure Business Unit, Renesas

“We see a growing number of predictive industrial (including HVAC, motor control) or automotive (including fleet maintenance), building automation, remote digital health equipment and other AIoT applications use complex models with minimal impact to product BOM and need faster real-time performance at the Edge” said Nalin Balan, Head of Business Development at Reality ai, a Renesas company. “XXXXXX’s ability to efficiently handle streaming high frequency signal data, vision, and other advanced models at the edge can radically improve scale and timely delivery of intelligent services.” Nalin Balan, Head of Business Development, Reality.ai, a Renesas Company

“Advancements in AI require parallel advancements in on-device learning capabilities while simultaneously overcoming the challenges of efficiency, scalability, and latency,” said Richard Wawrzyniak, Principal Analyst at Semico Research. “XXXXXX has demonstrated the ability to create a truly intelligent edge with XXXX and moves the needle even more, in terms of how Edge AI solutions are developed and deployed. The benefits of on-chip AI from a performance and cost perspective are hard to deny.”

Richard Wawrzyniak, Principal Analyst, Semico Research XXXXXX’s cutting-edge neuromorphic technology is paving the way for the future of artificial intelligence, and Drexel University recognizes its immense potential to revolutionize numerous industries. We have experienced that neuromorphic compute is easy to use and addresses real-world applications today. We are proud to partner with XXXXXX and advancing their ground breaking technology, including TENNS and how it handles time series data, which is the basis to address a lot of complex problems and unlocking its full potential for the betterment of society,” said Anup Das, Associate Professor and Nagarajan Kandasamy, Interim Department Head of Electrical and Computer Engineering, Drexel University. Anup Das, Associate Professor, Drexel University

My opinion only so DYOR

FF


FACT FIVE

The target company has five quarters of cash runway and further guaranteed right to call on additional funds from LDA Capital under a put option.

This is more an obligation, isn't it?
 
  • Like
Reactions: 3 users
FACT FIVE

The target company has five quarters of cash runway and further guaranteed right to call on additional funds from LDA Capital under a put option.

This is more an obligation, isn't it?
Off the top of my head I cannot recall the exact numbers but the LDA Capital put option agreement has a minimum draw down by 23.12.23 which was partly drawn down in the last call which fell a couple of million dollars short. In addition there is a further amount which is optional of at least another $10 million that can be called on should Brainchip consider it necessary.

Investors always are concerned with dilution however as to the outstanding $2 million odd a portion of those shares were issued at the time of the last raise and not taken up and remain held in trust by LDA Capital ready to apply to that option when directed so it could be logically argued that part of any dilution as a result of the necessary further call has already occurred and will not cause any further dilution having been accounted for already. Indeed if the share price were to rise to the levels of around 60 cents then this additional raise would not cause any dilution as no further shares would need to be issued to complete the call.

The important issue for a new investor in a company is always solvency. In a high interest rate environment with recessionary pressures one issue for investors becomes what if the company requires capital will it be able to raise?

In Brainchip's case as said it has five quarters of cash runway and significantly if it needs more capital it has guarantees of being able to raise that capital locked in under their LDA Capital Agreement. Thus a new investor could feel comfortable with the solvency risk presented by an investment in Brainchip subject of course to the individual investor's risk tolerance.

My opinion only DYOR
FF
 
  • Like
  • Fire
  • Love
Reactions: 70 users

Diogenese

Top 20
Afternoon Fullmoonfever & Diogenese,

Cheers for the breakdown pics , all very enlightening.

One for Diogenese , only if you have time.....
From the perspective of someone with a far greater grasp of chips than most....
Of all the diffrent chips , gpu ,cpu, tpu, mcu, Rf, etc etc in the above breakdown of the Apple phone could AKIDA IP & or standalone AKIDA silicone be potentially spliced into.

No need to go into advanced detail , layman terms if possible.
Eg, 10%, ..... 100% incorperation.

Thankyou in advance for your thoughts.

Regards,
Esq.
Hi 111,

That'ud be 0%.

The Apple A17 https://en.wikipedia.org/wiki/Apple_A17

The A17 Pro integrates a new Apple-designed six-core GPU, which Apple claims is 20% faster and their biggest redesign in the history of Apple GPUs, with added hardware accelerated ray tracing and mesh shading support. The 16-core Neural Engine is now capable of 35 trillion operations per second. The A17 Pro also added support for AV1 decoding and USB 3.2 Gen 2 (est. up to 10Gbps / 1.25GBps).[6] The A17 Pro contains 19 billion transistors, a 19% increase from the A16's transistor count of 16 billion, and is fabricated by TSMC on their 3 nm N3B process.[5]

Apple, despite their reputation for eschewing medical consultations, still use low fibre, nutrient deficient MACs.

US2022222510A1 MULTI-OPERATIONAL MODES OF NEURAL ENGINE CIRCUIT 20210113


1697338146764.png



1697338120726.png
 
  • Like
  • Fire
  • Sad
Reactions: 19 users

Quatrojos

Regular
Off the top of my head I cannot recall the exact numbers but the LDA Capital put option agreement has a minimum draw down by 23.12.23 which was partly drawn down in the last call which fell a couple of million dollars short. In addition there is a further amount which is optional of at least another $10 million that can be called on should Brainchip consider it necessary.

Investors always are concerned with dilution however as to the outstanding $2 million odd a portion of those shares were issued at the time of the last raise and not taken up and remain held in trust by LDA Capital ready to apply to that option when directed so it could be logically argued that part of any dilution as a result of the necessary further call has already occurred and will not cause any further dilution having been accounted for already. Indeed if the share price were to rise to the levels of around 60 cents then this additional raise would not cause any dilution as no further shares would need to be issued to complete the call.

The important issue for a new investor in a company is always solvency. In a high interest rate environment with recessionary pressures one issue for investors becomes what if the company requires capital will it be able to raise?

In Brainchip's case as said it has five quarters of cash runway and significantly if it needs more capital it has guarantees of being able to raise that capital locked in under their LDA Capital Agreement. Thus a new investor could feel comfortable with the solvency risk presented by an investment in Brainchip subject of course to the individual investor's risk tolerance.

My opinion only DYOR
FF
My understanding is that the rest of the draw down needs to be done before same date, excluding the optional 10M. Is this not the case? Is it open to amendment?
 
  • Like
Reactions: 1 users

buena suerte :-)

BOB Bank of Brainchip
My understanding is that the rest of the draw down needs to be done before same date, excluding the optional 10M. Is this not the case? Is it open to amendment?
Here are a couple of ASX announcements

1697340877314.png









1697340817019.png
 

Attachments

  • 1697341064152.png
    1697341064152.png
    133 KB · Views: 122
  • Like
  • Fire
Reactions: 16 users
My understanding is that the rest of the draw down needs to be done before same date, excluding the optional 10M. Is this not the case? Is it open to amendment?
Yes sorry if that is not clear. I have extracted from the April 4C the following paragraph:

"In January 2023, BrainChip submitted a capital call notice to LDA Capital Limited and LDA Capital LLC (“LDA Capital”) to subscribe for up to 30,000,000 shares with an option for LDA Capital to subscribe up to an additional 10,000,000 shares subject to the approval of BrainChip. Subsequent to the quarter end, A$12,232,543 was received from LDA Capital upon the issue of 20,756,540 shares. Funds raised through this capital call notice will be deployed to strengthen the Company’s global sales capabilities and engineering support team ahead of the release of Akida 2.0 later this year."

As can be seen the company created 30,000,000 new shares and gave these to LDA Capital on trust to use to raise the obligated $15 million before 23.12.23.

As can be seen only 20,756,540 shares were called by LDA Capital in raising $12,232,543. The share price fell below the stipulated minimum price set by Brainchip so the full $15 million could not be achieved.

This left 9,243,460 shares uncalled and being held on trust by LDA Capital.

It also leaves $2,767,457 to be called before 23.12.23.

To satisfy this amount at 19 cents a share Brainchip would need to provide about 15,000,000 shares to LDA Capital however as it already holds 9,243,460 shares left over from the previous raise Brainchip will only need to create/issue a further 5,756,540 shares. (This assumes that the share price of course stays at about 19 cents up to 23.12.23.)

As to the question of can Brainchip negotiate a different call date the answer is that historically Brainchip and LDA Capital have done so. The advantage to Brainchip on that occasion was to move the due by date and secure further funding at a discount over the previous relationship and for LDA Capital it was to continue a relationship which had proven profitable for them. So it is clearly possible that a further amendment of the agreement could take place. Whether this will occur remains an open question for Brainchip and LDA Capital.

The dilution that would flow to individual shareholders of issuing an additional 5,756,540 shares however is less than a third of one percent.

My opinion only so DYOR
FF
 
  • Like
  • Fire
  • Love
Reactions: 60 users
I thought that newcomers might struggle with a lot of the very well researched content here, so I asked myself how I would explain BrainChip to my parents. I am certain, that aspects of this multiple page summary will not standup to the technical scrutiny applied here. Just trust me that I am here for the long run.

 
  • Like
  • Love
  • Fire
Reactions: 51 users
Top Bottom