BRN Discussion Ongoing

skutza

Regular
Hey skutza, how old is this data, because according to Esq there is now over 46,000 shareholders and back in June last year over 47,000.
It is likely a little old, but overall I think you can get the idea of shareholders and the amount they hold.
 
  • Like
Reactions: 4 users
Edge impulse providing support for AKIDA is pretty massive in my opinion. The more it seeps out into the tech community who realise how good it is the better. Not far from now we are going to have our own ChatGPT moment
 

Diogenese

Top 20
Voice assistant. Brainchip and Soundhound both list Mercedes and other auto companies as a client . In the world focusing on security and privacy (avoid the cloud) and low latency and power savings non automotive voice assistants/recognition appear to be prime targets for Akida technology.

Or do you think that could be a stretch......remember ubiquitous.
Hi Charles,

This Soundhound patent indicates that, in 2019, Soundhound's undestanding of NNs was limited to algorithms running on CPUs.

US11295741B2 Dynamic wakewords for speech-enabled devices

1673914879205.png



A system and method are disclosed capable of parsing a spoken utterance into a natural language request and a speech audio segment, where the natural language request directs the system to use the speech audio segment as a new wakeword. In response to this wakeword assignment directive, the system and method are further capable of immediately building a new wakeword spotter to activate the device upon matching the new wakeword in the input audio. Different approaches to promptly building a new wakeword spotter are described. Variations of wakeword assignment directives can make the new wakeword public or private. They can also add the new wakeword to earlier wakewords, or replace earlier wakewords.

[0007] The key challenge when providing dynamic wakewords is training a new wakeword spotter in a very short amount of time. Factory-installed wakeword spotters are generally trained using large datasets of audio samples, including positive instances specifically recorded for one or more given wakewords, and possibly some negative instances. Such labeled samples are used to train a classifier algorithm, such as a recurrent neural network, to distinguish the given wakeword (or wakewords) from non-wakeword speech in an audio stream. Unfortunately, the traditional approach to collecting audio sample data is not available for dynamic wakewords, which require a spotter to be built immediately, without the benefit of collecting a large dataset of audio samples of the dynamic wakeword
.

[0047] ... The ASR algorithm may employ any combination of signal processing, Hidden Markov Models, Viterbi search, phonetic dictionaries, and (possibly recurrent) neural networks to generate transcriptions and their confidence scores.
 
  • Like
  • Fire
  • Love
Reactions: 12 users

stuart888

Regular
I'm sorry, but I don't even know if we already had the following article here, but whatever.... ;-)

The Future of Transportation Is Being Built on Arm​

Automotive innovation built on Arm


These automotive innovations are happening today because of Arm, a transformative British technology company that, until recently, has been one of the world’s best-kept technology secrets.

Arm microprocessor chip architecture represents the world’s largest computational footprint. Arm technology underpinned the smartphone revolution, and it is ubiquitous in IoT, embedded, mobile and automotive applications and the world’s global computing infrastructure. Its global ecosystem of more than 1,000 technology partners ships 30 billion Arm-based chips each year.

Since its founding in 1990, Arm has supported automotive designers with technology products and solutions, scaling over time to give vehicle engineers and developers unparalleled flexibility and choice in building their products. Arm’s vast footprint means that:

  • Every 50 seconds, an Arm-based processor is installed in a car.
  • The top 15 vehicle makers license Arm intellectual property (IP).
  • More than 85% of infotainment systems and more than 50% of advanced driver assistance systems (ADAS) are based on Arm technology.
Arm has these Tech Talks, worth keeping an eye on.

Regular ongoing. 🤿🤿🤿 Deep dive into it!

1673915310509.png


 
  • Like
  • Fire
Reactions: 17 users

stuart888

Regular
All,

I don’t post much, but read avidly.
In terms of my investment with BRN which started in 2016. I started because of the excitement of a possible disruptive technology. I continued to buy in on a probable disruptive technology. Now I sit back and wait because I feel the technology is derisked and will be implemented at scale.
I don’t worry about explosive sales, revenues.
I am looking at the fundamentals of the company. The incredible hires we have made at the executive level of the company.
The partnerships with top level players in the semi conductor industry.
The partnerships with tier 1 suppliers to the automotive industry now and the future. The drive by governments to have installed in cars technology by 2024, which our partners will front and centre.
Renesas are taping out a chip based upon Akida. I’m pretty sure they don’t do the just for the hell of it.
I am now in no doubt that this technology is going places.
Let’s not get hung up on the day to day or the low volume of ASX notices from the company. I have been researching other companies recently and the only ASX notices are results, AGM’s.
Look at the fundamentals set in place for growth and I think you will be content with the progress.
All the best to each and everyone here.
Well said @Dr E Brown! 🗣️👀 Love your whole mind set.

I feel the technology is derisked and will be implemented at scale.
 
  • Like
  • Fire
  • Love
Reactions: 19 users

Diogenese

Top 20
In vino veritas.
 
  • Like
  • Haha
Reactions: 8 users

stuart888

Regular
  • Haha
  • Like
Reactions: 8 users

Diogenese

Top 20
In vino veritas.
Was about to say the same things. Charles Dickens is more my things,( as
a hopeful romantic 😆😆😆) While Charlie Darwin "Evolution of men", revolved change. As @Rise from the ashes previous post referred too.

As BRN investors, we need to be able to adapt to to the current investment environment. If, company X, you invested in, say they will do XYZ: this year. However, the macro environments doesn't allow (X company doing XYZ this year; Supply changes issues, war, markets down trend). Doesn't actually means the company (x) is not performing. From my perspective, the general tech industry is changing (EV = Computer on Wheels). We as Brainchip's shareholder are in the midst before the storm.
(Just my intoxicated opinion 😆)

Learning 🏖
 
  • Like
  • Haha
Reactions: 4 users

Diogenese

Top 20
  • Haha
  • Like
Reactions: 4 users

stuart888

Regular
  • Like
  • Fire
Reactions: 9 users

stuart888

Regular
How much would the normal person buy of Brainchip stock with a 1-million-dollar networth?

Assumption: $500,000 paid-off-home and $500,000-in-stocks. No debt.

Question Hint: If they had $25,000 worth of stock, would that be a lot?

This is in response to some of our lucky 100,000+ stock holders (ya'll BRN fatcats!).

Answer: $25k, I would say yes and very lucky would be $25,000 (5%) out of $500,000. Some would say that is large position in one stock. To me that is well diversified, but a nice healthy chunk. New money can be added in over time too.
 
  • Like
  • Fire
Reactions: 10 users

equanimous

Norse clairvoyant shapeshifter goddess
How much would the normal person buy of Brainchip stock with a 1-million-dollar networth?

Assumption: $500,000 paid-off-home and $500,000-in-stocks. No debt.

Question Hint: If they had $25,000 worth of stock, would that be a lot?

This is in response to some of our lucky 100,000+ stock holders (ya'll BRN fatcats!).

Answer: $25k, I would say yes and very lucky would be $25,000 (5%) out of $500,000. Some would say that is large position in one stock. To me that is well diversified, but a nice healthy chunk. New money can be added in over time too.
Betting All In GIF by Angie Tribeca
 
  • Haha
  • Like
  • Fire
Reactions: 39 users

stuart888

Regular
1000 fps really gets me thinking wow. I would love to get deeper into this topic over time. Data arrays into SNN is very interesting, and Brainchip is winning, double wow!

Seems like anywhere you can move decisions to the edge involving video, big cost savings.
Video is a resource hog, Brainchip Akida SNN is not!
 
  • Like
  • Fire
  • Love
Reactions: 12 users

Bravo

If ARM was an arm, BRN would be its biceps💪!
Interesting...


Valeo and the CEA to collaborate on advanced research in power electronics to prepare for tomorrow’s electric mobility​

September 13, 2022

Valeo and the French Alternative Energies and Atomic Energy Commission (CEA) signed an agreement to collaborate on the next generations of
Power electronics are key to motor control, energy management and charging speed in electric vehicles. Valeo and the CEA’s teams will work together on advanced research into innovative electronic technologies with the aim of improving electric vehicle efficiency (increasing driving range), optimizing the powertrain and reducing the weight of onboard power electronics.
As a champion of electrification, Valeo will contribute its expertise in power electronics, an area in which it has a leading position.
Xavier Dupont, President of Valeo’s Powertrain Systems Business Group, said: “The world of mobility is undergoing an unprecedented transformation, leading to a significant acceleration in electrification. Valeo is at the heart of this transformation, and this new collaboration with the CEA in the field of power electronics will enable us to further accelerate in electrification, offering the best technologies while at the same time addressing the challenge of carbon neutrality.
The CEA will contribute its expertise in the fields of microelectronics and materials, as well as in the definition and design of digital twins to optimize the conversion systems being researched.
Sébastien Dauvé, Chief Executive Officer of CEA-Leti, commented, “This agreement demonstrates CEA’s commitment to the key challenges related to vehicle electrification. The partnership aligns perfectly with our mission to support the industry, which focuses on the design of innovative power components all the way through to the development of high-performance conversion systems. We are delighted to support Valeo’s strategy and our teams are highly motivated by the challenge of reducing greenhouse gas emissions.
This agreement is part of the IPCEI (Important Projects of Common European Interest) dedicated to electronics, which aims to promote innovation in strategic and forward-looking industrial fields (France 2030) through transnational European projects.
Innovation is central to Valeo’s growth strategy. The Group has been ranked as the world’s leading French patent applicant, with 1,777 patents filed in one year (2020), according to the list published by France’s INPI intellectual property institute on June 14, 2022. Last year, 45% of its order intake was for technologies that didn’t exist three years prior. The agreement signed with the CEA further illustrates Valeo’s commitment to innovation.
SOURCE: Valeo

Hi All,

I just realised something about CEA-Leti in addition to the partnership announcement (as above) in Sept 2022 which states "Valeo and the CEA’s teams will work together on advanced research into innovative electronic technologies with the aim of improving electric vehicle efficiency (increasing driving range), optimizing the powertrain and reducing the weight of onboard power electronics."

Well, recently, in December 2022 CEA-Leti recently did a tutorial presentation highlighting "promising advantages that resistive random-access memory (RRAM) technologies hold for implementing novel neuromorphic/in-memory computing systems for massively parallel, low-power and low-latency computation."

I'd find it difficult to believe that Valeo and CEA-Leti would be working together without there being conversations about BrainChip's AKIDA. Pure speculation on my behalf, but I'll let you be the judge.



CEA-Leti Presents RRAM’s ‘Promising Advantages’ For Neuromorphic/In-Memory Computing at IEDM 2022​

PR%20IEDM%20n1%202022.jpg
CEA-Leti
A CEA-Leti tutorial presented at IEDM 2022 highlighted promising advantages that resistive random-access memory (RRAM) technologies hold for implementing novel neuromorphic/in-memory computing systems for massively parallel, low-power and low-latency computation.
Published on 7 December 2022

In a presentation titled "Resistive Memories-Based Concepts for Neuromorphic Computing", Elisa Vianello, CEA-Leti's edge AI program manager, said RRAMs, aka memristors, offer advantages in energy efficiency and computing power when processing AI workloads. She noted, however, scientists must overcome device issues, especially variability, quantization error and limited endurance to achieve commercialization of this approach.
During the conference, CEA-Leti also reported development of the first end-to-end, gesture-recognition solution for ultralow power implementation on silicon with an estimated always-on total power consumption of 0.41 μJ/frame. This breakthrough, presented in the paper "Spike-based Beamforming Using pMUT Arrays for Ultra-Low Power Gesture Recognition", used low-power piezoelectric micromachined ultrasonic transducers (pMUTs) to emit and sense ultrasonic signals. This novel spike-based beamforming extracts spatial temporal information and a spiking recurrent neural network (SRNN) to perform simple gesture detection and classification.
Neuromorphic In-Memory Computing
In recent years, "neuromorphic" has been used to describe mixed-signal and pure digital systems that can be used to simulate spiking neural networks. As interest in the potential for this technology grew, the neuromorphic researchers were joined by material and device-physics researchers to study memristor properties and leverage their physics to implement neural and synaptic functions.
Meanwhile, artificial intelligence (AI) algorithms were being applied in healthcare, robotics, agriculture and other sectors, but those applications face power constraints. To address some of these challenges, CEA-Leti's AI research focuses on the development of novel brain-inspired technologies and processing methods. This requires researchers in multiple disciplines to combine their efforts and simultaneously co-develop technologies, circuits, processing methods and the supporting computing architectures, Vianello said.

"Spike-based Beamforming Using pMUT Arrays for Ultra-Low Power Gesture Recognition"
Explaining CEA-Leti's breakthrough end-to-end, ultralow power gesture-recognition solution, Emmanuel Hardy, lead author on the paper, said previously published systems in the literature were implemented with off-the-shelf sensors and readout electronics, so gesture recognition is always performed offline in software with full precision for the inference.
Traditional beamforming directly combines the sine waves in analog or digital format after applying delays. CEA-Leti's spike-based technique simplifies the process by encoding the phase of a signal by a single spike per signal period. It then allows scientists to apply simple logic on spikes to implement beamforming. A spiking recurrent neural network (SRNN) takes the spike density as an input to perform gesture detection.
CEA-Leti's end-to-end, gesture-recognition solution is suitable for ultralow power implementation on silicon with an estimated total power consumption of 0.41 μJ/frame. The breakthrough uses low-power sensors with pMUTs and extracts and processes the minimum information with CEA-Leti's novel spike-based beamforming. It also includes classification in the spike domain with a SRNN. The institute also is working to develop an energy-efficient RRAM-based SRNN.
"Our system supports a fully integrated approach enabling ultralow-power, end-to-end operation," Hardy said. "Its primary advantage is its low manufacturing cost and easy integration, which suits its use in wearable and automotive applications. The system could be also used for acoustic ranging with interesting applications in robotics and drones."

 
  • Like
  • Fire
  • Love
Reactions: 36 users

Diogenese

Top 20
Hi All,

I just realised something about CEA-Leti in addition to the partnership announcement (as above) in Sept 2022 which states "Valeo and the CEA’s teams will work together on advanced research into innovative electronic technologies with the aim of improving electric vehicle efficiency (increasing driving range), optimizing the powertrain and reducing the weight of onboard power electronics."

Well, recently, in December 2022 CEA-Leti recently did a tutorial presentation highlighting "promising advantages that resistive random-access memory (RRAM) technologies hold for implementing novel neuromorphic/in-memory computing systems for massively parallel, low-power and low-latency computation."

I'd find it difficult to believe that Valeo and CEA-Leti would be working together without there being conversations about BrainChip's AKIDA. Pure speculation on my behalf, but I'll let you be the judge.



CEA-Leti Presents RRAM’s ‘Promising Advantages’ For Neuromorphic/In-Memory Computing at IEDM 2022​

PR%20IEDM%20n1%202022.jpg
CEA-Leti
A CEA-Leti tutorial presented at IEDM 2022 highlighted promising advantages that resistive random-access memory (RRAM) technologies hold for implementing novel neuromorphic/in-memory computing systems for massively parallel, low-power and low-latency computation.
Published on 7 December 2022

In a presentation titled "Resistive Memories-Based Concepts for Neuromorphic Computing", Elisa Vianello, CEA-Leti's edge AI program manager, said RRAMs, aka memristors, offer advantages in energy efficiency and computing power when processing AI workloads. She noted, however, scientists must overcome device issues, especially variability, quantization error and limited endurance to achieve commercialization of this approach.
During the conference, CEA-Leti also reported development of the first end-to-end, gesture-recognition solution for ultralow power implementation on silicon with an estimated always-on total power consumption of 0.41 μJ/frame. This breakthrough, presented in the paper "Spike-based Beamforming Using pMUT Arrays for Ultra-Low Power Gesture Recognition", used low-power piezoelectric micromachined ultrasonic transducers (pMUTs) to emit and sense ultrasonic signals. This novel spike-based beamforming extracts spatial temporal information and a spiking recurrent neural network (SRNN) to perform simple gesture detection and classification.
Neuromorphic In-Memory Computing
In recent years, "neuromorphic" has been used to describe mixed-signal and pure digital systems that can be used to simulate spiking neural networks. As interest in the potential for this technology grew, the neuromorphic researchers were joined by material and device-physics researchers to study memristor properties and leverage their physics to implement neural and synaptic functions.
Meanwhile, artificial intelligence (AI) algorithms were being applied in healthcare, robotics, agriculture and other sectors, but those applications face power constraints. To address some of these challenges, CEA-Leti's AI research focuses on the development of novel brain-inspired technologies and processing methods. This requires researchers in multiple disciplines to combine their efforts and simultaneously co-develop technologies, circuits, processing methods and the supporting computing architectures, Vianello said.

"Spike-based Beamforming Using pMUT Arrays for Ultra-Low Power Gesture Recognition"
Explaining CEA-Leti's breakthrough end-to-end, ultralow power gesture-recognition solution, Emmanuel Hardy, lead author on the paper, said previously published systems in the literature were implemented with off-the-shelf sensors and readout electronics, so gesture recognition is always performed offline in software with full precision for the inference.
Traditional beamforming directly combines the sine waves in analog or digital format after applying delays. CEA-Leti's spike-based technique simplifies the process by encoding the phase of a signal by a single spike per signal period. It then allows scientists to apply simple logic on spikes to implement beamforming. A spiking recurrent neural network (SRNN) takes the spike density as an input to perform gesture detection.
CEA-Leti's end-to-end, gesture-recognition solution is suitable for ultralow power implementation on silicon with an estimated total power consumption of 0.41 μJ/frame. The breakthrough uses low-power sensors with pMUTs and extracts and processes the minimum information with CEA-Leti's novel spike-based beamforming. It also includes classification in the spike domain with a SRNN. The institute also is working to develop an energy-efficient RRAM-based SRNN.
"Our system supports a fully integrated approach enabling ultralow-power, end-to-end operation," Hardy said. "Its primary advantage is its low manufacturing cost and easy integration, which suits its use in wearable and automotive applications. The system could be also used for acoustic ranging with interesting applications in robotics and drones."

So, now that we're alone ...
 
  • Haha
Reactions: 7 users

Diogenese

Top 20
So, now that we're alone ...
...
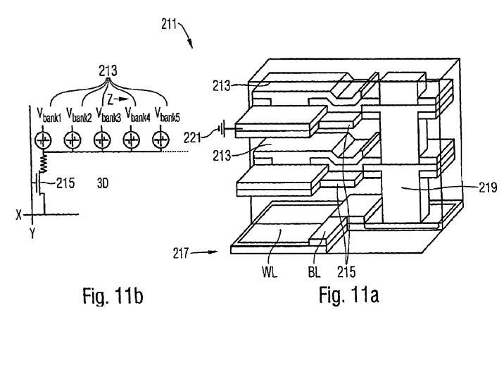
CEA-Leti have been dabbling with ReRAM/MemRistors for many years:

Priorities DE10349750A·2003-10-23; EP2004011812W·2004-10-19


US7876605B2 Phase change memory, phase change memory assembly, phase change memory cell, 2D phase change memory cell array, 3D phase change memory cell array and electronic component

1673923046063.png





A phase change memory having a memory material layer consisting of a phase change material, and a first and second electrical contact which are located at a distance from one another and via which a switching zone of the memory material layer can be traversed by a current signal, wherein the current signal can be used to induce a reversible phase change between a crystalline phase and an amorphous phase and thus a change in resistance of the phase change material in the switching zone. The invention also relates to a phase change memory assembly, a phase change memory cell, a 2D phase change memory cell array, a 3D phase change memory cell array and an electronic component.
 
  • Like
Reactions: 10 users

Diogenese

Top 20
  • Like
  • Wow
Reactions: 2 users

Bravo

If ARM was an arm, BRN would be its biceps💪!
How much would the normal person buy of Brainchip stock with a 1-million-dollar networth?

Assumption: $500,000 paid-off-home and $500,000-in-stocks. No debt.

Question Hint: If they had $25,000 worth of stock, would that be a lot?

This is in response to some of our lucky 100,000+ stock holders (ya'll BRN fatcats!).

Answer: $25k, I would say yes and very lucky would be $25,000 (5%) out of $500,000. Some would say that is large position in one stock. To me that is well diversified, but a nice healthy chunk. New money can be added in over time too.

Answer: As much as we can get our hands (and feet) on


8e2ca09529b8cd9f9b989e0d1891cfad (1).gif





G2Rs.gif
 
Last edited:
  • Haha
  • Like
  • Fire
Reactions: 32 users

Diogenese

Top 20
  • Haha
  • Like
Reactions: 12 users

Bravo

If ARM was an arm, BRN would be its biceps💪!
...
CEA-Leti have been dabbling with ReRAM/MemRistors for many years:

Priorities DE10349750A·2003-10-23; EP2004011812W·2004-10-19


US7876605B2 Phase change memory, phase change memory assembly, phase change memory cell, 2D phase change memory cell array, 3D phase change memory cell array and electronic component

View attachment 27281




A phase change memory having a memory material layer consisting of a phase change material, and a first and second electrical contact which are located at a distance from one another and via which a switching zone of the memory material layer can be traversed by a current signal, wherein the current signal can be used to induce a reversible phase change between a crystalline phase and an amorphous phase and thus a change in resistance of the phase change material in the switching zone. The invention also relates to a phase change memory assembly, a phase change memory cell, a 2D phase change memory cell array, a 3D phase change memory cell array and an electronic component.

Well, seeing I'm as good at engineering as I was at math - the only thing I took out of that was that they need some sort of electronic component. Is that worth a least a quarter of a star? 🥴




math-confused.gif
 
  • Haha
  • Like
Reactions: 6 users
Top Bottom