BRN Discussion Ongoing

TechGirl

Founding Member
Hi Dhm
I will answer for him.

We know that ISL was partnered with Brainchip and the Airforce Research Institute to design and build this simulation device. We know because I posted a presentation from ISL that the project was successful . So the answer is a clear and unequivocal yes.

On a personal note whenever ISL uses the term neuromorphic I am in no doubt that it must be AKIDA technology being referred to by ISL. Anything else is completely illogical.

In the present environment I doubt that answers to your question will be forthcoming.

The our world is under cyber attack from the cloud and under the sea cables are being cut or blown up. Security will be at an absolute premium for those companies working with DARPA & NASA.

We have two criminal states in Russia and China fighting for internal survival and there is a very real cold war happening as I type this response.

My opinion only DYOR
FF

AKIDA BALLISTA

Totally agree
 
  • Like
  • Love
Reactions: 6 users

jk6199

Regular
Last couple of days a bit painful, but then I looked at closing price on Monday this week.

Closed at, yes, 87 cents. With all the doom and gloom, maintained the rage awaiting the 4C.
 
  • Like
  • Love
Reactions: 20 users

TechGirl

Founding Member
ISL talk about a patent for an AI acceptance methodology that allows for DoD testing of AI solutions using essentially the same statistically based methodology in use today.

https://www.islinc.com/national-security/artificial-intelligence

Artificial Intelligence, Neuromorphic Computing and DoD Acceptance Testing​

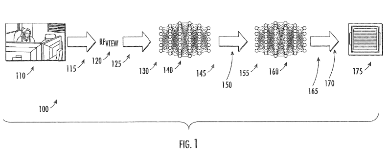
ISL is focused on replicating the analog nature of biological computation and the role of neurons in cognition. ISL’s team of scientists/engineers continue to understand how the morphology of individual neurons, circuits, applications, and overall architectures creates desirable computations. Leveraging this understanding and the newly developed and emerging commercial neuromorphic chips, ISL is developing a new low-power, lightweight detect and avoid (DAA) system for very small UAS platforms that exploits automotive radar hardware, light-weight EO/IR sensors, advanced data fusion algorithms, and neuromorphic computing.

Additionally, ISL has pioneered an AI acceptance methodology that allows for DoD testing of AI solutions using essentially the same statistically based methodology in use today. ISL was awarded a US Patent for this February (see link). The methodology leverages ISL’s RF Digital Engineering tools (https://www.islinc.com/digital-engineering )
.

US11256988B1 Process and method for real-time sensor neuromorphic processing

Priority date: 20210719


View attachment 19555


A novel system and method are described that allows for implementation of compact and efficient deep learning AI solutions to advanced sensor signal processing functions. The process includes the following stages: (1) A method for generating requisite annotated training data in sufficient quantity to ensure convergence of a deep learning neural network (DNN); (2) A method for implementing the resulting DNN onto a Spiking Neural Network (SNN) architecture amenable to efficient neuromorphic integrated circuit (IC) architectures; (3) A method for implementing the solution onto a neuromorphic IC; and (4) A statistical method for ensuring reliable performance.

[003] ... Neural networks work with functionalities similar to the human brain. The invention includes both a training cycle and a live (online) operation. The training cycle includes five elements and comprises the build portion of the deep learning process. The training cycle requirements ensure adequate convergence and performance. The live (online) operation includes the live operation of a Spiking Neural Network (SNN) designed by the five steps of the training cycle. The invention is part of a new generation of neuromorphic computing architectures, including Integrated Circuits (IC). This new generation of neuromorphic computing architectures includes IC, deep learning and machine learning.

[008] ... A high-fidelity (hi-fi) sensor model can be used to generate the requisite training data and/or training environment. The sensor model (in this case RFView®) (https://RFView.ISLinc.com is used to generate training data in sufficient quantity to ensure convergence of the DNN neuron weights. Thereafter, a suitable DNN interface is established wherein the raw sensor training cycle data is preprocessed into a format suitable for presentation to a DNN. In this step of the method, the DNN is converted to an SNN. Discussion regarding the conversion from DNN to SNN is found in the paper by M. Davies et al., “Advancing neuromorphic Computing with Loihi: A survey of results and outlook,” Proceedings of the IEEE , vol. 109, no. 5, pp. 911-934, 2021. The SSN is then implemented on a suitable neuromorphic architecture or IC to achieve requisite performance.
[sotto voce: "I'm not at all sure Ella would be in raptures about the specification"]
#########################################################################################

It seems likely that this patent was conceived before ISL and BrainChip got together because of the long lead time to develop the system, and because of the complex process of developing the weight data in DNN and converting to SNN:

Information Systems Labs Joins BrainChip Early Access Program​

Laguna Hills, Calif. – January 9, 2022

The system requires the development of the training data in DNN format "in sufficient quantity to ensure convergence of the DNN neuron weights", and the conversion of the training data to SNN. This would be unnecessary in a system designed from the ground up for Akida.

ISL submitted their idea in July 2022, so there would have been time to incorporate Akida into their proposal.

Thanks Dio, I particularly liked your last sentence :)

"ISL submitted their idea in July 2022, so there would have been time to incorporate Akida into their proposal"

On a lighter note, I've had more than a few rumbos cause you know it's Friday & it also happens to be my Birthday week so come Monday morning I think my presents should be a cracker of a 4c & an announcement that Akida 2 has come out even better than expected....

WoooHooo 🥳🥳🥳

Bugs Bunny Money GIF by Looney Tunes
 
  • Love
  • Like
  • Fire
Reactions: 47 users

buena suerte :-)

BOB Bank of Brainchip
Thanks Dio, I particularly liked your last sentence :)

"ISL submitted their idea in July 2022, so there would have been time to incorporate Akida into their proposal"

On a lighter note, I've had more than a few rumbos cause you know it's Friday & it also happens to be my Birthday week so come Monday morning I think my presents should be a cracker of a 4c & an announcement that Akida 2 has come out even better than expected....

WoooHooo 🥳🥳🥳

Bugs Bunny Money GIF by Looney Tunes
Have a FANTASTIC Birthday TG ..... 🍾🍾🍾
 
  • Love
  • Like
  • Fire
Reactions: 13 users

Learning

Learning to the Top 🕵‍♂️
Thanks Dio, I particularly liked your last sentence :)

"ISL submitted their idea in July 2022, so there would have been time to incorporate Akida into their proposal"

On a lighter note, I've had more than a few rumbos cause you know it's Friday & it also happens to be my Birthday week so come Monday morning I think my presents should be a cracker of a 4c & an announcement that Akida 2 has come out even better than expected....

WoooHooo 🥳🥳🥳

Bugs Bunny Money GIF by Looney Tunes
Happy birthday for next week TechGirl 🎂🎂🎂,
It's also, Mrs Learning, Learning's son and sister. So that would be a great present 🎁 for them and you 🎁.

It's great to be a shareholder 🏖🍺🍾🍷
 
  • Like
  • Love
Reactions: 16 users
Thanks Dio, I particularly liked your last sentence :)

"ISL submitted their idea in July 2022, so there would have been time to incorporate Akida into their proposal"

On a lighter note, I've had more than a few rumbos cause you know it's Friday & it also happens to be my Birthday week so come Monday morning I think my presents should be a cracker of a 4c & an announcement that Akida 2 has come out even better than expected....

WoooHooo 🥳🥳🥳

Happy birthday for this last week or next week which ever is the one containing your birthday.🎁🎁🎁🎁🎁🎁🎁🎁🎁🎁🎂🎂🎂🎂🎂🎂🎂🎂🎂🎂🎂🎂🎂🎂🎂🎂🎂🎂🎂🎂🎂🎂🎂🎂🎂🎂🎂🎂🎂🎂🎂🎂🎂🎂🎂🎂🎂🎂🎂🎂🎂🎂🎂🎂🎂🎂
FF

AKIDA BALLISTA to the max.
 
  • Like
  • Haha
  • Love
Reactions: 12 users

Slade

Top 20
I am a very patient person. It’s just a little painful is all.
Music Video Reaction GIF by Wrabel
 
  • Haha
  • Like
Reactions: 14 users

Esq.111

Fascinatingly Intuitive.
Afternoon Chippers,

Just came upon this at the crapper,

Time stamp: 16:16
Posted by hOOts,
In the pls thread .

Gathering of fund managers, aka WANCAS , once a year , come together to pat each other on the back and raise funds for charity.

Thay give their thoughts on the year ahead.

Apparently ,

BRN is ranked 7th , with a ( short ) ranking.????

WANCAS.

Don't shoot the messinger.
Just thought I'd bring it to everyone's attention.

Esq.
 
Last edited:
  • Like
  • Fire
  • Sad
Reactions: 8 users
Afternoon Chippers,

Just came upon this at the crapper,

Time stamp: 16:16
Posted by hOOts,
In the pls thread .

Gathering of fund managers, aka WANCAS , once a year , come together to pat each other on the back and raise funds for charity.

Thay give their thoughts on the year ahead.

Apparently ,

BRN is ranked 7th , with a ( short ) ranking.????

WANCAS.

Don't shoot the messinger.
Just thought I'd bring it to everyone's attention.

Esq.

Wilzy gonna go full Kyrgios mode when he sees this
 
  • Haha
  • Like
  • Wow
Reactions: 18 users
Afternoon Chippers,

Just came upon this at the crapper,

Time stamp: 16:16
Posted by hOOts,
In the pls thread .

Gathering of fund managers, aka WANCAS , once a year , come together to pat each other on the back and raise funds for charity.

Thay give their thoughts on the year ahead.

Apparently ,

BRN is ranked 7th , with a ( short ) ranking.????

WANCAS.

Don't shoot the messinger.
Just thought I'd bring it to everyone's attention.

Esq.
Perhaps I am tired but I do not understand what this "BRN is ranked 7th" means.

Gathering of fund managers - do you know which funds they are managing?

I don't know whether to shoot or not because I genuinely do not understand this post.
Regards
FF

AKIDA BALLISTA
 
  • Like
  • Love
  • Fire
Reactions: 10 users

Esq.111

Fascinatingly Intuitive.
Hi Fact Finder,

Sorry , I don't know how to cut and past , still.

Google,

Calcutta 2023, Australia's brightest ( that's debatable) pick 17 stocks for the year ahead.

Regards,
Esq.
 
  • Like
  • Love
Reactions: 7 users

TasTroy77

Founding Member
Perhaps I am tired but I do not understand what this "BRN is ranked 7th" means.

Gathering of fund managers - do you know which funds they are managing?

I don't know whether to shoot or not because I genuinely do not understand this post.
Regards
FF

AKIDA BALLISTA
According to data on "Shortman " BrainChip is ranked 21st most shorted company on the ASX not 7th
 
  • Like
  • Love
Reactions: 5 users

Zedjack33

Regular
Perhaps I am tired but I do not understand what this "BRN is ranked 7th" means.

Gathering of fund managers - do you know which funds they are managing?

I don't know whether to shoot or not because I genuinely do not understand this post.
Regards
FF
 
  • Like
  • Haha
  • Love
Reactions: 10 users

CWP

Regular
According to data on "Shortman " BrainChip is ranked 21st most shorted company on the ASX not 7th
It was 7th on their rubbish list, as a shorted option.

 
  • Like
Reactions: 3 users
Hi Fact Finder,

Sorry , I don't know how to cut and past , still.

Google,

Calcutta 2023, Australia's brightest ( that's debatable) pick 17 stocks for the year ahead.

Regards,
Esq.
This is the link: https://www.livewiremarkets.com/wir...vestors-name-17-top-stocks-for-the-year-ahead

Even reading the full article I find it hard to understand how they include short with long in the list. Obviously went to the wrong school any help would be appreciated. I mean this being chosen at number 7. for a start flies in the face of MF listing BRN as its 6th best stock pick for a record number of years.

Anyway if anyone can assist the old guy at the back of the room it would be appreciated.

Regards
FF

AKIDA BALLISTA
 
  • Haha
  • Like
Reactions: 10 users

Esq.111

Fascinatingly Intuitive.
Hi CPW,

Cheers for the cut and copy.

Esq.
 
  • Like
Reactions: 3 users

miaeffect

Oat latte lover
Afternoon Chippers,

Just came upon this at the crapper,

Time stamp: 16:16
Posted by hOOts,
In the pls thread .

Gathering of fund managers, aka WANCAS , once a year , come together to pat each other on the back and raise funds for charity.

Thay give their thoughts on the year ahead.

Apparently ,

BRN is ranked 7th , with a ( short ) ranking.????

WANCAS.

Don't shoot the messinger.
Just thought I'd bring it to everyone's attention.

Esq.
Screenshot_20221021-180755_Chrome.jpg


Not ranked 7th, Just No.7. Just another clown ping pong dance show.
 
  • Like
  • Fire
Reactions: 11 users

Foxdog

Regular
Ahh this bloody rain FF, I'm sick of it - 3 crap summers in a row and the one before that was full of smoke from bushfires - go figure. I'm sure at some point in the future we'll look back on this disruptive period through nostalgic glasses - 'ahh those were the days - bushfires, floods and the BRN share price was only 87c. Ha remember that, we even had to drive our own cars.....and now AKIDA keeps us all wealthy, healthy and happy'

Ahh my first gin and lemonade must be kicking-in, thinking of hot summer afternoons and test cricket......

Happy weekend FF and fellow chippers. Stay strong, our time in the sun is coming 🏖️😆
 
  • Like
  • Love
  • Fire
Reactions: 27 users

BaconLover

Founding Member
View attachment 19579

Not ranked 7th, Just No.7. Just another clown ping pong dance show.
Some of those shares they recommend for Long are absolute lemons.
May be 2 or 3 worth a look, the rest are in downtrend with no sight of bottoming out.

Having more than $100m shorted for BRN, which is clearly consolidating and holding well even these turbulent times being recommended for shorting, may be is the proof that these hedge fundies aren't that smart after all.

Who recommends to invest in Virgin money UK 😆 and when was the last time you used webjet to book a flight? Looks to me like someone is trying to find new bag holders 🎒 🛄 🧳
 
  • Like
  • Haha
  • Fire
Reactions: 37 users

Dozzaman1977

Regular
View attachment 19579

Not ranked 7th, Just No.7. Just another clown ping pong dance show.
Looking at all last year's "top" pick returns/ results I can conclude the following thoughts
1. I'm more confident now that brainchip will have a bloody good 12 months
2. The best and brightest so called fund managers don't have much of a clue if they think the best investments out there involve shorting a stock.
3. A monkey could of thrown darts at the asx company list for the past decade and made money, now it gets harder (with increase in money market rates) and judging their results last year proves this
4. Fund managers are basically sheep that follow each other around with little research into stocks apart from looking at a computer screen analysing candles
5. Fund managers don't deserve the outrageous fees they charge people
6. WANCAS = Clowns
day clown GIF
 
  • Like
  • Fire
  • Haha
Reactions: 27 users
Top Bottom