BRN Discussion Ongoing

WOW another biggy

11:48:34 AM1.155216,736250,330.080ASX
That was a part of this order

2022-05-20 10_18_52-report.csv - Excel.png


I have that level of confidence but it would be nice to have that amount of cash to splash too.
 
  • Like
  • Fire
  • Love
Reactions: 26 users
In a recent interview we where told that a brainchip is working with a major communications company. I can’t remember who said it if it was Sean Heir or Rob telson or someone else, but it has made me go down a rabbit hole trying to find any connections of this.

On linked in I saw a company called JPR communications Re posting a post from Brainchip.

It turns out Brainchip is working with them but not the way I was suspecting when they stated they where working with a communications company. I for some reason thought it was in regards with implementing IP, but if what they where referring to was in fact working with this Communications company on a basis where JPR is advertising and helping Brainchip spreading the word than this might be what they where referring to. I am open for corrections here, but thought I would share.
Hi FM
JPR were employed over a year ago to handle the USA end of the investor relations side of things. I listened to the presentation you refer to and it was Sean Hehir and I have no doubt it is not JPR though I can see why you might think this with Nviso working in the advertising and marketing space for the financial services industry. I have no doubt it is a telco provider of some sort and while I cannot currently remember which ones were suggested at the time there were some likely candidates suggested by others here including Tech.

Regards
FF

AKIDA BALLISTA
 
  • Like
  • Love
  • Fire
Reactions: 25 users

Yak52

Regular
Here is a sumarry of the trade volumes for this am:

View attachment 7134

View attachment 7135

Things have been heating up for a few weeks now.
The cat is out of the bag in the tech sphere, so many people in many companies know where this is going bc they are working with it.
It wont be long before retail Joe and Jane know too, bc they bought something with 'Akida inside' or, it appears on 60min as an Aussie breakthrough leading the world

EXCELLENT post and info fallingknife. Thanks very much for that. The SP and shares are on the move finally.

Yak52
 
  • Like
  • Fire
  • Love
Reactions: 21 users

buena suerte :-)

BOB Bank of Brainchip
  • Like
Reactions: 10 users

TheFunkMachine

seeds have the potential to become trees.
Hi FM
JPR were employed over a year ago to handle the USA end of the investor relations side of things. I listened to the presentation you refer to and it was Sean Hehir and I have no doubt it is not JPR though I can see why you might think this with Nviso working in the advertising and marketing space for the financial services industry. I have no doubt it is a telco provider of some sort and while I cannot currently remember which ones were suggested at the time there were some likely candidates suggested by others here including Tech.

Regards
FF

AKIDA BALLISTA
Ok, thanks for your response!:) I wasn’t aware that they where working with JPR for that long:)

I also thought it must be a telco company, but the words used in the interview was communications company, not Tele communications, that’s why i found this relevant, but I hope and pray that it is in fact AT&T or Telstra or something like that.
 
  • Like
  • Love
  • Fire
Reactions: 11 users

Mugen74

Regular
Hopefully not too much longer to wait for:
1653014236479.png
 
  • Like
  • Haha
  • Fire
Reactions: 24 users
Here is one for the speculators. Other speculators speculating on a photo of a laptop in an RISC-V presentation. LOL However
it is not fantasy to consider the possibilities that SiFive and AKIDA could be involved in a laptop after all the former CEO Mr. Dinardo
often mentioned the laptop market as holding promise:

The world's first RISC-V laptop could arrive sooner than you think​

Joel Khalili - 11h ago

© Provided by TechRadar

1653014131545.png

An image of what could be the first ever laptop powered by a RISC-V processor has been teased by the body tasked with bringing the instruction set architecture (ISA) to the mainstream.
The image featured at the end of a presentation delivered in Paris earlier this month by Philipp Tomsich, who heads up the software committee at RISC-V International.
“The big question everybody is asking themselves…[is whether] we will see the first RISC-V laptop announced this year,” he said. “There’s a mystery laptop pictured on the right, and I’ll just leave you all with the question: might there be a RISC-V in this one already?”

RISC-V forges ahead​

RISC-V is a free, open source instruction set architecture (ISA) built around the same design principles as Arm’s proprietary cores, which command royalties each time they are integrated into an SoC.


At the moment, RISC-V-based processors are far less common than either Arm or x86-based chips, but the movement appears to be gaining in momentum.
For example, China is now leaning heavily into RISC-V in the hope of minimizing its reliance on western semiconductor companies. And even Intel is dabbling in the space, having presumably come to the conclusion that x86 cannot compete for power efficiency in the long term.
The recent success of Arm-based processors like Apple’s M-series chips is proof that RISC designs have a future in the PC and workstation market, something that has not been lost on RISC-V International.
The organization has been open about its ambitions to bring the world’s first RISC-V-based laptop to fruition by the end of the year. Until now, there have been few specifics to work with, but the recent tease will give the community something to get excited about.
Whether the specific laptop pictured in the presentation turns out to be the real deal is anyone’s guess, but the nature of the hint suggests RISC-V International is confident in its predicted timeline

My opinion and even further speculation DYOR
FF

AKIDA BALLISTA
 
  • Like
  • Fire
  • Love
Reactions: 35 users

ndefries

Regular
Ok, thanks for your response!:) I wasn’t aware that they where working with JPR for that long:)

I also thought it must be a telco company, but the words used in the interview was communications company, not Tele communications, that’s why i found this relevant, but I hope and pray that it is in fact AT&T or Telstra or something like that.
It was the CEO that said it was working with a telco and i am hopeful we are working with AT&T

some of the comments from AT&T i have found

'AT&T is building its network AI platform to scale from the core to the edge.

AI is the key ingredient for implementing numerous projects and platforms for AT&T. AT&T is putting more intelligence into its mobile edge compute (MEC) at the customer edge and into its radio access network (RAN.) It's using AI to manage its third-party cloud arrangements, such as Microsoft, and in its internal cloud and hybrid clouds.

"We're rethinking the RAN completely," he said. "We're pushing some of that intelligence to the RAN, where it's needed, all the way to the data centers, national, local, regional data centers."

AT&T is using AI and machine learning (ML) to build its 5G infrastructure to map its cell towers, fiber lines, and other transmitters that exist today, and to pinpoint the best location for 5G build outs in the future.

AT&T has more than 75,000 macro cells in its network and plans to build hundreds of thousands of small cells as well adding picocells, all of which will be guided by AI, AT&T's internal network data and third-party data.'
 
  • Like
  • Fire
  • Love
Reactions: 31 users

TasTroy77

Founding Member
  • Like
  • Haha
Reactions: 12 users

Slade

Top 20
Here is one for the speculators. Other speculators speculating on a photo of a laptop in an RISC-V presentation. LOL However
it is not fantasy to consider the possibilities that SiFive and AKIDA could be involved in a laptop after all the former CEO Mr. Dinardo
often mentioned the laptop market as holding promise:

The world's first RISC-V laptop could arrive sooner than you think​

Joel Khalili - 11h ago

© Provided by TechRadar

View attachment 7147
An image of what could be the first ever laptop powered by a RISC-V processor has been teased by the body tasked with bringing the instruction set architecture (ISA) to the mainstream.
The image featured at the end of a presentation delivered in Paris earlier this month by Philipp Tomsich, who heads up the software committee at RISC-V International.
“The big question everybody is asking themselves…[is whether] we will see the first RISC-V laptop announced this year,” he said. “There’s a mystery laptop pictured on the right, and I’ll just leave you all with the question: might there be a RISC-V in this one already?”

RISC-V forges ahead​

RISC-V is a free, open source instruction set architecture (ISA) built around the same design principles as Arm’s proprietary cores, which command royalties each time they are integrated into an SoC.


At the moment, RISC-V-based processors are far less common than either Arm or x86-based chips, but the movement appears to be gaining in momentum.
For example, China is now leaning heavily into RISC-V in the hope of minimizing its reliance on western semiconductor companies. And even Intel is dabbling in the space, having presumably come to the conclusion that x86 cannot compete for power efficiency in the long term.
The recent success of Arm-based processors like Apple’s M-series chips is proof that RISC designs have a future in the PC and workstation market, something that has not been lost on RISC-V International.
The organization has been open about its ambitions to bring the world’s first RISC-V-based laptop to fruition by the end of the year. Until now, there have been few specifics to work with, but the recent tease will give the community something to get excited about.
Whether the specific laptop pictured in the presentation turns out to be the real deal is anyone’s guess, but the nature of the hint suggests RISC-V International is confident in its predicted timeline

My opinion and even further speculation DYOR
FF

AKIDA BALLISTA
If we have found our way into laptops then that will be Dellightful.
 
  • Haha
  • Like
  • Love
Reactions: 25 users

Yak52

Regular
Hi IlL,

For all us fossil fools ...

I was taken by the reference to the YASA (Yolkless And Segmented Armature) motor used by (and now owned by) Mercedes.

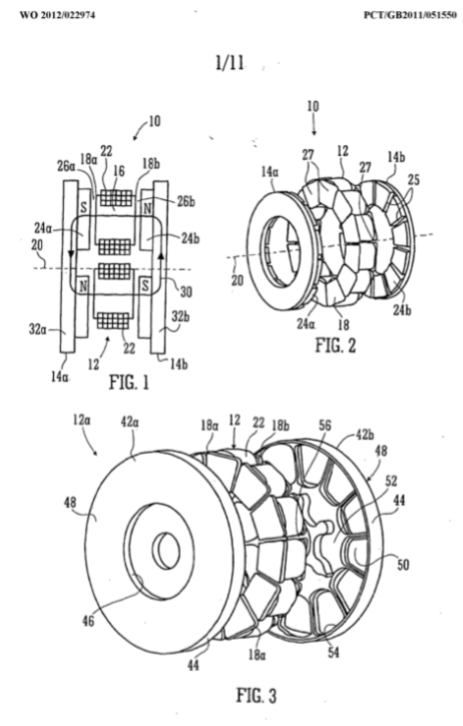
The stator is the central winding assembly 12, and the two rotors are 14a and 14b (Fig. 1). Each rotor includes an assembly of trapezoidal magnet segments 50 (Fig. 3) with alternation polarity alignment.

WO2012022974A1 ELECTRIC MACHINE - OVER-MOULDING CONSTRUCTION

View attachment 7133


1 . An electric machine comprising a rotor having permanent magnets and a stator having coils wound on stator bars for interaction with the magnets across an air gap defined between them, the rotor being journalled for rotation with respect to the stator about a rotation axis wherein the bars and coils thereon are enclosed by an annular stator housing and wherein the stator housing comprises two mating clamshells that mount the stator bars and coils in the machine, each stator bar having shoes at each end and each clamshell having cylindrical wall parts on inner and outer radii and a radial wall joining the inner and outer cylindrical wall parts, whereby the two clamshells are connected together between facing edges of said inner and outer cylindrical wall parts to form said stator housing, and in which the clamshells define between them an annular chamber through which cooling medium can be circulated around the coils to cool them,
characterised in that
each bar is formed from at least two bar parts interconnected at a transverse split across the section of the bar and in that
each clamshell is injection moulded from reinforced plastics, being overmoulded around the shoes of one bar part the stator bar to retain and position in the radial wall said bar parts whereby said shoes form part of said radial wal
l.

#######################################################################

This patent describes method of assembling the motor to maintain air gaps between the rotor and stator.
US10608490B2 Axial flux machine


View attachment 7130

[0056] FIGS. 1a to 1c show, respectively, a general configuration of a two-rotor axial flux machine, example topologies for axial flux permanent magnet machines, and a schematic side view of a yokeless and segmented armature (YASA) machine;

Hi Dio...............I have been watching and following YASA for 2-3 years now regarding their Electric Motors with a view to their use in light aviation aircraft particularly as retrofitted EAV equipment to older aircraft models ie: Cessna, piper etc.
I had hoped to acquire 2 of their models (YASA) for back-to-back mounting in my Pitts Special and thereby converting it to all Electric. (EAV)

Unfortunately I was to late and the company was acquired by MERCEDES BENZ last year which has now removed this option for conversion.
YASA was the BEST development in Electric motors available and exactly what light aircraft needed.
Damn Shame!
Still trying to find two motors 2nd hand if possible to source!

Yak52
 
  • Like
  • Sad
  • Fire
Reactions: 10 users
Just had a peek at Commsec and the interesting thing was 9,636,802 shares have changed hands and the buy side has increased but the sell side has sat around 5.5 million.

Someone must be handing out tickets at the door and only allowing 5.5 million sellers in the room at anyone time. Alternatively some of the sell orders are artificial but very unlikely because that would be naughty so it must be someone handing out tickets at the door. 🤣😂🤣😎

FF

AKIDA BALLISTA
 
  • Like
  • Haha
  • Fire
Reactions: 24 users

Diogenese

Top 20
Here is a sumarry of the trade volumes for this am:

View attachment 7134

View attachment 7135

Things have been heating up for a few weeks now.
The cat is out of the bag in the tech sphere, so many people in many companies know where this is going bc they are working with it.
It wont be long before retail Joe and Jane know too, bc they bought something with 'Akida inside' or, it appears on 60min as an Aussie breakthrough leading the world
To get their $56556.155 purchase, they needed to pick up the scraps from 26 sellers.
 
  • Like
  • Haha
  • Love
Reactions: 14 users
To get their $56556.155 purchase, they needed to pick up the scraps from 26 sellers.
Correct.

I have declared they can have some of my scraps at $10.

I'm a patient person....
Cant wait to see how long I have to wait :whistle:
 
  • Like
  • Haha
  • Love
Reactions: 22 users

Diogenese

Top 20
Hi Dio...............I have been watching and following YASA for 2-3 years now regarding their Electric Motors with a view to their use in light aviation aircraft particularly as retrofitted EAV equipment to older aircraft models ie: Cessna, piper etc.
I had hoped to acquire 2 of their models (YASA) for back-to-back mounting in my Pitts Special and thereby converting it to all Electric. (EAV)

Unfortunately I was to late and the company was acquired by MERCEDES BENZ last year which has now removed this option for conversion.
YASA was the BEST development in Electric motors available and exactly what light aircraft needed.
Damn Shame!
Still trying to find two motors 2nd hand if possible to source!

Yak52
Yes. The axial magnetic flow concept enabling the use of two rotors with a single stator has proven to be a great advantage.
 
  • Like
  • Love
Reactions: 4 users

Cyw

Regular
Just had a peek at Commsec and the interesting thing was 9,636,802 shares have changed hands and the buy side has increased but the sell side has sat around 5.5 million.

Someone must be handing out tickets at the door and only allowing 5.5 million sellers in the room at anyone time. Alternatively some of the sell orders are artificial but very unlikely because that would be naughty so it must be someone handing out tickets at the door. 🤣😂🤣😎

FF

AKIDA BALLISTA
Can't believe 10M sold 2 days before the AGM. Very brave traders.
 
  • Like
  • Love
Reactions: 6 users

Yak52

Regular
We can keep wishing but I don't think this AGM will disclose much. At the next AGM we will all be driving the new Merc EQX to the venue

Cyw............why do you think they won't disclose much at the AGM? Curious comment to say the least.

This is the forum (AGM) where they(management) have the opportunity and requirement to disclose relevant info about the company to its shareholders.

This is the Companies chance to stand up and proclaim to the world how superior and necessary Brainchip AKIDA is to the world and where it is making inroads!
THEY will be saying plenty...........

And they will have to answer questions from investors which will be very interesting to say the least.

ASK THE RIGHT QUESTIONS GUYS! Dont waffle on with Shite.
This is the time to find out answers.

Yak52
 
  • Like
  • Fire
  • Love
Reactions: 48 users

Cyw

Regular
Cyw............why do you think they won't disclose much at the AGM? Curious comment to say the least.

This is the forum (AGM) where they(management) have the opportunity and requirement to disclose relevant info about the company to its shareholders.

This is the Companies chance to stand up and proclaim to the world how superior and necessary Brainchip AKIDA is to the world and where it is making inroads!
THEY will be saying plenty...........

And they will have to answer questions from investors which will be very interesting to say the least.

ASK THE RIGHT QUESTIONS GUYS! Dont waffle on with Shite.
This is the time to find out answers.

Yak52
As Sean said watch the financials. I guess whatever they can say we know already. Whatever makes them pop corks in the office cannot be disclosed. Unless there are lots of money came in after the quarter end, there is really nothing much to expect. All these partnerships have no money attached and it is difficult to know how long it will the partners to come up with anything sellable with AKIDA inside.
 
  • Like
  • Love
Reactions: 13 users

Yak52

Regular
Yes. The axial magnetic flow concept enabling the use of two rotors with a single stator has proven to be a great advantage.

This group (YASA) started out as Uni people in UK who just got it right.

For me the application was a dream, two motors which weighed a fraction of my original 210hp (AVGAS) Lycoming & heavy Prop + fuel and the only concern was batteries and their weight which for same range (flight duration) meant I took my 815lbs airframe down to around 650lbs ..............
STILL with 210-250 hp .
AWESOME power to weight ratio which meant I could nearly/possibly climb vertical. Close to it.

Yak52
 
  • Like
  • Love
  • Fire
Reactions: 9 users

Slade

Top 20
Cyw............why do you think they won't disclose much at the AGM? Curious comment to say the least.

This is the forum (AGM) where they(management) have the opportunity and requirement to disclose relevant info about the company to its shareholders.

This is the Companies chance to stand up and proclaim to the world how superior and necessary Brainchip AKIDA is to the world and where it is making inroads!
THEY will be saying plenty...........

And they will have to answer questions from investors which will be very interesting to say the least.

ASK THE RIGHT QUESTIONS GUYS! Dont waffle on with Shite.
This is the time to find out answers.

Yak52
Agree Yak, I think the AGM will be very informative . The thousand eyes have accumulated some great research that should produce some very good probing like: please explain what exactly the ARM technology partnership means (if we don’t already know by then).
 
  • Like
  • Love
  • Fire
Reactions: 24 users
Top Bottom