BRN Discussion Ongoing

Diogenese

Top 20
Hi Fact Finder,

There are some interesting snippets in this article published a few days ago.

  • Multimodal AI technology 👍
  • Privacy 👍
  • Improved user personalisation 👍
  • Software on-device 👍

Extract 1
View attachment 58237
Extract 2

View attachment 58236

Extract 3
View attachment 58238







Just a reminder on the multi-modal side of things, which is right down our alley. Oh, and Christiano Amon (CEO Qualcomm) said in his interview yesterday that Apple aren't looking to Qualcomm for help with their processor just their modem. Actually what he said at 3.10 mins is " We don't have a relationship with Apple on their processors. They have their own processors".

So, if Apple wants to improve it's functionality at the edge and they aren't looking to Qualcomm to assist, then that should increase our chances of some potential involvement hopefully, IMO.

View attachment 58240 View attachment 58239
Hi Bravo,

This is an Apple patent application for transferring a model to a handset:
WO2024030333A1 METHOD AND APPARATUS FOR AI MODEL DEFINITION AND AI MODEL TRANSFER 20220821

1709263072598.png




1709263119717.png


An apparatus of a user equipment (UE), the apparatus comprising a processor, and a memory storing instructions that, when executed by the processor, configure the apparatus to receive, from a base station of an operator network, Protocol Data Units (PDUs) carrying Artificial Intelligence (AI) model data in either a control plane or a user plane, and decapsulate the PDUs to obtain and store the AI model data, wherein the AI model data is indicative of an AI model configured for inference in Access Network (AN) protocol layers at the UE.
 
  • Like
  • Fire
Reactions: 9 users

Diogenese

Top 20
  • Haha
  • Like
Reactions: 8 users
Hi SS
This was raised with Brainchip and it was indicated it had been discussed after someone probably a shareholder raised the idea.

The companies decision was not to do so because it could be taken as a recommendation of what is posted here and this could mislead someone considering an investment in Brainchip.

My opinion only DYOR
Fact Finder
OMG one would think such a site would be welcomed considering the effort made by most here. Only trying to get the word out to the world. Why a symbolic note at the bottom of the page saying…..

All tho we love the people over at TSE . BRN acknowledges it is an open Social media platform out of the control of BRN.
 
  • Like
  • Fire
Reactions: 2 users

Esq.111

Fascinatingly Intuitive.
Well , you would think with the last couple of weeks in tech stocks , Analysts should have given Brainchip a rather substantial probing by now.

Time to load up ,

Wall Street Bull.


Vanity hypothesis except for bull on wall street balls private Subdivide  The city


Regards,
Esq.
 
  • Haha
  • Like
  • Fire
Reactions: 35 users

Shadow59

Regular
Afternoon Db1969oz ,

The volume on 0ne minute duration over the last three and a half days would , to myself , indicate some time around 3:15 AEST onwards could see something a little special.

The one day volume on one hour is also exhibiting the same vibe.

Regards ,
Esq.
You're looking pretty good at the moment. I hope I haven't spoke too soon.
 
  • Like
  • Fire
Reactions: 2 users

mrgds

Regular
You're looking pretty good at the moment. I hope I haven't spoke too soon.
Nah, Ol Esky is slipping as he was 10min early with his forecast. :love:
 
  • Haha
  • Like
Reactions: 6 users
OMG one would think such a site would be welcomed considering the effort made by most here. Only trying to get the word out to the world. Why a symbolic note at the bottom of the page saying…..

All tho we love the people over at TSE . BRN acknowledges it is an open Social media platform out of the control of BRN.
Remember the decision makers are in the USA where lawyers will litigate their own mothers for breach of fiduciary duty for not teaching them how to save their pocket money. 😎😞😂🤣🤡😞

My opinion only DYOR
Fact Finder
 
  • Like
  • Haha
  • Sad
Reactions: 16 users

Guzzi62

Regular
View attachment 58243
Awesome, thanks.

The author: Dale Gillham is chief analyst at Wealth Within and international bestselling author of How to Beat the Managed Funds by 20%. He is also the author of Accelerate Your Wealth—It’s Your Money, Your Choice, which is available in bookstores and online .

So much more trustworthy than some unknown fool(s), not mentioning any names, LOL.
 
  • Like
  • Love
  • Fire
Reactions: 14 users

MegaportX

Regular
 
  • Like
  • Love
  • Thinking
Reactions: 25 users
It’s wouldn’t hurt BRN to acknowledge TSE on their webpage I recon
I know they wouldn't do that.
And although they say the share price isn't a focus (progressing the Company is and the share price follows) it is still important when raising funds.

Although there are very few, who have actually directly contributed funds to the Company (the majority of holdings being bought on market) this buying, has still supported the share price, for when raising has occurred.

I think, as part of marketing expenses BrainChip could backdoor some funds to Zeebot, for advertising, in the the same way GMH supported HDT during the days when Holden's didn't "officially" have a racing program.
(a car manufacturer supporting a racing venture, for the ones outside Oz).

This would be in the Company's best interests, in my opinion, but again I highly doubt it would happen.
(there is no problem of "integrity" in doing something like this, as marketing expenses, aren't itemised and it is legitimately "marketing" the Company).
 
  • Like
  • Love
Reactions: 10 users

Even Sally does not get native SNN.

She should have responded:

“Brainchip’s AKIDA being event based SNN is directly compatible however Prophesee’s neuromorphic event based sensor can still be used with SynSense and other processors with some adjustments and performance loss.”

My opinion only DYOR
Fact Finder
 
  • Like
  • Haha
  • Fire
Reactions: 38 users

zeeb0t

Administrator
Staff member
I wonder how many eyes, actually witness our "musings"..

TSEx, only has just over 3200 members (3260 as of now).

Maybe 50 to 100 regular contributors.

The highest rated posts, that I've seen, have between 150 and 200 likes, so how many of that 3000 odd, actually still view the forum?

Could be a lot of lurkers?..

It would be interesting to see what kind of daily visitor (non member) traffic and even member traffic there is @zeeb0t, or that may be confidential information?..

Although we have members from around the World, I think our voice may be fairly small, in its "reach" currently..

I think it would definitely benefit those interested in BrainChip, if this forum was more widely known, but there are most likely many other forums around the World, discussing BRN..

Obviously not at our level of informational dissemination though 😛

Over the last 30 days, 11,800 people visited the forum (all forums included in that number) and generated over 664,000 page views.
 
  • Like
  • Love
  • Fire
Reactions: 75 users

Damo4

Regular
Over the last 30 days, 11,800 people visited the forum (all forums included in that number) and generated over 664,000 page views.

Wow great stuff!
Is 11800 unique IP addresses or could non-members be counted as duplicates per session?
 
  • Like
Reactions: 2 users
Over the last 30 days, 11,800 people visited the forum (all forums included in that number) and generated over 664,000 page views.
Cheers for that Zeebot 👍

So 11800/30 is 393.33
(393 people and a shorter, on average per day, across all company forums).

Can you tell if page views are unique?
Or if I come back to this page several times, to view new posts, I'm assuming that's counted as a view?

I think it's pretty obvious, that while we are probably the most informed BRN holders, outside of the Company itself, we are indeed a select group.

Which says 2 things.

1) We are very fortunate to have an almost "exclusive" access, to the information on this forum.

But more importantly.

2) We are "still" on the ground floor, in regards to our investment, in this Company and the Lion's share of new investor interest has occurred from outside share forums.
(seeing as ours is informationally the best).
 
Last edited:
  • Like
  • Fire
  • Love
Reactions: 22 users
  • Like
  • Fire
  • Love
Reactions: 16 users

FJ-215

Regular
Hey FJ, yeah I knew about that, but...

"Under this Third Amendment, the company has agreed to an additional Minimum Drawdown Amount of $12M to be drawn no later than 31 December 2024.
Under the terms of the agreement, the company will issue 40 million Collateral Shares by the earlier of the next Capital Call or 31 March 2024. Any issuance of Shares by the Company will be done so under the Company’s Listing Rule 7.1 placement capacity and will be subject to the Company’s available placement capacity at that time".


The shares are just being issued then (there may not even be an announcement for that, as it's already been said).
That's not the date of the Capital Call, which I think the Company, will choose to do at an opportune time, before the end of the year.
Hi DB,

I know most here would be across this but some won't be. Guessing there are quite a few new holders after the recent run. If we all know it's coming then there will be no shock. I can already imagine the response from the goons on HC when this drops. Yes it is only the transfer of shares to LDA but those nutters won't let facts get in the way of a good down ramp.

Personally I would be happy to see us make a call soon. The AI buzz is still strong, the share price is up and we have some good news flow coming in April/May. (attending Embedded World, tinyML, Embedded Vision & Hardware Pioneers). An extra $12M in the bank by half year would be fantastic, no strain on the balance sheet if the BoD decide to tape out Akida 2 reference chips.

And just between you and me. Don't you think it is odd that Sean just did an investor presentation after the last cap raise finished? Bit like advertising a Boxing Day sale in January.
 
  • Like
  • Fire
Reactions: 5 users

McHale

Regular
Nice we make the "Experience Highlights" select group on the CES 24 report.

Must be doing something well :)

Some decent names in the first couple of "highlights" groups with ours straight after the keynote highlights.

Report HERE



View attachment 58202

View attachment 58203
View attachment 58204
View attachment 58206

View attachment 58205
Hi Fmf, that is a great find and a clear indicator of the fact that the BRN is moving into the limelight (this CES coverage is bigtime limelight), it's beginning to look like it is only a matter of time before BRN will be at the top of the charts, although I'm not talking about TA charts (and charting) because I am actually talking to top of the tech popularity charts.

Have to say though that my EWave TA has BRN going up, never in a straight line, but the medium term trend is up........
 
  • Like
  • Fire
  • Love
Reactions: 32 users

Bravo

If ARM was an arm, BRN would be its biceps💪!
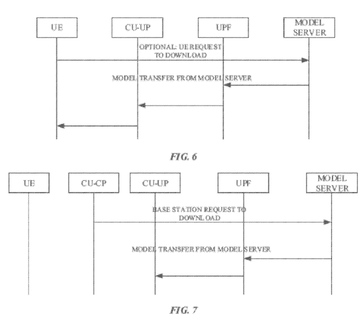
Hi Bravo,

This is an Apple patent application for transferring a model to a handset:
WO2024030333A1 METHOD AND APPARATUS FOR AI MODEL DEFINITION AND AI MODEL TRANSFER 20220821

View attachment 58241



View attachment 58242

An apparatus of a user equipment (UE), the apparatus comprising a processor, and a memory storing instructions that, when executed by the processor, configure the apparatus to receive, from a base station of an operator network, Protocol Data Units (PDUs) carrying Artificial Intelligence (AI) model data in either a control plane or a user plane, and decapsulate the PDUs to obtain and store the AI model data, wherein the AI model data is indicative of an AI model configured for inference in Access Network (AN) protocol layers at the UE.
Hi @Diogenese,

Are you able to find out more about this recent Apple patent involving a "Customizable Chip for AI applications".

It says here it involves neural networks and approximates the operation of a human brain.



Screenshot 2024-03-01 at 4.44.31 pm.png
 
  • Like
  • Wow
  • Love
Reactions: 20 users
Hi DB,

I know most here would be across this but some won't be. Guessing there are quite a few new holders after the recent run. If we all know it's coming then there will be no shock. I can already imagine the response from the goons on HC when this drops. Yes it is only the transfer of shares to LDA but those nutters won't let facts get in the way of a good down ramp.

Personally I would be happy to see us make a call soon. The AI buzz is still strong, the share price is up and we have some good news flow coming in April/May. (attending Embedded World, tinyML, Embedded Vision & Hardware Pioneers). An extra $12M in the bank by half year would be fantastic, no strain on the balance sheet if the BoD decide to tape out Akida 2 reference chips.

And just between you and me. Don't you think it is odd that Sean just did an investor presentation after the last cap raise finished? Bit like advertising a Boxing Day sale in January.
That's the thing, it's already been announced, so they are not going to do it again, it will just happen (the collateral shares).

As for the timing of the call, the Company will have to consider it carefully.

Doing at these levels, will likely wipe out any share price gains and it would be a struggle to raise at an average of 30 cents.

They will want to do much higher, in my opinion and I'm guessing it would be in the new financial year as well.

So probably aiming for August/September (as well as giving time for IP deals to drop and additional Company/share price supporting developments).

The Company can't predict future market conditions, or World events, so it's hard to have a concrete plan, but I very much doubt, it will be before the AGM and then the end of financial year, is too close, with the additional pressure that provides.

"just between you and me" on a public forum 🤔...
 
  • Like
  • Thinking
  • Fire
Reactions: 9 users

Diogenese

Top 20
Hi @Diogenese,

Are you able to find out more about this recent Apple patent involving a "Customizable Chip for AI applications".

It says here it involves neural networks and approximates the operation of a human brain.



View attachment 58255

Hi Bravo,

This is the Espacenet link:

US2022343135A1 CUSTOMIZABLE CHIP FOR AI APPLICATIONS 20190211

1709273959910.png


In one embodiment, a computing device includes an input sensor providing an input data; a programmable logic device (PLD) implementing a convolutional neural network (CNN), wherein: each compute block of the PLD corresponds to one of a multiple of convolutional layers of the CNN, each compute block of the PLD is placed in proximity to at least two memory blocks, a first one of the memory blocks serves as a buffer for the corresponding layer of the CNN, and a second one of the memory blocks stores model-specific parameters for the corresponding layer of the CNN.

[0004] A neural network is a system of interconnected artificial “neurons” that exchange messages between each other. The connections have numeric weights that are tuned during the training process, so that a properly trained network will respond correctly when presented with an image or pattern to recognize. The network consists of multiple layers of feature-detecting “neurons”. Each layer has many neurons that respond to different combinations of inputs from the previous layers. Training of a network is performed using a “labeled” dataset of inputs in a wide assortment of representative input patterns that are associated with their intended output response. Training uses general-purpose methods to iteratively determine the weights for intermediate and final feature neurons. In terms of a computational model, each neuron calculates the dot product of inputs and weights, adds the bias, and applies a non-linear trigger function (for example, using a sigmoid response function). Deep neural networks (DNN) have shown significant improvements in several application domains including computer vision and speech recognition. In computer vision, a particular type of DNN, known as a Convolutional Neural Network (CNN), has demonstrated state-of-the-art results in object recognition and detection. A CNN is a special case of the neural network described above. A CNN consists of one or more convolutional layers, often with a subsampling layer, which are followed by one or more fully connected layers, as in a standard neural network.

[0009] A programmable logic device (PLD) is an electronic component used to build reconfigurable digital circuits. Logic devices can be divided into two categories: fixed logic devices and PLDs. The primary difference between fixed logic devices and PLDs is reconfigurability. Once fixed logic devices are manufactured, its circuit is permanently configured. This means that fixed logic devices can only perform a function or set of functions according to how the devices were manufactured. In contrast, PLDs are manufactured to be reconfigurable to allow wide range of logic capabilities, characteristics, speed and voltage characteristics.

[0010] Some of the first widely used PLDs were called programmable logic array (PLA), programmable array logic (PAL), and generic array logic (GAL). Then, through continuous development in the field, PLDs evolved into what is now known as a complex programmable logic device (CPLD) and field programmable gate array (FPGA)
.

This is a "compute-near-memory" architecture.

No reference to spikes, so the PLD is just running POD (plain old digital).

This patent does not use Akida (but it could).
 
  • Like
  • Love
  • Fire
Reactions: 27 users
Top Bottom