BRN Discussion Ongoing

Learning

Learning to the Top 🕵‍♂️
Screenshot_20231002_132003_Chrome.jpg

Screenshot_20231002_132132_Chrome.jpg

Screenshot_20231002_132100_Chrome.jpg


That look like the Akida 1000 PCIe Board to me?

Anyone has a zooming software?


Learning 🪴
 

Attachments

  • Screenshot_20231002_132100_Chrome.jpg
    Screenshot_20231002_132100_Chrome.jpg
    654.9 KB · Views: 275
Last edited:
  • Like
  • Fire
  • Love
Reactions: 123 users

Esq.111

Fascinatingly Intuitive.
Afternoon Learning ,

I concure.

🚀
.

Best I could zoom....

Regards,
Esq.
 

Attachments

  • 20231002_130252.jpg
    20231002_130252.jpg
    2.4 MB · Views: 324
  • Like
  • Haha
  • Love
Reactions: 48 users

Damo4

Regular
View attachment 46049
View attachment 46051
View attachment 46053

That look like the Akida 1000 PCIe Board to me?

Anyone has a zooming software?


Learning 🪴



HUGE

and yes definitely Brainchip - if you squint you can make out the name hahah
 
  • Like
  • Fire
  • Love
Reactions: 30 users

IloveLamp

Top 20
View attachment 46049
View attachment 46051
View attachment 46053

That look like the Akida 1000 PCIe Board to me?

Anyone has a zooming software?


Learning 🪴
Screenshot_20231002_124454_Facebook.jpg
Screenshot_20231002_124712_Gallery.jpg
 
Last edited:
  • Haha
  • Like
Reactions: 21 users

Damo4

Regular
Edit it's also shown in their documentation manuals, so perhaps it comes pre-loaded, I'm just used to see the below image.

wonder what they've attached here:
1696214555433.png
 
  • Like
  • Love
  • Fire
Reactions: 23 users

Jasonk

Regular
Yea it is you can even see the brainchip logo on the PCB next to the chip.
 
  • Like
  • Love
Reactions: 17 users

Bravo

If ARM was an arm, BRN would be its biceps💪!
Screen Shot 2023-10-02 at 1.44.11 pm.png
Screen Shot 2023-10-02 at 1.45.37 pm.png
 
  • Like
  • Love
  • Fire
Reactions: 34 users

SERA2g

Founding Member
Yea it is you can even see the brainchip logo on the PCB next to the chip.
Yep, 100% correct.

Here's the PCB below, ignore the red box, just re-used Damo's picture..

1696214897267.png

And here's theirs - same akida * on the corner of the AKD1000 chip and diagonal to the round gold thing.

1696214943423.png


Great find @Learning

Edit: Great work to @chapman89 who commented on the EdgX announcement post on LinkedIn before the pictures surfaced here on TSEX. 1000 eyes strikes again!
 

Attachments

  • 1696214868331.png
    1696214868331.png
    291.1 KB · Views: 130
  • Like
  • Love
  • Fire
Reactions: 61 users

jtardif999

Regular
There’s easy ways a round that..

“top holders would 100% block…”

Price gets bled down whilst “unrelated parties” continue to sell to each other increasing their ownership.. It wouldn’t be that hard to accumulate over several years a controlling interest that can vote out majority holders like PVDM and Anil.and others if they “don’t play ball”.. The price has come down around 90%.. Easy sell to vote out underperformance on executive BOD’s if they don’t “play ball” so to speak..

Once they control the vote, they then can manipulate what any large holder does.. It’s fairly well recognised that this sort of behaviour occurs constantly in business to funnel money and power to where the controlling elite want it to go..

Who you know and who benefits is more important than who has the ideas and has done all the groundwork..
But.. Peter owns the foundation patent (circa 2008 - Brain-inspired Device) good till 2028. They whoever would need him to sell that patent - even if BRN board agreed to a buy out of the other patents, which they wouldn’t imo he still has control of the foundation patent and he’s not likely to give that up.
 
  • Like
  • Love
Reactions: 12 users

Learning

Learning to the Top 🕵‍♂️
  • Like
  • Love
  • Fire
Reactions: 37 users

Damo4

Regular
Damn, Chapman was on it almost 24hrs ago!
You guys are the best, this forum has literally changed overnight with the removal of the trouble makers.

Company links for anyone interested:
https://www.edgise.com/
https://www.edgx.space/
 
  • Like
  • Love
  • Fire
Reactions: 65 users

Pappagolla

Regular
NASA, TCS, ANT61 and now EDGX.

Akida will be spending more time in space than Sigourney Weaver.
 
  • Haha
  • Like
  • Love
Reactions: 53 users

wilzy123

Founding Member
  • Like
  • Love
  • Fire
Reactions: 65 users

AusEire

Founding Member.
  • Haha
  • Like
Reactions: 24 users

Damo4

Regular
  • Like
Reactions: 2 users

wilzy123

Founding Member
Did you break something on your board, or was the mod for something else?

That's an original board (unmodified).
 
  • Fire
  • Like
  • Love
Reactions: 11 users

jtardif999

Regular
This is Apple's toaster patent:

US2022222510A1 MULTI-OPERATIONAL MODES OF NEURAL ENGINE CIRCUIT 20210113



View attachment 45961

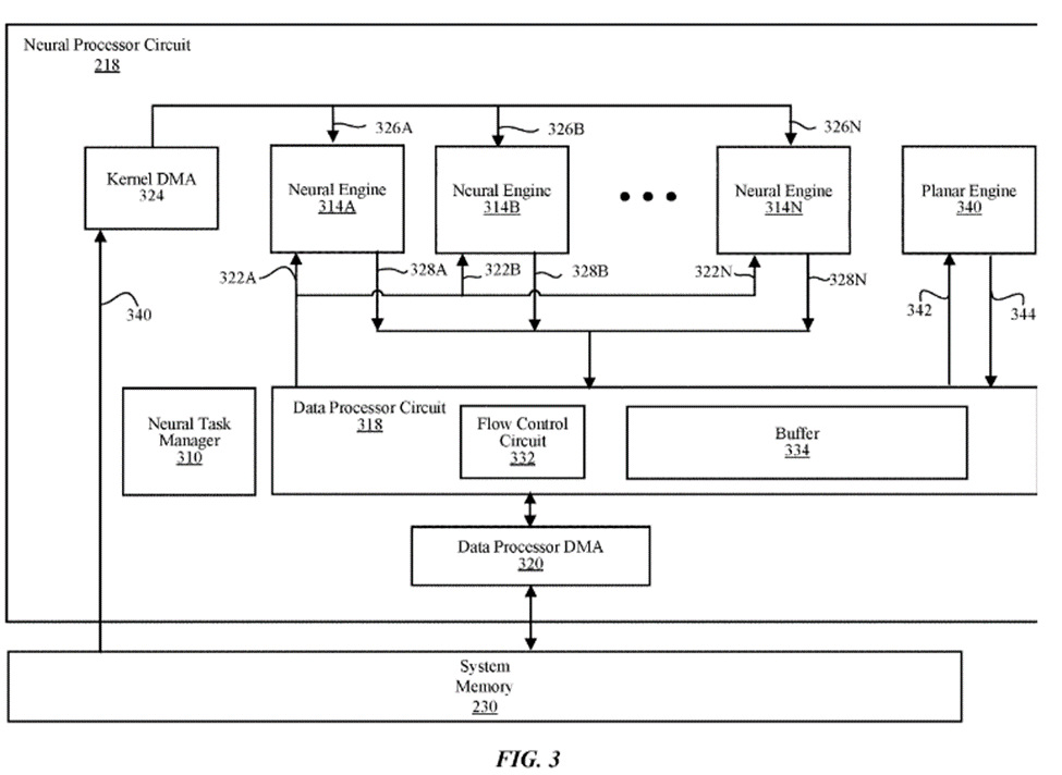
[0052] Referring to FIG. 3, an example neural processor circuit 218 may include, among other components, neural task manager 310 , a plurality of neural engines 314 A through 314 N (hereinafter collectively referred as “neural engines 314 ” and individually also referred to as “neural engine 314 ”), kernel direct memory access (DMA) 324 , data processor circuit 318 , data processor DMA 320 , and planar engine 340

[0053] Each of neural engines 314 performs computing operations for machine learning in parallel. Depending on the load of operation, the entire set of neural engines 314 may be operating or only a subset of the neural engines 314 may be operating while the remaining neural engines 314 are placed in a power-saving mode to conserve power. Each of neural engines 314 includes components for storing one or more kernels, for performing multiply-accumulate operations, for performing parallel sorting operations, and for post-processing to generate an output data 328 , as described below in detail with reference to FIGS. 4A and 4B. Neural engines 314 may specialize in performing computation heavy operations such as convolution operations and tensor product operations. Convolution operations may include different kinds of convolutions, such as cross-channel convolutions (a convolution that accumulates values from different channels), channel-wise convolutions, and transposed convolutions
.


View attachment 45962


[0063] FIG. 4A is a block diagram of neural engine 314 , according to one embodiment. Specifically, FIG. 4A illustrates neural engine 314 perform operations including operations to facilitate machine learning such as convolution, tensor product, and other operations that may involve heavy computation in the first mode. For this purpose, neural engine 314 receives input data 322 , performs multiply-accumulate operations (e.g., convolution operations) on input data 322 based on stored kernel data, performs further post-processing operations on the result of the multiply-accumulate operations, and generates output data 328 . Input data 322 and/or output data 328 of neural engine 314 may be of a single channel or span across multiple channels.

It has 16 neural engines each with an array of MAC (multiply
I skimmed it and these guys look like they know their sheet..
And they are bagging AKIDA, in a sense, lumping us with TrueNorth and Loihi 2..

View attachment 46025

What they're doing is "Open source" WTF is their game?..

I'd like to know what Diogenese thinks too and Peter, on this one..
But we know Akida is agnostic both in terms of the data it can process and the preprocessor it works with to specify the synaptic weights. Akida1500 has been created to plug in any preprocessor tech so the info in that paper is a little outdated and somewhat misleading imo.
 
  • Like
  • Fire
Reactions: 8 users

JDelekto

Regular
View attachment 46049
View attachment 46051
View attachment 46053

That look like the Akida 1000 PCIe Board to me?

Anyone has a zooming software?


Learning 🪴
This looks like one of the various PCIe boards I've seen from Google images. While different from the current board image displayed on BrainChip's Website, perhaps this is one that is from a Raspberry Pi, or the Shuttle PC.

It looks very close to the one I have attached. One of the giveaways between the screenshot of the hardware that you provided and one of the various PCIe boards is the placement of the iconic six-point star-shaped logo on the PCB near the lower left-hand corner of the AKD1000 chip.

1696216778706.png

This is a very good find!
 
  • Like
  • Love
  • Fire
Reactions: 33 users
Software solutions will not be able to or be limited to keep up with the evermore sophisticated AI models and use cases. 20th century tech will hit a wall in about 2025 imo.
We are already starting to see that sort of thing, with the Apple 15 for example..

Apple seem to be blaming 3rd party apps "Your software is pushing our hardware too hard 😭" and a "bug" in their IOS 17 operating system "Yeah we can fix that and guarantee our "legacy" hardware will still run as hard! 😉👍"...

A lot of the article seems to be Apple running damage control to the max, which is understandable..
Their new phone's image has been smeared and other than loyalists, customers who are undecided on their next phone, will probably look elsewhere..


Like you've said, customers are expecting more and more, Edge device manufacturers are "trying" to give it to them, but even Great Marketing, isn't going to make up for products, that don't do what they say on the box..

Neuromorphic hardware technology, is the only way forward and the whole World is waking up to that..
 
  • Like
  • Fire
  • Love
Reactions: 36 users

equanimous

Norse clairvoyant shapeshifter goddess
We are already starting to see that sort of thing, with the Apple 15 for example..

Apple seem to be blaming 3rd party apps "Your software is pushing our hardware too hard 😭" and a "bug" in their IOS 17 operating system "Yeah we can fix that and guarantee our "legacy" hardware will still run as hard! 😉👍"...

A lot of the article seems to be Apple running damage control to the max, which is understandable..
Their new phone's image has been smeared and other than loyalists, customers who are undecided on their next phone, will probably look elsewhere..


Like you've said, customers are expecting more and more, Edge device manufacturers are "trying" to give it to them, but even Great Marketing, isn't going to make up for products, that don't do what they say on the box..

Neuromorphic hardware technology, is the only way forward and the whole World is waking up to that..



It also mentioned a study dome with Sony Ericsson cellphones. “Semen samples in the exposed group were exposed to EMR emitted from a mobile phone in talk mode (the mobile phone device was Sony Ericsson w300i; the service provider was AT and T; Global System for Mobile communications network; 850 MHz frequency; maximum power <1 W; specific absorption rate 1.46 W/kg), the distance between the cell phone antenna and each specimen was kept at 2.5 cm, and the duration of exposure was 60 minutes. After exposing the semen in the exposed group to mobile phone radiation, the semen samples from both groups (control and exposed) were examined for sperm concentration, motility and viability. ROS was measured in the exposed and control groups….There was a statistically significant decrease in the laboratory values of mean sperm count, morphology, motility, and quality/viability, among four different mobile phone user groups exposed to mobile phone EMR daily…long-term exposure to mobile phone EMR may cause reductions in serum testosterone levels.”
 
Last edited:
  • Like
  • Wow
  • Thinking
Reactions: 11 users
Top Bottom