BRN Discussion Ongoing

I was thinking it was going to be more..
But it looks like the "descending triangle" bullshit theory, was given a big nudge yesterday 🙄..

_20230216_115041.JPG
 
  • Like
  • Fire
  • Love
Reactions: 9 users

Deena

Regular
Hi @Deena

to quote the announcement;
The issue price for the capital call shares will be 91.5% of the higher of the average daily VWAP of shares over the pricing period and the
"minimum price notified to LDA Capital by the company"

Im with @TECH on this as being "merky" , ................. maybe you could explain why "the company" would have to notify LDN of the minimum price unless they are the ones setting it?

Cheers
Of course BRN are the ones setting the minimal price. But it is not done until the end of the averaging period. This makes perfect sense to me. I don't know why you would think it is merky.
Cheers
 
  • Like
Reactions: 2 users

Diogenese

Top 20
View attachment 29694
Were we linked to Oculi from memory? Could the global foundries akd1500 tapeout be linked to this? @Diogenese

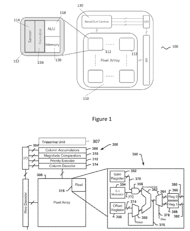
@chapman89,

I don't have any direct link to oculi, but I have a vague recollection of someone joining a dot, possibly from a like by RT or another BrainChip notable.


This patent application was filed in the name of Fris Inc, but was invented by Charbel Rizk (CEO/CTO of Oculi) et al.


US2022272285A1 SENSING AND PROCESSING UNIT GENERATING A TRIGGER SIGNAL UPON OCCURRENCE OF SPECIFIED CONDITIONS

Priorities​

US202163152776P·2021-02-23; US202217678881A·2022-02-23

1676507867319.png




A sensing and processing electronic circuit includes a sensing array having a plurality of sensing elements each having a sensor configured to produce an output signal in response to detection of an environmental parameter. The circuit includes a triggering unit configured to generate a trigger signal that causes an action to occur. The trigger signal is generated based on selected activated sensing elements satisfying one or more specifiable conditions. A sensing element is activated when a characteristic value based on the output value of the sensing element crosses one or more thresholds so that the characteristic value is above, below, within or outside of a specified range of values or when a difference value between the characteristic value and a previous or template value of the sensing element crosses one or more thresholds so that the difference value is above, below, within or outside of a specified range of values.

Item 350 shows the processing circuit for each individual pixel to detect the events from the analog photodetector/photodiode (pixel) signal.

Interestingly, oculi apply correction for analog variability to the individual pixels, a similar problem to ReRAM:

, the gain value (gain register 352) represents the slope of the sensor response to light incident on the sensor. As each sensing element or pixel has a respective gain register 352 and a respective offset register 356 , the sensors can be calibrated and individual differences accounted for across the array, with the sensing elements or pixels having individual adjustment to the sensed values accordingly.

The detection threshold of each pixel evaluation circuit is adjustable. This feature may be used to remove events caused by camera movement.
 
  • Like
  • Fire
Reactions: 12 users

Deena

Regular
Does this mean that BRN could cancel the process by setting a higher number than LDA would want to accept?


Also 5.7M shorts taken out yesterday on top of the 1.8M the day before. Heavy fire really. one way or the other something is going to happen with such a high amount of borrowed shares.
Brainchip is working with LDA. They are not in competition. It simply means that if there is an anomaly in the average price, this can be rectified by a BRN floor price. I would imagine that in most cases this would not be necessary.
If you are still concerned why don't you shoot an email off to the company?
 
  • Like
Reactions: 5 users

Esq.111

Fascinatingly Intuitive.
@chapman89,

I don't have any direct link to oculi, but I have a vague recollection of someone joining a dot, possibly from a like by RT or another BrainChip notable.


This patent application was filed in the name of Fris Inc, but was invented by Charbel Rizk (CEO/CTO of Oculi) et al.


US2022272285A1 SENSING AND PROCESSING UNIT GENERATING A TRIGGER SIGNAL UPON OCCURRENCE OF SPECIFIED CONDITIONS

Priorities​

US202163152776P·2021-02-23; US202217678881A·2022-02-23

View attachment 29723



A sensing and processing electronic circuit includes a sensing array having a plurality of sensing elements each having a sensor configured to produce an output signal in response to detection of an environmental parameter. The circuit includes a triggering unit configured to generate a trigger signal that causes an action to occur. The trigger signal is generated based on selected activated sensing elements satisfying one or more specifiable conditions. A sensing element is activated when a characteristic value based on the output value of the sensing element crosses one or more thresholds so that the characteristic value is above, below, within or outside of a specified range of values or when a difference value between the characteristic value and a previous or template value of the sensing element crosses one or more thresholds so that the difference value is above, below, within or outside of a specified range of values.

Item 350 shows the processing circuit for each individual pixel to detect the events from the analog photodetector/photodiode (pixel) signal.

Interestingly, oculi apply correction for analog variability to the individual pixels, a similar problem to ReRAM:

, the gain value (gain register 352) represents the slope of the sensor response to light incident on the sensor. As each sensing element or pixel has a respective gain register 352 and a respective offset register 356 , the sensors can be calibrated and individual differences accounted for across the array, with the sensing elements or pixels having individual adjustment to the sensed values accordingly.

The detection threshold of each pixel evaluation circuit is adjustable. This feature may be used to remove events caused by camera movement.
@chapman89,

I don't have any direct link to oculi, but I have a vague recollection of someone joining a dot, possibly from a like by RT or another BrainChip notable.


This patent application was filed in the name of Fris Inc, but was invented by Charbel Rizk (CEO/CTO of Oculi) et al.


US2022272285A1 SENSING AND PROCESSING UNIT GENERATING A TRIGGER SIGNAL UPON OCCURRENCE OF SPECIFIED CONDITIONS

Priorities​

US202163152776P·2021-02-23; US202217678881A·2022-02-23

View attachment 29723



A sensing and processing electronic circuit includes a sensing array having a plurality of sensing elements each having a sensor configured to produce an output signal in response to detection of an environmental parameter. The circuit includes a triggering unit configured to generate a trigger signal that causes an action to occur. The trigger signal is generated based on selected activated sensing elements satisfying one or more specifiable conditions. A sensing element is activated when a characteristic value based on the output value of the sensing element crosses one or more thresholds so that the characteristic value is above, below, within or outside of a specified range of values or when a difference value between the characteristic value and a previous or template value of the sensing element crosses one or more thresholds so that the difference value is above, below, within or outside of a specified range of values.

Item 350 shows the processing circuit for each individual pixel to detect the events from the analog photodetector/photodiode (pixel) signal.

Interestingly, oculi apply correction for analog variability to the individual pixels, a similar problem to ReRAM:

, the gain value (gain register 352) represents the slope of the sensor response to light incident on the sensor. As each sensing element or pixel has a respective gain register 352 and a respective offset register 356 , the sensors can be calibrated and individual differences accounted for across the array, with the sensing elements or pixels having individual adjustment to the sensed values accordingly.

The detection threshold of each pixel evaluation circuit is adjustable. This feature may be used to remove events caused by camera movement.
Afternoon Diogenese,

Thankyou as per usual.

Humour....

SENSING AND PROCESSING UNIT GENERATING A TRIGGER SIGNAL UPON OCCURRENCE OF SPECIFIED CONDITIONS.

This about sums up myself as a BRN holder pressently.

🙂.

Regards,
Esq
 
  • Haha
  • Like
  • Fire
Reactions: 15 users

Mea culpa

prəmɪskjuəs
Anyone interested in having a 55 cent hot tub party because I just turned the hot water on?

View attachment 29721
I’m on my way. Will there be any room left after Dodgy-knees and Hoppy are in the tub? I’ve left my speedos at home, hope you don’t mind. After all, at my age I’ve just added another wrinkle.
 
  • Haha
  • Like
Reactions: 10 users

Bravo

If ARM was an arm, BRN would be its biceps💪!
Or what about if we scrap the Non-Disclosure Agreements altogether and replace them with Disclosure Agreements. If we just delete the word "Non", all of our problems will disappear! That way any new companies that sign up will be obliged to disclose that they're working with us.

einstein-smart.gif
 
Last edited:
  • Like
  • Haha
  • Love
Reactions: 13 users
How about, moving forward, we only let companies who want our technology sign a half of an NDA. So the half that's very hush-hush that we can't talk about is their product and what it does, etc, but the other half, the one that we CAN talk about is that we're actually working with them on SOMETHING. I might ring Sean and discuss this with him.

But not just now because I have a headache from thinking too much.
This is one of your better posts .I fully encourage you to do that as it would sensible in so many ways
 
  • Haha
  • Like
Reactions: 5 users

AARONASX

Holding onto what I've got
  • Like
  • Fire
  • Thinking
Reactions: 5 users

Beebo

Regular
Next podcast… “episode to provide listeners with a better understanding of who we are, what we are doing and where we are going,…”

Let’s hope Rob Telson doesn’t spend 15 minutes on the “who we are” (we know it already), but instead delve into the “what and where”, with some clarity on “WHEN”.

We know a lot is going on behind the scenes, but I genuinely hope they find a way to instill some excitement beyond the “tip of the iceberg” comment.

Anyway. I’m looking forward to hearing what the CTO and CMO have to say!

I know we are CLOSE. Let’s go already.
 
  • Like
  • Thinking
Reactions: 20 users

Bravo

If ARM was an arm, BRN would be its biceps💪!
This is one of your better posts .I fully encourage you to do that as it would sensible in so many ways

One of my better posts. Thank you, I think...😊

PS : Are you sure? Out of 1677 posts and you liked that one the best? Maybe I should stop trying so hard.
 
Last edited:
  • Haha
  • Like
  • Love
Reactions: 21 users

Bravo

If ARM was an arm, BRN would be its biceps💪!
I’m on my way. Will there be any room left after Dodgy-knees and Hoppy are in the tub? I’ve left my speedos at home, hope you don’t mind. After all, at my age I’ve just added another wrinkle.

Yes, there'll be plenty of room for you @Mea culpa because I upgraded to a maxi sized spa. And don't worry about your speedos. The way I look at it is, wearing a tight pair of budgy-smuggling speedos is pretty much the same as being naked anyway.
 
Last edited:
  • Haha
  • Wow
Reactions: 6 users

AusEire

Founding Member.
  • Like
Reactions: 1 users

Bravo

If ARM was an arm, BRN would be its biceps💪!
Next podcast… “episode to provide listeners with a better understanding of who we are, what we are doing and where we are going,…”

Let’s hope Rob Telson doesn’t spend 15 minutes on the “who we are” (we know it already), but instead delve into the “what and where”, with some clarity on “WHEN”.

We know a lot is going on behind the scenes, but I genuinely hope they find a way to instill some excitement beyond the “tip of the iceberg” comment.

Anyway. I’m looking forward to hearing what the CTO and CMO have to say!

I know we are CLOSE. Let’s go already.

Instead of asking what the guests favourite superhero is, do you reckon Rob should ask "what's your favourite product with Akida in it"?😝
 
Last edited:
  • Like
  • Fire
  • Love
Reactions: 41 users

gex

Regular
Instead of asking what the guests favourite superhero is, do you reckon Rob should ask what's your favourite product with Akida in it?
I think simple is best.

Are we in any commercial products as of now? (obviously without disclosing anything)
 
  • Like
  • Fire
  • Haha
Reactions: 12 users

Mea culpa

prəmɪskjuəs
Yes, there'll be plenty of room for you @Mea culpa because I upgraded to a maxi sized spa. And don't worry about your speedos. The way I look at it is, wearing speedos is pretty much the same as being naked anyway.
I’m really a shy, naive country lad so thank you for your understanding Bravo. Hope I don’t get a speeding ticket on the way, as I simultaneously receive an alert of an SP increase. 😉
 
  • Like
  • Haha
Reactions: 6 users

Mugen74

Regular
Brn not showing in top gainers again on comsuc!
 
  • Like
  • Sad
Reactions: 9 users
Can you remember the total volume for the day?
Yes.

Are you implying that the slide yesterday, wasn't a result of manipulation and merely innumerable rusted on share holders, deciding that "then" was the time to throw in the towel?

Remember the actual number of shorts taken out and intelligently utilised, is only one mechanism for manipulating a company's share price.

It's definitely like a shot of nitrous oxide for the other measures though.

There's also more than one party's interest, in a lower share price.

LDA Capital, being the most prominent, at this time.
Algorithms can manipulate a share price, without ever touching a borrowed share.

Also remember "Big guys" can see "Stop losses" which just appear to them as "Sell orders".
They don't "blindly" hunt for them.

People should set alerts and then decide to act, if they are of the type who either can't manage their investment closely, or are concerned about fluctuations in the share price.

Also those "reported shorts" are just that.
What is "reported".

Anyone who thinks we're playing on a fair and level playing field, is not paying attention..
 
  • Like
  • Love
  • Fire
Reactions: 32 users

AusEire

Founding Member.
Yes.

Are you implying that the slide yesterday, wasn't a result of manipulation and merely innumerable rusted on share holders, deciding that "then" was the time to throw in the towel?

Remember the actual number of shorts taken out and intelligently utilised, is only one mechanism for manipulating a company's share price.

It's definitely like a shot of nitrous oxide for the other measures though.

There's also more than one party's interest, in a lower share price.

LDA Capital, being the most prominent, at this time.
Algorithms can manipulate a share price, without ever touching a borrowed share.

Also those "reported shorts" are just that.
What is "reported".

Anyone who thinks we're playing on a fair and level playing field, is not paying attention..
Not at all. Just interested to see this against the total volume.

For instance if the total volume was 9million and the short volume is 5.6m(as is the case) then it tells a much bigger story. IMO of course
 
  • Like
  • Thinking
Reactions: 5 users
Wow, these cheap shares are just being absolutely sucked up today, and 18million so far. The line wipe out at 55 cents was impressive in one large buy as well as some other huge buys. Another 18 million reasons why Brainchip is wanted and soon to deliver commercially.
 
Last edited:
  • Like
  • Fire
Reactions: 25 users
Top Bottom