BRN Discussion Ongoing

Boab

I wish I could paint like Vincent
He-he-he! The curse of a thousand camel farts! Just one fart seems like it would be intolerable, let alone a thousand pop-offs. Lends a whole new meaning to the term "silent but deadly".🤣😂
View attachment 25093

View attachment 25095
If my wife reads this she will confirm that I am a camel.
 
  • Haha
  • Like
  • Fire
Reactions: 31 users

Moonshot

Regular
Just reflecting on how big the prophesee Brainchip partnership could be…

“The global vision sensor market size was USD 8.03 Billion in 2021 and is expected to register a revenue CAGR of 17.8% over the forecast period, according to the latest analysis by Emergen Research”
 
  • Like
  • Wow
  • Fire
Reactions: 38 users
Just reflecting on how big the prophesee Brainchip partnership could be…

“The global vision sensor market size was USD 8.03 Billion in 2021 and is expected to register a revenue CAGR of 17.8% over the forecast period, according to the latest analysis by Emergen Research”
And ONE tiny little percent of $US8.3 billion is $US83 million.

Merry Christmas

FF

AKIDA BALLISTA
 
  • Like
  • Fire
  • Love
Reactions: 35 users
Hi Fmf,

This patent has nothing to do with Akida. As you said, it is about the physical 3D layout of an array of near-memory NPU cores. They save power by jiggling the supply voltage to the cores.

WO2019046835A1 ULTRA-LOW POWER NEUROMORPHIC ARTIFICIAL INTELLIGENCE COMPUTING ACCELERATOR

View attachment 25070

[0008] A three-dimensional (3D) ultra-low power neuromorphic accelerator is described. The 3D ultra-low power neuromorphic accelerator includes a power manager as well as multiple tiers. The 3D ultra-low power neuromorphic accelerator also includes multiple cores defined on each tier and coupled to the power manager. Each core includes at least a processing element, a non-volatile memory, and a communications module.

[0062] The homogenous configuration may be implemented in the local power manager 740 using a power management integrated circuit (PMIC). In this configuration, the local power manager may be fabricated using an ultra-low voltage process, such as a fully depleted (FD)-semiconductor-on-insulator (FD-SOI) wafer process, or other ultra-low voltage process. The local power manager 740 may be configured to perform snoops on adjacent cores using, for example, handshaking circuity to communicate core-to-core to decide the power state of a corresponding core.

[0063] In one aspect of the present disclosure, the local power manager 740 may be configured to provide adaptive voltage scaling to enable sub-threshold voltage (e.g., 0.2 V to 0.25 V) operation. In this configuration, smart power management is provided by including a global power manager (GPM) 710 to coordinate with each local power manager 740 to provide dynamic voltage frequency scaling (DVFS) and power collapse control for each tier 702. In aspects of the present disclosure, the GPM 710 (shown off- chip) can be either on-chip or off-chip. In this example, the GPM 710 delivers power to a set of cores (e.g., the cores on one tier or multiple tiers), whereas the local power manager 740 derives power for each individual core
.
Thanks for that @Diogenese

What are you thoughts on this one from our mates at NVIDIA?

Anything in there of value?



Screenshot_2022-12-22-10-33-06-24_4641ebc0df1485bf6b47ebd018b5ee76.jpg





IMG_20221222_103357.jpg


IMG_20221222_102937.jpg



0256] In at least one embodiment, neurons 2202 and synapses 2208 may be interconnected such that neuromorphic processor 2200 operates to process or analyze information received by neuromorphic processor 2200. In at least one embodiment, neurons 2202 may transmit an output pulse (or “fire” or “spike”) when inputs received through neuron input 2204 exceed a threshold. In at least one embodiment, neurons 2202 may sum or integrate signals received at neuron inputs 2204. For example, in at least one embodiment, neurons 2202 may be implemented as leaky integrate-and-fire neurons, wherein if a sum (referred to as a “membrane potential”) exceeds a threshold value, neuron 2202 may generate an output (or “fire”) using a transfer function such as a sigmoid or threshold function. In at least one embodiment, a leaky integrate-and-fire neuron may sum signals received at neuron inputs 2204 into a membrane potential and may also apply a decay factor (or leak) to reduce a membrane potential. In at least one embodiment, a leaky

integrate-and-fire neuron may fire if multiple input signals are received at neuron inputs 2204 rapidly enough to exceed a threshold value (i.e., before a membrane potential decays too low to fire). In at least one embodiment, neurons 2202 may be implemented using circuits or logic that receive inputs, integrate inputs into a membrane potential, and decay a membrane potential. In at least one embodiment, inputs may be averaged, or any other suitable transfer function may be used. Furthermore, in at least one embodiment, neurons 2202 may include, without limitation, comparator circuits or logic that generate an output spike at neuron output 2206 when result of applying a transfer function to neuron input 2204 exceeds a threshold. In at least one embodiment, once neuron 2202 fires, it may disregard previously received input information by, for example, resetting a membrane potential to 0 or another suitable default value. In at least one embodiment, once membrane potential is reset to 0, neuron 2202 may resume normal operation after a suitable period of time (or refractory period).
 
Last edited:
  • Like
  • Thinking
Reactions: 14 users

TopCat

Regular
Not sure if this has anything to do with the recent news 🤔

61D7B925-F996-46A8-8FB4-086E30CBE993.jpeg
 
  • Like
  • Fire
  • Thinking
Reactions: 24 users

Quiltman

Regular
Not sure if this has anything to do with the recent news 🤔

View attachment 25107

Looks like Intel have undertaken a massive internal review as they were struggling to remain competitive ... and clearly BrainChip was a key part of that review. Intel needed the Brainchip IP to compete .... gee, I hope Sean is negotiating really hard on royalties. First mover discounts are over, you have to pay more to hop on the BrainChip IP bus now !!
 
  • Like
  • Fire
  • Love
Reactions: 56 users

M_C

Founding Member
  • Like
  • Love
  • Fire
Reactions: 27 users
Looks like Intel have undertaken a massive internal review as they were struggling to remain competitive ... and clearly BrainChip was a key part of that review. Intel needed the Brainchip IP to compete .... gee, I hope Sean is negotiating really hard on royalties. First mover discounts are over, you have to pay more to hop on the BrainChip IP bus now !!
Just what I'm saying, if akida is a major difference it's time to pay up
 

Diogenese

Top 20
Thanks for that @Diogenese

What are you thoughts on this one from our mates at NVIDIA?

Anything in there of value?



View attachment 25104




View attachment 25105

View attachment 25106


0256] In at least one embodiment, neurons 2202 and synapses 2208 may be interconnected such that neuromorphic processor 2200 operates to process or analyze information received by neuromorphic processor 2200. In at least one embodiment, neurons 2202 may transmit an output pulse (or “fire” or “spike”) when inputs received through neuron input 2204 exceed a threshold. In at least one embodiment, neurons 2202 may sum or integrate signals received at neuron inputs 2204. For example, in at least one embodiment, neurons 2202 may be implemented as leaky integrate-and-fire neurons, wherein if a sum (referred to as a “membrane potential”) exceeds a threshold value, neuron 2202 may generate an output (or “fire”) using a transfer function such as a sigmoid or threshold function. In at least one embodiment, a leaky integrate-and-fire neuron may sum signals received at neuron inputs 2204 into a membrane potential and may also apply a decay factor (or leak) to reduce a membrane potential. In at least one embodiment, a leaky

integrate-and-fire neuron may fire if multiple input signals are received at neuron inputs 2204 rapidly enough to exceed a threshold value (i.e., before a membrane potential decays too low to fire). In at least one embodiment, neurons 2202 may be implemented using circuits or logic that receive inputs, integrate inputs into a membrane potential, and decay a membrane potential. In at least one embodiment, inputs may be averaged, or any other suitable transfer function may be used. Furthermore, in at least one embodiment, neurons 2202 may include, without limitation, comparator circuits or logic that generate an output spike at neuron output 2206 when result of applying a transfer function to neuron input 2204 exceeds a threshold. In at least one embodiment, once neuron 2202 fires, it may disregard previously received input information by, for example, resetting a membrane potential to 0 or another suitable default value. In at least one embodiment, once membrane potential is reset to 0, neuron 2202 may resume normal operation after a suitable period of time (or refractory period).

Nothing to suggest Akida - the highlighted bits suggest not Akida.

[0255] FIG. 22 is a block diagram of a neuromorphic processor 2200, according to at least one embodiment. In at least one embodiment, neuromorphic processor 2200 may receive one or more inputs from sources external to neuromorphic processor 2200. In at least one embodiment, these inputs may be transmitted to one or more neurons 2202 within neuromorphic processor 2200. In at least one embodiment, neurons 2202 and components thereof may be implemented using circuitry or logic, including one or more arithmetic logic units (ALUs). In at least one embodiment, neuromorphic processor 2200 may include, without limitation, thousands or millions of instances of neurons 2202, but any suitable number of neurons 2202 may be used. In at least one embodiment, each instance of neuron 2202 may include a neuron input 2204 and a neuron output 2206. In at least one embodiment, neurons 2202 may generate outputs that may be transmitted to inputs of other instances of neurons 2202. For example, in at least one embodiment, neuron inputs 2204 and neuron outputs 2206 may be interconnected via synapses 2208.

[0256] In at least one embodiment, neurons 2202 and synapses 2208 may be interconnected such that neuromorphic processor 2200 operates to process or analyze information received by neuromorphic processor 2200. In at least one embodiment, neurons 2202 may transmit an output pulse (or “fire” or “spike”) when inputs received through neuron input 2204 exceed a threshold. In at least one embodiment, neurons 2202 may sum or integrate signals received at neuron inputs 2204. For example, in at least one embodiment, neurons 2202 may be implemented as leaky integrate-and-fire neurons, wherein if a sum (referred to as a “membrane potential”) exceeds a threshold value, neuron 2202 may generate an output (or “fire”) using a transfer function such as a sigmoid or threshold function. In at least one embodiment, a leaky integrate-and-fire neuron may sum signals received at neuron inputs 2204 into a membrane potential and may also apply a decay factor (or leak) to reduce a membrane potential. In at least one embodiment, a leaky integrate-and-fire neuron may fire if multiple input signals are received at neuron inputs 2204 rapidly enough to exceed a threshold value (i.e., before a membrane potential decays too low to fire). In at least one embodiment, neurons 2202 may be implemented using circuits or logic that receive inputs, integrate inputs into a membrane potential, and decay a membrane potential. In at least one embodiment, inputs may be averaged, or any other suitable transfer function may be used. Furthermore, in at least one embodiment, neurons 2202 may include, without limitation, comparator circuits or logic that generate an output spike at neuron output 2206 when result of applying a transfer function to neuron input 2204 exceeds a threshold. In at least one embodiment, once neuron 2202 fires, it may disregard previously received input information by, for example, resetting a membrane potential to 0 or another suitable default value. In at least one embodiment, once membrane potential is reset to 0, neuron 2202 may resume normal operation after a suitable period of time (or refractory period).

[0342] Tensor cores are configured to perform matrix operations in accordance with at least one embodiment. In at least one embodiment, one or more tensor cores are included in processing cores 3010. In at least one embodiment, tensor cores are configured to perform deep learning matrix arithmetic, such as convolution operations for neural network training and inferencing. In at least one embodiment, each tensor core operates on a 4x4 matrix and performs a matrix multiply and accumulate operation D = A X B + C, where A, B, C, and D are 4x4 matrices.

[0359] In at least one embodiment, training pipeline 3204 (FIG. 32) may include a scenario where facility 3102 is training their own machine learning model, or has an existing machine learning model that needs to be optimized or updated. In at least one embodiment, imaging data 3108 generated by imaging device(s), sequencing devices, and/or other device types may be received. In at least one embodiment, once imaging data 3108 is received, AI-assisted annotation 3110 may be used to aid in generating annotations corresponding to imaging data 3108 to be used as ground truth data for a machine learning model. In at least one embodiment, AI-assisted annotation 3110 may include one or more machine learning models (e.g., convolutional neural networks (C Ns)) that may be trained to generate annotations corresponding to certain types of imaging data 3108 (e.g., from certain devices) and/or certain types of anomalies in imaging data 3108.

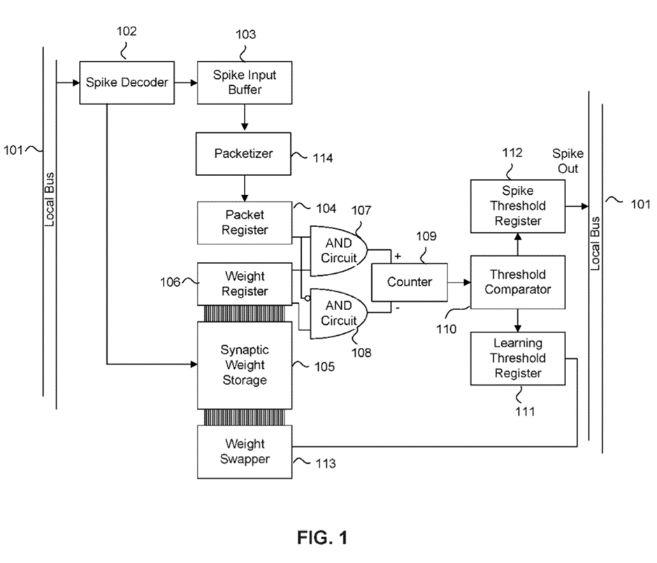
This is the Akida NPU:

1671679184785.png

There is no sigmoid function.

The synapse elements 105, 106, 113 are closely tied to the neuron circuit elements, including via the learning feedback loop.

Just a refresher on Akida - these changes were implemented after customer feedback (remember when the whole team was burning the candle at both ends?):

WO2020092691A1 AN IMPROVED SPIKING NEURAL NETWORK

[0038] But conventional SNNs can suffer from several technological problems. First, conventional SNNs are unable to switch between convolution and fully connected operation. For example, a conventional SNN may be configured at design time to use a fully-connected feedforward architecture to learn features and classify data. Embodiments herein (e.g., the neuromorphic integrated circuit) solve this technological problem by combining the features of a CNN and a SNN into a spiking convolutional neural network (SCNN) that can be configured to switch between a convolution operation or a fully- connected neural network function. The SCNN may also reduce the number of synapse weights for each neuron. This can also allow the SCNN to be deeper (e.g., have more layers) than a conventional SNN with fewer synapse weights for each neuron.

Embodiments herein further improve the convolution operation by using a winner-take-all (WTA) approach for each neuron acting as a filter at particular position of the input space. This can improve the selectivity and invariance of the network. In other words, this can improve the accuracy of an inference operation.

[0039] Second, conventional SNNs are not reconfigurable. Embodiments herein solve this technological problem by allowing the connections between neurons and synapses of a SNN to be reprogrammed based on a user defined configuration. For example, the connections between layers and neural processors can be reprogrammed using a user defined configuration file.

[0040] Third, conventional SNNs do not provide buffering between different layers of the SNN. But buffering can allow for a time delay for passing output spikes to a next layer. Embodiments herein solve this technological problem by adding input spike buffers and output spike buffers between layers of a SCNN.

[0041] Fourth, conventional SNNs do not support synapse weight sharing. Embodiments herein solve this technological problem by allowing kernels of a SCNN to share synapse weights when performing convolution. This can reduce memory requirements of the SCNN.

[0042] Fifth, conventional SNNs often use l-bit synapse weights. But the use of l-bit synapse weights does not provide a way to inhibit connections. Embodiments herein solve this technological problem by using ternary synapse weights. For example, embodiments herein can use two-bit synapse weights. These ternary synapse weights can have positive, zero, or negative values. The use of negative weights can provide a way to inhibit connections which can improve selectivity. In other words, this can improve the accuracy of an inference operation.

[0043] Sixth, conventional SNNs do not perform pooling. This results in increased memory requirements for conventional SNNs. Embodiments herein solve this technological problem by performing pooling on previous layer outputs. For example, embodiments herein can perform pooling on a potential array outputted by a previous layer. This pooling operation reduces the dimensionality of the potential array while retaining the most important information.

[0044] Seventh, conventional SNN often store spikes in a bit array. Embodiments herein provide an improved way to represent and process spikes. For example, embodiments herein can use a connection list instead of bit array. This connection list is optimized such that each input layer neuron has a set of offset indexes that it must update. This enables embodiments herein to only have to consider a single connection list to update all the membrane potential values of connected neurons in the current layer.

[0045] Eighth, conventional SNNs often process spike by spike. In contrast, embodiments herein can process packets of spikes. This can cause the potential array to be updated as soon as a spike is processed. This can allow for greater hardware parallelization.

[0046] Finally, conventional SNNs do not provide a way to import learning (e.g., synapse weights) from an external source. For example, SNNs do not provide a way to import learning performed offline using backpropagation. Embodiments herein solve this technological problem by allowing a user to import learning performed offline into the neuromorphic integrated circuit.

[0047] In some embodiments, a SCNN can include one or more neural processors. Each neural processor can be interconnected through a reprogrammable fabric. Each neural processor can be reconfigurable. Each neuron processor can be configured to perform either convolution or classification in fully connected layers

[0048] Each neural processor can include a plurality of neurons and a plurality of synapses. The neurons can be simplified Integrate and Fire (I&F) neurons. The neurons and synapses can be interconnected through the reprogrammable fabric. Each neuron of the neural processor can be implemented in hardware or software. A neuron implemented in hardware can be referred to as a neuron circuit.

[0049] In some embodiments, each neuron can use an increment or decrement function to set the membrane potential value of the neuron. This can be more efficient than using an addition function of a conventional I&F neuron.

[0050] In some embodiments, a SCNN can use different learning functions. For example, a SCNN can use a STDP learning function. In some other embodiments, the SCNN can implement an improved version of the STDP learning function using synapse weight swapping. This improved STDP learning function can offer built-in homeostasis (e.g., stable learned weights) and improved efficiency.

[0051] In some embodiments, an input to a SCNN is derived from an audio stream. An Analog to Digital (A/D) converter can convert the audio stream to digital data. The A/D converter can output the digital data in the form of Pulse Code Modulation (PCM) data. A data to spike converter can convert the digital data to a series of spatially and temporally distributed spikes representing the spectrum of the audio stream.

[0052] In some embodiments, an input to a SCNN is derived from a video stream. The A/D converter can convert the video stream to digital data. For example, the A/D converter can convert the video stream to pixel information in which the intensity of each pixel is expressed as a digital value. A digital camera can provide such pixel information. For example, the digital camera can provide pixel information in the form of three 8-bit values for red, green and blue pixels. The pixel information can be captured and stored in memory. The data to spike converter can convert the pixel information to spatially and temporally distributed spikes by means of sensory neurons that simulate the actions of the human visual tract.

[0053]
In some embodiments, an input to a SCNN is derived from data in the shape of binary values. The data to spike converter can convert the data in the shape of binary values to spikes by means of Gaussian receptive fields. As would be appreciated by a person of ordinary skill in the art, the data to spike convert can convert the data in the shape of binary values to spikes by other means.

[0054] In some embodiments, a digital vision sensor (e.g., a Dynamic Vision Sensor (DVS) from supplied by iniVation AG or other manufacture) is connected to a spike input interface of a SCNN. The digital vision sensor can transmit pixel event information in the form of spikes. The digital vision sensor can encode the spikes over an Address-event representation (AER) bus. Pixel events can occur when a pixel is increased or decreased in intensity
.



Special guest appearance:

1671679538784.png
1671678136656.png
 

Attachments

  • 1671680155974.png
    1671680155974.png
    26.5 KB · Views: 112
  • Like
  • Haha
  • Love
Reactions: 48 users
Macbooks

Don’t suppose Foxconn and Socionext having a long association and multiple product partnerships would have any implications for Brainchip. 😂🤣😂🤡😂🤣😎😵‍💫😇
 
  • Like
  • Fire
  • Love
Reactions: 18 users

Makeme 2020

Regular
Provider of industry-leading networking & imaging technologies & solutions

Socionext America, Inc.​



Home > Automotive > Custom SoCs are Critical for the Success of Autonomous Car Makers

Custom SoCs are Critical for the Success of Autonomous Car Makers​

Select a category 3D Audio Software SynQuacer Graphics Milbeaut Sensors Visual Systems General Purpose Processors Custom ASIC Networking ASIC Codecs Company News Custom SoC Automotive


By Rick Fiorenzi on November 10, 2022
featured image

Share this post​

Share TweetShare

Whether automakers and vehicle OEMs will need advanced driver assistance (ADAS) applications to be successful in the future is not a question of "if" but "when." And high-performance custom SoCs will be critical to that success.
In my previous blog post, I talked about how the move toward electric and self-driving vehicles is accelerating and looked at how custom SoCs were becoming pivotal to the success of automakers looking to remain competitive in this shifting landscape.
This time around, I would like to focus on ADAS and self-driving vehicle technology. Next-generation autonomous driving platforms require higher levels of performance to make split-second decisions. A vehicle must quickly comprehend, translate, and accurately perceive its surrounding environment to react safely to changes. Future ADAS and autonomous vehicle implementations demand higher performance, real-time edge computing with AI processing capabilities, and increased bandwidth interfaces to accommodate multiple high-resolution sensors, including radar, LiDAR, and cameras.
Improving the "seeing” or “vision" capabilities of advanced driver assistance systems extends beyond cameras and LiDARs, requiring the integration of smart sensors to handle complex driving scenarios that the auto industry coins Level 4, or "high" automation. Vehicle OEMs and automakers looking to meet these requirements have two fundamental choices when engineering their solutions: use a custom SoC or plug in an off-the-shelf chip. Read on for an analysis of each option.
Future-of-Mobility_1

Custom SoC Versus Off-the-Shelf Solutions​

Let’s start with some simple definitions:
Custom system-on-chip (SoC) solutions use multi-purpose IP blocks specifically architected and integrated to provide the functions required by their target application and use case. A purpose-designed SoC can help OEMs achieve optimal performance and efficiency levels, reduce size requirements, and lower overall BOM costs.
Standard “off-the-shelf” (OTS) silicon solutions appeal to a broader-based market by meeting general-purpose requirements. As such, OTS silicon devices support functions that are not fully optimized or, in some cases, even utilized in the design, often resulting in a larger footprint, unnecessary power consumption, and performance inefficiency.
When auto OEMs decide whether to go with a custom SoC versus an off-the-shelf product in their design, there are many factors to consider. For example:
  • Are they designing the vehicle for a broad-based market with little differentiation?
  • Which critical IP should they bring in-house versus relying on generic solutions from external vendors?
  • What tradeoffs are there regarding power, performance, size, and cost between custom and general-purpose chips?
Ultimately, automotive vendors must decide what is most suitable based on the available options. The diagram below lists some critical factors to consider when deciding between custom SoC and standard off-the-shelf products.
Future-of-Mobility_2

Why Custom SoC Solutions are the Optimal Choice when Designing Your Next Automotive Application​

I highlighted several of the compelling benefits provided by SoC solutions above. But custom SoCs also offer particular advantages in two critical areas: competitive differentiation and supply chain security. Let’s briefly touch on each of these.

Custom SoCs and Competitive Differentiation​

Custom SoC solutions provide OEMs and tier-one automakers the opportunity for complete ownership of key differentiating technologies in ADAS and autonomy. Proprietary chips allow companies to develop in-depth knowledge and in-house expertise, enabling greater control of future designs and product implementations.
Future-of-Mobility_3

Custom SoCs and Supply Chain Security​

Supply chain interruptions are a primary concern for auto OEMs today. Unanticipated “black swan” events, such as natural disasters, international border blockades, government sanctions, economic downturns, and geo-political and social unrest, can disrupt the supply flow. Supply of materials is never guaranteed. However, the odds for continued production are more favorable when an OEM or automaker doesn’t have to compete with several other companies all vying for the same off-the-shelf components.
More and more car manufacturers are realizing that general-purpose chips offer features that cater to multiple customers, limiting their product competitiveness and restricting them to the suppliers' timelines and delivery schedules.

A Mini Case Study: Custom SoCs and a Successful Automotive Industry Disruptor​

Now and again, a new company comes along and alters established business models. Netflix did it with the video rental industry. Telsa has done it in the automotive industry.
Tesla is a company that has shattered the traditional automotive business model with its early launch of autonomous driving technology, a direct purchasing program, unconventional automotive designs with large interior displays, and the construction of battery giga-factories. Unlike other automakers, Tesla was also early to recognize the importance of over-the-air (OTA) software updates for adding features to improve safety and performance. Tesla’s success is driving traditional automakers to adapt their playbooks rapidly.
Tesla joined other tech giants like Google, Amazon, Cruise, and many others that have decided to develop their own proprietary autonomous driving platforms. To further that effort, the company started developing proprietary chips in 2016, and custom SoCs have been a fundamental ingredient in Tesla’s success:
  • Tesla was also one of the earliest companies to implement autonomous driving technologies with its 1st generation autopilot launch in 2016.
  • In 2019 at Autonomy Day, Tesla unveiled Hardware 3.0. Elon Musk claimed it was “objectively the best chip in the world.”
  • Earlier in 2022, rumors circulated that Tesla was working with Samsung to develop a new 5nm semiconductor chip that would assist with its autonomous driving software.
To build a self-driving car, automakers must combine hardware, software, and data to train the deep neural networks that allow a vehicle to perceive and move safely through its environment. Deep neural networks, with their algorithms specifically designed to mimic the working of neurons in the human brain, are the artificial intelligence engine that will enable autonomous vehicles. They are the backbone of deep learning. The evolution of Tesla's autopilot and full self-driving features forced carmakers to take a closer look at the use of cameras and ultrasonic sensors.
Tesla acquires a tremendous amount of data from its nearly two million autopilot-enabled vehicles, each equipped with eight camera arrays to generate data to train the neural networks to detect objects, segment images, and measure depth in real time. The car’s onboard supercomputer FSD (full self-driving) chip runs the deep neural networks, analyzing the camera's computer vision inputs in real-time to understand, make decisions, and move the car through the environment.
As AI becomes more critical and costly to deploy, other companies, such as Google and Amazon, are also designing custom chips.
In addition to being a crucial component of full self-driving capabilities, autonomous vehicle OEMs aim to develop proprietary chips to differentiate themselves from their competition.

Choosing the Right Partner​

Creating a proprietary chip requires a complex, highly structured framework with a complete support system for addressing each phase of the development process. Most companies seeking to design custom chips do not have the full capabilities in-house. They require assistance from highly specialized companies with extensive engineering skills, know-how, and experience to support end-to-end system-level SoC design, development, and implementation.
A company such as Socionext offers the right combination of IPs, design expertise, and support to implement large-scale, fully customizable automotive SoC solutions to meet the most demanding and rigorous automotive application performance requirements.
Future-of-Mobility_4

Socionext has an in-house automotive design team to help to facilitate the early development and large-scale production of high-performance SoCs for automotive applications. As a leading “Solution SoC” provider, Socionext is committed to using leading-edge technologies, such as 5nm and 7nm processes, to produce automotive-grade SoCs that ensure functional safety while accelerating software development and system verification.
Contact us today to learn more about how Socionext can assist with your next custom SoC development.

About the Author​


Rick Fiorenzi
Rick Fiorenzi is a Field Application Engineer at Socionext America. Rick's technical experience in the automotive electronics industry spans over two decades ranging from small to large OEM, Tier1 and Tier2 companies. Rick holds a Bachelor of Science in Electrical Engineering (BSEE) from the University of Michigan in Dearborn.

You may also like:​

 
  • Like
  • Love
  • Fire
Reactions: 34 users
Nothing to suggest Akida - the highlighted bits suggest not Akida.

[0255] FIG. 22 is a block diagram of a neuromorphic processor 2200, according to at least one embodiment. In at least one embodiment, neuromorphic processor 2200 may receive one or more inputs from sources external to neuromorphic processor 2200. In at least one embodiment, these inputs may be transmitted to one or more neurons 2202 within neuromorphic processor 2200. In at least one embodiment, neurons 2202 and components thereof may be implemented using circuitry or logic, including one or more arithmetic logic units (ALUs). In at least one embodiment, neuromorphic processor 2200 may include, without limitation, thousands or millions of instances of neurons 2202, but any suitable number of neurons 2202 may be used. In at least one embodiment, each instance of neuron 2202 may include a neuron input 2204 and a neuron output 2206. In at least one embodiment, neurons 2202 may generate outputs that may be transmitted to inputs of other instances of neurons 2202. For example, in at least one embodiment, neuron inputs 2204 and neuron outputs 2206 may be interconnected via synapses 2208.

[0256] In at least one embodiment, neurons 2202 and synapses 2208 may be interconnected such that neuromorphic processor 2200 operates to process or analyze information received by neuromorphic processor 2200. In at least one embodiment, neurons 2202 may transmit an output pulse (or “fire” or “spike”) when inputs received through neuron input 2204 exceed a threshold. In at least one embodiment, neurons 2202 may sum or integrate signals received at neuron inputs 2204. For example, in at least one embodiment, neurons 2202 may be implemented as leaky integrate-and-fire neurons, wherein if a sum (referred to as a “membrane potential”) exceeds a threshold value, neuron 2202 may generate an output (or “fire”) using a transfer function such as a sigmoid or threshold function. In at least one embodiment, a leaky integrate-and-fire neuron may sum signals received at neuron inputs 2204 into a membrane potential and may also apply a decay factor (or leak) to reduce a membrane potential. In at least one embodiment, a leaky integrate-and-fire neuron may fire if multiple input signals are received at neuron inputs 2204 rapidly enough to exceed a threshold value (i.e., before a membrane potential decays too low to fire). In at least one embodiment, neurons 2202 may be implemented using circuits or logic that receive inputs, integrate inputs into a membrane potential, and decay a membrane potential. In at least one embodiment, inputs may be averaged, or any other suitable transfer function may be used. Furthermore, in at least one embodiment, neurons 2202 may include, without limitation, comparator circuits or logic that generate an output spike at neuron output 2206 when result of applying a transfer function to neuron input 2204 exceeds a threshold. In at least one embodiment, once neuron 2202 fires, it may disregard previously received input information by, for example, resetting a membrane potential to 0 or another suitable default value. In at least one embodiment, once membrane potential is reset to 0, neuron 2202 may resume normal operation after a suitable period of time (or refractory period).

[0342] Tensor cores are configured to perform matrix operations in accordance with at least one embodiment. In at least one embodiment, one or more tensor cores are included in processing cores 3010. In at least one embodiment, tensor cores are configured to perform deep learning matrix arithmetic, such as convolution operations for neural network training and inferencing. In at least one embodiment, each tensor core operates on a 4x4 matrix and performs a matrix multiply and accumulate operation D = A X B + C, where A, B, C, and D are 4x4 matrices.

[0359] In at least one embodiment, training pipeline 3204 (FIG. 32) may include a scenario where facility 3102 is training their own machine learning model, or has an existing machine learning model that needs to be optimized or updated. In at least one embodiment, imaging data 3108 generated by imaging device(s), sequencing devices, and/or other device types may be received. In at least one embodiment, once imaging data 3108 is received, AI-assisted annotation 3110 may be used to aid in generating annotations corresponding to imaging data 3108 to be used as ground truth data for a machine learning model. In at least one embodiment, AI-assisted annotation 3110 may include one or more machine learning models (e.g., convolutional neural networks (C Ns)) that may be trained to generate annotations corresponding to certain types of imaging data 3108 (e.g., from certain devices) and/or certain types of anomalies in imaging data 3108.

This is the Akida NPU:

View attachment 25111
There is no sigmoid function.

The synapse elements 105, 106, 113 are closely tied to the neuron circuit elements, including via the learning feedback loop.

Just a refresher on Akida - these changes were implemented after customer feedback (remember when the whole team was burning the candle at both ends?):

WO2020092691A1 AN IMPROVED SPIKING NEURAL NETWORK

[0038] But conventional SNNs can suffer from several technological problems. First, conventional SNNs are unable to switch between convolution and fully connected operation. For example, a conventional SNN may be configured at design time to use a fully-connected feedforward architecture to learn features and classify data. Embodiments herein (e.g., the neuromorphic integrated circuit) solve this technological problem by combining the features of a CNN and a SNN into a spiking convolutional neural network (SCNN) that can be configured to switch between a convolution operation or a fully- connected neural network function. The SCNN may also reduce the number of synapse weights for each neuron. This can also allow the SCNN to be deeper (e.g., have more layers) than a conventional SNN with fewer synapse weights for each neuron.

Embodiments herein further improve the convolution operation by using a winner-take-all (WTA) approach for each neuron acting as a filter at particular position of the input space. This can improve the selectivity and invariance of the network. In other words, this can improve the accuracy of an inference operation.

[0039] Second, conventional SNNs are not reconfigurable. Embodiments herein solve this technological problem by allowing the connections between neurons and synapses of a SNN to be reprogrammed based on a user defined configuration. For example, the connections between layers and neural processors can be reprogrammed using a user defined configuration file.

[0040] Third, conventional SNNs do not provide buffering between different layers of the SNN. But buffering can allow for a time delay for passing output spikes to a next layer. Embodiments herein solve this technological problem by adding input spike buffers and output spike buffers between layers of a SCNN.

[0041] Fourth, conventional SNNs do not support synapse weight sharing. Embodiments herein solve this technological problem by allowing kernels of a SCNN to share synapse weights when performing convolution. This can reduce memory requirements of the SCNN.

[0042] Fifth, conventional SNNs often use l-bit synapse weights. But the use of l-bit synapse weights does not provide a way to inhibit connections. Embodiments herein solve this technological problem by using ternary synapse weights. For example, embodiments herein can use two-bit synapse weights. These ternary synapse weights can have positive, zero, or negative values. The use of negative weights can provide a way to inhibit connections which can improve selectivity. In other words, this can improve the accuracy of an inference operation.

[0043] Sixth, conventional SNNs do not perform pooling. This results in increased memory requirements for conventional SNNs. Embodiments herein solve this technological problem by performing pooling on previous layer outputs. For example, embodiments herein can perform pooling on a potential array outputted by a previous layer. This pooling operation reduces the dimensionality of the potential array while retaining the most important information.

[0044] Seventh, conventional SNN often store spikes in a bit array. Embodiments herein provide an improved way to represent and process spikes. For example, embodiments herein can use a connection list instead of bit array. This connection list is optimized such that each input layer neuron has a set of offset indexes that it must update. This enables embodiments herein to only have to consider a single connection list to update all the membrane potential values of connected neurons in the current layer.

[0045] Eighth, conventional SNNs often process spike by spike. In contrast, embodiments herein can process packets of spikes. This can cause the potential array to be updated as soon as a spike is processed. This can allow for greater hardware parallelization.

[0046] Finally, conventional SNNs do not provide a way to import learning (e.g., synapse weights) from an external source. For example, SNNs do not provide a way to import learning performed offline using backpropagation. Embodiments herein solve this technological problem by allowing a user to import learning performed offline into the neuromorphic integrated circuit.

[0047] In some embodiments, a SCNN can include one or more neural processors. Each neural processor can be interconnected through a reprogrammable fabric. Each neural processor can be reconfigurable. Each neuron processor can be configured to perform either convolution or classification in fully connected layers

[0048] Each neural processor can include a plurality of neurons and a plurality of synapses. The neurons can be simplified Integrate and Fire (I&F) neurons. The neurons and synapses can be interconnected through the reprogrammable fabric. Each neuron of the neural processor can be implemented in hardware or software. A neuron implemented in hardware can be referred to as a neuron circuit.

[0049] In some embodiments, each neuron can use an increment or decrement function to set the membrane potential value of the neuron. This can be more efficient than using an addition function of a conventional I&F neuron.

[0050] In some embodiments, a SCNN can use different learning functions. For example, a SCNN can use a STDP learning function. In some other embodiments, the SCNN can implement an improved version of the STDP learning function using synapse weight swapping. This improved STDP learning function can offer built-in homeostasis (e.g., stable learned weights) and improved efficiency.

[0051] In some embodiments, an input to a SCNN is derived from an audio stream. An Analog to Digital (A/D) converter can convert the audio stream to digital data. The A/D converter can output the digital data in the form of Pulse Code Modulation (PCM) data. A data to spike converter can convert the digital data to a series of spatially and temporally distributed spikes representing the spectrum of the audio stream.

[0052] In some embodiments, an input to a SCNN is derived from a video stream. The A/D converter can convert the video stream to digital data. For example, the A/D converter can convert the video stream to pixel information in which the intensity of each pixel is expressed as a digital value. A digital camera can provide such pixel information. For example, the digital camera can provide pixel information in the form of three 8-bit values for red, green and blue pixels. The pixel information can be captured and stored in memory. The data to spike converter can convert the pixel information to spatially and temporally distributed spikes by means of sensory neurons that simulate the actions of the human visual tract.

[0053]
In some embodiments, an input to a SCNN is derived from data in the shape of binary values. The data to spike converter can convert the data in the shape of binary values to spikes by means of Gaussian receptive fields. As would be appreciated by a person of ordinary skill in the art, the data to spike convert can convert the data in the shape of binary values to spikes by other means.

[0054] In some embodiments, a digital vision sensor (e.g., a Dynamic Vision Sensor (DVS) from supplied by iniVation AG or other manufacture) is connected to a spike input interface of a SCNN. The digital vision sensor can transmit pixel event information in the form of spikes. The digital vision sensor can encode the spikes over an Address-event representation (AER) bus. Pixel events can occur when a pixel is increased or decreased in intensity
.



Special guest appearance:

View attachment 25112 View attachment 25108
I apply the nappy theory to whether it is AKIDA or not.

AKIDA is all grown up and does not leak when it fires neurons.

All the others are leaky and need nappies except for Loihi which still leaks but is now in trainers. 😂🤣😂🤣🤡😂🤣

My opinion only DYOR
FF

AKIDA BALLISTA
 
  • Haha
  • Like
  • Love
Reactions: 32 users
Just thinking out loud: “I don’t expect a late Xmas announcement.”

If I was sitting on something special I would time it to be announced at CES 2023 which is when you would get the most eyeballs/media on it!

Brainchip has had an excellent year establishing all the partnerships setting the scene for growth in 2023.

Brainchip has achieved a lot already, becoming the first commercially available neuromorphic AI chip/IP. Congratulations to PVDM and all the team! And it will take a hard working team to achieve further greatness so I hope they all enjoy the Xmas break and come back refreshed, happy and raring to go next year! Good things can happen for those who work hard.

The share price will eventually break free of it’s current sideways trading price. There will be several break-outs as the commercialisation unfolds and well done to all those who have quietly and patiently held when there were beating drums of doom. I’m content to pick a great company and follow it’s pathway to success!

Although the SP hasn’t exploded this year the company is in a much stronger position now than it was at the start of the year.



I’m not religious but we actually have a Xmas tree up all year round; every day is Xmas for me!

Every day we should strive to be respectful, have empathy, practice kindness and love. I don’t need a holiday to live those behaviours.

Hoping next year brings everyone their hopes, dreams and good health.

Thanks to @zeeb0t for creating this site.

Thanks to all the valued contributors; without all the shared knowledge and insights I probably wouldn’t be holding the no. of shares I do so it is very much appreciated!

Most of all for my Xmas wish I am hoping Putin gets struck by lightning so Ukraine can have some peace to rebuild their country!

:)
 
  • Like
  • Love
  • Fire
Reactions: 66 users
Provider of industry-leading networking & imaging technologies & solutions

Socionext America, Inc.​



Home > Automotive > Custom SoCs are Critical for the Success of Autonomous Car Makers

Custom SoCs are Critical for the Success of Autonomous Car Makers​

Select a category 3D Audio Software SynQuacer Graphics Milbeaut Sensors Visual Systems General Purpose Processors Custom ASIC Networking ASIC Codecs Company News Custom SoC Automotive


By Rick Fiorenzi on November 10, 2022
featured image

Share this post​

Share TweetShare

Whether automakers and vehicle OEMs will need advanced driver assistance (ADAS) applications to be successful in the future is not a question of "if" but "when." And high-performance custom SoCs will be critical to that success.
In my previous blog post, I talked about how the move toward electric and self-driving vehicles is accelerating and looked at how custom SoCs were becoming pivotal to the success of automakers looking to remain competitive in this shifting landscape.
This time around, I would like to focus on ADAS and self-driving vehicle technology. Next-generation autonomous driving platforms require higher levels of performance to make split-second decisions. A vehicle must quickly comprehend, translate, and accurately perceive its surrounding environment to react safely to changes. Future ADAS and autonomous vehicle implementations demand higher performance, real-time edge computing with AI processing capabilities, and increased bandwidth interfaces to accommodate multiple high-resolution sensors, including radar, LiDAR, and cameras.
Improving the "seeing” or “vision" capabilities of advanced driver assistance systems extends beyond cameras and LiDARs, requiring the integration of smart sensors to handle complex driving scenarios that the auto industry coins Level 4, or "high" automation. Vehicle OEMs and automakers looking to meet these requirements have two fundamental choices when engineering their solutions: use a custom SoC or plug in an off-the-shelf chip. Read on for an analysis of each option.
Future-of-Mobility_1

Custom SoC Versus Off-the-Shelf Solutions​

Let’s start with some simple definitions:
Custom system-on-chip (SoC) solutions use multi-purpose IP blocks specifically architected and integrated to provide the functions required by their target application and use case. A purpose-designed SoC can help OEMs achieve optimal performance and efficiency levels, reduce size requirements, and lower overall BOM costs.
Standard “off-the-shelf” (OTS) silicon solutions appeal to a broader-based market by meeting general-purpose requirements. As such, OTS silicon devices support functions that are not fully optimized or, in some cases, even utilized in the design, often resulting in a larger footprint, unnecessary power consumption, and performance inefficiency.
When auto OEMs decide whether to go with a custom SoC versus an off-the-shelf product in their design, there are many factors to consider. For example:
  • Are they designing the vehicle for a broad-based market with little differentiation?
  • Which critical IP should they bring in-house versus relying on generic solutions from external vendors?
  • What tradeoffs are there regarding power, performance, size, and cost between custom and general-purpose chips?
Ultimately, automotive vendors must decide what is most suitable based on the available options. The diagram below lists some critical factors to consider when deciding between custom SoC and standard off-the-shelf products.
Future-of-Mobility_2

Why Custom SoC Solutions are the Optimal Choice when Designing Your Next Automotive Application​

I highlighted several of the compelling benefits provided by SoC solutions above. But custom SoCs also offer particular advantages in two critical areas: competitive differentiation and supply chain security. Let’s briefly touch on each of these.

Custom SoCs and Competitive Differentiation​

Custom SoC solutions provide OEMs and tier-one automakers the opportunity for complete ownership of key differentiating technologies in ADAS and autonomy. Proprietary chips allow companies to develop in-depth knowledge and in-house expertise, enabling greater control of future designs and product implementations.
Future-of-Mobility_3

Custom SoCs and Supply Chain Security​

Supply chain interruptions are a primary concern for auto OEMs today. Unanticipated “black swan” events, such as natural disasters, international border blockades, government sanctions, economic downturns, and geo-political and social unrest, can disrupt the supply flow. Supply of materials is never guaranteed. However, the odds for continued production are more favorable when an OEM or automaker doesn’t have to compete with several other companies all vying for the same off-the-shelf components.
More and more car manufacturers are realizing that general-purpose chips offer features that cater to multiple customers, limiting their product competitiveness and restricting them to the suppliers' timelines and delivery schedules.

A Mini Case Study: Custom SoCs and a Successful Automotive Industry Disruptor​

Now and again, a new company comes along and alters established business models. Netflix did it with the video rental industry. Telsa has done it in the automotive industry.
Tesla is a company that has shattered the traditional automotive business model with its early launch of autonomous driving technology, a direct purchasing program, unconventional automotive designs with large interior displays, and the construction of battery giga-factories. Unlike other automakers, Tesla was also early to recognize the importance of over-the-air (OTA) software updates for adding features to improve safety and performance. Tesla’s success is driving traditional automakers to adapt their playbooks rapidly.
Tesla joined other tech giants like Google, Amazon, Cruise, and many others that have decided to develop their own proprietary autonomous driving platforms. To further that effort, the company started developing proprietary chips in 2016, and custom SoCs have been a fundamental ingredient in Tesla’s success:
  • Tesla was also one of the earliest companies to implement autonomous driving technologies with its 1st generation autopilot launch in 2016.
  • In 2019 at Autonomy Day, Tesla unveiled Hardware 3.0. Elon Musk claimed it was “objectively the best chip in the world.”
  • Earlier in 2022, rumors circulated that Tesla was working with Samsung to develop a new 5nm semiconductor chip that would assist with its autonomous driving software.
To build a self-driving car, automakers must combine hardware, software, and data to train the deep neural networks that allow a vehicle to perceive and move safely through its environment. Deep neural networks, with their algorithms specifically designed to mimic the working of neurons in the human brain, are the artificial intelligence engine that will enable autonomous vehicles. They are the backbone of deep learning. The evolution of Tesla's autopilot and full self-driving features forced carmakers to take a closer look at the use of cameras and ultrasonic sensors.
Tesla acquires a tremendous amount of data from its nearly two million autopilot-enabled vehicles, each equipped with eight camera arrays to generate data to train the neural networks to detect objects, segment images, and measure depth in real time. The car’s onboard supercomputer FSD (full self-driving) chip runs the deep neural networks, analyzing the camera's computer vision inputs in real-time to understand, make decisions, and move the car through the environment.
As AI becomes more critical and costly to deploy, other companies, such as Google and Amazon, are also designing custom chips.
In addition to being a crucial component of full self-driving capabilities, autonomous vehicle OEMs aim to develop proprietary chips to differentiate themselves from their competition.

Choosing the Right Partner​

Creating a proprietary chip requires a complex, highly structured framework with a complete support system for addressing each phase of the development process. Most companies seeking to design custom chips do not have the full capabilities in-house. They require assistance from highly specialized companies with extensive engineering skills, know-how, and experience to support end-to-end system-level SoC design, development, and implementation.
A company such as Socionext offers the right combination of IPs, design expertise, and support to implement large-scale, fully customizable automotive SoC solutions to meet the most demanding and rigorous automotive application performance requirements.
Future-of-Mobility_4

Socionext has an in-house automotive design team to help to facilitate the early development and large-scale production of high-performance SoCs for automotive applications. As a leading “Solution SoC” provider, Socionext is committed to using leading-edge technologies, such as 5nm and 7nm processes, to produce automotive-grade SoCs that ensure functional safety while accelerating software development and system verification.
Contact us today to learn more about how Socionext can assist with your next custom SoC development.

About the Author​


Rick Fiorenzi
Rick Fiorenzi is a Field Application Engineer at Socionext America. Rick's technical experience in the automotive electronics industry spans over two decades ranging from small to large OEM, Tier1 and Tier2 companies. Rick holds a Bachelor of Science in Electrical Engineering (BSEE) from the University of Michigan in Dearborn.

You may also like:​

Synonyms of Critical: crucial, decisive, momentous, deciding factor
 
  • Like
  • Love
  • Fire
Reactions: 12 users
From Xailient

 
  • Like
  • Fire
  • Thinking
Reactions: 24 users

Diogenese

Top 20
Tight fisted share holders:

1671681999493.png
After the first 50 minutes, trading has been quite sporadic - even at these give-away prices.
 
  • Like
  • Haha
  • Love
Reactions: 19 users
Nothing to suggest Akida - the highlighted bits suggest not Akida.

[0255] FIG. 22 is a block diagram of a neuromorphic processor 2200, according to at least one embodiment. In at least one embodiment, neuromorphic processor 2200 may receive one or more inputs from sources external to neuromorphic processor 2200. In at least one embodiment, these inputs may be transmitted to one or more neurons 2202 within neuromorphic processor 2200. In at least one embodiment, neurons 2202 and components thereof may be implemented using circuitry or logic, including one or more arithmetic logic units (ALUs). In at least one embodiment, neuromorphic processor 2200 may include, without limitation, thousands or millions of instances of neurons 2202, but any suitable number of neurons 2202 may be used. In at least one embodiment, each instance of neuron 2202 may include a neuron input 2204 and a neuron output 2206. In at least one embodiment, neurons 2202 may generate outputs that may be transmitted to inputs of other instances of neurons 2202. For example, in at least one embodiment, neuron inputs 2204 and neuron outputs 2206 may be interconnected via synapses 2208.

[0256] In at least one embodiment, neurons 2202 and synapses 2208 may be interconnected such that neuromorphic processor 2200 operates to process or analyze information received by neuromorphic processor 2200. In at least one embodiment, neurons 2202 may transmit an output pulse (or “fire” or “spike”) when inputs received through neuron input 2204 exceed a threshold. In at least one embodiment, neurons 2202 may sum or integrate signals received at neuron inputs 2204. For example, in at least one embodiment, neurons 2202 may be implemented as leaky integrate-and-fire neurons, wherein if a sum (referred to as a “membrane potential”) exceeds a threshold value, neuron 2202 may generate an output (or “fire”) using a transfer function such as a sigmoid or threshold function. In at least one embodiment, a leaky integrate-and-fire neuron may sum signals received at neuron inputs 2204 into a membrane potential and may also apply a decay factor (or leak) to reduce a membrane potential. In at least one embodiment, a leaky integrate-and-fire neuron may fire if multiple input signals are received at neuron inputs 2204 rapidly enough to exceed a threshold value (i.e., before a membrane potential decays too low to fire). In at least one embodiment, neurons 2202 may be implemented using circuits or logic that receive inputs, integrate inputs into a membrane potential, and decay a membrane potential. In at least one embodiment, inputs may be averaged, or any other suitable transfer function may be used. Furthermore, in at least one embodiment, neurons 2202 may include, without limitation, comparator circuits or logic that generate an output spike at neuron output 2206 when result of applying a transfer function to neuron input 2204 exceeds a threshold. In at least one embodiment, once neuron 2202 fires, it may disregard previously received input information by, for example, resetting a membrane potential to 0 or another suitable default value. In at least one embodiment, once membrane potential is reset to 0, neuron 2202 may resume normal operation after a suitable period of time (or refractory period).

[0342] Tensor cores are configured to perform matrix operations in accordance with at least one embodiment. In at least one embodiment, one or more tensor cores are included in processing cores 3010. In at least one embodiment, tensor cores are configured to perform deep learning matrix arithmetic, such as convolution operations for neural network training and inferencing. In at least one embodiment, each tensor core operates on a 4x4 matrix and performs a matrix multiply and accumulate operation D = A X B + C, where A, B, C, and D are 4x4 matrices.

[0359] In at least one embodiment, training pipeline 3204 (FIG. 32) may include a scenario where facility 3102 is training their own machine learning model, or has an existing machine learning model that needs to be optimized or updated. In at least one embodiment, imaging data 3108 generated by imaging device(s), sequencing devices, and/or other device types may be received. In at least one embodiment, once imaging data 3108 is received, AI-assisted annotation 3110 may be used to aid in generating annotations corresponding to imaging data 3108 to be used as ground truth data for a machine learning model. In at least one embodiment, AI-assisted annotation 3110 may include one or more machine learning models (e.g., convolutional neural networks (C Ns)) that may be trained to generate annotations corresponding to certain types of imaging data 3108 (e.g., from certain devices) and/or certain types of anomalies in imaging data 3108.

This is the Akida NPU:

View attachment 25111
There is no sigmoid function.

The synapse elements 105, 106, 113 are closely tied to the neuron circuit elements, including via the learning feedback loop.

Just a refresher on Akida - these changes were implemented after customer feedback (remember when the whole team was burning the candle at both ends?):

WO2020092691A1 AN IMPROVED SPIKING NEURAL NETWORK

[0038] But conventional SNNs can suffer from several technological problems. First, conventional SNNs are unable to switch between convolution and fully connected operation. For example, a conventional SNN may be configured at design time to use a fully-connected feedforward architecture to learn features and classify data. Embodiments herein (e.g., the neuromorphic integrated circuit) solve this technological problem by combining the features of a CNN and a SNN into a spiking convolutional neural network (SCNN) that can be configured to switch between a convolution operation or a fully- connected neural network function. The SCNN may also reduce the number of synapse weights for each neuron. This can also allow the SCNN to be deeper (e.g., have more layers) than a conventional SNN with fewer synapse weights for each neuron.

Embodiments herein further improve the convolution operation by using a winner-take-all (WTA) approach for each neuron acting as a filter at particular position of the input space. This can improve the selectivity and invariance of the network. In other words, this can improve the accuracy of an inference operation.

[0039] Second, conventional SNNs are not reconfigurable. Embodiments herein solve this technological problem by allowing the connections between neurons and synapses of a SNN to be reprogrammed based on a user defined configuration. For example, the connections between layers and neural processors can be reprogrammed using a user defined configuration file.

[0040] Third, conventional SNNs do not provide buffering between different layers of the SNN. But buffering can allow for a time delay for passing output spikes to a next layer. Embodiments herein solve this technological problem by adding input spike buffers and output spike buffers between layers of a SCNN.

[0041] Fourth, conventional SNNs do not support synapse weight sharing. Embodiments herein solve this technological problem by allowing kernels of a SCNN to share synapse weights when performing convolution. This can reduce memory requirements of the SCNN.

[0042] Fifth, conventional SNNs often use l-bit synapse weights. But the use of l-bit synapse weights does not provide a way to inhibit connections. Embodiments herein solve this technological problem by using ternary synapse weights. For example, embodiments herein can use two-bit synapse weights. These ternary synapse weights can have positive, zero, or negative values. The use of negative weights can provide a way to inhibit connections which can improve selectivity. In other words, this can improve the accuracy of an inference operation.

[0043] Sixth, conventional SNNs do not perform pooling. This results in increased memory requirements for conventional SNNs. Embodiments herein solve this technological problem by performing pooling on previous layer outputs. For example, embodiments herein can perform pooling on a potential array outputted by a previous layer. This pooling operation reduces the dimensionality of the potential array while retaining the most important information.

[0044] Seventh, conventional SNN often store spikes in a bit array. Embodiments herein provide an improved way to represent and process spikes. For example, embodiments herein can use a connection list instead of bit array. This connection list is optimized such that each input layer neuron has a set of offset indexes that it must update. This enables embodiments herein to only have to consider a single connection list to update all the membrane potential values of connected neurons in the current layer.

[0045] Eighth, conventional SNNs often process spike by spike. In contrast, embodiments herein can process packets of spikes. This can cause the potential array to be updated as soon as a spike is processed. This can allow for greater hardware parallelization.

[0046] Finally, conventional SNNs do not provide a way to import learning (e.g., synapse weights) from an external source. For example, SNNs do not provide a way to import learning performed offline using backpropagation. Embodiments herein solve this technological problem by allowing a user to import learning performed offline into the neuromorphic integrated circuit.

[0047] In some embodiments, a SCNN can include one or more neural processors. Each neural processor can be interconnected through a reprogrammable fabric. Each neural processor can be reconfigurable. Each neuron processor can be configured to perform either convolution or classification in fully connected layers

[0048] Each neural processor can include a plurality of neurons and a plurality of synapses. The neurons can be simplified Integrate and Fire (I&F) neurons. The neurons and synapses can be interconnected through the reprogrammable fabric. Each neuron of the neural processor can be implemented in hardware or software. A neuron implemented in hardware can be referred to as a neuron circuit.

[0049] In some embodiments, each neuron can use an increment or decrement function to set the membrane potential value of the neuron. This can be more efficient than using an addition function of a conventional I&F neuron.

[0050] In some embodiments, a SCNN can use different learning functions. For example, a SCNN can use a STDP learning function. In some other embodiments, the SCNN can implement an improved version of the STDP learning function using synapse weight swapping. This improved STDP learning function can offer built-in homeostasis (e.g., stable learned weights) and improved efficiency.

[0051] In some embodiments, an input to a SCNN is derived from an audio stream. An Analog to Digital (A/D) converter can convert the audio stream to digital data. The A/D converter can output the digital data in the form of Pulse Code Modulation (PCM) data. A data to spike converter can convert the digital data to a series of spatially and temporally distributed spikes representing the spectrum of the audio stream.

[0052] In some embodiments, an input to a SCNN is derived from a video stream. The A/D converter can convert the video stream to digital data. For example, the A/D converter can convert the video stream to pixel information in which the intensity of each pixel is expressed as a digital value. A digital camera can provide such pixel information. For example, the digital camera can provide pixel information in the form of three 8-bit values for red, green and blue pixels. The pixel information can be captured and stored in memory. The data to spike converter can convert the pixel information to spatially and temporally distributed spikes by means of sensory neurons that simulate the actions of the human visual tract.

[0053]
In some embodiments, an input to a SCNN is derived from data in the shape of binary values. The data to spike converter can convert the data in the shape of binary values to spikes by means of Gaussian receptive fields. As would be appreciated by a person of ordinary skill in the art, the data to spike convert can convert the data in the shape of binary values to spikes by other means.

[0054] In some embodiments, a digital vision sensor (e.g., a Dynamic Vision Sensor (DVS) from supplied by iniVation AG or other manufacture) is connected to a spike input interface of a SCNN. The digital vision sensor can transmit pixel event information in the form of spikes. The digital vision sensor can encode the spikes over an Address-event representation (AER) bus. Pixel events can occur when a pixel is increased or decreased in intensity
.



Special guest appearance:

View attachment 25112 View attachment 25108
@Diogenese

Appreciate your time & education (y)

Guess it's back in the.....

63a3d8662090a878168632.gif
 
Last edited:
  • Haha
  • Like
  • Sad
Reactions: 41 users

cosors

👀
  • Like
  • Haha
  • Love
Reactions: 8 users
Ok....try a different track haha

Mathworks had their Automotive conference recently in Oct.

Was a few presentations (slides & vids) and obviously revolves around Matlab, Simulink etc.

NXP, MAN, Stellantis amongst others there. Didn't notice NVIDIA on glance through.

I did find MB had a couple of presso's and one looked interesting.

Mention of work being done...e.g LSTM's.

How nice would it be for MB to have a prototype Akida 2.0 (LSTM) for test & design work?

Though, I might need to keep that box handy if @Diogenese reads this post :LOL:

Links which have the vids and slide packs below.




Couple snips.


1671683191120.png


1671683222673.png


1671683365115.png


1671683444291.png
 
  • Like
  • Fire
Reactions: 23 users
Top Bottom