BRN Discussion Ongoing

Adika

Regular
12 million more shorts taken out on Friday. if you think that wasn't part of a planned attack think again. Its a rough ride to success at the moment but confident we are doing most things right. Would love a menaingful annoucement though!.
Hi Fries, where did you see that? I've been looking all morning on https://www.asx.com.au/data/shortsell.txt
 
  • Like
Reactions: 1 users

ndefries

Regular
Hi Fries, where did you see that? I've been looking all morning on https://www.asx.com.au/data/shortsell.txt
hey! yep at that link

1667176788063.png
 
  • Like
  • Love
Reactions: 12 users
What if it wasn't a mistake and was intentional... BMW !!!;)
In gaming circles this would be called an “Easter Egg” - a delightful medium for “hidden messages” or in jokes passing between the developers/programmers and users in the know or who stumble across them.

Of course, it could also just be a dreadfully unfortunate overlooked mistake, but I’m not going to let that potential reality interfere with my glass-half-full part-time dot-joining hobby. 😅

And oh, yeah - hey ho, everyone! 👋👋👋 😁😁😁 Long time no see!

Very pleased to have found the cool kids’ clubhouse again!

I was here back in Feb, but then got distracted with life and forget the secret doorknock/handshake, but have now found my way back again from the downramper ship of fools that is HC. 🙄

On that note, may I just ask - is “The Dean” the latest iteration of the user whose name I can’t remember right now, but had something to do with flying pigs? 🤔🧐

On the rare occasion I have dropped in there since last summer I have had to diligently fight the urge (sometimes unsuccessfully) to engage with him. 🙄
 
  • Love
  • Like
Reactions: 6 users

Diogenese

Top 20
Yes, I came across that, but note that it´s only the 5-nanometer plant. Also the CEO of TSMC says something along the lines that it´s unprofitable to produce in the US.

Samsung can as of now produce 3-nanomenter, although at limited capacity. They target 2-nanomenter in a couple of years. So why wouldn´t the most advanced just move their production to South Korea?

Intel has some years before they reach 3-nanometers.
I think the law of diminishing returns begins to kick in in silicon at these lower sizes. Wafer yield % goes down and the resistance of the connexions becomes significant.

Sony has developed a 3D stacked chip to overcome the death of Moore's Law, but again I would guess that that would bring it's own problems with heat. I think the Prophesee/Sony camera uses the technology by stacking the pixels on top of the DVS logic ... and we all know what Prophesee thinks of Akida.

https://www.prophesee.ai/
1667177029999.png
 
  • Like
  • Love
  • Fire
Reactions: 20 users
If you look under your little picture -thingy on the left of your post you'll see the the TSEx system assigns the title "Emerged" to newer posters. However, I believe that the system does enable you to substitute your own sobriquet.

The point is that there were a few "Emerged" posters who popped up after the 4C with negative or disparaging posts, a tactic which is employed by downrampers and manipulators who seek to dance on the grave of BRN whenever there is news which does not the expectations of the enthusiasts.
I get a huge degree of comfort from the amount of engineering and scientific posts as well as the opinions of highly credentialed people sharing their valuable assessments of this company , now known as the beast . Thursdays after close 4C announcement 📣 cut me to the quick . Instead of selling immediately Friday ,I did some research that may be unique to everyone here . What I found picked me up and I can see why the Institutional investors racked in the cheap shares . Please Google Poly Centre 210 George Street Sydney . On the 10 floor there is a slither of a view of Circular Quay .Close by is Saint Pats Catholic Church ,Deloitte’s,and the Marriott Hotel.My opinion is that something positive is going on and this announcement prior to the 4C release should have been a steadier for those concerned who do their own research . I eagerly wait for next years annual general meeting to be hosted here .
 
  • Like
  • Thinking
  • Love
Reactions: 9 users

Milo

Member
If you look under your little picture -thingy on the left of your post you'll see the the TSEx system assigns the title "Emerged" to newer posters. However, I believe that the system does enable you to substitute your own sobriquet.

The point is that there were a few "Emerged" posters who popped up after the 4C with negative or disparaging posts, a tactic which is employed by downrampers and manipulators who seek to dance on the grave of BRN whenever there is news which does not the expectations of the enthusiasts.
Yes I know my profile is marked as emerged but how is that relevant to the question I raised? Does that mean the frequent posters here get the automatic right to bully new posters? I don't mean FF here but I just saw one few mins ago. Do they have to be bullied just because they have a different view? Do we have to show our holding in BRN and educational qualifications before we can question something or is there a minimum waiting period or a number of posts we have to complete? Do you as an experienced engineer think that my original question was irrational?
 

Attachments

  • 1667177649871.png
    1667177649871.png
    70.1 KB · Views: 131
  • Fire
  • Like
Reactions: 4 users
I think the law of diminishing returns begins to kick in in silicon at these lower sizes. Wafer yield % goes down and the resistance of the connexions becomes significant.

Sony has developed a 3D stacked chip to overcome the death of Moore's Law, but again I would guess that that would bring it's own problems with heat. I think the Prophesee/Sony camera uses the technology by stacking the pixels on top of the DVS logic ... and we all know what Prophesee thinks of Akida.

https://www.prophesee.ai/
View attachment 20676
Yes, I saw a prediction probably 15-20 years ago, that at 2nm, there would only be space for one foundry in the world, because of the expense of making the factory. Still, Samsung seems like the obvious foundry to go to, they have production of the advanced nodes now and will be even more advanced before TSMC get their 5 nm factory up and running in the US.

I saw the thing about Sony and Prophesee, what I haven´t been able to establish is whether Brainchip will be a part of the equation and I suspect it´s unlikely at least for the first generation.
 
  • Love
Reactions: 1 users
Yes, I came across that, but note that it´s only the 5-nanometer plant. Also the CEO of TSMC says something along the lines that it´s unprofitable to produce in the US.

Samsung can as of now produce 3-nanomenter, although at limited capacity. They target 2-nanomenter in a couple of years. So why wouldn´t the most advanced just move their production to South Korea?

Intel has some years before they reach 3-nanometers.
Not saying this going to happen but if Pingo moves on Taiwan and the USA retaliates this could signal to North Korea to come to the support of its largest and only friend and attack Sth Korea to flank the USA by opening up two fronts and where is your Samsung then?

If I was Intel or Nvidia I would not be placing my eggs in a Samsung basket and would be asking myself do our customers really need 3nm or 5nm and is a stable supply of 7nm, 14nm, 22nm & 28nm a much better hedge against these uncertain times.

Just my off the cuff random thoughts to think about or ignore.

Regards
FF

AKIDA BALLISTA
 
  • Like
  • Fire
  • Thinking
Reactions: 21 users

Diogenese

Top 20
Yes, I saw a prediction probably 15-20 years ago, that at 2nm, there would only be space for one foundry in the world, because of the expense of making the factory. Still, Samsung seems like the obvious foundry to go to, they have production of the advanced nodes now and will be even more advanced before TSMC get their 5 nm factory up and running in the US.

I saw the thing about Sony and Prophesee, what I haven´t been able to establish is whether Brainchip will be a part of the equation and I suspect it´s unlikely at least for the first generation.
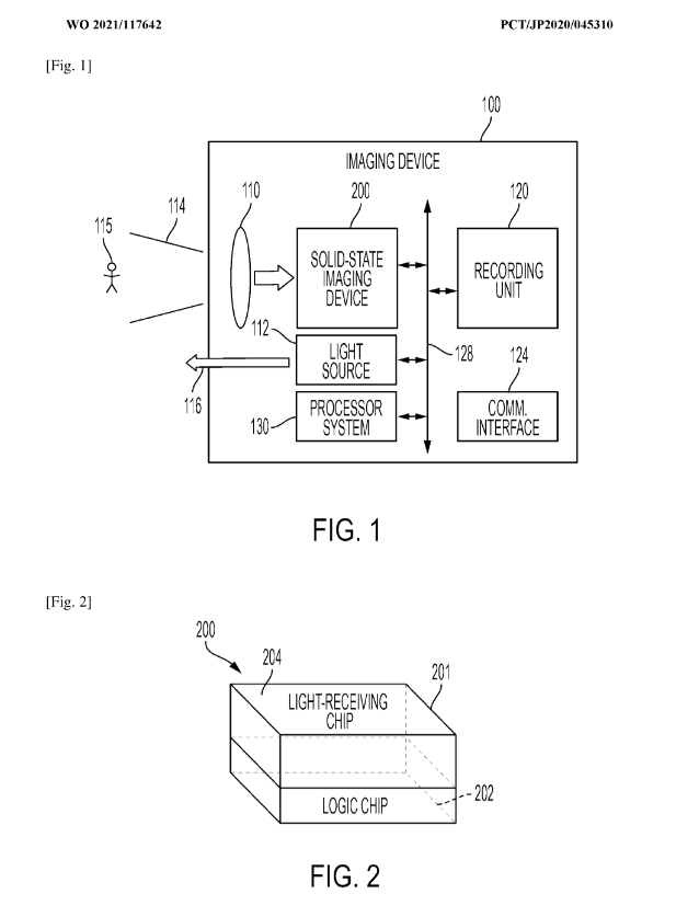
Certainly Akida is not part of the new Sony/Prophesee development kit as our engagement announcement is much too recent ... I just like to think that in the future it could well be included. Sony has been long on analog CNNs.

US2022020757A1 SEMICONDUCTOR STORAGE DEVICE AND NEURAL NETWORK DEVICE

A neural network device comprising:
a substrate;
a first storage element formed on the substrate and including a first insulating film, the first storage element functioning as a buffer memory that temporarily stores a multiply-accumulate operation result; and
a second storage element formed on the substrate and including a second insulating film having a film thickness of equal to or greater than 0.5 times and equal to or less than 2 times a film thickness of the first insulating film, the second storage element differing from the first storage element in power consumption at a time of writing and
functioning as an analog multiplier-accumulator.

The scales fell from Prophesee's eyes when they met Akida.

This Sony patent is interesting in that it describes the stacked pixel/logic arrangement.

WO2021117642A1 EBS/TOF/RGB CAMERA FOR SMART SURVEILLANCE AND INTRUDER DETECTION

1667179192886.png
 
  • Like
  • Love
  • Fire
Reactions: 11 users
“But I don't believe that and think GPUs are still required in cars in addition to Akida.” was my opinion to the question I asked you in my reply to you. In your reply you quoted Peter but what he had said was he needed 100 Akida1000 chips. Again this makes the original claim unbalanced and does that mean 100x AKIDA 1.0 out performs GPUs and CPUs? In any case these are big claims and if correct, should be somewhere in company presentations, yet I don't recall seeing this in any of the presentations.

I'm sure our development team is well aware of Akida's capabilities and probably thats why they are targeting the edge AI market. Now if a 25 dollar Akida1.0 could replace a 2000 dollar odd GPU then that would be one of our biggest use cases, and as alwaysgreen pointed out Akida would be flying off shelves. Also don't forget all the GPUs that Akida could replace in crypto mining and those are big polluters. So why is BRN not marketing these if Akida could do the same at very low power and outperform GPUs??

As for the Sandia article, I thank you for posting that and I enjoyed reading it. I quoted their concluding remarks to highlight that we can't generalise that "AKIDA 1.0 out performs GPUs and CPUs." without specifying in what way.

Also I never said that Akida has no use cases in gaming. "Gaming" is a very broad term and you are taking things out of context. There are lots of elements there like VR headsets, cameras, and all those different types of game controllers. This discussion was about Akida1.0 Vs GPUs/CPUs and here is what I said for clarity.
"If I'm not correct I would like to be pointed to at least one presentation slide or other company source that claims that Akida can replace GPUs in cars or other graphics-heavy applications like gaming."

About my comment on you making fun, this is what I was referring to.

This was my original post.
View attachment 20667

This is the first comment I was referring to: post #34,739
View attachment 20668
I was not aware there was some sort of a ranking system in TSEx similar to the army.

This is the second one in post #34,794
View attachment 20669

I don't really care about the second one but didn't appreciate the first one. Would have been better if you had come directly at me if you thought my post was an attempt to diminish the importance of your post without commenting elsewhere. Anyway please don't waste your time to go back and remove or edit these.
Hi @Milo

I note you have been having some discussion with @Diogenese so I will deal with your last point first.

As you know this post was in a discussion with @Diogenese and was describing what happened at the AGM when I asked Peter van der Made about whether AKIDA does math. Nothing to do with you in any way shape or form.

As to the other comment it related to your post, which is obvious, it was however not making fun of you it was accusing you of being in a class of manipulators who intelligently attempt to erode retail shareholder confidence with one liners that undermine other posters comments for pip trading gains.

It happens so often that new posters are guilty till proven innocent when this occurs.

As to the Sandia paper it was based on the inferior Intel Loihi neuromorphic system so even though I am a technophobe I know this much:

1. Mercedes Benz tried Intel for neuromorphic but moved up to the Ai experts Brainchip and AKIDA;

2. NASA tried Intel neuromorphics for years but moved up to Brainchip and AKIDA;

3. Prophesee tried Intel neuromorphics but moved up to Brainchip and AKIDA and if you have not done so listen to the Brainchip podcast with Luca Verre as it will explain everything I am about to say from the engineers point of view.

Quoting Sandia’s findings regarding the deficiencies of Intel neuromorphics is pointless as AKIDA takes it to a different level via a different pathway protected by patents.

It remains as I have said all I am doing is stating facts as delivered to me by others skilled in the art.

In one of my posts I described @Diogenese as a real engineer which he is but even he who is neck deep in all things AKIDA did not believe AKIDA could do maths until Peter van der Made disclosed it in 2019.

@Diogenese did not believe it because that was the conventional wisdom regarding neuromorphic computing.

Peter van der Made and Anil Mankar are writing not rewriting the book about what neuromorphic computing can and will do.

Now I will go back to repairing chairs for my wife as the glue has set and I can move to the next one.

My opinion only DYOR
FF

AKIDA BALLISTA
 
  • Like
  • Fire
  • Love
Reactions: 29 users
Hi @Fact Finder,

Sure, it could happen, but I think it would be the end of Kim and I think that he knows that. I think it´s more likely that he uses his nuclear weapons as a leverage and deterrent.

Wouldn´t nVidia still want to produce their advanced graphics chips as long as they can?

But sure, it´s uncertain times and I am hedging with a part of the portfolio.

Best regards,
Frederik
 
  • Love
  • Like
Reactions: 2 users
Certainly Akida is not part of the new Sony/Prophesee development kit as our engagement announcement is much too recent ... I just like to think that in the future it could well be included. Sony has been long on analog CNNs.

US2022020757A1 SEMICONDUCTOR STORAGE DEVICE AND NEURAL NETWORK DEVICE

A neural network device comprising:
a substrate;
a first storage element formed on the substrate and including a first insulating film, the first storage element functioning as a buffer memory that temporarily stores a multiply-accumulate operation result; and
a second storage element formed on the substrate and including a second insulating film having a film thickness of equal to or greater than 0.5 times and equal to or less than 2 times a film thickness of the first insulating film, the second storage element differing from the first storage element in power consumption at a time of writing and
functioning as an analog multiplier-accumulator.

This Sony patent is interesting in that it describes the stacked pixel/logic arrangement.

WO2021117642A1 EBS/TOF/RGB CAMERA FOR SMART SURVEILLANCE AND INTRUDER DETECTION

View attachment 20682
I´m not in doubt that Akida is going many places :)

Have you figured out if the Qualcomm edge AI might be Akida? Because Qualcomm used to work on a neuromorphic chip and gave up on it.
 
  • Like
Reactions: 4 users

Diogenese

Top 20
I´m not in doubt that Akida is going many places :)

Have you figured out if the Qualcomm edge AI might be Akida? Because Qualcomm used to work on a neuromorphic chip and gave up on it.
Hi Frederik,

Could you point me to the particular haystack you are talking about?
 
  • Haha
  • Like
Reactions: 4 users
Hi Frederik,

Could you point me to the particular haystack you are talking about?
Qualcomm has some new AI that has many similarities with what Akida can do, if it is their own AI, then it´s a threat to Akida, if it´s not, then we´re probably on the winning team being integrated into Qualcomms chips. They used to work on a neuromorphic chip, but decided to work on a software stack instead.
 
  • Like
Reactions: 3 users

equanimous

Norse clairvoyant shapeshifter goddess
  • Like
  • Haha
  • Thinking
Reactions: 5 users
I´m not in doubt that Akida is going many places :)

Have you figured out if the Qualcomm edge AI might be Akida? Because Qualcomm used to work on a neuromorphic chip and gave up on it.
I believe that eventually Qualcomm will embrace AKIDA IP but that is most certainly a belief not a yet provable Fact.

Nth Korea does not have to use nuclear weapons it has a huge standing army and it could do a poor man’s version of Puto’s Ukraine invasion just to disrupt supply chains. Throw in a few terrorist bombings of important commercial and strategic targets and that would be enough to attract US attention relying upon having their nuclear weapons to stop a full invasion by the Sth or the USA.

North Korea also has a very sophisticated state sponsored cyber attack capacity they could deploy against the South which presently they use to steal funds.

But who knows that’s why things are uncertain. Donald and Kim might go on a golfing retreat and solve everything by negotiation.😂🤣🤡🤣😂

Regards
FF

AKIDA BALLISTA
 
  • Like
  • Haha
  • Fire
Reactions: 9 users

Diogenese

Top 20
Qualcomm has some new AI that has many similarities with what Akida can do, if it is their own AI, then it´s a threat to Akida, if it´s not, then we´re probably on the winning team being integrated into Qualcomms chips. They used to work on a neuromorphic chip, but decided to work on a software stack instead.
Do you have a link?
 

Quercuskid

Regular
Share price about to go up, an announcement about another change of address LoL!!!! 😀
 
  • Haha
  • Like
  • Fire
Reactions: 9 users
  • Love
  • Like
Reactions: 2 users
Top Bottom