BRN Discussion Ongoing

Hi TechGirl /Nessie,
I am no Greenie Eco Tree Hugger , but i still stand by my point that was made regarding the Power Consumption / Green Aspect at the IIF.
View attachment 1618
What seems to be the way these days is that we constantly like to take single ideas and create groups based on the single idea which if not shared excludes you from the group.

Marketing is all about creating these groups under the term Brand Loyalty. Politics has taken this to the point of a fine art. Bringing together large groups of people based upon a common purpose rather than an idea is against political vested interests. Splinter politics and factionalism rules.

Hence someone like myself is excluded from a green conversation because of having a divergent range of ideas across the spectrum of politics.

When I was very young every second weekend we would go to visit my fathers brother and his family for lunch. This trip in our non airconditioned cars back then took us over the Cooks River near the well known Sydney suburb of Newtown. In winter it was not too bad because you could drive along happily with the windows up.

In the heat of summer however depending on which direction the wind was blowing you would need to wind up the windows of the car about a kilometre from the bridge over the river because the stench of the pollution that had poured unchecked into the Cooks River from industrial premises was over powering.

When you drove over the river you could look down and it was a black ooze which because of the tidal nature of the river clung to the embankments on either side. Fortunately this has been improved but you have to ask who thought it was a reasonable use of a river in the first place to fill it with chemicals of every description. Then again who thought piping raw untreated sewerage into the Ocean around Sydney was a great idea.

In my mind there is nothing that can justify pollution but to have a voice about this I am required to be green or nothing. So be it, this is how it is and will not change in my lifetime.

When it comes to power consumption like you the idea that AKIDA technology can reduce the drain on increasingly scarce power resources across the board minimising the need for base load power stations and in so doing drive down power bills for the less well off in society and reduce pollution at the same time is in itself sufficient reason to be invested in this technology.

Yet where is Government of any description around the world recognising what Spiking Neural Network technology at the Edge can do for their people? Best I can tell and being kind they are waiting for market forces to intervene while at the same time embracing its use in Defence and Space.

I have said it a few times, I place my faith in human scientific achievement, to provide solutions to the problems we all face. I expect if humanity manages to survive what it has done, and continues to do, history will reserve a number of chapters to record the important contributions by the great minds of the likes of Peter van der Made and Anil Mankar.

My opinion only DYOR
FF

AKIDA BALLISTA
 
  • Like
  • Fire
  • Love
Reactions: 30 users

Vanman1100

Regular
Hello to our Australian colleagues,

the tensions at the moment in Europe with Russia are quite annoying. I could philosophize for hours now about why. But that's not going to get us anywhere. The fact is that Putin is being more aggressive than I could have imagined and wanted. It is suspected that he is doing everything to be able to "restore the UDSSR" and wants to get into the history books..
However, none of this has anything directly to do with Brainchip.

I did some research on Mercedes and its EQXX over the weekend. In Germany there are a lot of people who believe that it is and will remain only a concept car. So I did some research and found out the following points why the EQXX will NOT remain a concept car.Certainly not everything, but a lot. Just my opinion that I want to share with you.

If we look at the strategic goals of Mercedes/Daimler, many things become clear:

"make mobility and freight transport more sustainable with a clear commitment to CO₂ neutrality"

"implement electric driving as a priority"

"drive forward automated and autonomous driving and mobility services with a focus on customer benefits and profitability"

Let's now move on to the operational goals of how all of this will be implemented:

1.
"By the end of the decade, the brand with the star will be ready to go fully electric - wherever market conditions allow."

As we know, the market is more than ready for it: climate crisis, higher CO2 taxes. Not taking care of e-mobility would be more than negligent and mean financial ruin in the long run.

2.
"By 2022, Mercedes-Benz will offer Battery Electric Vehicles (BEVs) in all segments where the brand is present."

That's just the beginning!

"From 2025, all new vehicle architectures will be exclusively electric, and customers will have a fully electric alternative to choose from for every model."

Here I have attached an overview of how many models we are currently talking about to get an idea of the scale.

3.
"The company is significantly accelerating investments in research and development. A total of more than €40 billion is earmarked for investment in battery electric vehicles between 2022 and 2030"

By comparison, in 2020 the entire Daimler AG spent approximately €8.6 billion on research & development. This shows the pressure with which they now want to move forward if battery electric vehicles alone are to account for more than €40 billion.

4.
In 2025 Mercedes-Benz will introduce three all-electric architectures:

"MB.EA covers all mid-size and large passenger cars and, as a scalable modular system, will be the electric basis of the future BEV portfolio.
AMG.EA is an electric platform designed for peak performance, addressing the needs of Mercedes-AMG's technology-savvy and performance-oriented customers.
VAN.EA heralds a new era for electric vans and light commercial vehicles that will contribute to zero-emission transportation and CO2-free cities in the future."

So Mercedes continues to focus on all its divisions. Even the AMG segment will continue to be served. Let's see how acceptance will be there when the car no longer "rattles like a pig."

5.
"Mercedes-Benz is currently developing the VISION EQXX, an electric vehicle with a real-world range of more than 1,000 kilometers and the goal of achieving a single-digit consumption value for kilowatt hours per 100 kilometers at normal highway speeds - equivalent to a range of more than 6 miles per kilowatt hour."

And that's the sticking point for e-mobility. In Germany, at least, there will only be acceptance for e-cars if the range is right. Mercedes MUST use this technology to increase acceptance. Otherwise, we will continue to drive gasoline and diesel cars.

6.
"An interdisciplinary team including experts from Mercedes-Benz F1 High Performance Powertrain (HPP) is making great progress on this project. The world premiere is planned for 2022."

First, there we have the connection again to the Formula 1 team - am curious to see what will be presented.

As we've already seen, there's no way around implementing these technologies. In order to continue to generate sales and to remain competitive in the future.

And I would like to end this long post with the following point:

7.
"The technological advances from the VISION EQXX are to be transferred to the new vehicle architectures from Mercedes-Benz."

*Drop microphone" - Akida Ballista
Our CEO Sean Heir even commented the eqxx is Mercedes’ Tesla
 
  • Like
Reactions: 11 users
i like such news but it would so important to connect with us in Europe, don´t you think so??
I have read your two earlier posts but still not sure what you are asking us to do?

Can you explain in detail or perhaps point form if that assists with writing to us in English?
FF.
 
  • Like
  • Thinking
Reactions: 6 users

Diogenese

Top 20
View attachment 1616

Link to article


Tachyum and Jülich Supercomputing Centre Sign Memorandum of Understanding​

February 22, 2022

LAS VEGAS, Feb. 22, 2022 — Tachyum today announced it has entered into an agreement with the Jülich Supercomputing Centre (JSC) in Germany to collaborate on open supercomputing projects, scientific research and innovations in artificial intelligence. JSC will test an HPC infrastructure based on the Tachyum platform with both parties collaborating on projects in fields including biosciences, progressive materials, green energetics through Al and their transfer into industrial technology.



Dr. Radoslav Danilak with Prof. Dr. Thomas Lippert, Director and Dr. Estela Suarez, member of Technology Division.

JSC launched the first German supercomputing centre in 1987 and currently operates one of the most powerful supercomputers in Europe –JUWELS. JSC’s research and development concentrates on mathematical modelling, numerical molecular dynamics and Monte-Carlo simulations (a mathematical technique, which is used to estimate the possible outcomes of an uncertain event). About 200 experts and contacts for all aspects of supercomputing and simulation sciences work at JSC.

JSC meets the challenges that arise from the development of exaflop systems – the computers of the next supercomputer generation. As a member of the German Gauss Centre for Supercomputing, the JSC has coordinated the construction of the European research infrastructure PRACE (Partnership for Advanced Computing in Europe) since 2008.

“It is one of our guiding principles to collaborate with innovative processor developers worldwide,” explains Prof. Thomas Lippert, director of JSC. “Prodigy was designed to largely avoid silicon underutilization, which is what makes the processor so attractive for energy-efficient simulations, data analytics and AI applications.”

“It was my pleasure to have had a discussion with JSC director Dr. Lippert regarding one of the most powerful supercomputers in Europe when I visited JSC last November,” said Dr. Radoslav Danilak, founder and CEO of Tachyum. “I believe our collaboration can help put the EU in the lead position on the supercomputer and data center markets.”

Prodigy has the potential to create unrivaled computational speed and vast energy saving capabilities for hyperscale, OEM, telecommunication, private cloud and government markets. Prodigy’s 10x lower processor core power consumption will dramatically cut carbon emissions associated with data center usage. Prodigy’s 3x lower cost (at equivalent performance) will also translate to billions of dollars in annual savings to hyperscalers like Google, Facebook, Amazon and Alibaba.

Tachyum’s Prodigy processor can run HPC applications, convolutional AI, explainable AI, general AI, bio AI, and spiking neural networks, plus normal data center workloads, on a single homogeneous processor platform, using existing standard programming models. Without Prodigy, hyperscale data centers must use a combination of disparate CPU, GPU and TPU hardware, for these different workloads, creating inefficiency, expense, and the complexity of separate supply and maintenance infrastructures. Using specific hardware dedicated to each type of workload (e.g. data center, AI, HPC), results in underutilization of hardware resources, and more challenging programming, support, and maintenance. Prodigy’s ability to seamlessly switch among these various workloads dramatically changes the competitive landscape and the economics of data centers.

About Tachyum

Tachyum is transforming AI, HPC, public and private cloud data center markets with Prodigy, the world’s first Universal Processor that delivers industry-leading performance, cost, and power efficiency for both specialty and general-purpose computing. When Prodigy processors are provisioned in a hyperscale data center, they enable all AI, HPC, and general-purpose applications to run on one hardware infrastructure, saving companies billions of dollars per year. A fully functional Prodigy emulation system is currently available to select customers and partners for early testing and software development. With data centers currently consuming over 3% of the planet’s electricity, predicted to be 10% by 2025, the ultra-low power Prodigy Universal Processor is critical, if we want to continue doubling worldwide data center capacity every four years. Tachyum, Co-founded by Dr. Radoslav Danilak with its flagship product Prodigy, is marching towards tape out and chip sampling in 2022, with software emulations and an FPGA-based emulator running native Linux available to early adopters. The company is building the world’s fastest 64 AI exaflops supercomputer in 2022 in the EU with Prodigy chips. Tachyum has offices in the United States and Slovakia. For more information, visit https://www.tachyum.com.
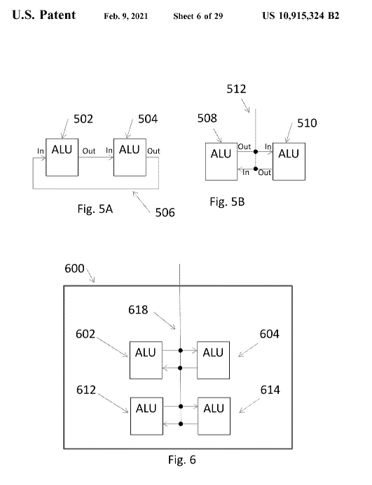
Hi TG,


As far as I can see tachyum have only one patent:

https://worldwide.espacenet.com/pat...24071/publication/US10915324B2?q=US10915324B2
A system for creating and executing instruction words for simultaneous execution of instruction operations, the system comprising:
a plurality of Arithmetic Logic Units (ALUs) in a data path operating on a clock cycle;
a non-transitory computer readable memory storing instructions:
the system being programmed to implement the instructions to perform operations comprising:
creating a dependency graph of nodes with instruction operations, the graph including at least a first node having a first instruction operation and a second node having a second instruction operation,
the second instruction operation being directly dependent upon the outcome of the first instruction operation;
first assigning the first instruction operation to a first instruction word;
second assigning a second instruction operation:
to the first instruction word upon satisfaction of a first at least one predetermined criteria; and
to a second instruction word, that is scheduled to be executed during a later clock cycle than the first instruction word, upon satisfaction of a second at least one predetermined criteria;
executing, in parallel by the plurality of ALUs and during a common clock cycle, any instruction operations within the first instruction word
.

1645580937533.png

from a superficial g;ance, this looks like a method of organizing the arrangement of a GPU, but does not refer to artificial intelligence or neural networks.

There is also the 18 month lacuna for newly filed patent applications during which we cannot see the application.

That said, the inventor does have earlier patents with another company, Skyera, but not in the AI field.

So, the big question is: Where did they get their AI and SNNs from?

A note of caution - The press release says:
"Tachyum’s Prodigy processor can run HPC applications, convolutional AI, explainable AI, general AI, bio AI, and spiking neural networks, plus normal data center workloads, on a single homogeneous processor platform, using existing standard programming models."

So, is their SNN similar to the Akida Execution Engine software?

While this suggests that Tachyum's SNN is software rather than silicon, this does not entirely exclude the possibility that Tachyum have licensed AEE.

In all the circumstances, it would be remiss of me not to unleash

1645582391784.png
 
  • Like
  • Sad
Reactions: 16 users

MDhere

Top 20
Thanks to resident daggypants on Hc i think i managed to get away with quoting this website. lets see how long it takes for Hc to remove dawgfather comment on hc chart and then mine 🤣
 
  • Haha
  • Like
Reactions: 5 users

TechGirl

Founding Member
Hi TG,


As far as I can see tachyum have only one patent:

https://worldwide.espacenet.com/pat...24071/publication/US10915324B2?q=US10915324B2
A system for creating and executing instruction words for simultaneous execution of instruction operations, the system comprising:
a plurality of Arithmetic Logic Units (ALUs) in a data path operating on a clock cycle;
a non-transitory computer readable memory storing instructions:
the system being programmed to implement the instructions to perform operations comprising:
creating a dependency graph of nodes with instruction operations, the graph including at least a first node having a first instruction operation and a second node having a second instruction operation,
the second instruction operation being directly dependent upon the outcome of the first instruction operation;
first assigning the first instruction operation to a first instruction word;
second assigning a second instruction operation:
to the first instruction word upon satisfaction of a first at least one predetermined criteria; and
to a second instruction word, that is scheduled to be executed during a later clock cycle than the first instruction word, upon satisfaction of a second at least one predetermined criteria;
executing, in parallel by the plurality of ALUs and during a common clock cycle, any instruction operations within the first instruction word
.

View attachment 1619
from a superficial g;ance, this looks like a method of organizing the arrangement of a GPU, but does not refer to artificial intelligence or neural networks.

There is also the 18 month lacuna for newly filed patent applications during which we cannot see the application.

That said, the inventor does have earlier patents with another company, Skyera, but not in the AI field.

So, the big question is: Where did they get their AI and SNNs from?

A note of caution - The press release says:
"Tachyum’s Prodigy processor can run HPC applications, convolutional AI, explainable AI, general AI, bio AI, and spiking neural networks, plus normal data center workloads, on a single homogeneous processor platform, using existing standard programming models."

So, is their SNN similar to the Akida Execution Engine software?

While this suggests that Tachyum's SNN is software rather than silicon, this does not entirely exclude the possibility that Tachyum have licensed AEE.

In all the circumstances, it would be remiss of me not to unleash

View attachment 1623


Ok thanks for that

c7eb5bbae52025b4d2ad9b8224022bd4.gif
 
  • Like
  • Haha
  • Sad
Reactions: 12 users

TechGirl

Founding Member
Well this is very exciting in my humble opinion

This guy Kostantinos Demertzis has completed 3 years of Postdoctoral Research in Cyber Security of Intelligence cybersecurity system, that integrated into the Brainchip NSOC Akida

And was submitted 8 hours ago as far as I can tell



Tactical Imagery Intelligence Operations by Cloud Robotics and Artificial Intelligence​


Kostantinos Demertzis

2022, NRDC-GR Herald Issue
4 Views7 Pages
1 File ▾
Geography,
Mathematics,
Computer Science,
Artificial Intelligence,
Social Sciences
...more ▾
Show less ▴
Publication Date: 2022
Publication Name: NRDC-GR Herald Issue
Intelligence service, in government and military operations, evaluates information on the strength, activities, and possible course of action of foreign countries or non-state actors. The term OpenSource Intelligence (OSINT) is used to collect, analyze and distribute the information collected through the analysis of data from publicly accessible sources of information (e.g., media, internet, free databases, social networks, etc.). The field of Imagery Intelligence (IMINT) is one of the most important categories of information analysis which includes all the information collected through photographs, aerial photos, or satellite images. The process and outcome of the synthesis of this information is an important element of national power and a fundamental element in national security, defense, and foreign policy decisions. This article introduces the process of tactical IMINT operations and in particular, a thorough analysis is performed of how IMINT technologies are enhanced using cloud robotics and artificial intelligence.


tactical 1.jpg


tactical 2.jpg


tactical 3.jpg


tactical 4.jpg
 
  • Like
  • Fire
  • Love
Reactions: 55 users
Hi TechGirl
Now that Dio has broken the bad news I can step in and nail this one closed for the moment. Over in that place that shall not be named someone posted very briefly (it was moderated quickly) a reply from Tony Dawe responding to a direct question in which he relayed that Peter van der Made said AKIDA technology was not being used by Tachyum but also went on to say the solution was not a competitor.
Sorry
FF.
 
  • Like
  • Love
Reactions: 22 users

TechGirl

Founding Member
Hi TechGirl
Now that Dio has broken the bad news I can step in and nail this one closed for the moment. Over in that place that shall not be named someone posted very briefly (it was moderated quickly) a reply from Tony Dawe responding to a direct question in which he relayed that Peter van der Made said AKIDA technology was not being used by Tachyum but also went on to say the solution was not a competitor.
Sorry
FF.

Thanks FF
 
  • Like
Reactions: 2 users

Diogenese

Top 20
Well this is very exciting in my humble opinion

This guy Kostantinos Demertzis has completed 3 years of Postdoctoral Research in Cyber Security of Intelligence cybersecurity system, that integrated into the Brainchip NSOC Akida

And was submitted 8 hours ago as far as I can tell



Tactical Imagery Intelligence Operations by Cloud Robotics and Artificial Intelligence​


Kostantinos Demertzis
2022, NRDC-GR Herald Issue
4 Views7 Pages
1 File ▾
Geography,
Mathematics,
Computer Science,
Artificial Intelligence,
Social Sciences
...more ▾
Show less ▴
Publication Date: 2022
Publication Name: NRDC-GR Herald Issue
Intelligence service, in government and military operations, evaluates information on the strength, activities, and possible course of action of foreign countries or non-state actors. The term OpenSource Intelligence (OSINT) is used to collect, analyze and distribute the information collected through the analysis of data from publicly accessible sources of information (e.g., media, internet, free databases, social networks, etc.). The field of Imagery Intelligence (IMINT) is one of the most important categories of information analysis which includes all the information collected through photographs, aerial photos, or satellite images. The process and outcome of the synthesis of this information is an important element of national power and a fundamental element in national security, defense, and foreign policy decisions. This article introduces the process of tactical IMINT operations and in particular, a thorough analysis is performed of how IMINT technologies are enhanced using cloud robotics and artificial intelligence.


View attachment 1628

View attachment 1629

View attachment 1630

View attachment 1631
Hi TG,

Last Monday (11:57 am) @butcherano posted on the Is this Akida? thread an item by Axiado about their Trusted Computer Unit which had all the hallmarks of BrainChip/Democritus University of Thrace cooperation.

Both the Axiado system and the Akida/DUTH systems model user behaviour to detect cyber attacks.

I'm hoping BrainChip bring it out on a USB stick.

A copy of my reply:

Hi butcherano,

Great sleuthing.

The similarities between the licensed IP and Akida's cybersecurity characteristics are remarkable:

"Accelerator IP was licensed from a supplier"

Axiado

Redefining firmware security

September 16, 2021 Derek Chamorro and Gopi Sirineni

A review of potentially unaddressed vectors inherent in current platforms and a look at a potential solution for preventing firmware attacks and elevating platform security based on a trusted control/compute unit security processor.


Redefining firmware security - Embedded.com

The TCU includes a secure AI technology featuring a dedicated neural network processor (NNP) subsystem designed to model the normal behavior of the device, and thus, to identify anomalies that might indicate the presence of an attack. This makes it possible to enact any necessary countermeasures to protect the system prior to attacks, including those not formally identified. Furthermore, the NNP has connections to various I/Os of the device, so it can model the normal behavior and identify anomalies of the server platform at large, expanding the TCU’s protective radius against hacking attempts.

BrainChip
CyberSecurity - BrainChip (brainchipinc.com)

Eliminating human security vulnerabilities

With the Akida Platform, cybersecurity systems can learn and analyze each pattern of your behavior from typical Internet activity to typing and scrolling speed. Any behavior which stands out from your standard pattern will be flagged and countermeasures will be deployed in real-time to ensure an optimal reaction to ongoing cyberattacks.

For organizations, this would mean eliminating the human aspect of security risk entirely as it would develop a behavior profile for each employee and prevent any malicious intent
.

If it is Akida, how much of the IP is attributable to Democritus University of Thrace is another question.

Business news | October 5, 2018
BrainChip will license cybersecurity technology from the Democritus University of Thrace in Greece, and also get researchers support to port it to the Akida Development Environment


https://www.eenewsanalog.com/en/brainchip-licenses-cybersecurity-technology/
 
  • Like
  • Fire
  • Love
Reactions: 43 users

TechGirl

Founding Member
Hi TG,

Last Monday (11:57 am) @butcherano posted on the Is this Akida? thread an item by Axiado about their Trusted Computer Unit which had all the hallmarks of BrainChip/Democritus University of Thrace cooperation.

Both the Axiado system and the Akida/DUTH systems model user behaviour to detect cyber attacks.

I'm hoping BrainChip bring it out on a USB stick.

A copy of my reply:

Hi butcherano,

Great sleuthing.

The similarities between the licensed IP and Akida's cybersecurity characteristics are remarkable:

"Accelerator IP was licensed from a supplier"

Axiado

Redefining firmware security

September 16, 2021 Derek Chamorro and Gopi Sirineni

A review of potentially unaddressed vectors inherent in current platforms and a look at a potential solution for preventing firmware attacks and elevating platform security based on a trusted control/compute unit security processor.


Redefining firmware security - Embedded.com

The TCU includes a secure AI technology featuring a dedicated neural network processor (NNP) subsystem designed to model the normal behavior of the device, and thus, to identify anomalies that might indicate the presence of an attack. This makes it possible to enact any necessary countermeasures to protect the system prior to attacks, including those not formally identified. Furthermore, the NNP has connections to various I/Os of the device, so it can model the normal behavior and identify anomalies of the server platform at large, expanding the TCU’s protective radius against hacking attempts.

BrainChip
CyberSecurity - BrainChip (brainchipinc.com)

Eliminating human security vulnerabilities

With the Akida Platform, cybersecurity systems can learn and analyze each pattern of your behavior from typical Internet activity to typing and scrolling speed. Any behavior which stands out from your standard pattern will be flagged and countermeasures will be deployed in real-time to ensure an optimal reaction to ongoing cyberattacks.

For organizations, this would mean eliminating the human aspect of security risk entirely as it would develop a behavior profile for each employee and prevent any malicious intent
.

If it is Akida, how much of the IP is attributable to Democritus University of Thrace is another question.

Business news | October 5, 2018
BrainChip will license cybersecurity technology from the Democritus University of Thrace in Greece, and also get researchers support to port it to the Akida Development Environment


https://www.eenewsanalog.com/en/brainchip-licenses-cybersecurity-technology/

Awesome (y)
 
  • Like
  • Fire
Reactions: 8 users

Diogenese

Top 20
  • Haha
  • Like
Reactions: 8 users
Thanks FF
To make up for your disappointment I suggest you go to 'LEARN' on the Brainchip website and open 'In the News' and just look at the top two entries. No need to open them just look. The view is uplifting and then read the following taken from Brainchip Perspectives the last paper title "Brainchip gives the Green light to automotive"(?):

"Conclusion

The automotive industry is undergoing a tremendous transformation right now. From government mandates requiring manufacturers to move away from gas-powered vehicles to businesses looking to minimize labour costs by adopting autonomous vehicles, the future begins now.

AI and Deep Learning tools are already being deployed in the industry in an attempt to make these cars smarter and safer. But much like implementing radios into cars in the early 20th Century, there are issues and complexities that are complicating these efforts. By moving AI out of the data centre to the location where data is created, a lot of these problems can be averted.

BrainChip’s Akida AI neural processor is an event-based technology that is inherently lower power when compared to conventional neural network processors. By allowing incremental learning and high-speed inferencing, Akida overcomes current technology barriers through a high-performance, low-cost, very efficient low-power solution. It’s the kind of solution that is music to the ears of automotive manufactures and OEM’s looking to bring their ideas to life. 1000 miles on a single charge here we come!"

It is obvious that both Valeo and Mercedes have heard the music but how many others???

My opinion only DYOR
FF

AKIDA BALLISTA
 
  • Like
  • Fire
Reactions: 26 users

Diogenese

Top 20
Hi TechGirl
Now that Dio has broken the bad news I can step in and nail this one closed for the moment. Over in that place that shall not be named someone posted very briefly (it was moderated quickly) a reply from Tony Dawe responding to a direct question in which he relayed that Peter van der Made said AKIDA technology was not being used by Tachyum but also went on to say the solution was not a competitor.
Sorry
FF.
Maybe we could play "20 Questions" with Tony?
 
  • Haha
  • Like
Reactions: 17 users

Neuromorphia

fact collector
Bosch has a long history of collaborating with Mercedes...

Bosch has been collaborating with many partners researching into neuromorphic chips.

1662543467087.png


Bosch's thirst for knowledge would make Akida Brainchip connections unavoidable. see PDF attachment. page 11 above



Neuromorphic Engineers

Neuromorphic computing

Inside the Bosch semiconductors and sensor Factory

Question: Which companies have Bosch parts in their cars?
Answer: “NO CAR WITHOUT BOSCH

someone else here found the PDF of Bosch Neuromorphic and AI research at BCAI.
 

Attachments

  • HBPm NEUROMORPHIC AND AI RESEARCH AT BCAI.pdf
    3.7 MB · Views: 200
Last edited:
  • Like
  • Fire
Reactions: 24 users

Proga

Regular
To make up for your disappointment I suggest you go to 'LEARN' on the Brainchip website and open 'In the News' and just look at the top two entries. No need to open them just look. The view is uplifting and then read the following taken from Brainchip Perspectives the last paper title "Brainchip gives the Green light to automotive"(?):

"Conclusion

The automotive industry is undergoing a tremendous transformation right now. From government mandates requiring manufacturers to move away from gas-powered vehicles to businesses looking to minimize labour costs by adopting autonomous vehicles, the future begins now.

AI and Deep Learning tools are already being deployed in the industry in an attempt to make these cars smarter and safer. But much like implementing radios into cars in the early 20th Century, there are issues and complexities that are complicating these efforts. By moving AI out of the data centre to the location where data is created, a lot of these problems can be averted.

BrainChip’s Akida AI neural processor is an event-based technology that is inherently lower power when compared to conventional neural network processors. By allowing incremental learning and high-speed inferencing, Akida overcomes current technology barriers through a high-performance, low-cost, very efficient low-power solution. It’s the kind of solution that is music to the ears of automotive manufactures and OEM’s looking to bring their ideas to life. 1000 miles on a single charge here we come!"

It is obvious that both Valeo and Mercedes have heard the music but how many others???

My opinion only DYOR
FF

AKIDA BALLISTA
They have all heard the music. Depends on how many want a chair.
 
  • Like
Reactions: 6 users

Dhm

Regular
Well this is very exciting in my humble opinion

This guy Kostantinos Demertzis has completed 3 years of Postdoctoral Research in Cyber Security of Intelligence cybersecurity system, that integrated into the Brainchip NSOC Akida

And was submitted 8 hours ago as far as I can tell



Tactical Imagery Intelligence Operations by Cloud Robotics and Artificial Intelligence​


Kostantinos Demertzis
2022, NRDC-GR Herald Issue
4 Views7 Pages
1 File ▾
Geography,
Mathematics,
Computer Science,
Artificial Intelligence,
Social Sciences
...more ▾
Show less ▴
Publication Date: 2022
Publication Name: NRDC-GR Herald Issue
Intelligence service, in government and military operations, evaluates information on the strength, activities, and possible course of action of foreign countries or non-state actors. The term OpenSource Intelligence (OSINT) is used to collect, analyze and distribute the information collected through the analysis of data from publicly accessible sources of information (e.g., media, internet, free databases, social networks, etc.). The field of Imagery Intelligence (IMINT) is one of the most important categories of information analysis which includes all the information collected through photographs, aerial photos, or satellite images. The process and outcome of the synthesis of this information is an important element of national power and a fundamental element in national security, defense, and foreign policy decisions. This article introduces the process of tactical IMINT operations and in particular, a thorough analysis is performed of how IMINT technologies are enhanced using cloud robotics and artificial intelligence.


View attachment 1628

View attachment 1629

View attachment 1630

View attachment 1631
I read through all of that, without understanding much of it, but that is my problem. Just to prove it to all of you that I did, a special prize to the first person that finds an editing error in the article.
I really appreciate how our 1000 eyes (must be more by now) find relevent articles with even just a hint of Brainchip in them from a heap of diverse places and locations. Another brick in the wall of confidence that we are on to a life changing once in a lifetime gift.
 
Last edited:
  • Like
  • Fire
Reactions: 6 users

TechGirl

Founding Member
To make up for your disappointment I suggest you go to 'LEARN' on the Brainchip website and open 'In the News' and just look at the top two entries. No need to open them just look. The view is uplifting and then read the following taken from Brainchip Perspectives the last paper title "Brainchip gives the Green light to automotive"(?):

"Conclusion

The automotive industry is undergoing a tremendous transformation right now. From government mandates requiring manufacturers to move away from gas-powered vehicles to businesses looking to minimize labour costs by adopting autonomous vehicles, the future begins now.

AI and Deep Learning tools are already being deployed in the industry in an attempt to make these cars smarter and safer. But much like implementing radios into cars in the early 20th Century, there are issues and complexities that are complicating these efforts. By moving AI out of the data centre to the location where data is created, a lot of these problems can be averted.

BrainChip’s Akida AI neural processor is an event-based technology that is inherently lower power when compared to conventional neural network processors. By allowing incremental learning and high-speed inferencing, Akida overcomes current technology barriers through a high-performance, low-cost, very efficient low-power solution. It’s the kind of solution that is music to the ears of automotive manufactures and OEM’s looking to bring their ideas to life. 1000 miles on a single charge here we come!"

It is obvious that both Valeo and Mercedes have heard the music but how many others???

My opinion only DYOR
FF

AKIDA BALLISTA

I did it FF, I read it, & I like it 😁

5rN.gif
 
  • Like
  • Love
Reactions: 13 users
  • Haha
  • Like
  • Love
Reactions: 11 users
Top Bottom