ha, must have been thinking of shorts at the same timeWho is selling today??
The shorters are..
Aggregate shorts are likely to go up significantly, to the highest ever, over the next few days.
The shorters are the only ones fool enough to be selling..
Holding up pretty well if you ask me with all the shorting, going to make interesting times ahead.Who is selling today??
The shorters are..
Aggregate shorts are likely to go up significantly, to the highest ever, over the next few days.
The shorters are the only ones fool enough to be selling..
2.9M shorts taken out yesterday. We have never had this much taken out at once from my memory. Seems to be about 90M+ outstanding.
There have been a couple of instances where we have come unstuck on announcements:While I am an investor and sometimes trader in Brainchip Inc and maintain a positive overall view of the prospects for success I do not always agree with decisions made by the Brainchip Inc and when that is the case I invariably take my concerns to the company privately.
Fortunately this company unlike some I have invested in will engage in robust debate with me and on my preferred terms which is in writing. Often I am not persuaded by the company but to date though not persuaded they have convinced me that the basis of the decision they have made is their genuine attempt to comply with the law and look after the best interests of all shareholders.
On the issue of the non publication of the last granted patent I had the following discussion and as this issue is still gnawing at some I have sort permission to publish the following email discussion I had with Brainchip Inc on the subject:
Fact Finder: I am very unhappy with this news regarding the patent...
Brainchip: I understand your frustration. There are good reasons for the non-announcements. It has nothing to do with any attempt to distance ourselves from the retail shareholders at all. Let me begin by saying that the decision to announce or not to announce falls into a very grey area of the guidance which I can share with you. Even after reading my justification below, you may not agree but hopefully you can see this from our perspective.
In this case, applying the Continuous Disclosure standards by asking, would this information make an informed investor buy or sell the stock, we believe the answer is that it is unlikely that it would. This decision was not taken lightly by any means. We had lengthy conversations with our two patent attorneys based in Perth at the research institute who advised us on this position. One of the very key differentiators of this patent from the others in the past and the ones that are pending and will be granted in the next few weeks is that this is a patent on an application of Akida and not on the very critical and core technology that makes Akida what it is. Protecting one possible use of Akida is not nearly as critical as protecting the “secret sauce”. And while this is one potential way of encrypting data, according to our best and brightest, “encryption is a dime a dozen” and there are many other ways to do it. For someone to infringe upon this patent, first they have to invent their own neuromorphic chip and then do voice encryption using two chips and an SNN.
As you know, the applications of Akida are endless and if we take the position that we are going to do an announcement for each and every one of them, it would be dilutive to the more valuable and critical announcements and we will have reverted back to being the very “noisy” BRN that drew some very unwanted attention and criticism from the ASX over the past few years. We are on their closely watched list and everything we do is scrutinized to death to ensure we are not pumping the stock so we err on the side of caution.
Fact Finder: It seemed to myself and others that this patent allowed for the use of the Hey Mercedes to securely interact with home and office as proposed by Mercedes Benz. If this is only in part correct then it is clearly significant.
Brainchip: A Patent on an application of Akida which in of itself is not a unique application (encryption) although it may be unique to do so on a neuromorphic chip. This does not protect our core Akida technology and although we felt the research was valuable and worth patenting, we do not foresee any immediate commercial applications or demand for this.
Fact Finder: Secondly having regard to the five criteria for the grant of any patent, as well as the time and cost involved unless the company does not concern itself with the proper allocation of scarce resources all patents by their very nature are important. Thirdly for the company, to as Tony Dawe suggested to another shareholder, decide this patent can be consigned to a footnote in the October 4C is to raise concerns about the true motives of management.
Brainchip: The next few patents that are issued will definitely be announced. When you see them, the difference will be very clear.
I have previously mentioned that in my communications and discussions at the AGM I formed the view that Brainchip Inc is very, very, very concerned about having any adverse entries made against them by the ASX. While Brainchip Inc has never stated why unlike every other company I have invested in they have such deep rooted concerns I am of the opinion that as it is the end goal to list on the Nasdaq that this is the reason. The Nasdaq looks at the character of the company and its history on other exchanges in determining how and when any new company will be permitted to list. Brainchip Inc wants an unblemished good name and in my opinion goes overboard to comply beyond strictly with the ASX Rules.
My opinion only DYOR
FF
AKIDA BALLISTA
| US STPP | Z: Not classifiable | INFORMATION ON STATUS: PATENT APPLICATION AND GRANTING PROCEDURE IN GENERAL | 2022-05-02 | Further information NOTICE OF ALLOWANCE MAILED -- APPLICATION RECEIVED IN OFFICE OF PUBLICATIONS | ||
| US STPP | Z: Not classifiable | INFORMATION ON STATUS: PATENT APPLICATION AND GRANTING PROCEDURE IN GENERAL | 2022-07-18 | Further information AWAITING TC RESP, ISSUE FEE PAYMENT VERIFIED | ||
| US STPP | Z: Not classifiable | INFORMATION ON STATUS: PATENT APPLICATION AND GRANTING PROCEDURE IN GENERAL | 2022-08-02 | Further information NOTICE OF ALLOWANCE MAILED -- APPLICATION RECEIVED IN OFFICE OF PUBLICATIONS | ||
| US STPP | Z: Not classifiable | INFORMATION ON STATUS: PATENT APPLICATION AND GRANTING PROCEDURE IN GENERAL | 2022-08-05 | Further information PUBLICATIONS -- ISSUE FEE PAYMENT VERIFIED |
Tbh, I am more curious who the buyer is...
It looks like someone is taking big chunks from the shorters![]()
Attracting a few interesting likes on linkedin.Brainchip looking for field sales in North America Japan Germany and Europe….
Make up your own minds as to why!
View attachment 16677

By Newsroom Odisha Network On Sep 16, 2022
I like this bit which is not to be confused with an earlier bit about which I posted a bit:There have been a couple of instances where we have come unstuck on announcements:
The GPI deal was subverted by a takeover;
The Tier 1 North American car maker reference forced us to disclose Ford, presumably contrary to their wishes and probably a NDA.
NDAs are at the core of technical development cooperation and commercial plans, and the company has stated before that customers would abandon a project if an NDA were to be broken.
As for the silence on the patent front, one possible differentiator is that this patent can be considered more as a defensive patent intended to capture an application of Akida. It may or may not an application which the company has any plans to exploit directly.
The "core business" of the company is licensing the Akida SoC IP, not in licensing uses of the IP. However, where the company engineers conceive of a potentially commercially worthwhile implementation, it makes sense to protect that application.
However, the company also needs to ensure that its patents do not scare off potential Akida IP customers by inhibiting their ability to utilize the IP.
As to the upcoming patent announcement:
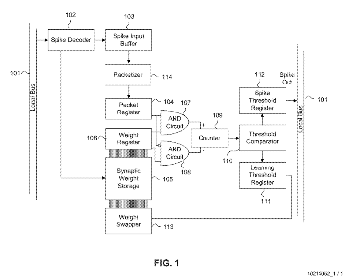
US2020143229A1 SPIKING NEURAL NETWORK
Describes a method of shuffling incoming spikes to direct them to the appropriate NPU:
View attachment 16700
View attachment 16703
View attachment 16702
US STPP Z: Not classifiable INFORMATION ON STATUS: PATENT APPLICATION AND GRANTING PROCEDURE IN GENERAL 2022-05-02 Further information
NOTICE OF ALLOWANCE MAILED -- APPLICATION RECEIVED IN OFFICE OF PUBLICATIONSUS STPP Z: Not classifiable INFORMATION ON STATUS: PATENT APPLICATION AND GRANTING PROCEDURE IN GENERAL 2022-07-18 Further information
AWAITING TC RESP, ISSUE FEE PAYMENT VERIFIEDUS STPP Z: Not classifiable INFORMATION ON STATUS: PATENT APPLICATION AND GRANTING PROCEDURE IN GENERAL 2022-08-02 Further information
NOTICE OF ALLOWANCE MAILED -- APPLICATION RECEIVED IN OFFICE OF PUBLICATIONSUS STPP Z: Not classifiable INFORMATION ON STATUS: PATENT APPLICATION AND GRANTING PROCEDURE IN GENERAL 2022-08-05 Further information
PUBLICATIONS -- ISSUE FEE PAYMENT VERIFIED
LOOKING GOOD FOR A GREEEEEEEEEEEEEEEEEEEEEEEEEEEEEN FRIDAY LADIES AND GENTLEMEN.......................Can we hold this GREEN for Friday!
It's great to be a shareholder 🏖
The millions of micro trades trying to force it down. But does it really matter in the long run? I don't think so.Can we hold this GREEN for Friday!
It's great to be a shareholder 🏖
OR TWO.............Are we gonna finish green? BrainChip what are trying to do to me. I need a drink.