Is this an Akida?

Zedjack33

Regular
It uses Kraken’s Leaky Integrate & Fire (LIF) neuron. So I dare say—no Akida.
View attachment 15013
1661465206277.gif
 
  • Haha
  • Like
Reactions: 6 users

Zedjack33

Regular
  • Like
Reactions: 6 users

Slymeat

Move on, nothing to see.
  • Like
  • Fire
  • Thinking
Reactions: 10 users

stockduck

Regular
A lot of new products........."


".....

D-Link Corporation​

A Global Leader in Intelligent Network Equipment and Comprehensive Network Solutions, D-Link Corporation is presenting its 2K QHD Indoor Wi-Fi Camera, with AI-based person detection, Glass break, Carbon monoxide and smoke alarm sound detection for enhanced protection. Users receive alerts when the sound of glass breaking is detected near the perimeter. Even if the user is not at home, the mydlink app will sound the alarm if a carbon monoxide or smoke alarm has been triggered.
...."

There are a lot more products presented........






".....
What makes Qualcomm a central piece of the puzzle when it comes to creating a connected world?
This is an exciting time for Qualcomm. As virtually everything is becoming intelligent and connected, demand for our technology solutions has continued to accelerate.

Snapdragon, our premium technology platform, enables extraordinary experiences across your most personal devices, including your smartphone. In the XR space, Snapdragon is powering more than 50 XR devices, and the Snapdragon Digital Chassis is being used by virtually every automaker to enable a new era of vehicles that are safer, smarter, and ready to meet their consumers’ evolving needs.

We are also scaling our technology – with leadership in wireless connectivity, high-performance, low-power systems, and on-device intelligence – to support virtually every connected device across industries and sectors, including industrial IoT and edge networking. We are proud to be the technology partner of choice for many of the world’s largest enterprises to enable their digital transformation at the edge.
..."



"Vasco Translator V4 is a brand new voice translator packed with the latest AI technologies. It will translate anything you say, type in or photograph with its built-in camera in up to 108 languages. Best of all, Vasco V4 always works for free, all around the globe, in almost 200 countries. No need for WiFi or phone applications – this device does it by itself. “Travel without language barriers and speak like a local anywhere you go!”
 
Last edited:
  • Like
  • Fire
  • Love
Reactions: 12 users

stockduck

Regular
"LG’s game-changing, new fridge also applies the company’s own On-Device AI chip for smart home appliances. Integrating advanced AI, the module enables the MoodUP to improve and extend the user experience with features such as upgraded voice recognition and Wi-Fi and Bluetooth connectivity."



well.....my washer was going to hell today and I decided for a new one from LG....
I will see...if it was a good decision.🤣
 
  • Like
  • Love
  • Fire
Reactions: 9 users

dezandliz

Emerged
Have held BRN since the beginning, strengthened by holdings since then due my belief in their future [astronomical] and have been watching this thread to see if anything looks like competing with them. I must say I am not computer literate, not even close, but I have Become aware of a development someone on here might like to unravel ...

ARCHER MATERIALS [AXE] are talking about their 4nn chip , Quantum computing, 12nm chip and and other tech stuff completely beyond me.

Would someone here advise me if this is in our world or not ?

Thanks
 
  • Like
Reactions: 1 users

stockduck

Regular
Any idea how they can do that kind of roboting......?


"......
Leverages AI to learn
and improve over time...."

".....
Intuitive interaction through
voice and gesture control...."

Don`t know if their technology depends on "the cloud".
 
  • Like
  • Thinking
Reactions: 4 users

Bravo

If ARM was an arm, BRN would be its biceps💪!
  • Like
  • Love
Reactions: 3 users

Bravo

If ARM was an arm, BRN would be its biceps💪!

Qualcomm expects 50% of revenue to be IoT and Automotive by 2030​

By Dan O'Shea Nov 25, 2024 1:33pm
Qualcomm AutoTech Internet of Things (IoT) Automotive
Cristiano Amon



During the company's recent Investor Day event, Qualcomm CEO Cristiano Amon touted the firm's progress since launching its diversification strategy three years ago. (Screen capture of Qualcomm CEO by Dan O'Shea)

Qualcomm expects about half of its overall revenue to be pumped through its IoT and Automotive businesses by 2030, giving itself five years to climb from the not-quite 25% mark those two businesses collectively achieved during the company’s 2024 fiscal year.
To reach 50% of overall revenue, IoT and Automotive together are expected to grow at a 22% compound annual growth rate between fiscal year 2024 and fiscal year 2029, according to a presentation given by Qualcomm CFO and COO Akash Palkhiwala said at the firm’s recent Investor Day 2024 event.

Individually, IoT, which is the bigger business and includes revenue from devices in industrial, mixed reality, PC, and other segments, is expected to grow from $5.4 billion in revenue in 2024 to $14 billion in revenue at the end of fiscal year 2029. Meanwhile, Automotive, a recently unstable revenue source for several chipmakers, pulled in close to $3 billion for Qualcomm in fiscal year 2024, and is anticipated to reach $8 billion in five years.


The Investor Day 2024 data and goal statements arrived about three years after Qualcomm launched itself on a quest during its Investor day 2021 event to diversify itself from its traditional mobile handset business and more deeply into IoT and Automotive, although its effort developing chips for these sectors began years earlier than the formal launch of the diversification strategy.

Qualcomm CEO Cristiano Amon, also speaking during the Investor Day 2024 event, was particularly proud of the company’s Automotive business, whose success, he said is “reflected in five consecutive quarters of record revenue in automotive, and a $45 billion design win pipeline that will be translating into revenue as we have new cars launched. We're working with all major OEMs and Tier 1s, and we're going to expand now to two wheelers and micromobility.”

He added, “The car is a computing space. Vehicles are becoming software-defined. And then you have the addition of assisted driving and autonomy.” He noted that Qualcomm strengthened its ADAS stack with the 2022 acquisition of ADAS and sensor software firm Arriver, recently launched Snapdragon Ride Elite and other platforms, and is working with BMW on AWS to develop an Automated Driving Stack, more details of which it is expected to share next year.

For all Qualcomm’s ambition, its Investor Day 2024 presentation did not seem to excite or reassure investors very much, as it was followed by an immediate 7% decline in the QCOM stock price, though the share price had started to climb back upward at the start of this week. Following the presentation, analysts pressed Qualcomm executives for more details about what the company described as a total addressable market (TAM) of $900 billion by 2030, and for the most part the execs demurred. Follow-up coverage also assessed the Automotive goal as somewhat lower than had been anticipated.

Patrick Moorhead, founder, CEO, and chief analyst of Moor Insights & Strategy, in a Six Five Media discussion with his Six Five Media partner Daniel Newman, CEO and chief analyst of The Futurum Group, said of the TAM, “...It was large. It was $900 billion. I don't know what is included in that. I do want to figure that out… it's important that we know what is underneath that TAM. I think that the way the market reacted, you had a 2029 view, which is important, but you know, a lot of the investors that we talk to, they only care about 18 months. So, you know, how do you make that connection? I think investors just weren't confident in the run up to it. I think they may have been looking for a bigger automotive number.”

 
  • Like
  • Fire
Reactions: 8 users
Wondering if Brainchip could be involved here:


 
  • Fire
  • Like
Reactions: 5 users
Wondering if Brainchip could be involved here:
Points to all the hall marks and through collaboration with one of our ecosystem partners;

  • "significant turning point in the evolution of artificial intelligence hardware"
  • Power and efficiency
  • Cloud free to ensure privacy and lower latency
  • real time analytics autonomous decision making

We hope so:


1733966407766.png



those sale would make up for assumed 'lost time'
 
  • Fire
  • Like
Reactions: 8 users
Points to all the hall marks and through collaboration with one of our ecosystem partners;

  • "significant turning point in the evolution of artificial intelligence hardware"
  • Power and efficiency
  • Cloud free to ensure privacy and lower latency
  • real time analytics autonomous decision making

We hope so:


View attachment 74122


those sale would make up for assumed 'lost time'
Thanks F.K. That would be awesome if Brainchip is involved, as I came across a couple of other interesting bits of info in a couple of other articles:

"The STM32N6 includes an 800 MHz Arm Cortex-M55 core, 4.2 MB of RAM, and an advanced Image Signal Processor. The series has been available to selected customers since October 2023 and is now ready for high-volume production. Major companies including LG, Lenovo, Alps Alpine, Carlo Gavazzi, Meta-bounds, and Autotrak have provided positive feedback on the MCU's performance and capabilities."

"The new parts are now available "in high volumes," STMicro has confirmed, after sampling to select customers in October. A developer kit built around the STM32N6 has been announced at $185, with a NUCLEO development board at $56.25; more information is available on the STMicro website."
 
  • Like
  • Fire
Reactions: 4 users

Diogenese

Top 20
Points to all the hall marks and through collaboration with one of our ecosystem partners;

  • "significant turning point in the evolution of artificial intelligence hardware"
  • Power and efficiency
  • Cloud free to ensure privacy and lower latency
  • real time analytics autonomous decision making

We hope so:


View attachment 74122


those sale would make up for assumed 'lost time'
Hi FK,

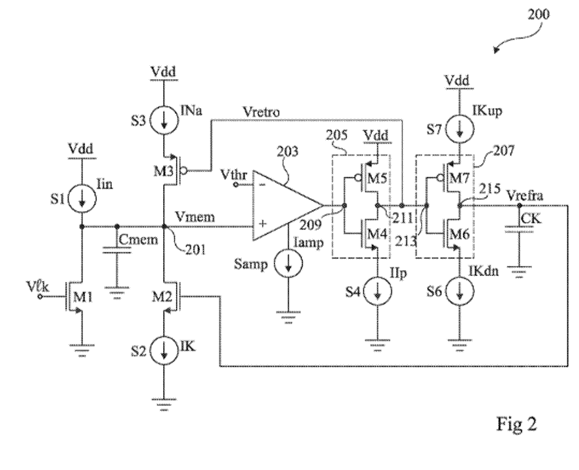
Are you sure STM are using Akida?

Their patents relate to analog neurons,

US2022121913A1 ARTIFICIAL NEURON 20201016

1733970014397.png


An artificial neuron includes a first capacitive node of application of a membrane potential of the neuron. A first transistor is configured to discharge the first capacitive node. A second capacitive node is driven according to the membrane potential and delivers a potential for controlling the first transistor. A second transistor is configured to discharge the second capacitive node. The second transistor is controlled according to a potential present at the second capacitive node.
 
  • Like
  • Fire
Reactions: 3 users
Hi FK,

Are you sure STM are using Akida?

Their patents relate to analog neurons,

US2022121913A1 ARTIFICIAL NEURON 20201016

View attachment 74125

An artificial neuron includes a first capacitive node of application of a membrane potential of the neuron. A first transistor is configured to discharge the first capacitive node. A second capacitive node is driven according to the membrane potential and delivers a potential for controlling the first transistor. A second transistor is configured to discharge the second capacitive node. The second transistor is controlled according to a potential present at the second capacitive node.

Certainly not now

I was just pleased to see Edge Impulse collaborating with STMicroelectrics who have created a chip that speaks of all the things Akida offers.
Tie the two collaborations together with this product took me on a blissful journey.o_O
 
  • Like
Reactions: 3 users

Diogenese

Top 20
Certainly not now

I was just pleased to see Edge Impulse collaborating with STMicroelectrics who have created a chip that speaks of all the things Akida offers.
Tie the two collaborations together with this product took me on a blissful journey.o_O
Thanks - I was afraid I'd missed something.
 
  • Haha
Reactions: 2 users
Top Bottom