BRN Discussion Ongoing

jtardif999

Regular
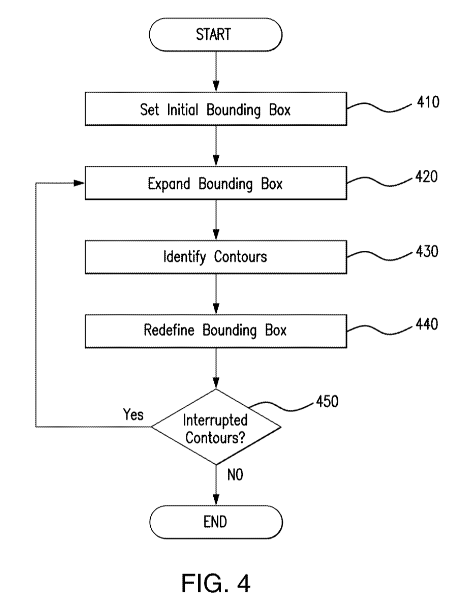
this looks like a software classification system run on a CPU/GPU.

US11170215B1 System and method for discriminating and demarcating targets of interest in a physical scene
Reality Analytics

View attachment 8838


View attachment 8839

[0051] A classifier is a set of rules and/or algorithms, executing on a computer processor or other microprocessor-based device or platform, which define how to process data values from samples of a dataset in order to identify the feature represented by said data. A classifier may be “trained” by processing data which is known to represent a particular category of feature and storing the results; these results serve as identifying criteria, and the classifier's rules and algorithms may compare the data of newly processed samples representing an unknown feature with these criteria to determine if the feature is of the same category. In some but not all embodiments, a classifier is trained to identify a specific category of feature and classify an unknown feature as in or out of said category; this category represents the classifier's target of interest.


1. A system for detecting and discriminating a feature of interest merged with other features within a physically transduced scene, the system comprising:
an array generating portion executing on a processor to define a multi-dimensional spatial array containing a plurality of physically transduced samples captured for the scene; and
a target discriminating portion executing on a processor to:
formulate a plurality of classification levels, wherein the plurality of physically transduced samples of the scene are mapped at each of the classification levels into a plurality of unit cells of said classification level, the unit cells of different classification levels encompassing spatial regions of different size within the multi-dimensional spatial array,
apply a plurality of predefined classification schemes at the respective classification levels to generate level-specific classifications for the unit cells thereof, the predefined classification schemes of at least two classification levels being different and mutually independent in execution upon different samples captured from the same portion of the scene,
combine the level-specific classifications for the unit cells across the plurality of classification levels to adaptively construct at least one cluster of spatially-contiguous cluster cells based thereon, the cluster cells each being of a common preselected spatial region size independent of classification level, the at least one cluster at least partially defining the feature of interest in peripheral contour within the scene, and,
trigger a detection signal corresponding to discrimination of the feature of interest within the scene,
wherein the combining of level-specific classifications includes, for each cluster cell within the at least one cluster:
combining the level-specific classifications for the unit cells of each respective classification level contained within the cluster cell to generate a level-specific classification of the cluster cell, and,
combining each level-specific classification of the cluster cell to generate a general classification of the cluster cell
.

Akida could do the classification standing on its head.
Seems to suggest that Renesas currently don’t seem to get or appreciate all that is Akida? They’ve initially bought IP for 2 nodes which limits the scope of its use to simple applications and have obstinately forged ahead with their DRP AI for many use cases that they could also use Akida with more nodes. Eventually market forces will probably dictate the need for them to expand their Akida use cases. This particular acquisition seems to high light a certain arrogance/ignorance on their part. Time will tell. AIMO.
 
  • Like
  • Love
Reactions: 13 users

Diogenese

Top 20
What's this? Maybe one for @Diogenese to take a look at.🧐


Struth - not even a clue as to which county to look in, let alone the haystack.

nearest I can find is:
US2022068379A1 SYNAPSE AND SYNAPTIC ARRAY, AND COMPUTING SYSTEM USING THE SAME AND DRIVING METHOD THEREOF

Applicants​

UNIV KOOKMIN IND ACAD COOP FOUND [KR]

Inventors​

KIM DONGUK [KR]; JANG JUN TAE [KR]; KIM DAE HWAN [KR]; KIM DONG MYOUNG [KR]; CHOI SUNG JIN [KR]

Maybe Choi Shin-hyun is an alias of Choi Sung Jin?

In any case this patent discusses the oxygen mobility as mentioned in the article:
The team developed a more stable and reliable artificial neuron array by using a metal oxide with a gradual oxygen concentration instead of a filament.



1654761005764.png



[0009] However, the conventional synaptic device has a problem in that a trade-off characteristic between symmetry and linearity occurs during conductance modulation due to resistance variable memory devices such as a memristor. That is, as the conductance modulation achieved symmetry, the nonlinearity became more pronounced, and as the linearity was achieved, the asymmetry became more pronounced.

[0010] In addition to such problems of the asymmetry and nonlinearity of conductance modulation, there has been a problem in which a sneak path occurs, as the conventional synaptic device is implemented in a crossbar array structure and processes the input and output signals of a synapse through the memristor.

1 . A synapse, comprising:
a transistor in which a synaptic input signal is applied to any one electrode of source and drain electrodes; and
a plurality of two-terminal variable resistance memory devices in which a first electrode is electrically commonly connected to a gate electrode of the transistor,
wherein a separate memory voltage is applied to a second electrode of each variable resistance memory device to adjust a gate voltage applied to the gate electrode, thereby controlling a synaptic output signal which is output to the other one of the source and drain electrodes.

9 . The synapse of claim 1, wherein the variable resistance memory device made of a memristor comprises:
a first electrode electrically connected to the gate electrode;
a resistance change layer provided on the first electrode in which a change in resistance occurs according to an applied voltage between the two electrodes; and
a second electrode provided on the resistance change layer to which a memory voltage is applied.

10 . The synapse of claim 9, wherein the resistance change layer is made of an oxide material, and
wherein the resistance is changed in the memristor according to the movement of oxygen charge in accordance with a memory voltage such that the switching characteristic of a SET operation or RESET operation is changed
.

In any event, it's all about memristors, so not Akida.

1654762358216.png
1654761743831.png
 
  • Like
  • Love
  • Fire
Reactions: 22 users
Rise, this is nothing more than my opinion. Quality man, quality act. In my humble view, the biggest s/h in this co clearly has morals, and standards that he personally feels have to be met. Does anyone here seriously believe that he would let b/s statements get released, false promises be made, or fanciful predictions be issued? Personally, I don't think so. Have yet to sell the 1st share I bought in this co, and won't be happening any time soon. Very impressed by his actions. In my mind, speaks volumes not only for the man, but the co. For better or worse, I'll continue to hold everything I own, and buy in weakness. Each to their own. GLTA
I've just finished getting off the phone with a mate basically explaining the high regard I hold Peter in. Never in my history of being involved in the market 20 plus years have I seen a member of the board/co- founder or anyone connected to a public listed company have such high morals, honesty and just an all-round bloody champion like pvdm.
We are blessed as holders to have this once in a lifetime opportunity bestowed upon us.
PVDM I LOVE YOU MATE!!! ♥️♥️♥️♥️
 
  • Like
  • Love
  • Fire
Reactions: 65 users
Just a heads up to watch out for FF being a broken record next year on the theme of:

"DONT FORGET TO VOTE FOR PETER VAN DER MADE" AND TO GET ALL YOUR FRIENDS, RELATIVES AND ASSOCIATES WHO OWN SHARES TO DO THE SAME." 🙌👀😎

AKIDA BALLISTA
dont-vote-for-pedro-vote-for-peter.jpg
 
  • Haha
  • Like
  • Love
Reactions: 23 users

Foxdog

Regular
I cannot say how much this action on the part of Peter van der Made means to me at a personal level.

About 10 years ago now a truly wonderful and equally humble man who spent his entire life in the service of the community through his work as a specialist physician in the public hospital system retired and within six months was diagnosed with an aggressive form of dementia and within a further 8 months passed away. He was fully aware what the diagnosis held instore and was heart broken as he knew only too well what this was likely to mean to his family and those who needed and wanted to care for him. While he was not aware of it the violent aggressive person he became was such a terrible outcome to the gentle caring life he had lived.

I think it would be a fitting tribute to Peter van der Made that when the share price reaches $5.00 that we all take the opportunity to make a further donation in his name based upon our personal circumstances to the Lions Alzheimer's Foundation in Perth.

My opinion only DYOR
FF

AKIDA BALLISTA
Brilliant idea FF - such a strong community feel here. Very happy for you to represent us in this cause - and hold us accountable for participation.

I've only ever considered myself and immediate family when thinking about where BRN's share price rise might take us (just the way it is for me, for now). I can't wait for the share price to be such that I feel in a position to broaden my focus and generosity to better help others.

My eldest daughter has recently completed an aged care traineeship, straight out of school, dealing with all of the inevitable nasty stuff that comes with people growing old. I'm so proud of her and her decision to continue on to study to be an RN even after seeing the unglamorous side of nursing. She comes home with stories of Alzheimer's patients - some of them funny, most of them super confronting. Any cause to support and hopefully one day find a cure for for this and other forms of dementia is worthy of support beyond words 🙏
 
  • Like
  • Love
  • Wow
Reactions: 37 users

Yoghesh

Regular
I retired a few years ago to fulltime care for my parents due to dementia (mainly Dad)At a certain point we had to put my father in a home (unfortunately as I dont have the medical skills nor equipment required for the level of care needed.Still looking after Mum as she is only showing mild symtoms.Dad doesnt remember me anymore😪.Its heartbraking to go through(Im tearing up as I write this).Im just thankfull for all the dedicated staff/ people that work in the homes to give suffers some kind of quality of life.Hopefully a cure will be found soon🙂
I can feel you pain Mugen. Yes it hard to see your loved ones go through it and not much help around. It is beginning to get more attention and the training and workshop has been provided. But I know when you dont have any idea its so hard to look after.
I have seen when clients have no family and they live alone. Just heart breaking.
 
  • Like
  • Love
  • Sad
Reactions: 26 users

Yoghesh

Regular
Will be interesting to see whether ROC provides the promised response today or if it remains in a trading halt.

Fingers crossed for a quick outcome and a useful precedent for shareholders and Brainchip.

My opinion only DYOR
FF

AKIDA BALLISTA
What are your thought on their announcement FF cheers
 
  • Like
Reactions: 2 users

Mugen74

Regular
I can feel you pain Mugen. Yes it hard to see your loved ones go through it and not much help around. It is beginning to get more attention and the training and workshop has been provided. But I know when you dont have any idea its so hard to look after.
I have seen when clients have no family and they live alone. Just heart breaking.
Cheers Baisyet and to everyone on here for all the love shown.I dont normally reveal much about myself,but of all the causes PVDM could have donated to this one really hit home and then FF post actually got me emotional.if you still have your parents(assuming they were good to you) dont be afraid to tell them you love them regularly.
 
  • Like
  • Love
Reactions: 55 users
Seriously with tears pouring down my cheeks. Peter you've helped me make it in life financially. My dear mother who has passed years ago thanks you greatly.

Good going, I missed the opportunity as I was talking about our wonderful founder and our great company for a couple hours on the phone lost track of time😄
So as usual with my missed buy ops price should rise at least 10-15 percent tomorrow or we shall have some sort of great announcement which will push price higher. Never fails so will be some sort of miracle if that does not happen.
Decided against posting that first bit but obviously didn't check if I cleared it
Luv you mamma.♥️♥️♥️
 
  • Like
  • Love
Reactions: 24 users

buena suerte :-)

BOB Bank of Brainchip
So who is it? That have sold their BRN shares the last few day to order this?🤔🤔🤔😆😅🤣
View attachment 8860
Its great to be a shareholder.
That would be telling!! :) Wow what a car! .. It would look great with my rego plate on it don't you think ;);)
 
  • Like
  • Love
  • Fire
Reactions: 11 users

Diogenese

Top 20

Not an Akida in sight:
1654767343426.png

https://www.renesas.com/us/en/produ...ideo-codec-4k-camera-input-fhd-display-output

AI-only Accelerator (DRP-AI), 4K-compatible Image Signal Processor (ISP), Vision-AI ASSP for Real-time Human and Object Recognition​


The AI dedicated hardware IP, DRP-AI, configured with DRP and AI-MAC, combines both a high-speed AI inference and low power consumption and realizes 1TOPS/W class power performance. In addition, the image signal processor (ISP) is highly robust, producing a stable image independent of the environment, allowing for a high AI recognition accuracy. With these features, the RZ/V2M realizes low power consumption, which is a challenge for embedded devices, making heat dissipation measures easier. Since heat sinks and cooling fans are no longer needed, the equipment can be miniaturized and the BOM cost can be reduced. The result is that it is ideal for vision AI applications in a wide range of embedded markets, including surveillance security, retail, office automation (OA), industrial automation, robotics, and healthcare. In addition, the RZ/V2M also features abundant high-speed communication interfaces such as USB 3.1, PCI-Express, Gigabit Ethernet, and many CPU peripheral functions, so it can also be used in a variety of applications.

1654767735450.png
 
  • Like
  • Haha
  • Love
Reactions: 25 users
Cheers Baisyet and to everyone on here for all the love shown.I dont normally reveal much about myself,but of all the causes PVDM could have donated to this one really hit home and then FF post actually got me emotional.if you still have your parents(assuming they were good to you) dont be afraid to tell them you love them regularly.
Hi @Mugen74
The thing to remember is that in most cases unlike my Physician friend people usually do not fully comprehend what is coming and so that most of the pain is suffered by those who love them.

True story.

My wife and I worked together in practice and she has a background in the medical area. A lovely chap came in and made an appointment to see his solicitor. She recognised his problem and made the appointment.

Over the next year he failed to keep an appointment but regularly called in and made new appointments. On his last visit he said to my wife “you wouldn’t know what he wants to see me about? Never mind he will explain.”

The following week his sister appeared at our practise most concerned because she had found multiple business cards in his room at the local nursing home with appointment details and was concerned to let us know he had alzheimers.

We explained we understood but the endpoint of this story was that they were two of eight siblings. She was the youngest and he her older brother by two years. All their six older siblings had been taken by alzheimers and she had only recently been diagnosed.

It is a cruel disease but mainly for those who witness the progression.

Best wishes
FF
 
  • Like
  • Sad
  • Love
Reactions: 35 users
Just the titles/links give it away, with DRP A.I. In them (their own A.I.).

That's the problem, with trying to pick use cases of our tech with Renesas, they have their fingers, thumbs and toes, in so many pies..
But, I really think they will just say, when a product has AKIDA in it, as they seem fairly open about it.

MegaChips, is a much better IP licence, with many varied use cases, they are now expanding more in the US too and I believe AKIDA, will have a significant part to play in that.

But they and their customers are secretive to the extreme!

"You'll never win Son, under the thumb Son, you'll never win.."

Something a mate's Father used to say to him 😛
Encouraging words or what?..
 
  • Like
  • Love
  • Fire
Reactions: 19 users

Yoghesh

Regular
Cheers Baisyet and to everyone on here for all the love shown.I dont normally reveal much about myself,but of all the causes PVDM could have donated to this one really hit home and then FF post actually got me emotional.if you still have your parents(assuming they were good to you) dont be afraid to tell them you love them regularly.
This Forum has become our second family we dont know each other but we relate to each other in so many ways. Unfortunately Lost my both parents they were amazing to us.
 
  • Like
  • Love
Reactions: 36 users
Just the titles/links give it away, with DRP A.I. In them (their own A.I.).

That's the problem, with trying to pick use cases of our tech with Renesas, they have their fingers, thumbs and toes, in so many pies..
But, I really think they will just say, when a product has AKIDA in it, as they seem fairly open about it.

MegaChips, is a much better IP licence, with many varied use cases, they are now expanding more in the US too and I believe AKIDA, will have a significant part to play in that.

But they and their customers are secretive to the extreme!

"You'll never win Son, under the thumb Son, you'll never win.."

Something a mate's Father used to say to him 😛
Encouraging words or what?..
I agree.

I have always believed Renesas will announce the product suite including AKIDA particularly since they specifically referred to it in the recent article.

My original belief was based on two previous pieces of information. The first is Anil Mankar has a personal relationship with someone at Renesas which created the original sales lead.

The second Mercedes Benz and NASA and now ARM, SiFive and MegaChips have created some marketing advantage from being able to say AKIDA Ai on board.

My opinion only DYOR
FF

AKIDA BALLISTA
 
  • Like
  • Fire
  • Love
Reactions: 32 users

Yoghesh

Regular
I agree.

I have always believed Renesas will announce the product suite including AKIDA particularly since they specifically referred to it in the recent article.

My original belief was based on two previous pieces of information. The first is Anil Mankar has a personal relationship with someone at Renesas which created the original sales lead.

The second Mercedes Benz and NASA and now ARM, SiFive and MegaChips have created some marketing advantage from being able to say AKIDA Ai on board.

My opinion only DYOR
FF

AKIDA BALLISTA
I am waiting to see what when Moschip news will come out, they are really big as well and they are on hiring spree too.
 
  • Like
  • Fire
  • Love
Reactions: 17 users

Slade

Top 20
Donations the size that Peter made are made by individuals after they have accumulated huge personal wealth in $$$$, not by founders of companies that have just entered their commercialization stage. Interesting!!!!!
 
  • Like
  • Fire
  • Love
Reactions: 36 users

Sirod69

bavarian girl ;-)
  • Like
  • Love
  • Fire
Reactions: 10 users
Top Bottom