BRN Discussion Ongoing

rgupta

Regular

‘We’ve Fused Signal Processing and AI’: NVIDIA CEO Outlines Future of Telecom at T-Mobile’s Capital Markets Day​

Jensen Huang joined T-Mobile CEO Mike Sievert in a surprise fireside chat on how the companies are advancing telecommunications with AI.
September 19, 2024 by Brian Caulfield
t-mobile-capital-market-talking-2.jpg

Share

In a surprise appearance at T-Mobile’s Capital Markets Day, NVIDIA founder and CEO Jensen Huang shared a bold vision for the future of telecommunications.
“We’ve fused signal processing and AI,” Huang declared during a fireside chat with T-Mobile CEO Mike Sievert, speaking to an audience of press, analysts and investors. “This is going to be a great new growth opportunity for the telecommunications industry.”
Huang’s remarks came alongside NVIDIA’s announcement of its groundbreaking AI Aerial platform, which promises to reshape wireless networks by integrating AI and radio access networks, AI-RAN.
The platform is designed to optimize network performance, efficiency and new revenue potential, such as AI-computing-as-a-service during periods when network infrastructure is underutilized, maximizing the return on assets.
During the conversation, Huang emphasized the importance of AI in shaping the future of telecommunications, particularly highlighting the role of AI-RAN in optimizing and scaling network performance.
Fusing radio computing and AI computing into one architecture allows companies to apply AI models to optimize signal quality across diverse environments, Huang explained.
He emphasized that this fusion would lead to improved network efficiency and new growth opportunities for the telecommunications industry,
“We could teach these AI models how to optimize signal quality in hundreds of thousands of virtual cities,” Huang said.
AI-RAN aligns with NVIDIA’s broader vision to make AI an integral part of network infrastructure, enabling telecommunications providers to unlock new revenue streams and deliver enhanced experiences through generative AI, robotics and autonomous technologies.

Huang underscored the synergies between NVIDIA and T-Mobile, particularly their collaboration on the newly announced AI-RAN Innovation Center, as co-authors of transformation. The AI-RAN Innovation Center, developed with T-Mobile, Ericsson and Nokia, is set to accelerate the commercialization of AI-RAN technologies.
Every radio operates in a unique and constantly changing world environment. This is where deep reinforcement learning algorithms embedded into radio signal processing make complex computations simpler with AI to help deliver a customer-centric network experience.
Sievert emphasized how virtualizing RAN into the cloud will create new business opportunities. He explained that AI workloads will increasingly require compute power located close to the customer, leveraging underutilized network resources.
Huang also highlighted the crucial role AI will play in making networks more energy-efficient, emphasizing the need for sustainable technology as the demand for data and connectivity grows.
“We have to use AI to reduce energy consumption,” Huang said. “Everything that we accelerate, everything that we teach an AI model to do [we] will do a lot more energy efficiently.”
As Huang explained, by simulating AI models in virtual environments with accurate physics and then emulating them in the real world, NVIDIA maximizes energy efficiency. This approach underpins the NVIDIA AI Aerial suite of platforms for designing, training and deploying AI-driven cellular networks for AI.
With NVIDIA AI Aerial now supporting a growing ecosystem of partners this collaboration marks a milestone in the telecom industry’s journey toward a future powered by AI.





Does this 👇have something to do with that☝️?



View attachment 69633





View attachment 69632
I remember Sean used to say they are working with a big communication company, that was approx 18 months ago and since then there was no talk on that. May be it was T mobile and then chose to go with Nvidia later on. But definately that will mean Sean's claim we have not lost a customer will be wrong.
Anyway the things are so much wired that more you try to solve them, more entangled them become.
Let us wait and watch and look at financials.
Dyor
 
  • Like
  • Thinking
Reactions: 6 users
  • Haha
  • Like
Reactions: 5 users
Not sure he is commercialisation focused or not but definately he is out spoken and wants to do something than to defend himself. To me he is an aggressor and will not stop from challenging himself and his competitors.
He is definately on a mission.
Let’s hope so

1726973731221.gif
 
  • Haha
  • Like
Reactions: 3 users

Diogenese

Top 20

‘We’ve Fused Signal Processing and AI’: NVIDIA CEO Outlines Future of Telecom at T-Mobile’s Capital Markets Day​

Jensen Huang joined T-Mobile CEO Mike Sievert in a surprise fireside chat on how the companies are advancing telecommunications with AI.
September 19, 2024 by Brian Caulfield
t-mobile-capital-market-talking-2.jpg

Share

In a surprise appearance at T-Mobile’s Capital Markets Day, NVIDIA founder and CEO Jensen Huang shared a bold vision for the future of telecommunications.
“We’ve fused signal processing and AI,” Huang declared during a fireside chat with T-Mobile CEO Mike Sievert, speaking to an audience of press, analysts and investors. “This is going to be a great new growth opportunity for the telecommunications industry.”
Huang’s remarks came alongside NVIDIA’s announcement of its groundbreaking AI Aerial platform, which promises to reshape wireless networks by integrating AI and radio access networks, AI-RAN.
The platform is designed to optimize network performance, efficiency and new revenue potential, such as AI-computing-as-a-service during periods when network infrastructure is underutilized, maximizing the return on assets.
During the conversation, Huang emphasized the importance of AI in shaping the future of telecommunications, particularly highlighting the role of AI-RAN in optimizing and scaling network performance.
Fusing radio computing and AI computing into one architecture allows companies to apply AI models to optimize signal quality across diverse environments, Huang explained.
He emphasized that this fusion would lead to improved network efficiency and new growth opportunities for the telecommunications industry,
“We could teach these AI models how to optimize signal quality in hundreds of thousands of virtual cities,” Huang said.
AI-RAN aligns with NVIDIA’s broader vision to make AI an integral part of network infrastructure, enabling telecommunications providers to unlock new revenue streams and deliver enhanced experiences through generative AI, robotics and autonomous technologies.

Huang underscored the synergies between NVIDIA and T-Mobile, particularly their collaboration on the newly announced AI-RAN Innovation Center, as co-authors of transformation. The AI-RAN Innovation Center, developed with T-Mobile, Ericsson and Nokia, is set to accelerate the commercialization of AI-RAN technologies.
Every radio operates in a unique and constantly changing world environment. This is where deep reinforcement learning algorithms embedded into radio signal processing make complex computations simpler with AI to help deliver a customer-centric network experience.
Sievert emphasized how virtualizing RAN into the cloud will create new business opportunities. He explained that AI workloads will increasingly require compute power located close to the customer, leveraging underutilized network resources.
Huang also highlighted the crucial role AI will play in making networks more energy-efficient, emphasizing the need for sustainable technology as the demand for data and connectivity grows.
“We have to use AI to reduce energy consumption,” Huang said. “Everything that we accelerate, everything that we teach an AI model to do [we] will do a lot more energy efficiently.”
As Huang explained, by simulating AI models in virtual environments with accurate physics and then emulating them in the real world, NVIDIA maximizes energy efficiency. This approach underpins the NVIDIA AI Aerial suite of platforms for designing, training and deploying AI-driven cellular networks for AI.
With NVIDIA AI Aerial now supporting a growing ecosystem of partners this collaboration marks a milestone in the telecom industry’s journey toward a future powered by AI.





Does this 👇have something to do with that☝️?



View attachment 69633





View attachment 69632
Hot off the press:

This is Nvidia's recently published NN patent:

WO2024183052A1 FEDERATED LEARNING TECHNIQUE 20230309; pub 20240912
= US2024303504A1 FEDERATED LEARNING TECHNIQUE

1726972289781.png


1726972255193.png
FIG 9C

1726972944122.png


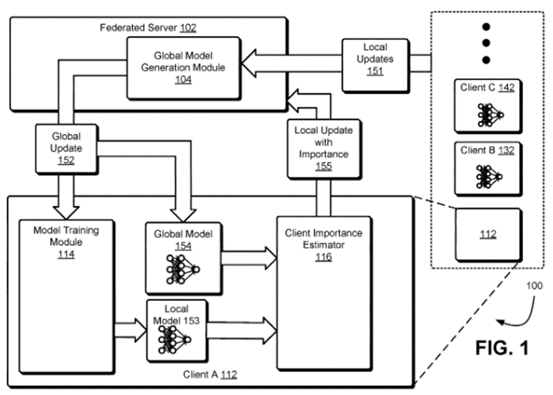
Apparatuses, systems, and techniques to train/use one or more neural networks. In at least one embodiment, a processor comprises one or more circuits to cause neural network training information to be aggregated based, at least in part, on contribution of the neural network training data and one or more performance metrics of the neural network.

It's a massive document 263 pages including 56 pages of drawings.

It's about federated learning using cloud-based processors to download, eg, NNs and maps to cars (Fig 9D). Fig 9C shows the vehicle's sensor/processor configuration. sensor fusion would be part of this.

1726973672664.png
 
  • Like
  • Thinking
  • Wow
Reactions: 17 users

Terroni2105

Founding Member
Hot off the press:

This is Nvidia's recently published NN patent:

WO2024183052A1 FEDERATED LEARNING TECHNIQUE 20230309; pub 20240912
= US2024303504A1 FEDERATED LEARNING TECHNIQUE

View attachment 69635

View attachment 69634 FIG 9C

View attachment 69638

Apparatuses, systems, and techniques to train/use one or more neural networks. In at least one embodiment, a processor comprises one or more circuits to cause neural network training information to be aggregated based, at least in part, on contribution of the neural network training data and one or more performance metrics of the neural network.

It's a massive document 263 pages including 56 pages of drawings.

It's about federated learning using cloud-based processors to download, eg, NNs and maps to cars (Fig 9D). Fig 9C shows the vehicle's sensor/processor configuration. sensor fusion would be part of this.

View attachment 69639
What are you saying Dio?
 
  • Like
  • Haha
Reactions: 8 users

Diogenese

Top 20
What are you saying Dio?
Jensen was banging on about sensor fusion shortly after this patent was published, so it's within the realms of possibility that this patent is related to sensor fusion (in the car) among other things like federated learning (in the cloud).

As I recall, previous Nvidia patents do not get down to the details of the NN hardware, and I haven't read this one yet, but I don't think it gets down to that level of detail. Let's hope their AI engineers have been smart enough to make the right choice.
 
  • Like
  • Love
  • Fire
Reactions: 25 users
Jensen was banging on about sensor fusion shortly after this patent was published, so it's within the realms of possibility that this patent is related to sensor fusion (in the car) among other things like federated learning (in the cloud).

As I recall, previous Nvidia patents do not get down to the details of the NN hardware, and I haven't read this one yet, but I don't think it gets down to that level of detail. Let's hope their AI engineers have been smart enough to make the right choice.
What are you saying Dio? 😂
 
  • Haha
  • Like
Reactions: 15 users

TECH

Regular
From what I was told soon after it became common knowledge that Tony was continuing on in Peters role as our new CTO,
that he was a go getter, the type of individual who went for it, no messing around.

Peter and he share a number of things in common with regards to the future direction of this ground breaking research, agreeing
on the future direction to keep driving us forward and leading the way. mutual respect from both men is clearly evident.

8 months until the next AGM....gee how time fly's....sorry I just couldn't help myself. :ROFLMAO:;)
 
  • Like
  • Love
  • Sad
Reactions: 23 users

rgupta

Regular
From what I was told soon after it became common knowledge that Tony was continuing on in Peters role as our new CTO,
that he was a go getter, the type of individual who went for it, no messing around.

Peter and he share a number of things in common with regards to the future direction of this ground breaking research, agreeing
on the future direction to keep driving us forward and leading the way. mutual respect from both men is clearly evident.

8 months until the next AGM....gee how time fly's....sorry I just couldn't help myself. :ROFLMAO:;)
Hi Tech
We definitely need revenue before the next AGM otherwise the same is going to be very explosive.
Regarding Tony I feel he is in category of PVDM and Anil
Intelligent, humble down to earth, helping person. I like his involvements and understanding about share holders concerns better than brainchip management.
 
  • Like
  • Love
Reactions: 18 users

TECH

Regular
  • Like
  • Thinking
  • Fire
Reactions: 11 users

Diogenese

Top 20
Hot off the press:

This is Nvidia's recently published NN patent:

WO2024183052A1 FEDERATED LEARNING TECHNIQUE 20230309; pub 20240912
= US2024303504A1 FEDERATED LEARNING TECHNIQUE

View attachment 69635

View attachment 69634 FIG 9C

View attachment 69638

Apparatuses, systems, and techniques to train/use one or more neural networks. In at least one embodiment, a processor comprises one or more circuits to cause neural network training information to be aggregated based, at least in part, on contribution of the neural network training data and one or more performance metrics of the neural network.

It's a massive document 263 pages including 56 pages of drawings.

It's about federated learning using cloud-based processors to download, eg, NNs and maps to cars (Fig 9D). Fig 9C shows the vehicle's sensor/processor configuration. sensor fusion would be part of this.

View attachment 69639

This abstract talks about broadcasting road changes over the internet.

Interesting thing is that, for ordinary CNN NNs, the whole map model needs to be changed. For Akida, only the change needs to be updated.
 
  • Like
  • Fire
  • Thinking
Reactions: 34 users
From what I was told soon after it became common knowledge that Tony was continuing on in Peters role as our new CTO,
that he was a go getter, the type of individual who went for it, no messing around.

Peter and he share a number of things in common with regards to the future direction of this ground breaking research, agreeing
on the future direction to keep driving us forward and leading the way. mutual respect from both men is clearly evident.

8 months until the next AGM....gee how time fly's....sorry I just couldn't help myself. :ROFLMAO:;)
Tech
As you say how time flys

Apparently a deal is close
So is Christmas and a new year

What you say of your 2025 dead line
 
Last edited:
  • Like
  • Love
Reactions: 7 users

7für7

Top 20
Alright, I’m out… after 4 years of ups and downs, long waits for the kick, along with many others who paid a lot to secure a ticket for that one big moment, I’ve made my decision. It’s not easy, but you reach an age where the money is better invested elsewhere… It was a tough decision, but in the end, reason won… I’m out… and in the end, it’ll pay off. I’ve canceled my Disneyland subscription and can now buy more Brainchip shares annually. I just couldn’t handle the overcrowded attractions and waiting in lines anymore… and we have roller coaster feeling at Brainchip too!
 
  • Haha
  • Like
  • Fire
Reactions: 53 users

Cgc516

Regular
There was a transaction over 3M after hour last Friday . Let we see what’s going to happen today? As usual? I am shorter. Plz save your wards!
 
  • Thinking
Reactions: 1 users

Gazzafish

Regular
New article comparing Akida to Loihi2. 😁 the entire article is worth the read as it. Compares power usage and speed across both platforms 👍


Extract :-
For Loihi2, we did not have direct access to an edge device, but only through a virtual machine provided by Intel via the Intel Neuromorphic Research Community8. With this Loihi2 setup, the time per forward pass is with 1458.57ms two orders of magnitude slower than the other devices. This is mainly due to inefficient communication between the virtual machine and the Loihi2 chip, which is a consequence of our current implementation not being well optimized in this regard. Note that the inference time on the GPU is longer than on all neuromorphic edge devices, however, the good hardware integration of the GPU shows its advantage.
 
  • Like
Reactions: 8 users
I am getting incredibly frustrated with the share price.

Like how long is this piece of string, if I hold both ends will I find middle ground.

Just wanting the company to announce something solid on the ASX
Something of value
Something worth reporting
Sean put out an amazing announcement
 
  • Like
  • Love
  • Wow
Reactions: 18 users

HopalongPetrovski

I'm Spartacus!
There was a transaction over 3M after hour last Friday . Let we see what’s going to happen today? As usual? I am shorter. Plz save your wards!
Hey shorter. This is a forum for people who like the stock and the ideas behind it and who wish it well and for the company to thrive and succeed.
Your despicable kind, who wish harm to the share price, and therefore the assets and capital spent and held by all on here, in the hope and expectation of a rising share price, are a blight and aberration, and for my part, not welcome here.
Piss off to the crapper, where you'll be in the company of those other manipulative pricks who take pleasure in twisting and distorting anything and everything about BrainChip.
We've left that cesspool for you and the other shorter's to wallow in.
Go back and join in with the other toerag's there.
 
  • Like
  • Love
  • Fire
Reactions: 44 users
Hey shorter. This is a forum for people who like the stock and the ideas behind it and who wish it well and for the company to thrive and succeed.
Your despicable kind, who wish harm to the share price, and therefore the assets and capital spent and held by all on here, in the hope and expectation of a rising share price, are a blight and aberration, and for my part, not welcome here.
Piss off to the crapper, where you'll be in the company of those other manipulative pricks who take pleasure in twisting and distorting anything and everything about BrainChip.
We've left that cesspool for you and the other shorter's to wallow in.
Go back and join in with the other toerag's there.
Brilliantly written, toerag’s 😂.
 
  • Like
  • Fire
  • Love
Reactions: 13 users
  • Like
  • Fire
  • Love
Reactions: 15 users

MegaportX

Regular
Then why is BrainChip listed on their website CURRENTLY as a partner?
I love your karate chops Bravo
 
  • Like
  • Haha
  • Love
Reactions: 5 users
Top Bottom