Renesas

As Sean said look at the 4c.
I personally couldn't give a rat's bum where the money comes from as long as it comes in decent amounts in the future.
 
  • Like
  • Love
  • Fire
Reactions: 19 users
Screenshot_2022-06-26-22-50-41-07.jpg
 
  • Like
  • Love
  • Fire
Reactions: 19 users

Iseki

Regular
Also I doubt there is an actual obligation for Renesas to advise us or anyone when or if they utilise Akida.

That's prob more the reality to accept.
I agree, but it would be great for us if they did.
 
  • Like
Reactions: 3 users
D

Deleted member 118

Guest
Last edited by a moderator:
  • Like
Reactions: 6 users
  • Like
  • Wow
Reactions: 7 users
D

Deleted member 118

Guest
 
  • Like
  • Fire
Reactions: 4 users

butcherano

Regular
Not sure if this has been covered before and I’m keen to here @Diogenese's thoughts on this…but is it possible that the 2nd generation gas sensors which are available now from Renesas have Akida on board? And is this where our first revenue from Renesas will come from?

These are the ZMOD4410 indoor air quality sensor and ZMOD4510 outdoor air quality sensors. With the ZMOD4450 refrigeration air quality sensor to follow shortly once they release the 2nd generation.

Key catch phrases:
  • “Embedded” AI (ie. on the sensor and not on the user’s MCU) – Anil has been saying that this is where Akida belongs all along
  • “Leverages neural network training”
  • The sensors have a CMOS signal conditioning IC (and Akida uses pure CMOS logic process)
  • Ultra-low power (only 160 micro watts, which rules out the Renesas in-house DRP-AI and also rules out software AI)
  • “This sensor can be run for months or years on AA batteries”…where have we heard that before?!
The global gas sensor market was US$2.5B in 2021. These sensors sell for around A$5 each. So even if Renesas only have 10% of this market that equates to 70mil sensors per year. That alone justifies our current market cap with plenty of blue sky left.

A few links and snippets of info below…


Environmental Sensing Solutions brochure

https://www.renesas.com/us/en/document/bro/environmental-sensing-solutions

1656554936698.png

1656554944320.png



Blog post from January 2022

https://www.renesas.com/us/en/blogs/breath-fresh-air-battery-powered-air-quality-monitoring


1656554986304.png



ZMOD4410 Indoor Air Quality Sensor Application Note

https://www.renesas.com/us/en/document/apn/zmod4410-application-note-tvoc-sensing

1656555030276.png



ZMOD4510 Outdoor Air Quality Sensor Overview


https://www.renesas.com/us/en/produ...-outdoor-air-quality-sensor-platform#overview

1656555091965.png



ZMOD4510 Outdoor Air Quality Sensor Datasheet

https://www.renesas.com/us/en/document/dst/zmod4510-datasheet


1656555134951.png
 
Last edited:
  • Like
  • Love
  • Fire
Reactions: 57 users

Quatrojos

Regular
Not sure if this has been covered before and I’m keen to here @Diogenese's thoughts on this…but is it possible that the 2nd generation gas sensors which are available now from Renesas have Akida on board? And is this where our first revenue from Renesas will come from?

These are the ZMOD4410 indoor air quality sensor and ZMOD4510 outdoor air quality sensors. With the ZMOD4450 refrigeration air quality sensor to follow shortly once they release the 2nd generation.

Key catch phrases:
  • “Embedded” AI (ie. on the sensor and not on the user’s MCU) – Anil has been saying that this is where Akida belongs all along
  • “Leverages neural network training”
  • The sensors have a CMOS signal conditioning IC (and Akida uses pure CMOS logic process)
  • Ultra-low power (only 160 micro watts, which rules out the Renesas in-house DRP-AI and also rules out software AI)
  • “This sensor can be run for months or years on AA batteries”…where have we heard that before?!
The global gas sensor market was US$2.5B in 2021. These sensors sell for around A$5 each. So even if Renesas only have 10% of this market that equates to 70mil sensors per year. That alone justifies our current market cap with plenty of blue sky left.

A few links and snippets of info below…


Environmental Sensing Solutions brochure

https://www.renesas.com/us/en/document/bro/environmental-sensing-solutions

View attachment 10471
View attachment 10472


Blog post from January 2022

https://www.renesas.com/us/en/blogs/breath-fresh-air-battery-powered-air-quality-monitoring


View attachment 10473


ZMOD4410 Indoor Air Quality Sensor Application Note

https://www.renesas.com/us/en/document/apn/zmod4410-application-note-tvoc-sensing

View attachment 10474


ZMOD4510 Outdoor Air Quality Sensor Overview


https://www.renesas.com/us/en/produ...-outdoor-air-quality-sensor-platform#overview

View attachment 10475


ZMOD4510 Outdoor Air Quality Sensor Datasheet

https://www.renesas.com/us/en/document/dst/zmod4510-datasheet


View attachment 10476
jaws GIF by hero0fwar
 
  • Haha
  • Like
  • Love
Reactions: 14 users

Diogenese

Top 20
Hi @butcherano ,

Just between you and me, I think there is a possibility that Akida could be used in these sensors, but keep it under your hat for now.

This Renesas patent has an early priority date of 20191323, and a second priority date of 20201215. That may indicate that some new tech was included in the second priority document. It would be nice to find out what new tech was disclosed in the second document.

The specification does discuss NNs in a general manner, but does not disclose the nitty-gritty of how to make a NN circuit, so it would be interesting to know where they got their NN from, n'est-ce pas? I suppose we could count all the available NN SoC IPs available at the time.

They have also thrown in a reference to analog NNs to cover themselves.

It's also interesting to compare the patent drawings with the one in your abstract.

1656563627418.png



US2021190750A1 System and Method to Avoid the Influence of Ozone for a Gas Sensor

Priority: 20191223; 20201215.
Note 2 priority dates indicates new material was added in filing the complete application US202017122761A.

1656562174061.png



1656562198285.png


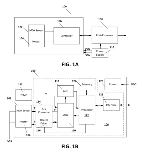
As illustrated in FIG. 1C, AI processing may be a neural network 142 . The main components of neural network 142 are input nodes 148 that receives the data from pre-processing 140 , nodes in hidden layers 146 where data is processed by sequentially applying weighted functions to process data and pass to the next layer. Finally, output nodes 150 provided the results. The weighted parameters of each of the functions executed in each of the nodes can be set by a training algorithm that rely on a training data set. Memory 124 is large enough to store the weighting parameters for operation of neural network 142 . In some cases, neural network 142 may be, at least partially, trained in a supervised learning method where gas sensor 100 processes a set of known gas samples to set the weighting parameters. In either case, neural network 142 may provide much more reliable results for the gas dependent results output by gas sensor 100 .

[0041] Neural network 142 can be implemented digitally in processor 122 or may be implemented in analog circuits in processor 122 . In some embodiments the weighting factors to each node may be digitized and the nodes of neural network 142 may be implemented by analog circuitry. Whether processing in each node is performed digitally or by analog circuits, the weighting factors are stored in memory 124 and coupled to each of the nodes of input nodes 148 , hidden layers 146 , and output nodes
150 .


As I said, don't tell the others - we don't want to start a riot - at least til I've got some more at these prices.
 
  • Like
  • Love
  • Fire
Reactions: 44 users

Diogenese

Top 20
Hi @butcherano ,

Just between you and me, I think there is a possibility that Akida could be used in these sensors, but keep it under your hat for now.

This Renesas patent has an early priority date of 20191323, and a second priority date of 20201215. That may indicate that some new tech was included in the second priority document. It would be nice to find out what new tech was disclosed in the second document.

The specification does discuss NNs in a general manner, but does not disclose the nitty-gritty of how to make a NN circuit, so it would be interesting to know where they got their NN from, n'est-ce pas? I suppose we could count all the available NN SoC IPs available at the time.

They have also thrown in a reference to analog NNs to cover themselves.

It's also interesting to compare the patent drawings with the one in your abstract.

View attachment 10494


US2021190750A1 System and Method to Avoid the Influence of Ozone for a Gas Sensor

Priority: 20191223; 20201215.
Note 2 priority dates indicates new material was added in filing the complete application US202017122761A.

View attachment 10492


View attachment 10493

As illustrated in FIG. 1C, AI processing may be a neural network 142 . The main components of neural network 142 are input nodes 148 that receives the data from pre-processing 140 , nodes in hidden layers 146 where data is processed by sequentially applying weighted functions to process data and pass to the next layer. Finally, output nodes 150 provided the results. The weighted parameters of each of the functions executed in each of the nodes can be set by a training algorithm that rely on a training data set. Memory 124 is large enough to store the weighting parameters for operation of neural network 142 . In some cases, neural network 142 may be, at least partially, trained in a supervised learning method where gas sensor 100 processes a set of known gas samples to set the weighting parameters. In either case, neural network 142 may provide much more reliable results for the gas dependent results output by gas sensor 100 .

[0041] Neural network 142 can be implemented digitally in processor 122 or may be implemented in analog circuits in processor 122 . In some embodiments the weighting factors to each node may be digitized and the nodes of neural network 142 may be implemented by analog circuitry. Whether processing in each node is performed digitally or by analog circuits, the weighting factors are stored in memory 124 and coupled to each of the nodes of input nodes 148 , hidden layers 146 , and output nodes
150 .


As I said, don't tell the others - we don't want to start a riot - at least til I've got some more at these prices.
PS: I wonder if the processor 122 in Fig 1B includes an M33?
 
  • Like
  • Love
  • Fire
Reactions: 15 users

butcherano

Regular
Hi @butcherano ,

Just between you and me, I think there is a possibility that Akida could be used in these sensors, but keep it under your hat for now.

This Renesas patent has an early priority date of 20191323, and a second priority date of 20201215. That may indicate that some new tech was included in the second priority document. It would be nice to find out what new tech was disclosed in the second document.

The specification does discuss NNs in a general manner, but does not disclose the nitty-gritty of how to make a NN circuit, so it would be interesting to know where they got their NN from, n'est-ce pas? I suppose we could count all the available NN SoC IPs available at the time.

They have also thrown in a reference to analog NNs to cover themselves.

It's also interesting to compare the patent drawings with the one in your abstract.

View attachment 10494


US2021190750A1 System and Method to Avoid the Influence of Ozone for a Gas Sensor

Priority: 20191223; 20201215.
Note 2 priority dates indicates new material was added in filing the complete application US202017122761A.

View attachment 10492


View attachment 10493

As illustrated in FIG. 1C, AI processing may be a neural network 142 . The main components of neural network 142 are input nodes 148 that receives the data from pre-processing 140 , nodes in hidden layers 146 where data is processed by sequentially applying weighted functions to process data and pass to the next layer. Finally, output nodes 150 provided the results. The weighted parameters of each of the functions executed in each of the nodes can be set by a training algorithm that rely on a training data set. Memory 124 is large enough to store the weighting parameters for operation of neural network 142 . In some cases, neural network 142 may be, at least partially, trained in a supervised learning method where gas sensor 100 processes a set of known gas samples to set the weighting parameters. In either case, neural network 142 may provide much more reliable results for the gas dependent results output by gas sensor 100 .

[0041] Neural network 142 can be implemented digitally in processor 122 or may be implemented in analog circuits in processor 122 . In some embodiments the weighting factors to each node may be digitized and the nodes of neural network 142 may be implemented by analog circuitry. Whether processing in each node is performed digitally or by analog circuits, the weighting factors are stored in memory 124 and coupled to each of the nodes of input nodes 148 , hidden layers 146 , and output nodes
150 .


As I said, don't tell the others - we don't want to start a riot - at least til I've got some more at these prices.
Brilliant....always good when the ogre doesn't make an appearance!...😁

When you watch some of the videos with David Simpson from Renesas, he's super pumped about the potential for these sensors. In one of them he talked a little bit about how the refrigerator sensor was first developed for smart phones but they quickly shifted over to fridges. And he said there's a lot of demand from their customers for using this in asset tracking as well as fridges, so that they can track the health of fruit and veg deliveries for example in containers during transit. Lots of applications that I never came close to thinking of.

 
  • Like
  • Fire
  • Love
Reactions: 31 users
Brilliant....always good when the ogre doesn't make an appearance!...😁

When you watch some of the videos with David Simpson from Renesas, he's super pumped about the potential for these sensors. In one of them he talked a little bit about how the refrigerator sensor was first developed for smart phones but they quickly shifted over to fridges. And he said there's a lot of demand from their customers for using this in asset tracking as well as fridges, so that they can track the health of fruit and veg deliveries for example in containers during transit. Lots of applications that I never came close to thinking of.

Fingers crossed.

FF

AKIDA BALLISTA
 
  • Like
  • Love
Reactions: 14 users

butcherano

Regular
PS: I wonder if the processor 122 in Fig 1B includes an M33?
hmm...yeah would be interesting to find out. I haven't seen any reference in the info that I've read so far....

Although their RE3x micoprocessor which is discussed in the video above will use an M33. Don't think this is necessarily related to the air quality sensors available now though.

Edit - on second thoughts the timing below does actually align....those are quarterly blocks, so this is saying they were expecting the RE3x to be available in Q1/Q2 of 2022?!

1656566278075.png
 
  • Like
  • Love
Reactions: 12 users

Perhaps

Regular
 
Last edited:
  • Fire
  • Like
Reactions: 3 users
hmm...yeah would be interesting to find out. I haven't seen any reference in the info that I've read so far....

Although their RE3x micoprocessor which is discussed in the video above will use an M33. Don't think this is necessarily related to the air quality sensors available now though.

Edit - on second thoughts the timing below does actually align....those are quarterly blocks, so this is saying they were expecting the RE3x to be available in Q1/Q2 of 2022?!

View attachment 10500
Congratulations Butch, Dio, FF & all the 1000 eyes contributors!

Looks like the Renesas product with the Arm M33 Cortex and embedded AI (Akida?) has been identified.

Great story of persistence and teamwork!

And an even greater stepping stone in the Brainchip journey!

From an idea by PVDM and AM; many years of hard work by him and his team; it’s all coming together!

Despite the current world events and SP; I’m watching, learning and enjoying this exciting ride!

Cheers all!
 
  • Like
  • Love
  • Fire
Reactions: 24 users

Quatrojos

Regular
 
  • Like
  • Fire
Reactions: 2 users

Quatrojos

Regular
  • Like
  • Fire
  • Love
Reactions: 20 users
D

Deleted member 118

Guest
I’ve not watched it but think you need to sign up to be able too.



39FF862C-4466-45C3-9259-DCA97F3F3A78.png
 
  • Like
Reactions: 1 users
Top Bottom