BRN Discussion Ongoing

Yoghesh

Regular
Hi Baisyet,

It looks like the writer has not delved too deeply into the workings of Akida beyond the BrainCHip marketing material, and has limited understanding of its architecture or functionality. .

A couple of things:

A. Some people reserve the term "neuromorphic" for analog neurons, whereas Akida is digital.

Akida implements the functionality of real neurons in a digital embodiment which eliminates the manufacturing reproducability problems inherent in analog implementations.

Analog neurons more closely imitate the electric function of real neurons by accumulating current from a plurality ofconnected neurons in a capacitor.

View attachment 77853

Live neurons accumulate electric charges from other neurons until a firing threshold is reached.

Bias and weight are determined by the Model (the reference database of images, words, …)

Activations are the input spikes/events.

MemRistors/ReRAM are used in other forms of analog SNNs.

The Zener diode blocks current until the input voltage across the capacitor exceeds the Zener threshold voltage.

Due to manufacturing variability, the accuracy of analog neurons causes significant errors, and any analog neuron system needs some form of error correction.

Akida is digital, not analog, so it does not have this problem.

B. Akida's "event based" NN is an enhanced spiking NN.

Akida initially operated with 1-bit weights and activations, with the single bit corresponding to a "spike". However early access programme (EAP) feedback indicated a need for greater precision, so the production version of Akida 1 was adapted to hendle 1, 2, or 4-bit activations and weights.

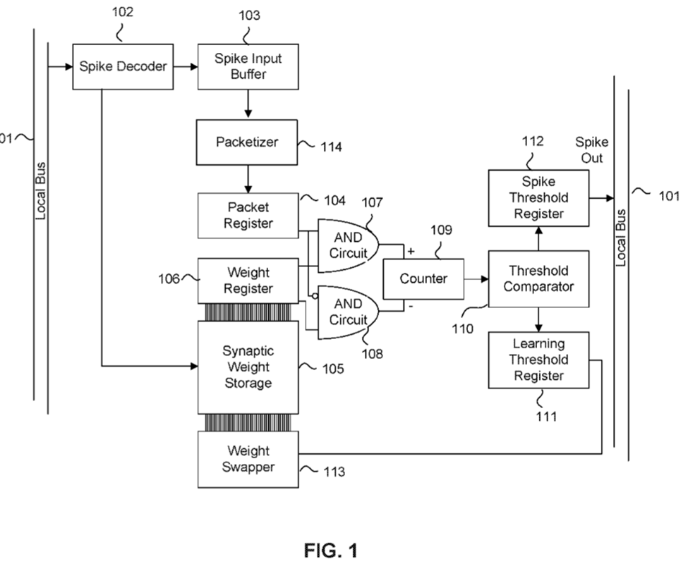
This is a patent which illustrtes Akida'sdigital neuron:

WO2020092691A1 AN IMPROVED SPIKING NEURAL NETWORK

View attachment 77855

The term "event" thus encompasses both single bit and multi-bit weights/acivations. Adding multi-bit capability has increased the versatility of Akida 1. Choosing the 1-bit mode provides both minimal latency and minimal power consumption - ideal for watchhdog/wake applications and other applications whichdo not demand high precision. The 4-bit mode provides much greater precision, at the expense of increased power consumption.

Akida 2 has further enhanced the range of applications by inluding 8-bit input activations and weights, and a 16-bit implementation has been foreshadowed.
Hi @Diogenese Thank you very much for educating much appreciated
 
  • Like
Reactions: 4 users

Yoghesh

Regular
That guy again… He had a crack at BrainChip a few months on LinkedIn. Same thing - querying whether we were neuromorphic and implying we were shysters. Tony Lewis replied from memory. Tony needs to contact him and put him straight. This guy could be doing a lot of damage if he his circulating doubt and mistruths.
Hi @JoMo68 Yes that was my thinking not a good look if he does it over and over again. He should be called in for sure.
 
  • Like
Reactions: 5 users

Frangipani

Top 20

0535ED10-BD3B-40E9-A8A5-4FFE5CF3CD6C.jpeg
 
  • Like
  • Love
  • Fire
Reactions: 39 users

IMG_0233.jpeg
 
  • Like
  • Fire
  • Love
Reactions: 16 users

CHIPS

Regular

View attachment 77877

Thomas Hülsing is just an investor like us. There is no need to post everything he likes. :rolleyes:
 
  • Like
  • Haha
  • Thinking
Reactions: 9 users

Bravo

If ARM was an arm, BRN would be its biceps💪!

Intriguingly, Ball Aerospace have an established partnership with the AFRL collaborating on various research and development projects. In 2021, Ball Aerospace, in collaboration with Booz Allen Hamilton, secured a contract under AFRL's Trusted and Elastic Military Platforms and Electronic Warfare System Technologies (TEMPEST) program. This initiative focuses on developing cybersecurity tools to bolster the resilience of Air Force weapon systems against cyberattacks.

As per @manny100's post yesterday when he said regarding the recent podcast with Sean, "when talking about the about the US AFRL contract and the unnamed defence contractor BRN is working closely with, he made it clear that this creates other opportunities for BRN".

I wonder if other opportunities or application use cases that the AFRL are looking into might be cybersecurity related?

View attachment 77816



View attachment 77819




LinkedIn post 1 month ago...

View attachment 77817



And then, there's also this...

View attachment 77821

Screenshot 2025-02-22 at 10.15.15 am.png




EXTRACT ONLY

Mimicking the human brain: neuromorphic computing​


If quantum computing is still some way off production, neuromorphic computing is closer to deployment.

Neuromorphic computing sets out to copy the processes of the human brain in a “spiking neural network”. Existing neural networks, widely used in AI, operate with a constant flow of information. Spiking neural networks, or SNNs, send data in short bursts and add timing to their operations, in a manner closer to the human brain. This makes them more efficient and potentially, more powerful.

The British defense and engineering giant BAE Systems has flagged neuromorphic computing as one of the trends to watch over the coming year.

“Neuromorphic computing will become increasingly important in 2025 and beyond, particularly as AI demands more from computing than ever before,” Rob Wythe, the company’s chief technologist, wrote in BAE’s 2025 technology predictions.

Wythe suggests that SNNs could make AI decisions more defensible, because neuromorphic systems organise themselves into patterns which are easier to understand than the “black box” approach of current AI decisions. And neuromorphic systems could find a role in AI at the edge, where access to vast systems running LLMs is not an option.

“Neuromorphic chips can provide an answer here, by delivering a low power and highly constrained weight, size, power and cost environment,” notes Wythe.

It is easy to see why this would be useful for a defence and aerospace manufacturer such as BAE, given the growing interest in AI systems for military applications such as autonomous weapons systems. But there are wider applications too.

Edge AI is highlighted as a potential use for neuromorphic computing by researchers at IBM. They see its lower power consumption as a way to put AI into devices from smart phones to drones, and in IoT hardware. IBM also sees the technology being used in autonomous vehicles, robotics, and even cybersecurity.

As Wythe hinted, neuromorphic computing could also unlock far more energy efficient computation, similar to the incredible energy efficiency of the human brain. The US National Institute of Standards and Technology (NIST) states that our brains can perform the equivalent of an exaflop using just 20W.

But, as with quantum technology, neuromorphic systems are not yet available. IBM cautions that standards, programming languages and APIs for neuromorphic systems still need to evolve.

At BAE, Wythe anticipates neuromorphic technology shipping as a hybrid architecture. Systems will have dedicated neuromorphic (or quantum) chips or cards, each playing to their own strength, rather as current systems make use of both CPUs and GPUs. Even so, it is not too soon for CIOs and CTOs to start assessing their potential.

 
  • Like
  • Fire
  • Love
Reactions: 29 users

Bravo

If ARM was an arm, BRN would be its biceps💪!
1faf2342a8280349df880009e986ab61.gif




Errr...Wow! Some interesting news here on Veritone that their AI solutions are now available on the DoD’s premiere AI procurement marketplace.

Could it be possible that we are involved in this in some way?

On 25 April 2018 BrainChip announced that it had signed an agreement with Veritone to integrate its AI-powered BrainChip Studio with the Veritone aiWARE™ platform.

In BrainChip's December 2018 Quarterly Update Report it states" the arrangement with Veritone provides BrainChip with potential revenue resulting from the frequency and duration with which Vertone's customers use the BrainChip studio tool".






Veritone Achieves “Awardable” Status on DoD’s Tradewinds Solutions Marketplace with Three AI Solutions

Veritone’s AI solutions available on the DoD’s premiere AI procurement marketplace, accelerating access to investigative tools and supporting compliance with freedom of information requirements
February 20, 2025 07:00 AM Eastern Standard Time
DENVER--(BUSINESS WIRE)--Veritone, Inc. (NASDAQ: VERI), a leader in building human-centered enterprise AI solutions, today announced that it has achieved “Awardable” status through the Chief Digital and Artificial Intelligence Office’s (CDAO) Tradewinds Solutions Marketplace. Veritone’s Illuminate, Redact and Track applications have been added to the Tradewinds Marketplace.
“Achieving ‘Awardable’ status on the Tradewinds Solutions Marketplace is a testament to Veritone’s commitment to delivering AI solutions that enhance national security, investigative workflows and intelligence operations”
Post this
The Tradewinds Solutions Marketplace is the premiere offering of Tradewinds, the Department of Defense’s suite of tools and services designed to accelerate the procurement and adoption of Artificial Intelligence (AI)/Machine Learning (ML), data and analytics capabilities from organizations including Veritone.
Veritone’s solutions now available on Tradewinds include:
Illuminate: an AI-powered investigative and analytics tool that helps organizations search, analyze and manage vast amounts of video, audio and text-based data. It aids legal, compliance and investigative teams that need to quickly process structured and unstructured data for litigation, regulatory reviews and internal investigations.
Redact: an AI-powered redaction solution that automates the redaction of sensitive information within audio, video and image-based evidence. It is widely used by law enforcement, legal teams, media organizations and government agencies to comply with privacy laws and public records requests (FOIA).
Track: an AI-powered digital video analytics tool that enables tracking of individuals and vehicles across multiple video sources at scale, offering speed and accuracy in investigative efforts without relying on personally identifiable information (PII).
"Achieving ‘Awardable’ status on the Tradewinds Solutions Marketplace is a testament to Veritone’s commitment to delivering AI solutions that enhance national security, investigative workflows and intelligence operations," said Ryan Steelberg, chairman, president and chief executive officer, Veritone. "By streamlining access to our technology, we are empowering defense and law enforcement agencies with the tools they need to rapidly analyze, manage and act on critical data with speed, accuracy and security."
Veritone Illuminate, Redact and Track are part of Veritone’s Intelligent Digital Evidence Management System (iDEMS), a comprehensive purpose-built applications suite for the public sector that leverages AI to streamline the management and analysis of digital evidence, providing customers with powerful investigatory tools to handle vast amounts of data quickly and accurately. iDEMS is built on Veritone’s aiWARE™ platform, which is deployed in FedRAMP on AWS and Microsoft Azure and can be leveraged by DoD customers within their public cloud tenant or in their secure data center. aiWARE is an AI operating system that intelligently and securely orchestrates hundreds of best-of-breed cognitive and generative models in a single solution to transform extensive volumes of unstructured data, including video and audio, into actionable insights.
The agreement marks another milestone in Veritone’s expanding role within U.S. federal civilian and defense agencies, building upon the Company’s previously announced Test and Evaluation Services Blanket Purchase Agreement with the DoD, Sole-Contractor Blanket Purchase Agreement with the Department of Justice and Carahsoft’s GSA IT Schedule 70 contract.
To learn more about Veritone’s Public Sector solutions, visit: https://www.veritone.com/solutions/public-sector/
About Veritone
Veritone (NASDAQ: VERI) builds human-centered enterprise AI solutions. Serving customers in the media, entertainment, public sector and talent acquisition industries, Veritone’s software and services empower individuals at the world’s largest and most recognizable brands to run more efficiently, accelerate decision making and increase profitability. Veritone’s leading enterprise AI platform, aiWARE™, orchestrates an ever-growing ecosystem of machine learning models, transforming data sources into actionable intelligence. By blending human expertise with AI technology, Veritone advances human potential to help organizations solve problems and achieve more than ever before, enhancing lives everywhere. To learn more, visit Veritone.com.






Screenshot 2025-02-22 at 10.21.15 am.png




Screenshot 2025-02-22 at 10.23.52 am.png




Screenshot 2025-02-22 at 10.20.07 am.png









 
Last edited:
  • Like
  • Fire
  • Love
Reactions: 68 users

Esq.111

Fascinatingly Intuitive.
Good Morning Bravo,

Love your work. 👌

Regards,
Esq.
 
  • Like
  • Love
  • Fire
Reactions: 26 users

HopalongPetrovski

I'm Spartacus!
View attachment 77846
Increase in Shorts. Possibly due to knowing the 20 million share deal with LDA..
The prickadillo's are also setting themselves up to take advantage of what is likely to be another poor result card in the soon to be released Annual report 2024, due sometime next week.
Again will be the mock shock horror at our lack of revenue followed up by a call for Sean's and the rest of the boards heads on pikes.
Then the comparisons to local coffee shops profitability and in a final indignant harrumphing will come the trenchant pleading to, at the very least, for the love of god, toss the board and sell out before the sky actually falls.
After all, the shorter's will make more money that way. 🤣

After a quick telepathic conference, Sean has authorised the unveiling of our latest space partnership, with the little known, but enthusiastic,
Thai Space Force. I wouldn't be surprised to find we have a hand in their latest triumph.....................


 
  • Haha
  • Fire
  • Like
Reactions: 15 users

rgupta

Regular

If someone can try to find this patent application of Mercedes. My sixth sense says we must be involved here or aleast it cannot be possible without neurophonics.
Dyor
 
  • Like
Reactions: 4 users
From crapper site by

FF…,
I personally would rate both Samsung and Hyundai as strong contenders:

1. Samsung because they were lending Anil Mankar their DVS Camera to prove out how AKD1000 could process on device without the need to convert their DVS event stream.

2. Hyundai because they own Boston Dynamics who provided Spot their robotic dog to Fraunhofer Research Institute to experiment with using Prophesee’s vision sensor and Brainchip’s AKD1000 to prove out that Spot could be controlled by hand gestures. I also note that Hyundai has used Fraunhofer directly over many years to undertake research on its behalf not to mention Prophesee’s partnership with Brainchip.

The above have been the subject of multiple posts here and elsewhere over the last four years.

My opinion only DYOR

Fact Finder
 
  • Like
  • Thinking
  • Fire
Reactions: 23 users

Bravo

If ARM was an arm, BRN would be its biceps💪!
Hi MD,

I've been looking into Arm's involvement in relation to 1) SoftBank's Project Izanagi, 2) OpenAI's custom AI chips, 3) the Stargate Project, and 4) Arm Holdings' chip development. Looking broadly at these projects, they are interconnected through strategic collaborations and shared objectives in advancing AI and semiconductor technologies. And Arm, in particular, is likely pivotal role in all of these initiatives IMO.

Bearing in mind, BrainChip's AKIDA processor, has been designed to integrate with Arm's product families and it actually enhances Arm's product offerings and performance in edge AI applications, it would be quite bizarre if Arm were not to eventually utilize our technology to their competitive advantage IMO.

However, given BrainChip's Akida processor is primarily designed for ultra-low-power edge AI applications and Arm's upcoming chip due for launch in 2025 is intended for high-performance data centre servers, the integration of Akida into Arm's server CPU is probably pretty unlikely at this time. But in future, you'd have to think it would be extremely likely , especially if further Arm chip designs focus more on devices and applications at the edge.

BTW, initially I thought that Arm's decision to start designing its own chips might be aligned with SoftBank's broader ambitions under Project Izanagi, but I can't find any explicit confirmation that Arm’s decision is a formal part of the Project Izanagi plan. It seems as though the aim of Project Izanagi is to pivot Softbank towards more direct technological advancements and investment in areas like AI, robotics, and semiconductor chips which will involve building infrastructure, focusing on AI-specific hardware and optimizing semiconductor designs.

1. SoftBank's Project Izanagi: Initiated in February 2024, Project Izanagi is SoftBank's ambitious venture aiming to raise up to $100 billion to develop AI processors that rival industry leaders like NVIDIA. This project seeks to leverage Arm's design expertise to create advanced AI chips, with prototype processors expected by summer 2025 and mass production targeted for 2026. Arm's involvement is crucial, as SoftBank owns a significant stake in Arm, facilitating seamless collaboration in chip design and development.

2. OpenAI's Custom AI Chips: OpenAI is developing its own AI chips in partnership with Broadcom, utilizing TSMC's 3-nanometer manufacturing technology. The goal is to finalize the chip design in the near future and commence mass production by 2026. While Arm isn't directly mentioned in this collaboration, its architecture could influence the design, given Arm's prominence in AI and data centre applications. SoftBank is a significant investor in OpenAI, but it doesn't seem to be directly involved in the development of these custom AI chips.

3. Stargate Project: Announced in early 2025, the Stargate Project is a monumental $500 billion initiative focused on building AI infrastructure across the United States. Spearheaded by SoftBank, OpenAI, Oracle, and other partners, the project plans to invest $100 billion over four years to enhance AI capabilities. Masayoshi Son, SoftBank's founder, serves as chairman. Arm's technology is integral to this project, providing the necessary chip designs for the AI infrastructure being developed.

4. Arm Holdings' Chip Development: In a strategic shift from its traditional licensing model, Arm Holdings plans to launch its own chip in 2025, with an unveiling expected as early as this summer. The new chip is anticipated to be a central processing unit (CPU) designed for servers in large data centre, aligning with the timelines of the aforementioned projects. This move positions Arm not only as a designer but also as a direct competitor in the semiconductor industry, potentially supplying chips for both Project Izanagi and the Stargate Project.


Bearing in mind, Softbank still owns 90% of Arm Holdings.

OpenAI forecasts highlight increased reliance on SoftBank, not Microsoft: report​

Feb. 21, 2025 12:11 PM ET
ChatGPT Mobile App

Kenneth Cheung
Financial forecasts from generative artificial intelligence startup OpenAI to investors have highlighted an increased reliance on Japanese tech conglomerate SoftBank (OTCPK:SFTBY), at the expense of Microsoft (NASDAQ:MSFT), The Information reported.
The startup told investors that the Stargate Project, which was announced by President Trump last month, is likely to be “heavily financed” by SoftBank, the news outlet reported. Three-quarters of the project's computing power needs would come from SoftBank by 2030, a stark contrast to present conditions, as Microsoft largely handles OpenAI's power and data center needs in the present.
OpenAI, SoftBank and Microsoft did not immediately respond to a request for comment from Seeking Alpha.
The Masayoshi Son-led SoftBank could also invest as much as $30B into OpenAI, with an additional $10B coming from co-investors, according to previous media reports.
Of that additional money, which could see OpenAI valued at $260B, roughly half will go towards Stargate. The Stargate Project is a $500B, four-year initiative to build out artificial intelligence infrastructure in the U.S., with OpenAI, SoftBank, and Oracle (ORCL) as primary partners.
Arm (ARM), Microsoft and Nvidia (NVDA) were also named as key partners in the project.
As part of the shift to SoftBank, OpenAI could slowly reduce its spending on Microsoft, though that is not expected to occur any time soon, The Information added. It is expected to spend up to $28B by 2028 on Microsoft data centers, up from $13B in 2025.
In addition, OpenAI has told investors that its revenue is expected to jump to more than $12.5B in 2025, up from $3.7B in 2024. By 2026, OpenAI's revenue could hit $28B, the news outlet added.


 
Last edited:
  • Like
  • Love
  • Wow
Reactions: 16 users

Bravo

If ARM was an arm, BRN would be its biceps💪!
View attachment 77906



Errr...Wow! Some interesting news here on Veritone that their AI solutions are now available on the DoD’s premiere AI procurement marketplace.

Could it be possible that we are involved in this in some way?

On 25 April 2018 BrainChip announced that it had signed an agreement with Veritone to integrate its AI-powered BrainChip Studio with the Veritone aiWARE™ platform.

In BrainChip's December 2018 Quarterly Update Report it states" the arrangement with Veritone provides BrainChip with potential revenue resulting from the frequency and duration with which Vertone's customers use the BrainChip studio tool".






Veritone Achieves “Awardable” Status on DoD’s Tradewinds Solutions Marketplace with Three AI Solutions

Veritone’s AI solutions available on the DoD’s premiere AI procurement marketplace, accelerating access to investigative tools and supporting compliance with freedom of information requirements
February 20, 2025 07:00 AM Eastern Standard Time
DENVER--(BUSINESS WIRE)--Veritone, Inc. (NASDAQ: VERI), a leader in building human-centered enterprise AI solutions, today announced that it has achieved “Awardable” status through the Chief Digital and Artificial Intelligence Office’s (CDAO) Tradewinds Solutions Marketplace. Veritone’s Illuminate, Redact and Track applications have been added to the Tradewinds Marketplace.

The Tradewinds Solutions Marketplace is the premiere offering of Tradewinds, the Department of Defense’s suite of tools and services designed to accelerate the procurement and adoption of Artificial Intelligence (AI)/Machine Learning (ML), data and analytics capabilities from organizations including Veritone.
Veritone’s solutions now available on Tradewinds include:
Illuminate: an AI-powered investigative and analytics tool that helps organizations search, analyze and manage vast amounts of video, audio and text-based data. It aids legal, compliance and investigative teams that need to quickly process structured and unstructured data for litigation, regulatory reviews and internal investigations.
Redact: an AI-powered redaction solution that automates the redaction of sensitive information within audio, video and image-based evidence. It is widely used by law enforcement, legal teams, media organizations and government agencies to comply with privacy laws and public records requests (FOIA).
Track: an AI-powered digital video analytics tool that enables tracking of individuals and vehicles across multiple video sources at scale, offering speed and accuracy in investigative efforts without relying on personally identifiable information (PII).
"Achieving ‘Awardable’ status on the Tradewinds Solutions Marketplace is a testament to Veritone’s commitment to delivering AI solutions that enhance national security, investigative workflows and intelligence operations," said Ryan Steelberg, chairman, president and chief executive officer, Veritone. "By streamlining access to our technology, we are empowering defense and law enforcement agencies with the tools they need to rapidly analyze, manage and act on critical data with speed, accuracy and security."
Veritone Illuminate, Redact and Track are part of Veritone’s Intelligent Digital Evidence Management System (iDEMS), a comprehensive purpose-built applications suite for the public sector that leverages AI to streamline the management and analysis of digital evidence, providing customers with powerful investigatory tools to handle vast amounts of data quickly and accurately. iDEMS is built on Veritone’s aiWARE™ platform, which is deployed in FedRAMP on AWS and Microsoft Azure and can be leveraged by DoD customers within their public cloud tenant or in their secure data center. aiWARE is an AI operating system that intelligently and securely orchestrates hundreds of best-of-breed cognitive and generative models in a single solution to transform extensive volumes of unstructured data, including video and audio, into actionable insights.
The agreement marks another milestone in Veritone’s expanding role within U.S. federal civilian and defense agencies, building upon the Company’s previously announced Test and Evaluation Services Blanket Purchase Agreement with the DoD, Sole-Contractor Blanket Purchase Agreement with the Department of Justice and Carahsoft’s GSA IT Schedule 70 contract.
To learn more about Veritone’s Public Sector solutions, visit: https://www.veritone.com/solutions/public-sector/
About Veritone
Veritone (NASDAQ: VERI) builds human-centered enterprise AI solutions. Serving customers in the media, entertainment, public sector and talent acquisition industries, Veritone’s software and services empower individuals at the world’s largest and most recognizable brands to run more efficiently, accelerate decision making and increase profitability. Veritone’s leading enterprise AI platform, aiWARE™, orchestrates an ever-growing ecosystem of machine learning models, transforming data sources into actionable intelligence. By blending human expertise with AI technology, Veritone advances human potential to help organizations solve problems and achieve more than ever before, enhancing lives everywhere. To learn more, visit Veritone.com.






View attachment 77902



View attachment 77903



View attachment 77904










Here's Ryan Steelberg, CE of Veritone, in an interview recorded 1 month ago where he states:

"So what this technology can do is, really identify in what we call "single-shot", analyse a tremendous amount of audio and video data, quickly create a database of those hits and then be able to quickly identify and make the correlations across video cameras of who these individuals are".

Obviously "single-shot" sounds very similar to "one-shot" as described in the 2018 announcement of the BrainChip Studio integration into Veritone's aiWARE platform.


EXTRACT from 2018 announcement.
Screenshot 2025-02-22 at 2.08.20 pm.png







I have set the video to start at 1.44 mins where Ryan makes the statement about single-shot.

 

Attachments

  • Screenshot 2025-02-22 at 2.05.17 pm.png
    Screenshot 2025-02-22 at 2.05.17 pm.png
    52.9 KB · Views: 96
Last edited:
  • Like
  • Love
  • Fire
Reactions: 50 users

JB49

Regular
Taiwan looking promising:
- In the interview with ITRI, Sean states "we have many engagements in Taiwan right now"
- This is reinforced by the fact there is a new Regional Sales manager role in Taiwan being advertised.
- Thomas Chang specifically mentioned the Taiwan Government has given ITRI a big boost this year. And then goes on to say they have a Venture Capital arm called ITIC who have invested over $US400 million since they began. Someone not shy to throw a bit of money at this could be exactly what we need to get this show going.
 
  • Like
  • Fire
Reactions: 17 users
Looks like our summer intern last year, posted about by @Frangipani in Nov has an extended stay as well as expanding what he's been up to.

Haven't tried to check the recent publications yet. Just a quick post.




FNU Sidharth​

ML Research @ BrainChip | Incoming CS PhD @ Univ. of Michigan, Soundability Lab | Speech and Audio Processing | UW ECE​

BrainChip University of Washington​


Machine Learning Researcher​

BrainChip

Jun 2024 - Present 9 months
Laguna Hills, California, United States
I contributed to the development of TENNs, a novel state-space model optimized for our Spiking Neural Network chip Akida, enabling efficient multimodal processing across audio, text, and vision. I helped develop aTENNuate, a real-time deep state-space speech enhancement model submitted to Interspeech 2025, and explored LoRA-based adaptation for optimizing these models. My work included refining LLM training for efficiency, designing a custom evaluation pipeline, and implementing a Triton-based GPU kernel for FFT convolution to enhance signal processing. Additionally, I developed model obfuscation techniques for secure edge inference and spearheaded a state-space-based speaker verification system for enterprise applications.

Publications​


Real-time Speech Enhancement on Raw Signals with Deep State-space Modeling

arXiv (Submitted to Interspeech 2025) September 5, 2024​


Decoding Pain: Statistical Identification of Biomarkers from Electrophysiological Signals

arXiv (accepted at AAAI 2025 Workshop on Health Intelligence) February 17, 2025​

 
  • Like
  • Fire
  • Love
Reactions: 16 users
The prickadillo's are also setting themselves up to take advantage of what is likely to be another poor result card in the soon to be released Annual report 2024, due sometime next week.
Again will be the mock shock horror at our lack of revenue followed up by a call for Sean's and the rest of the boards heads on pikes.
Then the comparisons to local coffee shops profitability and in a final indignant harrumphing will come the trenchant pleading to, at the very least, for the love of god, toss the board and sell out before the sky actually falls.
After all, the shorter's will make more money that way. 🤣

After a quick telepathic conference, Sean has authorised the unveiling of our latest space partnership, with the little known, but enthusiastic,
Thai Space Force. I wouldn't be surprised to find we have a hand in their latest triumph.....................



I’m feeling really positive that we might hit 6 figures, if not

1740200972626.gif
 
  • Haha
  • Like
  • Love
Reactions: 7 users
  • Like
Reactions: 3 users

manny100

Top 20
The annual report will be out later this as me tinned earlier.
It will not have anything we do not already know.
My main interest is the table showing 'Real remuneration".
It would be good to see Both Sean and Tony V take 80% plus in equity again For salary. I am tipping that for Sean at least and close to if not more for Tony V.
 
  • Like
Reactions: 3 users
Top Bottom