BRN Discussion Ongoing

The Top 20 holders, have 750 to 800 million shares, with over 1 billion of the 1.8 billion odd shares on issue, owned by the Top 200.

Take out the traders/trading and the borrowed shares used to manipulate the share price and I don't think there is really "that" much liquidity in this stock.

The borrowed shares, which amount to around 60 to 70 million units (or around 3.5%) isn't a "huge" amount and there is plenty of room for more (the highest we've seen, is around 140 million shorts, or ~7%).

I think it's going to be real interesting, to see how this year finishes out and the New one begins.


Shorters aren't anywhere near in trouble, but they did "fumble" the ball, in early trade, last session, got control back a bit and then totally lost it, into the closing stanza, with walls falling like dominoes.


Regardless of how much BrainChip is actually "making" right now, confidence in the Company's Future success is growing.

This is translating into strong demand for BRN shares.

The "natural" supply is already not meeting demand, so really, with increased demand, "walls" of substantial quantities, in an environment of relatively low supply, are going to look incredibly attractive, to those wanting to accumulate decent holdings.


On a Worldwide institutional/serious investor stage, there is in all practicality no supply, other than the large parcels being thrown around by shorters.

We are obviously not "there" yet, in that respect, but we're definitely getting closer.


The reality of BrainChip closing an undeniably significant IP deal, in the first part of the New Year, is looking a lot less like a fantasy and a lot more like a certainty now.

BrainChip doesn't "need" to be profitable straight away, or "overnight" to be valued and trade consistently, at multiples of the current share price.
But it does need to show the market, a Big IP deal, or 2 with Companies that people have heard of.

Supply and demand, will do the rest.

It's no accident, that BrainChip is already constantly mentioned, alongside such well known Company's, as Intel and IBM.


I believe real success for BrainChip and the AKIDA/TENNs hardware/software suite of products, is just around the corner, but let's see 😉
 
Last edited:
  • Like
  • Love
  • Fire
Reactions: 120 users
Video posted 7 days ago by Bascom Hunter which refers to neuromorphic computing, which also mentions BHTech being the division responsible for "neuromorphic processors".

I took a look at the past history on TSEx and @uiux had mentioned BHTech (Bascom Hunter Technologies) having been awarded a Phase 2 Navy SBIR award for BHTech’s proposal on implementing neural network algorithms on neuromorphic processors all the way back in March 2022, with thanks to @Quatrojos for that discovery.

Weirdly it was the very first post on TSEx.

I guess this proves how long the process takes and how patience is key here.

I linked the video to start close to the point it mentions BHTech and neuromorphic processors.



https://bascomhunter.com/products-services/bh-tech/digital-products/neuromorphic-processors/?msclkid=9b8eb1fa672c1b330741d69db107251e&utm_source=bing&utm_medium=cpc&utm_campaign=**LP DSA - All Pages&utm_term=bascomhunter&utm_content=All Pages

Bascom Hunter

SC
 
  • Like
  • Fire
  • Love
Reactions: 26 users

TECH

Top 20
The Top 20 holders, have 750 to 800 million shares, with over 1 billion of the 1.8 billion odd shares on issue, owned by the Top 200.

Take out the traders/trading and the borrowed shares used to manipulate the share price and I don't think there is really "that" much liquidity in this stock.

The borrowed shares, which amount to around 60 to 70 million units (or around 3.5%) isn't a "huge" amount and there is plenty of room for more (the highest we've seen, is around 140 million shorts, or ~7%).

I think it's going to be real interesting, to see how this year finishes out and the New one begins.


Shorters aren't anywhere near in trouble, but they did "fumble" the ball, in early trade, last session, got control back a bit and then totally lost it, into the closing stanza, with walls falling like dominoes.


Regardless of how much BrainChip is actually "making" right now, confidence in the Company's Future success is growing.

This is translating into strong demand for BRN shares.

The "natural" supply is already not meeting demand, so really, with increased demand, "walls" of substantial quantities, in an environment of relatively low supply, are going to look incredibly attractive, to those wanting to accumulate decent holdings.


On a Worldwide institutional/serious investor stage, there is in all practicality no supply, other than the large parcels being thrown around by shorters.

We are obviously not "there" yet, in that respect, but we're definitely getting closer.


The reality of BrainChip closing an undeniably significant IP deal, in the first part of the New Year, is looking a lot less like a fantasy and a lot more like a certainty now.

BrainChip doesn't "need" to be profitable straight away, or "overnight" to be valued and trade consistently, at multiples of the current share price.
But it does need to show the market, a Big IP deal, or 2 with Companies that people have heard of.

Supply and demand, will do the rest.

It's no accident, that BrainChip is already constantly mentioned, alongside such well known Company's, as Intel and IBM.


I believe real success for BrainChip and the AKIDA/TENNs hardware/software suite of products, is just around the corner, but let's see 😉

Good morning All,

Great worded post Dingo !

OK, on Christmas Eve and on Christmas Day I received 3 return emails from Peter, Anil and Tony.

I can reconfirm that the Podcast has been recorded and it's been approved for release "soon".

"we too are looking forward to a successful 2025"

And, great news, Anil says he feels very proud of what has been achieved so far, and he will always be available
for any advice and help Brainchip needs for it's continued success.

It can't get anymore positive than that from our two Founders, my personal review in the month of January 2025 is
quietly becoming easier and easier, things are bubbling away very nicely, after listening to a podcast a few nights ago
about semiconductor product cycles it was mentioned numerous times that the norm was 4/5 years.

That timeline has been an awakening for all shareholders (apart from traders) and our very own management team, though
the team Sean has put in place now probably were well aware of that in my opinion anyway.

Have a relaxing Boxing Day back in Australia........cheers for now............Tech.
 
  • Like
  • Love
  • Fire
Reactions: 99 users
Good morning All,

Great worded post Dingo !

OK, on Christmas Eve and on Christmas Day I received 3 return emails from Peter, Anil and Tony.

I can reconfirm that the Podcast has been recorded and it's been approved for release "soon".

"we too are looking forward to a successful 2025"

And, great news, Anil says he feels very proud of what has been achieved so far, and he will always be available
for any advice and help Brainchip needs for it's continued success.

It can't get anymore positive than that from our two Founders, my personal review in the month of January 2025 is
quietly becoming easier and easier, things are bubbling away very nicely, after listening to a podcast a few nights ago
about semiconductor product cycles it was mentioned numerous times that the norm was 4/5 years.

That timeline has been an awakening for all shareholders (apart from traders) and our very own management team, though
the team Sean has put in place now probably were well aware of that in my opinion anyway.

Have a relaxing Boxing Day back in Australia........cheers for now............Tech.
On my way to the long white cloud
Waiheke island infact
I too am feeling incredibly grateful that I am
1 a long time holder
2 have a good accumulation of shares
And with the amount of positive information that is being published publicly everyone should know that they are in safe hands.
 
  • Like
  • Fire
  • Love
Reactions: 38 users

Tothemoon24

Top 20
Ching


IMG_0239.jpeg
 
  • Like
  • Wow
  • Thinking
Reactions: 28 users

Bravo

Meow Meow 🐾
Howdy All,

I was reading this article published 17 December (see below) about Eutelsat having ordered 100 broadband satellites from Airbus Defence and Space to replenishing its OneWeb low Earth orbit (LEO) constellation. The first batches of satellites are due to be completed before the end of 2026.

This caused me to ruminate on the possibility of our technology being incorporated into these new satellites. And it led me to wonder whether the work EDGX are involved in could also possibly be linked in some way to this????

Certainly some interesting partnerships in the low-Earth orbit (LEO) satellite space, some of which overlap.
  • In August BrainChip signed two agreements totalling €190,000 with Frontgrade Gaisler and Airbus Defence and Space. These partnerships aim to leverage Akida technology in space applications, in line with a European Space Agency initiative to develop ultra-low-power AI for future space missions.
  • There is an existing partnership between the European Space Agency (ESA) and Eutelsat ,who have merged with OneWeb.
  • A few months ago Nandan Nyampally liked a Linkedin Post from Relativity Space announcing a Launch Services Agreement between OneWeb and Relativity Space. Relativity Space also work closely with NASA.
  • Softbank and OneWeb signed a partnership agreement in 2023 to work toward deploying a low-Earth orbit (LEO) satellite network and competing with rivals like SpaceX's Starlink and Amazon's Project Kuiper.
  • EDGX signed its first contract with the European Space Agency in January 2024. They are also working on an onboard neuromorphic AI data processing unit designed for smallsats through the European Space Agency (ESA)
  • In October 2023 BrainChip and EDGX announced a collaborative agreement to develop data processing units for very demanding environments.




Screenshot 2024-07-09 at 10.57.19 am.png


Screenshot 2024-12-26 at 11.19.11 am.png




 
  • Like
  • Love
  • Fire
Reactions: 67 users
On my way to the long white cloud
Waiheke island infact
I too am feeling incredibly grateful that I am
1 a long time holder
2 have a good accumulation of shares
And with the amount of positive information that is being published publicly everyone should know that they are in safe hands.
Ps.
I would like to personally thank 🧠 🍟
For giving me double green on my portfolio for Christmas 🎄 what a present
Well done BrainChip
 
  • Like
  • Fire
  • Love
Reactions: 18 users
Did a quick search on Sounak and couldn't find this particular post but maybe I missed it.

Anyway, all pretty positive and some good comments to the post too.





Sounak Dey
Senior Scientist, Neuromorphic Computing and Spiking Neural Network, TCS Research
3w Edited

Sometimes back, our work focus was on the use case of "In-car Driver Drowsiness Detection". We did the usual tasks of designing a Spiking Neural Network (SNN) and then deploying it on BrainChip Akida 1000 neuromorphic board. The model has achieved upto 92% accuracy on four classes. Energy consumption is only 16.2 mJ/frame and latency is 46.5 ms/frame. So far, "Nice to have" stuffs, right? Results meet the expectation from Neuromorphic computing systems...and they perfectly align with requirements of battery driven cars. Then came the twist : We thought to train the model with three classes, deploy it and make it learn one new class on-chip. Found that the accuracy drops by 7% only. Wow !! Let's go harder. Trained the model with two classes only and let it learn rest two classes on-chip. This time, accuracy drops by max 21%. Obviously this needs to be investigated further and across different types of data. We are on it. However, this essentially opens up avenues for post deployment customization and personalization of SNN models at edge which is kinda great. And excellent to have for end customers. 😇 Meanwhile the work done so far has somehow been accepted at #ICPR 2024, Kolkata 😀 and my colleague Ajoy Dey will be presenting this there. Special thanks to Chetan Kadway for his significant contributions in shaping this work. Arijit Mukherjee Arpan Pal Alf Kuchenbuch Gilles Bézard Tata Consultancy Services - Research
  • No alternative text description for this image


Kaustab Pal
Sr. Engineer @ Qualcomm
3w

Very interesting. Will on-chip learning for longer duration have any significant effect on accuracy?
Like
Reply
1 Reaction

Laurent Hili

3w

Indeed very promising avenues for edge training. Looking forward for further posts on the same topic 😉
Like
Reply
4 Reactions

Soubhagya Paul
Student at Heritage Institute of Technology (MCA)
2w

I explored it a little bit it's totally worth it .
Like
Reply

Chetan Kadway
Data Scientist | ML Researcher | Computer Vision | Automotive | SpaceTech | Edge AI | Neuromorphic Computing | Azure ML | ML-Ops
3w

Thanks Sounak Dey & BrainChip team. It was a fun quick hypothesis to explore. I highly appreciate Ajoy Dey for conducting all the experiments. He learned & contributed very quickly.
 
  • Like
  • Fire
  • Love
Reactions: 31 users
Hi Dio,

If this is in your wheelhouse, could you give us a run-down on how we could possibly fit into these photonic neural networks? Previously when I saw mention of photonics I usually disregarded and moved on. Just wondering I'd we ould be a co processor to this?
SC
 
  • Like
Reactions: 6 users

Diogenese

Top 20
Hi Dio,

If this is in your wheelhouse, could you give us a run-down on how we could possibly fit into these photonic neural networks? Previously when I saw mention of photonics I usually disregarded and moved on. Just wondering I'd we ould be a co processor to this?
SC
Hi SC,

BH's photonic processor uses analog. I guess that means that at some stage they add a lot of light signals to produce a proprtional electrical signal, so they will need to overcome the manufacturing variations. I don't know about manufacturing variations (MV) in the optical realm (getting each LED to produce the same amount of light output for the same number of photons in the input), but the analog electrical section will still suffer from the MVs.

BH do use MACs, but in the optical realm.

https://bascomhunter.com/products-services/bh-tech/digital-products/neuromorphic-processors/?msclkid=9b8eb1fa672c1b330741d69db107251e&utm_source=bing&utm_medium=cpc&utm_campaign=**LP DSA - All Pages&utm_term=bascomhunter&utm_content=All Pages

Our nation’s most demanding applications require performance and accuracy at the speed of light. Missions like Automatic Target Recognition (ATR), Hypersonic Vehicle Detection, and Autonomous Navigation all require real-time processing and inferencing on countless high bandwidth multi-phenomena sensors in parallel, rendering modern Machine Learning (ML) processors like CPUs, TPUs, and GPUs inert. Bascom Hunter specializes in leveraging Silicon Photonics to offload the most compute-intensive tasks in ML, like Matrix Vector Multiplication (MVM). By leveraging analog optical processing, our processors avoid the classic electronic bottlenecks to achieve classification latencies as low as 200 picoseconds; translating to 0.16 Terra Multiply-Accumulate operations per second.


Bascomb Hunter Photonic NN

US2021406668A1 Integrated Neuromorphic Computing System 20200629

1735210172761.png



1735210211117.png
A hybrid neuromorphic computing device is provided, in which artificial neurons include light-emitting devices that provide weighted sums of inputs as light output. The output is detected by a photodetector and converted to an electrical output. Each neuron may receive output from one or more other neurons as initial input. Interconnects between neurons may be optical, electrical, or a combination thereof. The neurons also may provide imaging sensor and/or display capabilities.


BH have been working with photonics for over 14 years:

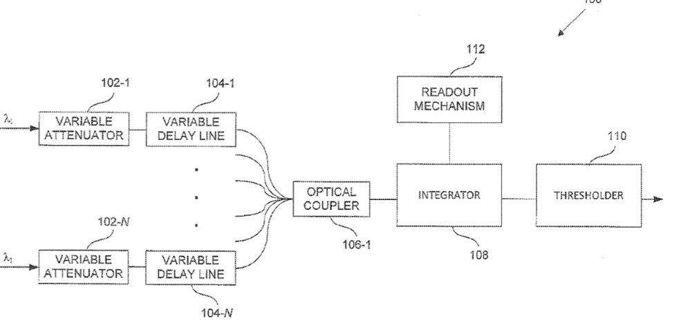
US2012033966A1 OPTICAL LEAKY INTEGRATE-AND-FIRE NEURON 20100916

1735210443886.png



An optical system includes an optical integrator, a readout mechanism, and an optical thresholder. The optical integrator is configured to perform temporal integration of an optical input signal having a first wavelength received at an input. The readout mechanism is coupled to the optical integrator and provides optical signals having a second wavelength to the optical integrator for measuring a state of the optical integrator. The optical thresholder is coupled to an output of the optical integrator and is configured to receive a signal representing a temporal integration of the optical input signal from the optical integrator and produce an optical signal identifying if an amplitude of the signal representing the temporal integration of the optical input signal is above or below a threshold value.


In my view, , using photonics for Akida would involve a ground-up redesign.
 
Last edited:
  • Like
  • Fire
  • Love
Reactions: 28 users
Hi SC,

BH's photonic processor uses analog. I guess that means that at some stage they add a lot of light signals to produce a proprtional electrical signal, so they will need to overcome the manufacturing variations. I don't know about manufacturing variations (MV) in the optical realm (getting each LED to produce the same amount of light output for the same number of photons in the input), but the analog electrical section will still suffer from the MVs.

BH do use MACs, but in the optical realm.

https://bascomhunter.com/products-services/bh-tech/digital-products/neuromorphic-processors/?msclkid=9b8eb1fa672c1b330741d69db107251e&utm_source=bing&utm_medium=cpc&utm_campaign=**LP DSA - All Pages&utm_term=bascomhunter&utm_content=All Pages

Our nation’s most demanding applications require performance and accuracy at the speed of light. Missions like Automatic Target Recognition (ATR), Hypersonic Vehicle Detection, and Autonomous Navigation all require real-time processing and inferencing on countless high bandwidth multi-phenomena sensors in parallel, rendering modern Machine Learning (ML) processors like CPUs, TPUs, and GPUs inert. Bascom Hunter specializes in leveraging Silicon Photonics to offload the most compute-intensive tasks in ML, like Matrix Vector Multiplication (MVM). By leveraging analog optical processing, our processors avoid the classic electronic bottlenecks to achieve classification latencies as low as 200 picoseconds; translating to 0.16 Terra Multiply-Accumulate operations per second.


Bascomb Hunter Photonic NN

US2021406668A1 Integrated Neuromorphic Computing System 20200629

View attachment 74755


View attachment 74756 A hybrid neuromorphic computing device is provided, in which artificial neurons include light-emitting devices that provide weighted sums of inputs as light output. The output is detected by a photodetector and converted to an electrical output. Each neuron may receive output from one or more other neurons as initial input. Interconnects between neurons may be optical, electrical, or a combination thereof. The neurons also may provide imaging sensor and/or display capabilities.


BH have been working with photonics for over 14 years:

US2012033966A1 OPTICAL LEAKY INTEGRATE-AND-FIRE NEURON 20100916

View attachment 74757


An optical system includes an optical integrator, a readout mechanism, and an optical thresholder. The optical integrator is configured to perform temporal integration of an optical input signal having a first wavelength received at an input. The readout mechanism is coupled to the optical integrator and provides optical signals having a second wavelength to the optical integrator for measuring a state of the optical integrator. The optical thresholder is coupled to an output of the optical integrator and is configured to receive a signal representing a temporal integration of the optical input signal from the optical integrator and produce an optical signal identifying if an amplitude of the signal representing the temporal integration of the optical input signal is above or below a threshold value.


In my view, , using photonics for Akida would involve a ground-up redesign.
Thanks mate. Appreciate your time.

SC
 
  • Like
Reactions: 11 users

Attachments

  • 3U-VPX-SNAP-Card-Brochure-11252024.pdf
    556.1 KB · Views: 252
  • Like
  • Love
  • Fire
Reactions: 39 users

Shadow59

Regular
Morningstar have conceded us a few more cents for the end of the year🤣🤣🤣
brn dec.JPG
 
  • Haha
  • Like
Reactions: 21 users
Looks like a very strong opening.

Shut up Larry...
 
  • Haha
  • Like
  • Fire
Reactions: 11 users

Shadow59

Regular
33.5 and no gap!!! at open! Now it can run!
 
  • Like
  • Fire
Reactions: 13 users

buena suerte :-)

BOB Bank of Brainchip
Last edited:
  • Fire
  • Like
  • Wow
Reactions: 14 users

TheDrooben

Pretty Pretty Pretty Pretty Good
  • Haha
  • Like
  • Fire
Reactions: 10 users
D

Deleted member 3781

Guest
Hope you all had a nice Christmas time!


and now back to business!
BOOOOOOOOM
 
  • Like
  • Fire
  • Haha
Reactions: 13 users
Very very strong buying.

We still don't know the catalyst..
 
  • Like
Reactions: 4 users
Top Bottom