BRN Discussion Ongoing

Diogenese

Top 20
This is how they've been progressing apparently!


View attachment 73639

Hi Bravo,

BH started out as a Princeton spinoff developing photonic NNs

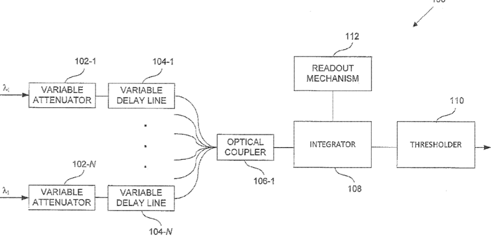
US2012033966A1 OPTICAL LEAKY INTEGRATE-AND-FIRE NEURON 20100916

1733052275494.png


An optical system includes an optical integrator, a readout mechanism, and an optical thresholder. The optical integrator is configured to perform temporal integration of an optical input signal having a first wavelength received at an input. The readout mechanism is coupled to the optical integrator and provides optical signals having a second wavelength to the optical integrator for measuring a state of the optical integrator. The optical thresholder is coupled to an output of the optical integrator and is configured to receive a signal representing a temporal integration of the optical input signal from the optical integrator and produce an optical signal identifying if an amplitude of the signal representing the temporal integration of the optical input signal is above or below a threshold value.

They still develop photonic NNs:
US2021406668A1 Integrated Neuromorphic Computing System 20200629

1733052729722.png


A hybrid neuromorphic computing device is provided, in which artificial neurons include light-emitting devices that provide weighted sums of inputs as light output. The output is detected by a photodetector and converted to an electrical output. Each neuron may receive output from one or more other neurons as initial input. Interconnects between neurons may be optical, electrical, or a combination thereof. The neurons also may provide imaging sensor and/or display capabilities.

So it's very affirmative to see they are producing a board with five Akida 1000s. That's a very powerful NN array. I guess, as well as the functions listed, that it also provides a degree of redundancy.

The board is military hardened. That would cover EM radiation and nuclear explosion radiation.
 
  • Like
  • Fire
  • Love
Reactions: 40 users

Bravo

If ARM was an arm, BRN would be its biceps💪!
Hi Bravo,

BH started out as a Princeton spinoff developing photonic NNs

US2012033966A1 OPTICAL LEAKY INTEGRATE-AND-FIRE NEURON 20100916

View attachment 73640

An optical system includes an optical integrator, a readout mechanism, and an optical thresholder. The optical integrator is configured to perform temporal integration of an optical input signal having a first wavelength received at an input. The readout mechanism is coupled to the optical integrator and provides optical signals having a second wavelength to the optical integrator for measuring a state of the optical integrator. The optical thresholder is coupled to an output of the optical integrator and is configured to receive a signal representing a temporal integration of the optical input signal from the optical integrator and produce an optical signal identifying if an amplitude of the signal representing the temporal integration of the optical input signal is above or below a threshold value.

They still develop photonic NNs:
US2021406668A1 Integrated Neuromorphic Computing System 20200629

View attachment 73641

A hybrid neuromorphic computing device is provided, in which artificial neurons include light-emitting devices that provide weighted sums of inputs as light output. The output is detected by a photodetector and converted to an electrical output. Each neuron may receive output from one or more other neurons as initial input. Interconnects between neurons may be optical, electrical, or a combination thereof. The neurons also may provide imaging sensor and/or display capabilities.

So it's very affirmative to see they are producing a board with five Akida 1000s. That's a very powerful NN array. I guess, as well as the functions listed, that it also provides a degree of redundancy.

The board is military hardened. That would cover EM radiation and nuclear explosion radiation.

Hi Diogenese,

To secure partnerships with NASA, ESA, Airbus, Bascom Hunter, etc. the technology must be exceptional! The fact that it is military and space-hardened should serve as a major confidence booster for all shareholders. Considering that renowned, world-class companies such as these are endorsing BrainChip's technology speaks volumes and should inspire total confidence IMO.

Historically, innovations in space and defense technology often transition to automotive and consumer electronics on Earth.

B x
 
  • Like
  • Love
  • Fire
Reactions: 69 users

Ethinvestor

Regular
Anybody seen this?… or any comments?..
 
  • Thinking
  • Like
Reactions: 2 users

FiveBucks

Regular
I can’t help it if some people haven’t managed to get anything going and are now putting everything on one card… Like I said, if it shoots up, I’ll be happy for you and for me… . If not, then it just wasn’t meant to be. I don’t see what the problem is. And again.. we can not change anything anyway
You really rub people up the wrong way with comments like this.
 
  • Like
  • Fire
Reactions: 10 users

FiveBucks

Regular
Anybody seen this?… or any comments?..

TL;DR: NVIDIA is supplying Blackwell AI GPUs to Indian companies, including Reliance Industries, to build a new AI supercomputer in India. Jensen Huang and Mukesh Ambani announced plans for a 1 GWh data center in Gujarat, with India poised to become an AI exporter due to its chip design capabilities and large population

Read more: https://www.tweaktown.com/news/1013...d-by-nvidias-new-blackwell-ai-gpus/index.html
 
  • Like
Reactions: 4 users

Bravo

If ARM was an arm, BRN would be its biceps💪!
I noticed an article in the Sydney Morning Herald today describing the environmental impacts of generative AI.



Extract

Screenshot 2024-12-02 at 9.17.39 am.png




The article outlines views expressed by Professor Kate Crawford, who was recently named on Time magazine’s list of the 100 most influential people in AI. She spoke before a lecture this week at Victoria’s State Library about the environmental, political and social impacts of generative AI where she said "I think personally the No.1 priority for the sector should be sustainability. Not the AI race.”

This mirrors the views of Faith Taylor, the executive in charge of sustainability for Kyndryl, the world’s largest IT services provider.


Extract
Screenshot 2024-12-02 at 9.15.14 am.png



I reckon it would be a great idea for someone from BrainChip HQ to contact both Professor Kate Crawford and Faith Taylor to describe the sustainability benefits of BrainChip's technology with them. Both of these women are hugely influential and their endorsement of what we are trying to achieve would be a phenomenal promotional vehicle.


 
  • Like
  • Love
  • Fire
Reactions: 33 users

TECH

Regular
I noticed an article in the Sydney Morning Herald today describing the environmental impacts of generative AI.



Extract

View attachment 73653



The article outlines views expressed by Professor Kate Crawford, who was recently named on Time magazine’s list of the 100 most influential people in AI. She spoke before a lecture this week at Victoria’s State Library about the environmental, political and social impacts of generative AI where she said "I think personally the No.1 priority for the sector should be sustainability. Not the AI race.”

This mirrors the views of Faith Taylor, the executive in charge of sustainability for Kyndryl, the world’s largest IT services provider.


Extract
View attachment 73652


I reckon it would be a great idea for someone from BrainChip HQ to contact both Professor Kate Crawford and Faith Taylor to describe the sustainability benefits of BrainChip's technology with them. Both of these women are hugely influential and their endorsement of what we are trying to achieve would be a phenomenal promotional vehicle.



May I suggest that you contact Tony as I 100% agree with you, we need to engage a lot more from within our own country, the best people
who are based here, would be either Adam or Pia....they both have numerous contacts within the right sectors, in my sole opinion of course.

Why not pump our own company ? we have the technology to deliver major improvements for all !

"Beneficial AI" and "Essential AI" that really sums up what you have suggested Bravo.

Cheers.....Tech (y):coffee:
 
  • Like
  • Fire
  • Love
Reactions: 45 users

Bravo

If ARM was an arm, BRN would be its biceps💪!
May I suggest that you contact Tony as I 100% agree with you, we need to engage a lot more from within our own country, the best people
who are based here, would be either Adam or Pia....they both have numerous contacts within the right sectors, in my sole opinion of course.

Why not pump our own company ? we have the technology to deliver major improvements for all !

"Beneficial AI" and "Essential AI" that really sums up what you have suggested Bravo.

Cheers.....Tech (y):coffee:


Done!
 
  • Like
  • Love
  • Fire
Reactions: 31 users

Taproot

Regular
  • Like
  • Fire
  • Love
Reactions: 27 users

Bravo

If ARM was an arm, BRN would be its biceps💪!
What's interesting is that this Bascom SBIR (July 2023) has the same tracking number (N202-099) as a Blue Ridge Envisioneering SBIR as posted by Fact Finder in Feb 2024.

Parsons Defense and Intelligence Business Unit has only recently been acquired BlackSignal/Blue Ridge Envisioneering.

Perhaps I shouldn't keep digging any further.


hiding-away-scared.gif




Screenshot 2024-12-02 at 11.26.43 am.png

Screenshot 2024-12-02 at 11.27.17 am.png



Screenshot 2024-12-02 at 11.37.48 am.png



 
Last edited:
  • Like
  • Fire
  • Love
Reactions: 38 users

Bravo

If ARM was an arm, BRN would be its biceps💪!
I wonder whose GPU they're referring to here?

BrainChip's Akida 1000 (x5) is "300x more. efficient than GPU".


Screenshot 2024-12-02 at 11.51.23 am.png
 
Last edited:
  • Like
  • Fire
  • Love
Reactions: 35 users

Townyj

Ermahgerd
I wonder who's GPU they're referring to here?

BrainChip's Akida 1000 (x5) is "300x more. efficient than GPU".


View attachment 73658

Considering the main two GPU companies are NVIDIA and AMD... Would more than likely go with NVIDIA, in my slight opinion. ;)
 
  • Like
  • Fire
Reactions: 8 users

Bravo

If ARM was an arm, BRN would be its biceps💪!
Considering the main two GPU companies are NVIDIA and AMD... Would more than likely go with NVIDIA, in my slight opinion. ;)


Sir, would you like this ridiculously expensive power guzzling GPU or would you prefer BrainChip's highly efficient AKIDA?🤣😂🤣


many-choices-cant-decide.gif
 
  • Haha
  • Like
  • Wow
Reactions: 16 users
@7für7 should have sold all my BRN for more XRP congrats on holding for a long time like me. ATH incoming.

1733102563475.gif
 
  • Haha
  • Like
  • Fire
Reactions: 6 users

Diogenese

Top 20
Sir, would you like this ridiculously expensive power guzzling GPU or would you prefer BrainChip's highly efficient AKIDA?🤣😂🤣


View attachment 73659
My daily exercise routine.
 
  • Haha
  • Like
  • Love
Reactions: 9 users

TECH

Regular
Considering the main two GPU companies are NVIDIA and AMD... Would more than likely go with NVIDIA, in my slight opinion. ;)

A number of interesting deductions can be arrived at, first off, I and many others must be quietly thinking, "Isn't AKD 1000 doing us
all proud" I fully understand what Sean was implying when he said that AKD 1000 was too narrow in it's offering, and to really put a
stamp on our leadership in this Edge AI space we had to keep driving forward with more iterations and fast, which the Brainchip team
has delivered in spades, and is still doing so, both Peter and Anil were under the pump to get AKD II over the line and nearly had to be
wheelchaired out of Sean's office from exhaustion (joke) :ROFLMAO:

Second point, what company would choose to go with technology that was 300x worse off, and I'm obviously referring to Jensen
and his mob.

Final deduction, as I have for years suggested IF a suitor appeared on the horizon, my pick would be Jensen, but because of his
stubbornness not to make an honest play for us, say in the $20 USD + range, our market price (despite what the share price indicates)
will be steadily rising over the coming years.

The above is a mixture of fact and tongue n' cheek.

Tech (y)
 
  • Like
  • Thinking
  • Fire
Reactions: 22 users

Guzzi62

Regular
I can’t help it if some people haven’t managed to get anything going and are now putting everything on one card… Like I said, if it shoots up, I’ll be happy for you and for me… . If not, then it just wasn’t meant to be. I don’t see what the problem is. And again.. we can not change anything anyway
You just can't keep your mouth shut, huh!!

Did I write anything about putting everything on one card??

You are speaking like the wise older looking down at his flock, arrogant as hell!

It's about age and how long time it's been taking so far, and I bet you, I am not the only one felling this way.

Just for your info, I got other investments, thank you very much.
 
  • Like
  • Fire
  • Love
Reactions: 14 users

AKM

Emerged
A number of interesting deductions can be arrived at, first off, I and many others must be quietly thinking, "Isn't AKD 1000 doing us
all proud" I fully understand what Sean was implying when he said that AKD 1000 was too narrow in it's offering, and to really put a
stamp on our leadership in this Edge AI space we had to keep driving forward with more iterations and fast, which the Brainchip team
has delivered in spades, and is still doing so, both Peter and Anil were under the pump to get AKD II over the line and nearly had to be
wheelchaired out of Sean's office from exhaustion (joke) :ROFLMAO:

Second point, what company would choose to go with technology that was 300x worse off, and I'm obviously referring to Jensen
and his mob.

Final deduction, as I have for years suggested IF a suitor appeared on the horizon, my pick would be Jensen, but because of his
stubbornness not to make an honest play for us, say in the $20 USD + range, our market price (despite what the share price indicates)
will be steadily rising over the coming years.

The above is a mixture of fact and tongue n' cheek.

Tech (y)
Can someone explain this decision please?
 

Tothemoon24

Top 20

Mobile AI Features Evolve: Training LLM Models Directly on Smartphones​

Article By : Anthea Chuang, EE Times Taiwan​

AI-Smartphone.jpg

MediaTek's Dimensity 9400 chipset enhances smartphones with advanced Edge AI, immersive gaming, and superior imaging, while offering improved energy efficiency and performance for a smarter mobile experience...
What if users could train Large Language Models (LLMs) directly on their smartphones, incorporating their personal characteristics? Could this spark a new “golden age” for smartphones, more than a decade after their initial debut?

The shift of artificial intelligence (AI) from cloud systems to edge devices has accelerated the growth of Edge AI. The arrival of generative AI models like ChatGPT and LLMs has ignited a wave of new AI-powered applications. However, the same challenges persist: edge devices, including smartphones and PCs, are working to overcome issues related to computing power and energy consumption, enabling LLMs to function efficiently on mobile devices.

Since AI-powered PCs made their debut, smartphones with integrated AI features have increasingly captured consumer interest. But is simply supporting LLMs on smartphones enough to meet user expectations? Could the ability to train LLMs directly on phones—embedding them with individual traits—usher in a new era for smartphones, similar to the one that followed their first release over ten years ago?

Gallium Nitride (GaN) Power Solutions
MediaTek has unveiled its next-generation Dimensity 9400 flagship chipset, designed to enhance AI experiences on smartphones by improving both performance and efficiency. JC Hsu, Senior Vice President of MediaTek, explained that the Dimensity 9400 uses a second-generation big-core architecture, combining an Arm v9.2 CPU, GPU, and NPU. The chipset is purpose-built for Edge AI, immersive gaming, and superior imaging, positioning it as a 5G Agentic AI flagship product.

Energy Efficiency and Performance​

Built on TSMC’s second-generation 3nm process, the Dimensity 9400 delivers 40% lower power consumption compared to its predecessor. Hsu detailed that the second-generation big-core CPU architecture integrates one Arm Cortex-X925 core running at up to 3.62GHz, three Cortex-X4 cores, and four Cortex-A720 cores. This results in a 35% increase in single-core performance and a 28% increase in multi-core performance over the Dimensity 9300. Additionally, the chipset includes MediaTek’s 8th-generation AI processor (NPU 890) and the Dimensity Agentic AI engine. The NPU supports device-side LoRA training and the generation of high-quality images, enabling the Dimensity 9300 to enhance generative AI performance and provide developers with Agentic AI capabilities. This allows AI applications to evolve into autonomous, reasoning-driven, and action-oriented experiences.

These advanced features enable users to train AI models directly on their smartphones. Agentic AI applications learn from user habits, proactively suggesting responses and improving overall user experiences. To further develop a rich AI ecosystem, Hsu emphasized MediaTek’s collaboration with developers to create a unified interface for connecting AI agents, third-party apps, and models. This initiative streamlines AI operations between edge devices and cloud services, while reducing product development cycles.

20241106NT31P1.jpg


MediaTek Dimensity 9400 chipset delivers innovative Edge AI, immersive gaming, and exceptional imaging experiences for users.
(Source: MediaTek)


Enhanced Edge AI and More​

Beyond enhancing Edge AI, the Dimensity 9400 also offers significant upgrades in gaming, photography, and wireless connectivity. Hsu highlighted the integration of a 12-core Arm Immortalis-G925 GPU and a PC-grade Dimensity OMM ray-tracing engine, delivering an immersive gaming experience with realistic lighting effects. The flagship ISP, Imagiq 1090, supports full-range HDR, enabling smooth zooming and clear tracking of moving subjects. For wireless communication, the chipset’s 5G modem, based on 3GPP Release 17, supports dual SIM and dual data functionalities. Its 4nm Wi-Fi/Bluetooth combo chip boosts Wi-Fi 7 multi-link operation (MLO) to 7.3Gbps and extends coverage by up to 30 meters.

The Dimensity 9400 chipset supports foldable smartphones, offering manufacturers more design flexibility while bringing innovative Edge AI, immersive gaming, and enhanced imaging to users.

Balancing Performance and Battery Life​

With generative AI requiring significant power, the enhanced AI features of the Dimensity 9400 raise concerns about battery life. Hsu reassured that despite the major performance boosts, the new chipset’s advanced manufacturing techniques and second-generation big-core architecture lead to improved energy efficiency. For example, LLM prompt processing performance improves by 80%, while power consumption is reduced by 35%. GPU performance increases by 41%, while power consumption is cut by 44%. Additionally, optimized photography and video processing reduces power consumption by 14%, ensuring a balance between performance and battery life.
 
  • Wow
  • Like
  • Thinking
Reactions: 5 users
LLM at the edge by our competition on mobile phones, we’re is our mobile phone deal ?. Three year lead is we’re commercially now ?.
 
  • Like
Reactions: 8 users
Top Bottom