BRN Discussion Ongoing

Bravo

If ARM was an arm, BRN would be its biceps💪!
Could someone please, please, PLEEEEEEEAAAASE ask Steven Thorne or Rob Telson to get on the blower to Sam Altman ASAP?!

Didn't Sam Altman attend Intel‘s IFS Connect Forum in Feb earlier this year? If he did, then wouldn't he have seen our demo? And if he saw our demo, then he'd have to know that we're like the Betty Ford clinic for those suffering from crippling addictions to NVIDIA's expensive and energy guzzling GPU's.

I'd call Sam myself, but I haven't got his phone number at present.

Thanks in advance to Steve or Rob! Do us proud lads!

Screenshot 2024-04-19 at 12.47.29 pm.png



Microsoft and OpenAI Will Spend $100 Billion to Wean Themselves Off Nvidia GPUs​

The companies are working on an audacious data center for AI that's expected to be operational in 2028.
By Josh Norem April 18, 2024

Credit: Microsoft
Microsoft was the first big company to throw a few billion at ChatGPT-maker OpenAI. Now, a new report states the two companies are working together on a very ambitious AI project that will cost at least $100 billion. Both companies are currently huge Nvidia customers; Microsoft uses Nvidia hardware for its Azure cloud infrastructure, while OpenAI uses Nvidia GPUs for ChatGPT. However, the new data center will host an AI supercomputer codenamed "Stargate," which might not include any Nvidia hardware at all.
The news of the companies' plans to ditch Nvidia hardware comes from a variety of sources, as noted by Windows Central. The report details a five-phase plan developed by Microsoft and OpenAI to advance the two companies' AI ambitions through the end of the decade, with the fifth phase being the so-called Stargate AI supercomputer. This computer is expected to be operational by 2028 and will reportedly be outfitted with future versions of Microsoft's custom-made Arm Cobalt processors and Maia XPUs, all connected by Ethernet.

Microsoft is reportedly planning on using its custom-built Cobalt and Maia silicon to power its future AI ambitions. Credit: Microsoft
This future data center, which will house Stargate, will allow both companies to pursue their AI ambitions far into the future; reports say it will cost around $115 billion. That level of investment shows both companies have no plans to move their respective feet off the AI gas pedal any time soon and that they expect this market to continue to expand far into the future. TechRadar also notes that the amount required to get this supercomputer running is more than triple what Microsoft spent on CapEx last year, so the company is tripling down on AI, it seems.
What's also notable is at least one source says the data center itself will be the computer, as opposed to just housing it. Multiple data centers may link together, like Voltron, to form the supercomputer. This futuristic machine will reportedly push the boundaries of AI capabilities. Given how fast things are advancing in this field, it's impossible to imagine what that will even mean four years from now.


This situation, where massive companies abandon Nvidia for custom-made AI accelerators, will likely become a significant issue for Nvidia soon. Long wait times for Nvidia GPUs and exorbitant pricing have resulted in many companies reportedly beginning to look elsewhere to satisfy their AI hardware needs, which is why Nvidia is already looking to capture this market. OpenAI CEO Sam Altman is reportedly looking to build a global infrastructure of fabs and power sources to make custom silicon, so its plans with Microsoft might be aligned along this front.



 
Last edited:
  • Like
  • Love
  • Thinking
Reactions: 25 users

Bravo

If ARM was an arm, BRN would be its biceps💪!
  • Like
  • Haha
  • Love
Reactions: 31 users

Diogenese

Top 20
All that glitters ...



Exclusive: Apple acquires Xnor.ai, edge AI spin-out from Paul Allen’s AI2, for price in $200M range

BY ALAN BOYLE, TAYLOR SOPER & TODD BISHOP on January 15, 2020

Apple buys Xnor.ai, an edge-centric AI2 spin-out, for price in $200M range (geekwire.com)


Apple has acquired Xnor.ai, a Seattle startup specializing in low-power, edge-based artificial intelligence tools, sources with knowledge of the deal told GeekWire.

The acquisition echoes Apple’s high-profile purchase of Seattle AI startup Turi in 2016. Speaking on condition of anonymity, sources said Apple paid an amount similar to what was paid for Turi, in the range of $200 million.

Xnor.ai didn’t immediately respond to our inquiries, while Apple emailed us its standard response on questions about acquisitions: “Apple buys smaller technology companies from time to time and we generally do not discuss our purpose or plans.” (The company sent the exact same response when we broke the Turi story.



The arrangement suggests that Xnor’s AI-enabled image recognition tools could well become standard features in future iPhones and webcams.

Xnor.ai’s acquisition marks a big win for the Allen Institute for Artificial Intelligence, or AI2, created by the late Microsoft co-founder Paul Allen to boost AI research. It was the second spin-out from AI2’s startup incubator, following Kitt.ai, which was acquired by the Chinese search engine powerhouse Baidu in 2017 for an undisclosed sum.

The deal is a big win as well for the startup’s early investors, including Seattle’s Madrona Venture Group; and for the University of Washington, which serves as a major source of Xnor.ai’s talent pool.

The three-year-old startup’s secret sauce has to do with AI on the edge — machine learning and image recognition tools that can be executed on low-power devices rather than relying on the cloud. “We’ve been able to scale AI out of the cloud to every device out there,” co-founder Ali Farhadi, who is the venture’s CXO (chief Xnor officer) as well as a UW professor, told GeekWire in 2018
.


This Apple patent is for compressing AI models. one of the inventors is ex-Xnor.

US11651192B2 Compressed convolutional neural network models 20190212 Rastegari nee Xnor

Systems and processes for training and compressing a convolutional neural network model include the use of quantization and layer fusion. Quantized training data is passed through a convolutional layer of a neural network model to generate convolutional results during a first iteration of training the neural network model. The convolutional results are passed through a batch normalization layer of the neural network model to update normalization parameters of the batch normalization layer. The convolutional layer is fused with the batch normalization layer to generate a first fused layer and the fused parameters of the fused layer are quantized. The quantized training data is passed through the fused layer using the quantized fused parameters to generate output data, which may be quantized for a subsequent layer in the training iteration.

[0018] A convolutional neural network (CNN) model may be designed as a deep learning tool capable of complex tasks such as image classification and natural language processing. CNN models typically receive input data in a floating point number format and perform floating point operations on the data as the data progresses through different layers of the CNN model. Floating point operations are relatively inefficient with respect to power consumed, memory usage and processor usage. These inefficiencies limit the computing platforms on which CNN models can be deployed. For example, field-programmable gate arrays (FPGA) may not include dedicated floating point modules for performing floating point operations and may have limited memory bandwidth that would be inefficient working with 32-bit floating point numbers.

[0019] As described in further detail below, the subject technology includes systems and processes for building a compressed CNN model suitable for deployment on different types of computing platforms having different processing, power and memory capabilities
.


Of course, that does not absolutely preclude the possibility that Apple are running the NN model on a more efficient SoC.


Apple have been developing NNs for several years, albeit with MACs.

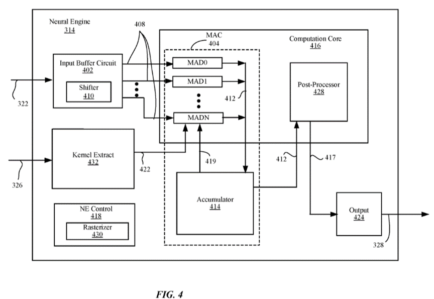
US11487846B2 Performing multiply and accumulate operations in neural network processor 20180504

1713495070166.png



1713495142328.png


a neural processor circuit including a plurality of neural engine circuits, a data buffer, and a kernel fetcher circuit. At least one of the neural engine circuits is configured to receive matrix elements of a matrix as at least the portion of the input data from the data buffer over multiple processing cycles. The at least one neural engine circuit further receives vector elements of a vector from the kernel fetcher circuit, wherein each of the vector elements is extracted as a corresponding kernel to the at least one neural engine circuit in each of the processing cycles. The at least one neural engine circuit performs multiplication between the matrix and the vector as a convolution operation to produce at least one output channel of the output data.
 
  • Like
  • Wow
  • Love
Reactions: 13 users
To
Apple have been developing NNs for several years, albeit with MACs.

US11487846B2 Performing multiply and accumulate operations in neural network processor 20180504

View attachment 61092


View attachment 61093

a neural processor circuit including a plurality of neural engine circuits, a data buffer, and a kernel fetcher circuit. At least one of the neural engine circuits is configured to receive matrix elements of a matrix as at least the portion of the input data from the data buffer over multiple processing cycles. The at least one neural engine circuit further receives vector elements of a vector from the kernel fetcher circuit, wherein each of the vector elements is extracted as a corresponding kernel to the at least one neural engine circuit in each of the processing cycles. The at least one neural engine circuit performs multiplication between the matrix and the vector as a convolution operation to produce at least one output channel of the output data.
In layman terms what does that mean as far as BRN being apart of it ? Are we out or still in with a chance ?
 
  • Like
Reactions: 6 users

Frangipani

Top 20
That means approx 9216 loihi chips coz loihi 2 is a stack of 8 loihi chips. Think if we combine 9216 akida 1000 that will be human brain 11.2 billion neurons and 100 trillion synapse. But surprisingly brainchip is not trying the same. May be company is aware bigger models may give extra revenue but misuse of technology could also be there.
Dyor

Hi rgupta,

Loihi 2 is not a stack of 8 Loihi chips…

Loihi 2 (introduced in 2021) is Intel’s 2nd generation of their neuromorphic research chip, so it is a completely different chip - significantly enhanced, but only (roughly) half the size of its predecessor, the original Loihi (unveiled in 2017), fabricated on a different process.

You must be confusing this with Kapoho Point, which is a compact 8-chip Loihi 2 development board “that can be stacked for large-scale workloads and connect directly to low-latency event-based vision sensors”.



E70AC545-D989-4260-85F6-79E40B844CCA.jpeg

Regards
Frangipani
 
  • Like
  • Love
  • Wow
Reactions: 12 users

Diogenese

Top 20
To

In layman terms what does that mean as far as BRN being apart of it ? Are we out or still in with a chance ?
It means Apple have their own inferior in-house NN.

They have also purchased Xnor which has the tech which is a trade-off between efficiency and accuracy:

US10691975B2 Lookup-based convolutional neural network 20170717
[0019] … Lookup-based convolutional neural network (LCNN) structures are described that encode convolutions by few lookups to a dictionary that is trained to cover the space of weights in convolutional neural networks. For example, training an LCNN may include jointly learning a dictionary and a small set of linear combinations. The size of the dictionary may naturally traces a spectrum of trade-offs between efficiency and accuracy.


They have also developed an LLM compression technique which can be applied to edge applications:

US11651192B2 Compressed convolutional neural network models 20190212 Rastegari nee Xnor:

[0019] As described in further detail below, the subject technology includes systems and processes for building a compressed CNN model suitable for deployment on different types of computing platforms having different processing, power and memory capabilities.

Thus Apple have in-house technology which, on the face of it, is capable of implementing GenAI at the edge. That presents a substantial obstacle to Akida getting a look in.
 
  • Like
  • Sad
  • Fire
Reactions: 27 users
Must be the 1st time since I’ve been invested in BRN that the SP has fallen before a quarterly thanks to LDA and hopefully this drop in SP continues as my super should be ready next week some time.

1713508386812.gif
 
  • Haha
  • Like
Reactions: 11 users

rgupta

Regular
Could someone please, please, PLEEEEEEEAAAASE ask Steven Thorne or Rob Telson to get on the blower to Sam Altman ASAP?!

Didn't Sam Altman attend Intel‘s IFS Connect Forum in Feb earlier this year? If he did, then wouldn't he have seen our demo? And if he saw our demo, then he'd have to know that we're like the Betty Ford clinic for those suffering from crippling addictions to NVIDIA's expensive and energy guzzling GPU's.

I'd call Sam myself, but I haven't got his phone number at present.

Thanks in advance to Steve or Rob! Do us proud lads!

View attachment 61091


Microsoft and OpenAI Will Spend $100 Billion to Wean Themselves Off Nvidia GPUs​

The companies are working on an audacious data center for AI that's expected to be operational in 2028.
By Josh Norem April 18, 2024

Credit: Microsoft
Microsoft was the first big company to throw a few billion at ChatGPT-maker OpenAI. Now, a new report states the two companies are working together on a very ambitious AI project that will cost at least $100 billion. Both companies are currently huge Nvidia customers; Microsoft uses Nvidia hardware for its Azure cloud infrastructure, while OpenAI uses Nvidia GPUs for ChatGPT. However, the new data center will host an AI supercomputer codenamed "Stargate," which might not include any Nvidia hardware at all.
The news of the companies' plans to ditch Nvidia hardware comes from a variety of sources, as noted by Windows Central. The report details a five-phase plan developed by Microsoft and OpenAI to advance the two companies' AI ambitions through the end of the decade, with the fifth phase being the so-called Stargate AI supercomputer. This computer is expected to be operational by 2028 and will reportedly be outfitted with future versions of Microsoft's custom-made Arm Cobalt processors and Maia XPUs, all connected by Ethernet.

Microsoft is reportedly planning on using its custom-built Cobalt and Maia silicon to power its future AI ambitions. Credit: Microsoft
This future data center, which will house Stargate, will allow both companies to pursue their AI ambitions far into the future; reports say it will cost around $115 billion. That level of investment shows both companies have no plans to move their respective feet off the AI gas pedal any time soon and that they expect this market to continue to expand far into the future. TechRadar also notes that the amount required to get this supercomputer running is more than triple what Microsoft spent on CapEx last year, so the company is tripling down on AI, it seems.
What's also notable is at least one source says the data center itself will be the computer, as opposed to just housing it. Multiple data centers may link together, like Voltron, to form the supercomputer. This futuristic machine will reportedly push the boundaries of AI capabilities. Given how fast things are advancing in this field, it's impossible to imagine what that will even mean four years from now.


This situation, where massive companies abandon Nvidia for custom-made AI accelerators, will likely become a significant issue for Nvidia soon. Long wait times for Nvidia GPUs and exorbitant pricing have resulted in many companies reportedly beginning to look elsewhere to satisfy their AI hardware needs, which is why Nvidia is already looking to capture this market. OpenAI CEO Sam Altman is reportedly looking to build a global infrastructure of fabs and power sources to make custom silicon, so its plans with Microsoft might be aligned along this front.



Should we seriously believe Microsoft and open ai should talk specifically about brainchip involvement in their 100 billion dollar project.
On the other hand market is becoming very very competitive and it will be difficult to ignore better technology.
 
  • Like
Reactions: 7 users
How’s our 3 year lead going ?.
 
  • Like
  • Sad
  • Thinking
Reactions: 7 users
Last edited:
  • Haha
  • Like
Reactions: 11 users

Iseki

Regular
Here is a follow-up of my post on Ericsson (see above).

When I recently searched for info on Ericsson’s interest in neuromorphic technology besides the Dec 2023 paper, in which six Ericsson researchers described how they had built a prototype of an AI-enabled ZeroEnergy-IoT device utilising Akida, I not only came across an Ericsson Senior Researcher for Future Computing Platforms who was very much engaged with Intel’s Loihi (he even gave a presentation at the Intel Neuromorphic Research Community’s Virtual Summer 2023 Workshop), as well as an Intel podcast with Ericsson’s VP of Emerging Technologies, Mischa Dohler.

I also spotted the following LinkedIn post by a Greek lady, who had had a successful career at Ericsson spanning more than 23 years before taking the plunge into self-employment two years ago:

View attachment 61042

View attachment 61043


361eabcc-0b13-4ea1-a40a-fe23e802b8a1-jpeg.61045



Since Maria Boura concluded her post by sharing that very Intel podcast with Mischa Dohler mentioned earlier, my gut feeling was that those Ericsson 6G researchers she had talked to at MWC (Mobile World Congress) 2024 in Barcelona at the end of February had most likely been collaborating with Intel, but a quick Google search didn’t come up with any results at the time I first saw that post of hers back in March.

Then, last night, while reading an article on Intel’s newly revealed Hala Point (https://www.eejournal.com/industry_...morphic-system-to-enable-more-sustainable-ai/), there it was - the undeniable evidence that those Ericsson researchers had indeed been utilising Loihi 2:

“Advancing on its predecessor, Pohoiki Springs, with numerous improvements, Hala Point now brings neuromorphic performance and efficiency gains to mainstream conventional deep learning models, notably those processing real-time workloads such as video, speech and wireless communications. For example, Ericsson Research is applying Loihi 2 to optimize telecom infrastructure efficiency, as highlighted at this year’s Mobile World Congress.”

The blue link connects to the following article on the Intel website, published yesterday:


Ericsson Research Demonstrates How Intel Labs’ Neuromorphic AI Accelerator Reduces Compute Costs​

Subscribe
Article Options

large


Philipp_Stratmann

Philipp_Stratmann
Employee
‎04-17-2024
00344
Philipp Stratmann is a research scientist at Intel Labs, where he explores new neural network architectures for Loihi, Intel’s neuromorphic research AI accelerator. Co-author Péter Hága is a master researcher at Ericsson Research, where he leads research activities focusing on the applicability of neuromorphic and AI technologies to telecommunication tasks.

Highlights
  • Using neuromorphic computing technology from Intel Labs, Ericsson Research is developing custom telecommunications AI models to optimize telecom architecture.
  • Ericsson Research developed a radio receiver prototype for Intel’s Loihi 2 neuromorphic AI accelerator based on neuromorphic spiking neural networks, which reduced the data communication by 75 to 99% for energy efficient radio access networks (RANs).
  • As a member of Intel’s Neuromorphic Research Community, Ericsson Research is searching for new AI technologies that provide energy efficiency and low latency inference in telecom systems.

Using neuromorphic computing technology from Intel Labs, Ericsson Research is developing custom telecommunications artificial intelligence (AI) models to optimize telecom architecture. Ericsson currently uses AI-based network performance diagnostics to analyze communications service providers’ radio access networks (RANs) to resolve network issues efficiently and provide specific parameter change recommendations. At Mobile World Congress (MWC) Barcelona 2024, Ericsson Research demoed a radio receiver algorithm prototype targeted for Intel’s Loihi 2 neuromorphic research AI accelerator, demonstrating a significant reduction in computational cost to improve signals across the RAN.

In 2021, Ericsson Research joined the Intel Neuromorphic Research Community (INRC), a collaborative research effort that brings together academic, government, and industry partners to work with Intel to drive advances in real-world commercial usages of neuromorphic computing.

Ericsson Research is actively searching for new AI technologies that provide low latency inference and energy efficiency in telecom systems. Telecom networks face many challenges, including tight latency constraints driven by the need for data to travel quickly over the network, and energy constraints due to mobile system battery limitations. AI will play a central role in future networks by optimizing, controlling, and even replacing key components across the telecom architecture. AI could provide more efficient resource utilization and network management as well as higher capacity.

Neuromorphic computing draws insights from neuroscience to create chips that function more like the biological brain instead of conventional computers. It can deliver orders of magnitude improvements in energy efficiency, speed of computation, and adaptability across a range of applications, including real-time optimization, planning, and decision-making from edge to data center systems. Intel's Loihi 2 comes with Lava, an open-source software framework for developing neuro-inspired applications.

Radio Receiver Algorithm Prototype

Ericsson Research’s working prototype of a radio receiver algorithm was implemented in Lava for Loihi 2. In the demonstration, the neural network performs a common complex task of recognizing the effects of reflections and noise on radio signals as they propagate from the sender (base station) to the receiver (mobile). Then the neural network must reverse these environmental effects so that the information can be correctly decoded.

During training, researchers rewarded the model based on accuracy and the amount of communication between neurons. As a result, the neural communication was reduced, or sparsified, by 75 to 99% depending on the difficulty of the radio environment and the amount of work needed by the AI to correct the environmental effects on the signal.

Loihi 2 is built to leverage such sparse messaging and computation. With its asynchronous spike-based communication, neurons do not need to compute or communicate information when there is no change. Furthermore, Loihi 2 can compute with substantially less power due to its tight compute-memory integration. This reduces the energy and latency involved in moving data between the compute unit and the memory.

Like the human brain’s biological neural circuits that can intelligently process, respond to, and learn from real-world data at microwatt power levels and millisecond response times, neuromorphic computing can unlock orders of magnitude gains in efficiency and performance.

Neuromorphic computing AI solutions could address the computational power needed for future intelligent telecom networks. Complex telecom computation results must be produced in tight deadlines down to the millisecond range. Instead of using GPUs that draw substantial amounts of power, neuromorphic computing can provide faster processing and improved energy efficiency.

Emerging Technologies and Telecommunications

Learn more about emerging technologies and telecommunications in this episode of InTechnology. Host Camille Morhardt interviews Mischa Dohler, VP of Emerging Technologies at Ericsson, about neuromorphic computing, quantum computing, and more.



While Ericsson being deeply engaged with Intel even in the area of neuromorphic research doesn’t preclude them from also knocking on BrainChip’s door, this new reveal reaffirms my hesitation about adding Ericsson to our list of companies above the waterline, given the lack of any official acknowledgment by either party to date.

So to sum it up: Ericsson collaborating with Intel in neuromorphic research is a verifiable fact, while an NDA with BrainChip is merely speculation so far.
Mmm, that person photographed next to Mischa, looks like a young Pia. I wonder if they are related.
 

Frangipani

Top 20
New LinkedIn post by Laurent Hili from ESA who is looking forward to attending the 2024 Hardware & Edge AI Summit in San Jose in September…


Note that the pictures were taken at the 2022 Hardware & Edge AI Summit.


4C5A0963-B9AE-48BD-BDF5-8D0792BC9FAA.jpeg



693EB83D-9D0A-448C-A969-02A076AE8C91.jpeg


7C91966C-624C-4C41-B764-BEE76479A604.jpeg
 
  • Love
  • Like
  • Fire
Reactions: 21 users

BrainShit

Regular
BrainChip selected by U.S. Air Force Research Laboratory to develop AI-based radar

2024-04-19 17:52

BrainChip, the world's first commercial producer of neuromorphic artificial intelligence chips and IP, today announced that Information Systems Laboratories (ISL) is developing an AI-based radar for the U.S. Air Force Research Laboratory (AFRL) based on its Akida™ Neural Network Processor Research solutions.

ISL is a specialist in expert research and complex analysis, software and systems engineering, advanced hardware design and development, and high-quality manufacturing for a variety of clients worldwide.

Military and Space are always leaders of new technologies 😉


 
  • Like
  • Fire
  • Love
Reactions: 51 users
How’s our 3 year lead going ?.
All this secrecy is running a little thin . Especially when everyone else is discussing what everyone else is doing with who ever
 
Last edited:
  • Like
  • Fire
  • Sad
Reactions: 14 users

IloveLamp

Top 20
  • Like
  • Love
  • Fire
Reactions: 21 users

Frangipani

Top 20
BrainChip selected by U.S. Air Force Research Laboratory to develop AI-based radar

2024-04-19 17:52

BrainChip, the world's first commercial producer of neuromorphic artificial intelligence chips and IP, today announced that Information Systems Laboratories (ISL) is developing an AI-based radar for the U.S. Air Force Research Laboratory (AFRL) based on its Akida™ Neural Network Processor Research solutions.

ISL is a specialist in expert research and complex analysis, software and systems engineering, advanced hardware design and development, and high-quality manufacturing for a variety of clients worldwide.

Military and Space are always leaders of new technologies 😉



Hi BrainShit,

while it looks like it is hot off the press-news due to today’s publication date on the website, this press release is actually more than two years old:


Regards
Frangipani
 
  • Like
  • Love
  • Fire
Reactions: 22 users

IloveLamp

Top 20
Hi BrainShit,

while it looks like it is hot off the press-news due to today’s publication date on the website, this press release is actually more than two years old:


Regards
Frangipani
Sorry Frangi, but i have to say that has to be a record shortest post from you doesn't it?!
1000012150.gif
 
  • Haha
  • Like
Reactions: 17 users

manny100

Top 20
Here is a follow-up of my post on Ericsson (see above).

When I recently searched for info on Ericsson’s interest in neuromorphic technology besides the Dec 2023 paper, in which six Ericsson researchers described how they had built a prototype of an AI-enabled ZeroEnergy-IoT device utilising Akida, I not only came across an Ericsson Senior Researcher for Future Computing Platforms who was very much engaged with Intel’s Loihi (he even gave a presentation at the Intel Neuromorphic Research Community’s Virtual Summer 2023 Workshop), as well as an Intel podcast with Ericsson’s VP of Emerging Technologies, Mischa Dohler.

I also spotted the following LinkedIn post by a Greek lady, who had had a successful career at Ericsson spanning more than 23 years before taking the plunge into self-employment two years ago:

View attachment 61042

View attachment 61043


361eabcc-0b13-4ea1-a40a-fe23e802b8a1-jpeg.61045



Since Maria Boura concluded her post by sharing that very Intel podcast with Mischa Dohler mentioned earlier, my gut feeling was that those Ericsson 6G researchers she had talked to at MWC (Mobile World Congress) 2024 in Barcelona at the end of February had most likely been collaborating with Intel, but a quick Google search didn’t come up with any results at the time I first saw that post of hers back in March.

Then, last night, while reading an article on Intel’s newly revealed Hala Point (https://www.eejournal.com/industry_...morphic-system-to-enable-more-sustainable-ai/), there it was - the undeniable evidence that those Ericsson researchers had indeed been utilising Loihi 2:

“Advancing on its predecessor, Pohoiki Springs, with numerous improvements, Hala Point now brings neuromorphic performance and efficiency gains to mainstream conventional deep learning models, notably those processing real-time workloads such as video, speech and wireless communications. For example, Ericsson Research is applying Loihi 2 to optimize telecom infrastructure efficiency, as highlighted at this year’s Mobile World Congress.”

The blue link connects to the following article on the Intel website, published yesterday:


Ericsson Research Demonstrates How Intel Labs’ Neuromorphic AI Accelerator Reduces Compute Costs​

Subscribe
Article Options

large


Philipp_Stratmann

Philipp_Stratmann
Employee
‎04-17-2024
00344
Philipp Stratmann is a research scientist at Intel Labs, where he explores new neural network architectures for Loihi, Intel’s neuromorphic research AI accelerator. Co-author Péter Hága is a master researcher at Ericsson Research, where he leads research activities focusing on the applicability of neuromorphic and AI technologies to telecommunication tasks.

Highlights
  • Using neuromorphic computing technology from Intel Labs, Ericsson Research is developing custom telecommunications AI models to optimize telecom architecture.
  • Ericsson Research developed a radio receiver prototype for Intel’s Loihi 2 neuromorphic AI accelerator based on neuromorphic spiking neural networks, which reduced the data communication by 75 to 99% for energy efficient radio access networks (RANs).
  • As a member of Intel’s Neuromorphic Research Community, Ericsson Research is searching for new AI technologies that provide energy efficiency and low latency inference in telecom systems.

Using neuromorphic computing technology from Intel Labs, Ericsson Research is developing custom telecommunications artificial intelligence (AI) models to optimize telecom architecture. Ericsson currently uses AI-based network performance diagnostics to analyze communications service providers’ radio access networks (RANs) to resolve network issues efficiently and provide specific parameter change recommendations. At Mobile World Congress (MWC) Barcelona 2024, Ericsson Research demoed a radio receiver algorithm prototype targeted for Intel’s Loihi 2 neuromorphic research AI accelerator, demonstrating a significant reduction in computational cost to improve signals across the RAN.

In 2021, Ericsson Research joined the Intel Neuromorphic Research Community (INRC), a collaborative research effort that brings together academic, government, and industry partners to work with Intel to drive advances in real-world commercial usages of neuromorphic computing.

Ericsson Research is actively searching for new AI technologies that provide low latency inference and energy efficiency in telecom systems. Telecom networks face many challenges, including tight latency constraints driven by the need for data to travel quickly over the network, and energy constraints due to mobile system battery limitations. AI will play a central role in future networks by optimizing, controlling, and even replacing key components across the telecom architecture. AI could provide more efficient resource utilization and network management as well as higher capacity.

Neuromorphic computing draws insights from neuroscience to create chips that function more like the biological brain instead of conventional computers. It can deliver orders of magnitude improvements in energy efficiency, speed of computation, and adaptability across a range of applications, including real-time optimization, planning, and decision-making from edge to data center systems. Intel's Loihi 2 comes with Lava, an open-source software framework for developing neuro-inspired applications.

Radio Receiver Algorithm Prototype

Ericsson Research’s working prototype of a radio receiver algorithm was implemented in Lava for Loihi 2. In the demonstration, the neural network performs a common complex task of recognizing the effects of reflections and noise on radio signals as they propagate from the sender (base station) to the receiver (mobile). Then the neural network must reverse these environmental effects so that the information can be correctly decoded.

During training, researchers rewarded the model based on accuracy and the amount of communication between neurons. As a result, the neural communication was reduced, or sparsified, by 75 to 99% depending on the difficulty of the radio environment and the amount of work needed by the AI to correct the environmental effects on the signal.

Loihi 2 is built to leverage such sparse messaging and computation. With its asynchronous spike-based communication, neurons do not need to compute or communicate information when there is no change. Furthermore, Loihi 2 can compute with substantially less power due to its tight compute-memory integration. This reduces the energy and latency involved in moving data between the compute unit and the memory.

Like the human brain’s biological neural circuits that can intelligently process, respond to, and learn from real-world data at microwatt power levels and millisecond response times, neuromorphic computing can unlock orders of magnitude gains in efficiency and performance.

Neuromorphic computing AI solutions could address the computational power needed for future intelligent telecom networks. Complex telecom computation results must be produced in tight deadlines down to the millisecond range. Instead of using GPUs that draw substantial amounts of power, neuromorphic computing can provide faster processing and improved energy efficiency.

Emerging Technologies and Telecommunications

Learn more about emerging technologies and telecommunications in this episode of InTechnology. Host Camille Morhardt interviews Mischa Dohler, VP of Emerging Technologies at Ericsson, about neuromorphic computing, quantum computing, and more.



While Ericsson being deeply engaged with Intel even in the area of neuromorphic research doesn’t preclude them from also knocking on BrainChip’s door, this new reveal reffirms my hesitation about adding Ericsson to our list of companies above the waterline, given the lack of any official acknowledgment by either party to date.

So to sum it up: Ericsson collaborating with Intel in neuromorphic research is a verifiable fact, while an NDA with BrainChip is merely speculation so far.
Although it would be grossly negligent for the Ericsson Team to test only the Intel chip (which according to BRN is still in research) when there are others available.
I very much doubt they would not be aware of BRN. I would also be very surprised if Ericsson and other telcos have not had high level contact from BRN.
The word slipped that we were tied with Mercedes. After that you can bet that every Auto is testing AKIDA. No one wants to be caught short.
The use for AKIDA in Autos is obvious.
For the 'layman' it's a little harder to identify Telco company uses.
BRN has worked hard to set up an eco system and together with enormous industry exposure its hard to imagine any decent Research departments of big business would be unaware of BRN. It would be just a matter of how, if at all, hey see AKIDA improving their business.
 
  • Like
  • Love
  • Fire
Reactions: 18 users
Top Bottom