BRN Discussion Ongoing

JK200SX

Regular
THIS IS HUGE NEWS - WHY WAS I NOT TOLD - BECAUSE I AM JUST A RETAIL SHAREHOLDER - THIS IS ANOTHER PILLAR SUPPORTING
MY FUTURE GENERATIONAL WEALTH TRAJECTORY.

"AKIDA NET
Recently, we have developed a replacement for the popular MobileNet v1
model used as a backbone in many applications that we call AkidaNet. AkidaNet’s architecture utilizes the Akida hardware more efficiently. Some of our preliminary results are shown below for object classification, face recognition, and face detection. In many cases, switching from MobileNet v1 to AkidaNet results in a slight increase in speed and accuracy accompanied by a 15% to 30% decrease in power usage."

How mind blowingly important is a 30% decrease in already ludicrously low power usage at the Edge.

I think we need to start a list of those who want to purchase an EQXX.

My opinion only DYOR
FF

AKIDA BALLISTA
1648176439129.png
 
  • Like
  • Haha
  • Love
Reactions: 20 users

Murphy

Life is not a dress rehearsal!
I've always said that I will never sell my BRN shares, sorry but change of plans.
I will now sell only one share when the share price reaches US$500, buy a bottle of champagne for the same value, drink the bottle on my own then share it over the grave of a BRN shorter.
... after you have strained it through your kidneys, I hope!😁


If you don't have dreams, you can't have dreams come true!
 
  • Like
  • Haha
Reactions: 7 users
AKIDA NET

Akida Net 5 doing MELANOMA classification with 98.31% accuracy.

This is a brand new talent not disclosed previously.


My opinion only DYOR
FF

AKIDA BALLISTA
This is the most recent paper I could find on diagnostic accuracy for melanoma.
My son who is in the UK last year had a melanoma diagnosed and successfully removed and when speaking about it at Christmas he said he was fortunate as most Doctor's in the UK have little experience with melanoma but he was lucky because his Doctor had worked in Australia.
98.31% accuracy is a very significant accomplishment based on the following paper and the other two I read from 2018.


My opinion only DYOR
FF

AKIDA BALLISTA
 
  • Like
  • Fire
Reactions: 21 users

JK200SX

Regular
  • Like
  • Love
  • Fire
Reactions: 25 users

Bravo

If ARM was an arm, BRN would be its biceps💪!
Check this out crew!

The first article published 24 hours ago (which mentions Weebit) says "As interest in artificial intelligence (AI) and in-memory computing significantly increases, resistive random-access memory (ReRAM) could be the key to unlocking the ability to imitate the human brain".

Now I have been interested for some time in trying to establish the ways in which BRN and WBT could collaborate and this article seems to hit the nail on the head.

There's also a link in the article which says "synonymous with neuropathic computing" and this takes you to an article describing work done by researchers at Politecnico Milan. It states" The university developed a hardware design that uses Weebit’s ReRAM to combine the efficiency of convolutional neural networks (CNNs) with the plasticity of brain-inspired spiking neural networks (SNN) to enable the hardware to learn new things without forgetting trained tasks of previously acquired information. In addition, the system adapts its operative frequency for power saving, enabling feasible solutions for lifelong learning in autonomous AI systems."

Well, to cut a long story short I tried to find a link between BRN, WBT and Politecnico Milan and came across a TMT Analytics Report entitled "Weebit Nano Limited" from Feb 2019 from which I think we can deduce a collaboration of sorts.



Screen Shot 2022-03-25 at 1.53.45 pm.png






 
  • Like
  • Fire
Reactions: 39 users

Diogenese

Top 20
THIS IS HUGE NEWS - WHY WAS I NOT TOLD - BECAUSE I AM JUST A RETAIL SHAREHOLDER - THIS IS ANOTHER PILLAR SUPPORTING
MY FUTURE GENERATIONAL WEALTH TRAJECTORY.

"AKIDA NET
Recently, we have developed a replacement for the popular MobileNet v1
model used as a backbone in many applications that we call AkidaNet. AkidaNet’s architecture utilizes the Akida hardware more efficiently. Some of our preliminary results are shown below for object classification, face recognition, and face detection. In many cases, switching from MobileNet v1 to AkidaNet results in a slight increase in speed and accuracy accompanied by a 15% to 30% decrease in power usage."

How mind blowingly important is a 30% decrease in already ludicrously low power usage at the Edge.

I think we need to start a list of those who want to purchase an EQXX.

My opinion only DYOR
FF

AKIDA BALLISTA
Just guessing, but Mobilenet v1 was not designed for an on-chip one-shot learning digital SNN, so it probably has a lot of redundant data, such as front, back, sides, underneath, and plan views. Akida probably only needs generic "quadruped/vehicle/person/..." classes with a few all round shots in the generic heading, and Akida can then learn specific examples of each class as required. So KC & co have probably trained Akida Net on several samples of each class in a manner more suited to Akida.
 
  • Like
  • Love
  • Fire
Reactions: 12 users

Diogenese

Top 20
AND THIS LITTLE BEAUTY:

ANOTHER STATE OF THE ART PERFORMANCE:

"DVS Gesture (Amir et al., 2017) is a well-known event-based dataset, comprising recordings of subjects performing gestures (clapping, waving, circular motions etc.) made with a DVS128 event-based camera. Here we present our approach to achieving state of the art performance on this dataset, using a MetaTF training pipeline."


My opinion only DYOR
FF

AKIDA BALLISTA
You do know that you're breaching the total fire ban?!
 
  • Haha
  • Like
  • Fire
Reactions: 22 users

Diogenese

Top 20
Todays drop in SP is from the 2,900,000 Shorts taken out on Weds this week. Prior to this short positions had dropped significantly leading into Tuesday.

Now the B0T is holding it down accumulating. Whether its target is a Volume number, a date/time or a stat on a chart .............is to be seen.

View attachment 3131

Yak52

Yak52


1648178446126.png
 
  • Haha
  • Like
  • Fire
Reactions: 8 users
You do know that you're breaching the total fire ban?!
Nothing better than sitting around a camp fire with the autumn chill in the air, the clear night sky illuminated by the Southern Cross with a glass of your favourite red, total fire ban or not.

FF.
 
  • Like
  • Haha
  • Love
Reactions: 12 users
Check this out crew!

The first article published 24 hours ago (which mentions Weebit) says "As interest in artificial intelligence (AI) and in-memory computing significantly increases, resistive random-access memory (ReRAM) could be the key to unlocking the ability to imitate the human brain".

Now I have been interested for some time in trying to establish the ways in which BRN and WBT could collaborate and this article seems to hit the nail on the head.

There's also a link in the article which says "synonymous with neuropathic computing" and this takes you to an article describing work done by researchers at Politecnico Milan. It states" The university developed a hardware design that uses Weebit’s ReRAM to combine the efficiency of convolutional neural networks (CNNs) with the plasticity of brain-inspired spiking neural networks (SNN) to enable the hardware to learn new things without forgetting trained tasks of previously acquired information. In addition, the system adapts its operative frequency for power saving, enabling feasible solutions for lifelong learning in autonomous AI systems."

Well, to cut a long story short I tried to find a link between BRN, WBT and Politecnico Milan and came across a TMT Analytics Report entitled "Weebit Nano Limited" from Feb 2019 from which I think we can deduce a collaboration of sorts.



View attachment 3135





Hi @Diogenese
Am I correct if I say that unless Peter van der Made and Anil Mankar have walked on water yet again that they have probably had to increase the memory being used by AKD2000 to achieve high performance LSTM?

Asking dumb questions comes easily when you have had a lengthy career in the law. LOL
FF.
 
  • Like
  • Haha
Reactions: 11 users

Bravo

If ARM was an arm, BRN would be its biceps💪!
Hi @Diogenese
Am I correct if I say that unless Peter van der Made and Anil Mankar have walked on water yet again that they have probably had to increase the memory being used by AKD2000 to achieve high performance LSTM?

Asking dumb questions comes easily when you have had a lengthy career in the law. LOL
FF.


Tell me about it FF! You should hear how many dumb questions foot models ask eachother! We may have beautiful feet, but I'll be the first to admitt, we're generally not the sharpest tools in the shed.
 
  • Haha
  • Like
  • Fire
Reactions: 15 users

VictorG

Member
Tell me about it FF! You should hear how many dumb questions foot models ask eachother! We may have beautiful feet, but I'll be the first to admitt, we're generally not the sharpest tools in the shed.
I hear ya sista, if it wasn't for my good looks I would've starved to death long ago.
 
  • Haha
  • Like
Reactions: 14 users

Violin1

Regular
The weary, long suffering Brainchip holder finally stumbles his way into Castle Akida after spotting the neuromorhic beacon atop yon highest tower..........lets watch, shall we?


Man, we've got the same sense of humour - can't wait for beers and wine!
 
  • Like
  • Haha
Reactions: 7 users

Bravo

If ARM was an arm, BRN would be its biceps💪!
OMG! I had no idea Puto was fond of wearing budgy smugglers! I guess that's another reason to dislike him.

Screen Shot 2022-03-25 at 4.44.43 pm.png


 
  • Haha
  • Wow
  • Like
Reactions: 9 users

Diogenese

Top 20
Hi @Diogenese
Am I correct if I say that unless Peter van der Made and Anil Mankar have walked on water yet again that they have probably had to increase the memory being used by AKD2000 to achieve high performance LSTM?

Asking dumb questions comes easily when you have had a lengthy career in the law. LOL
FF.
Hi FF,

Short answer is "yes".
Each NPU must retain its current state until the next batch of inputs is processed.

When I googled "Akida long short term memory", it came up with some bloke over on the other place who reckoned Akida 1500 would have LSTM, but he didn't have a reference for the information.

1648184188727.png

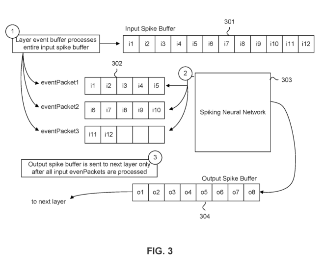
WO2020092691A1 AN IMPROVED SPIKING NEURAL NETWORK

[0040] Third, conventional SNNs do not provide buffering between different layers of the SNN. But buffering can allow for a time delay for passing output spikes to a next layer. Embodiments herein solve this technological problem by adding input spike buffers and output spike buffers between layers of a SCNN.

The NPUs of each layer are bracketed by input and output buffer registers.
 

Attachments

  • 1648181736376.png
    1648181736376.png
    155.1 KB · Views: 118
  • 1648182142226.png
    1648182142226.png
    140.9 KB · Views: 115
  • Like
  • Fire
  • Love
Reactions: 11 users
OMG! I had no idea Puto was fond of wearing budgy smugglers! I guess that's another reason to dislike him.

View attachment 3146

Enough we surrender. Just put your clothes back on Puto. LOL

On a serious note the following link to a paper on accuracy results comparing different old fashioned deep learning doing PlantVillage makes the 97.92% accuracy achieved by AKD1000 quite impressive. What farmer would not want an unconnected device that can alert that a particular plant disease has just broken out???:

file:///C:/Users/Family/Downloads/agriculture-11-00707%20(1).pdf

My opinion only DYOR
FF

AKIDA BALLISTA
 
  • Like
  • Fire
Reactions: 12 users
Hi FF,

Short answer is "yes".
Each NPU must retain its current state until the next batch of inputs is processed.

When I googled "Akida long short term memory", it came up with some bloke over on the other place who reckoned Akida 1500 would have LSTM, but he didn't have a reference for the information.

View attachment 3145
WO2020092691A1 AN IMPROVED SPIKING NEURAL NETWORK

[0040] Third, conventional SNNs do not provide buffering between different layers of the SNN. But buffering can allow for a time delay for passing output spikes to a next layer. Embodiments herein solve this technological problem by adding input spike buffers and output spike buffers between layers of a SCNN.

The NPUs of each layer are bracketed by input and output buffer registers.
Actually remember that bloke wonder what happened to him. He was spot on with that one as Anil Mankar alluded to AKD1500 having a limited or a bit of LSTM capability.

Once again many thanks for your educated understanding of how this works.

My opinion only DYOR
FF

AKIDA BALLISTA
 
Last edited:
  • Like
Reactions: 8 users

Xray1

Regular
Finally received my PCIE board!
I must say, when holding it I feel as though I’m holding a nugget of gold, or a large diamond LOL.

What I see from all the enthusiasts and the professors at universities who have purchased boards is there will be some very very creative things created, and slowly but surely it will be posted all over different social media platforms, everybody will be amazed at what it can do, then the large organisations will see, Brainchip will be spoken about, the worlds first neuromorphic processor, it’s here now, ready, and this is only the beginning!
View attachment 3082
Just an out of interest question .......... was the PCIE Board sent to you from the US or Aus ??
 
  • Like
Reactions: 5 users
Actually remember that bloke wonder what happened to him. He was spot on with that one as Anil Mankar alluded to AKD1500 have a limited or a bit of LSTM capability.

Once again many thanks for your educated understanding of how this works.

My opinion only DYOR
FF

AKIDA BALLISTA
Then who does not need an unconnected handheld device that will tell them whether they have just been attacked by a cat or a dog??? AKD1000 achieved an accuracy of 96.60% on the Cat vs Dogs data set and the following paper gives a hint to how impressive this actually is:



My opinion only DYOR
FF

AKIDA BALLISTA
 
  • Like
  • Fire
Reactions: 8 users
Then who does not need an unconnected handheld device that will tell them whether they have just been attacked by a cat or a dog??? AKD1000 achieved an accuracy of 96.60% on the Cat vs Dogs data set and the following paper gives a hint to how impressive this actually is:



My opinion only DYOR
FF

AKIDA BALLISTA

Finally on the LFW Face Verification data set AKD1000 achieved 97.25% which when compared to the results in the following article are very impressive considering the power sitting behind these old school technology solutions. Think about the power savings involved by ditching old school for AKD1000 in this area not to mention the cyber secure nature of what AKIDA technology offers. Mercedes of course already has and decided to use AKD1000 solutions:


My opinion only DYOR
FF

AKIDA BALLISTA
 
  • Like
  • Fire
Reactions: 19 users
Top Bottom