BRN Discussion Ongoing

Utter1

Emerged

https://www.firstlinks.com.au/ai-to...09&utm_medium=email&utm_source=Email Campaign

Why AI is today’s most important investment theme​

"The conclusion is clear: to win from the AI revolution, own today’s hyperscalers, Amazon, Microsoft and Alphabet (Google)."
"Andrew Macken
March 03, 2022

Hi John, there is limited space available in any newsletter and this article is a summary of considerable work by our team. We focus on deep research at Montaka and to that end there is a longer 5000 word research paper behind this article. We are also continually researching so our work here is always ongoing. As for BrainChip, we observed that Amazon and Alphabet, for example, each spend as much in R&D every 2 hours as BrainChip does in a full year. So there is a sizeable difference in scale here."

I post this article, not as a down ramper, but to demonstrate the monumental task that our marketing team have to overcome and highlight how some journalists, just don't get it.
 
  • Like
  • Fire
Reactions: 10 users

zeeb0t

Administrator
Staff member

https://www.firstlinks.com.au/ai-todays-important-investment-theme?utm_campaign=Morning Note Free 20220309&utm_medium=email&utm_source=Email Campaign

Why AI is today’s most important investment theme​

"The conclusion is clear: to win from the AI revolution, own today’s hyperscalers, Amazon, Microsoft and Alphabet (Google)."
"Andrew Macken
March 03, 2022

Hi John, there is limited space available in any newsletter and this article is a summary of considerable work by our team. We focus on deep research at Montaka and to that end there is a longer 5000 word research paper behind this article. We are also continually researching so our work here is always ongoing. As for BrainChip, we observed that Amazon and Alphabet, for example, each spend as much in R&D every 2 hours as BrainChip does in a full year. So there is a sizeable difference in scale here."

I post this article, not as a down ramper, but to demonstrate the monumental task that our marketing team have to overcome and highlight how some journalists, just don't get it.

I think it also demonstrates the achievement that has taken place. Innovation takes more than just dollars, but real passion/drive and brilliance, something Brainchip (PVDM for example) apparently has in spades. Maybe years ahead of others for every 2 days he spends.
 
  • Like
  • Love
  • Fire
Reactions: 20 users

Boab

I wish I could paint like Vincent

https://www.firstlinks.com.au/ai-todays-important-investment-theme?utm_campaign=Morning Note Free 20220309&utm_medium=email&utm_source=Email Campaign

Why AI is today’s most important investment theme​

"The conclusion is clear: to win from the AI revolution, own today’s hyperscalers, Amazon, Microsoft and Alphabet (Google)."
"Andrew Macken
March 03, 2022

Hi John, there is limited space available in any newsletter and this article is a summary of considerable work by our team. We focus on deep research at Montaka and to that end there is a longer 5000 word research paper behind this article. We are also continually researching so our work here is always ongoing. As for BrainChip, we observed that Amazon and Alphabet, for example, each spend as much in R&D every 2 hours as BrainChip does in a full year. So there is a sizeable difference in scale here."

I post this article, not as a down ramper, but to demonstrate the monumental task that our marketing team have to overcome and highlight how some journalists, just don't get it.
That doesn't appear to be proper research if all they look at is the $ spend?
I thought Roger Montgomery's team was better than that.
 
  • Like
  • Fire
Reactions: 9 users

Violin1

Regular
Photo's? Strictly for scientific analysis and to understand how well they perform for the said application :)
This is all descending into a repeat of the Dildonics thread. I sense that the tribe is restless and we are only a step away from high jinks and horseplay. It'll end in tears, you mark my words....
 
  • Like
  • Haha
Reactions: 10 users

Boab

I wish I could paint like Vincent
1646881550187.png
 
  • Like
  • Love
Reactions: 11 users

Boab

I wish I could paint like Vincent
Twice as many buyers as sellers.
 
  • Like
Reactions: 3 users

Diogenese

Top 20

https://www.firstlinks.com.au/ai-todays-important-investment-theme?utm_campaign=Morning Note Free 20220309&utm_medium=email&utm_source=Email Campaign

Why AI is today’s most important investment theme​

"The conclusion is clear: to win from the AI revolution, own today’s hyperscalers, Amazon, Microsoft and Alphabet (Google)."
"Andrew Macken
March 03, 2022

Hi John, there is limited space available in any newsletter and this article is a summary of considerable work by our team. We focus on deep research at Montaka and to that end there is a longer 5000 word research paper behind this article. We are also continually researching so our work here is always ongoing. As for BrainChip, we observed that Amazon and Alphabet, for example, each spend as much in R&D every 2 hours as BrainChip does in a full year. So there is a sizeable difference in scale here."

I post this article, not as a down ramper, but to demonstrate the monumental task that our marketing team have to overcome and highlight how some journalists, just don't get it.
"He who contemneth small things ..."

5000 words - seems like a lot of wasted effort if it's that wide of the mark.

Amazon, Alphabet, Brainchip, IBM, Intel, ... Who's got the working SNN chip?

"Size isn't everything" as the actress said to the bishop.
 
  • Like
  • Haha
  • Wow
Reactions: 18 users

Mea culpa

prəmɪskjuəs
@Bravo77 @JK200SX @Frank Zappa @Violin1

Descending or perhaps ascending to the Dildonics discussion should also bring out @Esq.111 I wonder if @Dolci is about for an analysis whether there is a Chart pattern or correlation to a dead cat bounce? Being quite modest, even old-fashioned, I confess a preference for french knickers rather than a g-thingy. Apologies for the cat reference Bravo. I'll leave now.
 
  • Like
  • Haha
Reactions: 6 users
"He who contemneth small things ..."

5000 words - seems like a lot of wasted effort if it's that wide of the mark.

Amazon, Alphabet, Brainchip, IBM, Intel, ... Who's got the working SNN chip?

"Size isn't everything" as the actress said to the bishop.
One of the things I did as a lawyer was give my clients answers. On more than one occasion I had clients say “Why couldn’t the other lawyer just tell me that?”

5,000 words seems excessive to come up with the names of the tech giants. Seems like a huge number of 8 x 10 colour glossy photos being taken here to look like they know what they are doing - aka Alice’s Restaurant.

My opinion only DYOR
FF

AKIDA BALLISTA
 
  • Like
Reactions: 6 users
@Bravo77 @JK200SX @Frank Zappa @Violin1

Descending or perhaps ascending to the Dildonics discussion should also bring out @Esq.111 I wonder if @Dolci is about for an analysis whether there is a Chart pattern or correlation to a dead cat bounce? Being quite modest, even old-fashioned, I confess a preference for french knickers rather than a g-thingy. Apologies for the cat reference Bravo. I'll leave now.
Just so you know we have a faux science thread specifically for charts. I think it’s called Technical something. 🤓 FF
 
  • Haha
  • Like
Reactions: 9 users
found this... no mention of brainchip... yet

Material suitable for university professors and IT geniuses

The new journal, Neuromorphic Computing and Engineering

journal_cover


Neuromorphic Computing and Engineering is a multidisciplinary, open access journal publishing cutting edge research on the design, development and application of artificial neural networks and systems from both a hardware and computational perspective.


I am sorry but this debate is over before it begins. The question provides the answer:

Question: Should “the biological brain influence the design of future AI systems?

Answer: What is the alternative?

Debate over. Off to the bar.

My opinion only DYOR
FF

AKIDA BALLISTA
 
  • Like
  • Haha
  • Fire
Reactions: 22 users
D

Deleted member 118

Guest
  • Haha
  • Like
Reactions: 5 users

Diogenese

Top 20
found this... no mention of brainchip... yet

Material suitable for university professors and IT geniuses

The new journal, Neuromorphic Computing and Engineering

journal_cover


Neuromorphic Computing and Engineering is a multidisciplinary, open access journal publishing cutting edge research on the design, development and application of artificial neural networks and systems from both a hardware and computational perspective.


Hi greenwaves,

This article is from the journal you found.

Although the author makes reference to True North and Liohi, she assumes that all SNNs are analog.

https://iopscience.iop.org/article/10.1088/2634-4386/ac4918

Ferroelectric-based synapses and neurons for neuromorphic computing​

Erika Covi3,1, Halid Mulaosmanovic1, Benjamin Max2, Stefan Slesazeck3,1 and Thomas Mikolajick1,2

Published 7 February 2022 • © 2022 The Author(s). Published by IOP Publishing Ltd
Neuromorphic Computing and Engineering , Volume 2, Number 1Focus Issue on Hafnium Oxide-Based Neuromorphic DevicesCitation Erika Covi et al 2022 Neuromorph. Comput. Eng. 2 012002

A possible solution to optimize energy efficiency is to enable computing right next to where the data is collected, e.g., the sensor [4, 5]. In this respect, one of the most promising approaches is the neuromorphic approach, in particular the brain-inspired spiking neural network (SNN) [6]. SNNs owe their power efficiency to their hardware architecture, which uses artificial neurons and synapses to overcome the physical separation between memory and central processing unit typical of standard von Neumann architectures, and to the adoption of an asynchronous event-based approach that elaborates the information, in the form of spikes, only when available. Both industry and academia have already demonstrated interest in SNNs, defined as the third generation of neural networks, which resulted in remarkable neuromorphic processors such as IBM's TrueNorth [7], SpiNNaker [8], Intel's Loihi [9], DYNAP-SE [10], ODIN [11], and MorphIC [12]. However, in pure complementary metal-oxide-semiconductor (CMOS) solutions, the basic building elements of an SNN, i.e., neurons and synapses, present some non-negligible disadvantages. Indeed, neurons are rather complicated to realize. The simplest versions reproducing integrate-and-fire (I&F) behavior need at least an integrator, which also implies using a capacitor, which can occupy a rather large area depending on the time constants that need to be used, as well as a comparator. More complicated versions may need current sensors, capacitors, analogue-to-digital (ADC), and digital-to-analogue converters, with consequent area and power consumption requirements [13].
...
Memristive devices show a broad range of excellent properties, including non-volatile memory, analogue behaviour, high scalability, high read/program speed, high energy efficiency, and programming voltages comparable with the power supply of typical neuromorphic chips [14, 15]

Once again we see academia's blinkered concentration on analog SNNs. Analog behaviour also has the baggage of component variations due to manufacturing tolerance limits.

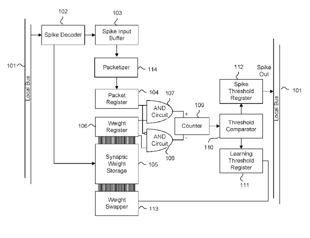
I've looked high and low, but can't find a capacitor in Akida's integrate and fire circuit. ['pologies if you've seen this before. Can't help myself - love this circuit - a thing of beauty]:

1646884009929.png
 
  • Like
  • Fire
Reactions: 10 users

Diogenese

Top 20
One of the things I did as a lawyer was give my clients answers. On more than one occasion I had clients say “Why couldn’t the other lawyer just tell me that?”

5,000 words seems excessive to come up with the names of the tech giants. Seems like a huge number of 8 x 10 colour glossy photos being taken here to look like they know what they are doing - aka Alice’s Restaurant.

My opinion only DYOR
FF

AKIDA BALLISTA
"You can get anything you want ... "
 
  • Like
  • Haha
  • Fire
Reactions: 4 users
Hi greenwaves,

This article is from the journal you found.

Although the author makes reference to True North and Liohi, she assumes that all SNNs are analog.

https://iopscience.iop.org/article/10.1088/2634-4386/ac4918

Ferroelectric-based synapses and neurons for neuromorphic computing​

Erika Covi3,1, Halid Mulaosmanovic1, Benjamin Max2, Stefan Slesazeck3,1 and Thomas Mikolajick1,2

Published 7 February 2022 • © 2022 The Author(s). Published by IOP Publishing Ltd
Neuromorphic Computing and Engineering , Volume 2, Number 1Focus Issue on Hafnium Oxide-Based Neuromorphic DevicesCitation Erika Covi et al 2022 Neuromorph. Comput. Eng. 2 012002

A possible solution to optimize energy efficiency is to enable computing right next to where the data is collected, e.g., the sensor [4, 5]. In this respect, one of the most promising approaches is the neuromorphic approach, in particular the brain-inspired spiking neural network (SNN) [6]. SNNs owe their power efficiency to their hardware architecture, which uses artificial neurons and synapses to overcome the physical separation between memory and central processing unit typical of standard von Neumann architectures, and to the adoption of an asynchronous event-based approach that elaborates the information, in the form of spikes, only when available. Both industry and academia have already demonstrated interest in SNNs, defined as the third generation of neural networks, which resulted in remarkable neuromorphic processors such as IBM's TrueNorth [7], SpiNNaker [8], Intel's Loihi [9], DYNAP-SE [10], ODIN [11], and MorphIC [12]. However, in pure complementary metal-oxide-semiconductor (CMOS) solutions, the basic building elements of an SNN, i.e., neurons and synapses, present some non-negligible disadvantages. Indeed, neurons are rather complicated to realize. The simplest versions reproducing integrate-and-fire (I&F) behavior need at least an integrator, which also implies using a capacitor, which can occupy a rather large area depending on the time constants that need to be used, as well as a comparator. More complicated versions may need current sensors, capacitors, analogue-to-digital (ADC), and digital-to-analogue converters, with consequent area and power consumption requirements [13].
...
Memristive devices show a broad range of excellent properties, including non-volatile memory, analogue behaviour, high scalability, high read/program speed, high energy efficiency, and programming voltages comparable with the power supply of typical neuromorphic chips [14, 15]

Once again we see academia's blinkered concentration on analog SNNs. Analog behaviour also has the baggage of component variations due to manufacturing tolerance limits.

I've looked high and low, but can't find a capacitor in Akida's integrate and fire circuit. ['pologies if you've seen this before. Can't help myself - love this circuit - a thing of beauty]:

View attachment 2412
Wait what's that I think it is, no sorry spaghetti sauce on the screen, your right no capacitor. FF
 
  • Like
  • Haha
Reactions: 6 users

Mea culpa

prəmɪskjuəs
  • Haha
  • Like
Reactions: 4 users

Diogenese

Top 20
Wait what's that I think it is, no sorry spaghetti sauce on the screen, your right no capacitor. FF
I find the fly spots can be a more subtle confuser.
 
  • Haha
Reactions: 3 users

Diogenese

Top 20
This is all descending into a repeat of the Dildonics thread. I sense that the tribe is restless and we are only a step away from high jinks and horseplay. It'll end in tears, you mark my words....
Hi Strad,

We keep the highjinks, leatherware, handcuffs and whips in the back room.

The horses remain in the stable ...
until required.
 
  • Haha
  • Like
  • Wow
Reactions: 11 users

VictorG

Member
Hi Strad,

We keep the highjinks, leatherware, handcuffs and whips in the back room.

The horses remain in the stable ...
until required.
I think Stable Genius will have something to say about that.
On a more serious note. My wife said I can be called Spartacus until the end of this month!
 
  • Haha
  • Like
Reactions: 8 users
"...at Alice's Restaurant". However, "I still can't find what I'm looking for".
Hello is it me?
 
  • Haha
  • Like
Reactions: 5 users
Top Bottom