BRN Discussion Ongoing

Samsung only just started producing 3nm in June this year and one report I read, said they were having problems producing them profitably..
Not saying they won't get there, I wouldn't have a clue, but they're going to be expensive chips, you would think..

Synopsys, who I think Prophesee ditched for Brainchip have partnered with Samsung on the 3nm process for their chips..

1669500393618.png


 
  • Like
  • Love
  • Thinking
Reactions: 8 users

Learning

Learning to the Top 🕵‍♂️
This is part of what Carnegie Mellon submitted to the:

The White House Office of Science and Technology Policy – on behalf of the National Science and Technology Council's Select Committee on Artificial Intelligence and Machine Learning and AI Subcommittee, the National AI Initiative Office, and the Networking and Information Technology Research and Development National Coordination Office – released a Request for Information (RFI) on February 2, 2022, to request input on updating the National Artificial Intelligence Research and Development Strategic Plan. The RFI was published in the Federal Register and the comment period was open from February 2, 2022, through March 4, 2022.
This document contains the 63 responses received from interested parties. In accordance with the RFI instructions, only the first 10 pages of content were considered for each response

“Recommendations of AI Research Focus Areas to Create Solutions to Major Societal Challenges
The National AI Research and Development Strategic plan can catalyze innovations in both fundamental discoveries and applications that address specific societal challenges. Progress towards realizing this potential can be realized by collaborative efforts in the following areas.
77

Foster Interagency Collaboration to Ensure America Leads in Enabling Distributed Artificial Intelligence
The U.S. should lead a bold transformative agenda over the next five years to enable AI to evolve from highly structured and controlled, centralized architectures to more adaptive and pervasively distributed ones that autonomously fuse AI capability among the enterprise, the edge, and across AI systems and sensors embedded on-platform. CMU terms this revolutionary architectural advance as AI Fusion. The vision is built upon plans for a cohesive research advancing capabilities in microelectronics, AI frameworks and algorithms and innovations in federated learning in the AI fabric and abstraction layers.
Building a community research roadmap for distributed AI will address several critical challenges for the growth of AI, challenges that cut across agency-specific missions. The ability to enable distributed AI at the edge will minimize the dependence on aggregating and engineering massive data sets and reduce the need to “move the data to the algorithms” as well as the inherent challenges associated with the need for continuous high-bandwidth connectivity. Research in this area will also greatly enhance the capacity to address privacy and security challenges. It is dependent on, will contribute to and will benefit from the national computing infrastructure initiatives launched by the NAIIO.
Most critically, an AI Fusion research agenda will contribute to the network of AI institutes by enabling a host of applications emerging from increased convergence across AI-enabled cyber and physical systems. This convergence is vital to the viability of applications in commercial, military and national security domains. AI Fusion, for example, will be a critical contribution to the Department of Defense’s (DOD) focus on Multi-Domain Operations. It will also enhance the potential for advances in smart city applications and AI breakthroughs aiding manufacturing, energy, health care, education and agricultural innovations. A focus on AI Fusion should operate synergistically with national initiatives in microelectronics and tie directly with research and innovation efforts aimed at enhancing, protecting and hardening critical U.S. supply chains.
Initiate Research to Engineer AI into Societal Systems
While fundamental advances are needed in AI science, advances in engineering AI into systems of societal importance are vital to realize the full impact on major national missions. Engineering AI into such systems will be essential to transform U.S. manufacturing and enhance infrastructure and energy systems to meet critical national economic and societal goals.
Engineering AI will require the design, development and deployment of new use-inspired AI algorithms and methodologies, targeted to real-world applications and possessing enhanced scalability, robustness, fairness, security, privacy and policy impact. Advancing Engineering AI will also require new hardware and software systems, including cloud, edge and device computing infrastructures that sense and store the vast amounts of data collected in the real world and that enable devices to access and transmit this data from anywhere, to anywhere, in secure and private ways. Foundational research for Engineering AI is needed to enable the deployment of the highest performing and most energy-efficient AI systems. Such systems will
78

require architecting new hardware and computing frameworks; designing faster, more powerful and efficient integrated circuits; and developing sensing modalities to support data collection, storage and processing of the data deluge.
In addition, Carnegie Mellon recognizes that research on Engineering AI must include a focus on creating trust not only from a technical standpoint but from the system of stakeholders interacting with the AI system — be it in education, infrastructure or climate. Users and communities have to trust the system that is allocating resources and making decisions.
Potential applications and use cases for Engineering AI include autonomous infrastructure systems (AIS) that can help create equitable, innovative and economically sustainable communities. AIS technology could, for example, include initiatives integrating food delivery, the tracking of goods while preserving privacy and tools to improve mobility. Engineering AI will be key to the digital transformation of manufacturing in the U.S., including robotics for manufacturing, development of a timely and trustworthy supply chain and additive manufacturing. Engineering AI also has the potential to revolutionize how electricity is produced, distributed and consumed. It can provide insights to improve electricity distribution through demand forecasting, load management and community governance, as well as to innovate new energy storage solutions, control pollutants and advance wind, solar and nuclear energies.”


If you have read the above you too may think that there is a lot more to the relationship between Brainchip and Carnegie Mellon than we first thought.

My opinion only DYOR
FF

AKIDA BALLISTA
Hi FF,

Just by reading the extract, I believe Brainchip's Akida neuromorphic architecture will be part of the Carnegie Mellon presentation to the US 'National Artificial Intelligence Research and Development Strategic Plan'

Learning.
 
  • Like
  • Love
  • Fire
Reactions: 21 users
View attachment 22974

At severe risk of being accused of being a no-it-all (smart arse)as I have said it for two years now but remember this is an investment and so it’s important to firmly understand the significance of what Brainchip and AKIDA technology is bringing to the table so I have said it once now I will say it 1,000 times:

1. Samsung, Intel, Nvidia, ARM, Bosch, Google, APPLE in other words the entire semi conductor world are chasing smaller semiconductors because Von Neumann compute has reached its limits and the only way to increase performance and reduce power is to go smaller and smaller,

2. Two things happen every single time they go smaller cost goes up exponentially and yield goes down,

3. AKIDA at 28nm still wins on power and performance even when the rest are at 3nm,

4. AKIDA at 28nm is cheap to produce,

5. AKIDA at 28nm at TSMC has a yield rate exceeding 90%,

6. AKIDA at 28nm can be produced even by Intel,

7. AKIDA at 28nm crushes Loihi 2 at 7nm,

8. AKIDA can stay at 28nm and use carbon nanotube connections and up performance without going down in size,

9. AKIDA can give NASA what it needs at 90nm making it even more radiation resilient but imagine what happens to all the other tech like Snapdragon chasing smaller and smaller form down to 3nm if you say that’s great we will have it in 90nm thanks.

AKIDA is without doubt the stuff of Science Fiction.

My opinion only DYOR
FF

AKIDA BALLISTA
 
  • Like
  • Love
  • Fire
Reactions: 98 users

Learning

Learning to the Top 🕵‍♂️
Was browsing the Computer Science area at Carnegie Mellon U website. Not sure I've seen this posted before, ....doesn't mean it hasn't, I just don't recall.

The class agenda in one of the Computer Science / Machine Learning courses ....
Hi dippyY22,

From that class agenda, Carnegie Mellon University had been teaching Brainchip's Akida neuromorphic since start of 2022. WOW.

More future engineers, more use case for Brainchip's Akida into the future...

Learning.
 
Last edited:
  • Like
  • Fire
  • Love
Reactions: 29 users

Dang Son

Regular
A great Jereme Nadel interview from Alex the Rocket Scientist, 4mths old , sorry if already seen.
 
  • Like
  • Love
  • Fire
Reactions: 12 users

Dang Son

Regular
Not a bright future for Intel as presented by Alex ( the Rock Scientist)
 
  • Wow
  • Love
Reactions: 2 users

Dr E Brown

Regular
What I like about our two latest recruits are that we have not taken them out of retirement but that they are proven operators, who have chosen to leave companies either competing or working with Brainchip in Syntiant and Amazon. I actually find that quite remarkable given the current status of Brainchip’s commercialisation. It provides me, as an investor, with enormous confidence and a nice warm fuzzy feeling!
 
  • Like
  • Fire
  • Love
Reactions: 78 users

Diogenese

Top 20
At severe risk of being accused of being a no-it-all (smart arse)as I have said it for two years now but remember this is an investment and so it’s important to firmly understand the significance of what Brainchip and AKIDA technology is bringing to the table so I have said it once now I will say it 1,000 times:

1. Samsung, Intel, Nvidia, ARM, Bosch, Google, APPLE in other words the entire semi conductor world are chasing smaller semiconductors because Von Neumann compute has reached its limits and the only way to increase performance and reduce power is to go smaller and smaller,

2. Two things happen every single time they go smaller cost goes up exponentially and yield goes down,

3. AKIDA at 28nm still wins on power and performance even when the rest are at 3nm,

4. AKIDA at 28nm is cheap to produce,

5. AKIDA at 28nm at TSMC has a yield rate exceeding 90%,

6. AKIDA at 28nm can be produced even by Intel,

7. AKIDA at 28nm crushes Loihi 2 at 7nm,

8. AKIDA can stay at 28nm and use carbon nanotube connections and up performance without going down in size,

9. AKIDA can give NASA what it needs at 90nm making it even more radiation resilient but imagine what happens to all the other tech like Snapdragon chasing smaller and smaller form down to 3nm if you say that’s great we will have it in 90nm thanks.

AKIDA is without doubt the stuff of Science Fiction.

My opinion only DYOR
FF

AKIDA BALLISTA
A few chip makers have adopted an alternative technique to reduce the footprint of ICs: 3D stacking as used in the Sony/Prophesee DVS chip where the pixel layer is "laminated" on top of the processing layer.

One problem with 3D IC stacking is that it makes dissipation of heat more difficult, so Akida is a natural fit.
 
Last edited:
  • Like
  • Love
  • Fire
Reactions: 43 users
That's a market I believe we will dominate in the coming years imo.
Sometimes I think of stuff that Akida can do and how some future products will incorporate those abilities that Akida has brought to the world(they don't know it yet🤣)
For example bank CCTV could be trained to send and alert/alarm if it picks up someone wearing a Balaklava outside/inside or someone carrying a firearm or home use: training to recognise certain sounds like a gate opening or trained to send an alert when a particular person or person's have been detected. Trained to spot fires before they get out of hand. Training to recognise sound of glass smashing or the sound of a gun going off or trained to alert when certain voice signatures are detected. I could go on and on.
The amount of useless alerts that get sent these days is ridiculous.
All of the above and much much more at low power at the far edge.
 
Last edited:
  • Like
  • Fire
  • Love
Reactions: 31 users
At severe risk of being accused of being a no-it-all (smart arse)as I have said it for two years now but remember this is an investment and so it’s important to firmly understand the significance of what Brainchip and AKIDA technology is bringing to the table so I have said it once now I will say it 1,000 times:
I love it when you talk dirty
 
  • Haha
  • Like
Reactions: 13 users
A few chip makers such have adopted an alternative technique to reduce the footprint of ICs: 3D stacking as used in the Sony/Prophesee DVS chip where the pixel layer is "laminated" on top of the processing layer.

One problem with 3D IC stacking is that it makes dissipation of heat more difficult, so Akida is a natural fit.
Here is a short paper on this very point. It should not take much argument to convince a Sony or a Panasonic or some other company that AKIDA is a far superior option:


My opinion only DYOR
FF

AKIDA BALLISTA
 
  • Like
  • Fire
  • Love
Reactions: 22 users

Diogenese

Top 20
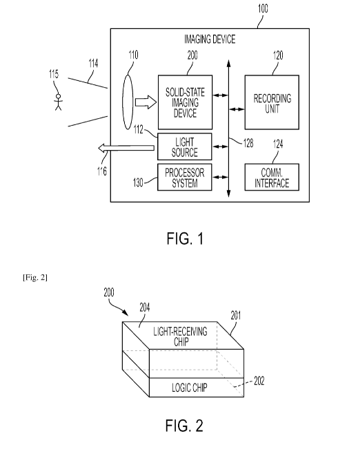
Here are a couple of Sony 3D IC camera patent applications:

This one has a pixel array layer (204) and a logic layer (202).

WO2021117642A1 EBS/TOF/RGB CAMERA FOR SMART SURVEILLANCE AND INTRUDER DETECTION

Priority: 20191213


1669515266698.png



A sensor system with a plurality of sensors or sensor functions is provided. The sensors can include an event detection sensor, a time of flight sensor, and imaging sensor. The different sensors can be implemented on the same or different substrates. Accordingly, sensors with pixels having different or shared functions can be included in the sensor system. In operation, an event detection signal from an event detection sensor causes the operation of a time of flight sensor to be initiated. In response to the detection of an object within a critical range by the time of flight sensor, the imaging sensor is activated. The image sensing and event detection pixels can be provided as part of different arrays of pixels, or can be included within a common array of pixels.

Fig. 2 is a view illustrating a lamination structure example of an image sensor 200 in accordance with at least some embodiments of the present disclosure. As illustrated in Fig. 2, the image sensor 200 can have a structure in which a light-receiving chip 201 and a logic chip 202 are vertically laminated. A side of the light receiving chip 201 opposite the logic chip 202 is a light receiving surface 204. In joining of the light-receiving chip 201 and the logic chip 202, for example, so-called direct joining in which joining surfaces of the chips are planarized, and the chips are laminated with an inter-electron force can be used. However, there is no limitation thereto, and for example, so-called Cu-Cu joining in which copper (Cu) electrode pads formed on joining surfaces are bonded, bump joining, and the like can also be used.


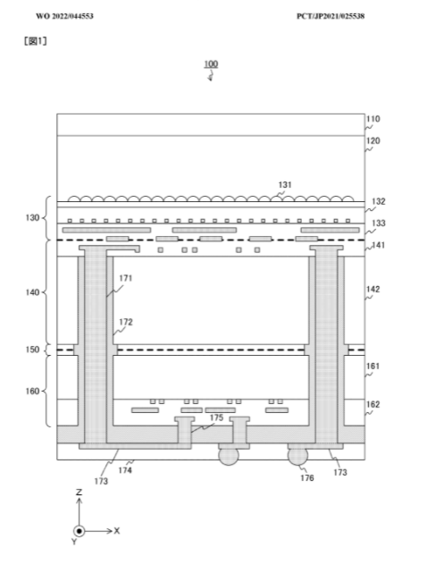
This one has an image layer and 2 logic layers:

WO2022044553A1 SEMICONDUCTOR DEVICE AND METHOD FOR MANUFACTURING SEMICONDUCTOR DEVICE

Priority: 20200831
1669512302380.png


Provided is a semiconductor device in which a plurality of semiconductor chips 160, 140, 130) are stacked, the semiconductor device having enhanced functionality while reducing manufacturing cost. The semiconductor chips include a light-receiving chip (130), a redistribution wiring-side semiconductor chip (160), an intermediate semiconductor chip (140), a through-electrode (171), and redistribution wiring (141). The light-receiving chip receives incoming light. A wiring layer is formed on a predetermined wiring surface of the redistribution wiring-side semiconductor chip. One of a pair of joint surfaces of the intermediate semiconductor chip is joined to the light-receiving chip, and the other is joined to the redistribution wiring-side semiconductor chip. The through-electrode extends through a semiconductor substrate of the intermediate semiconductor chip. The redistribution wiring is wired on a wiring surface and connects the through-electrode and the wiring layer.

[150 = resin bonding layer]

One interesting thing about the 3-layer IC is that the optical layer (130) and the first logic layer (140) could be Prophesee pixel array and Prophesee event detection logic.

I wonder what the third semiconductor layer (160) could be used for?

Note that the 3-layer IC originated 8 months after the 2-layer IC.
 
Last edited:
  • Like
  • Love
  • Fire
Reactions: 20 users
Here are a couple of Sony 3D camera patent applications:

This one has a pixel array layer (204) and a logic layer (202).

WO2021117642A1 EBS/TOF/RGB CAMERA FOR SMART SURVEILLANCE AND INTRUDER DETECTION

Priority: 20191213


View attachment 22982


A sensor system with a plurality of sensors or sensor functions is provided. The sensors can include an event detection sensor, a time of flight sensor, and imaging sensor. The different sensors can be implemented on the same or different substrates. Accordingly, sensors with pixels having different or shared functions can be included in the sensor system. In operation, an event detection signal from an event detection sensor causes the operation of a time of flight sensor to be initiated. In response to the detection of an object within a critical range by the time of flight sensor, the imaging sensor is activated. The image sensing and event detection pixels can be provided as part of different arrays of pixels, or can be included within a common array of pixels.

Fig. 2 is a view illustrating a lamination structure example of an image sensor 200 in accordance with at least some embodiments of the present disclosure. As illustrated in Fig. 2, the image sensor 200 can have a structure in which a light-receiving chip 201 and a logic chip 202 are vertically laminated. A side of the light receiving chip 201 opposite the logic chip 202 is a light receiving surface 204. In joining of the light-receiving chip 201 and the logic chip 202, for example, so-called direct joining in which joining surfaces of the chips are planarized, and the chips are laminated with an inter-electron force can be used. However, there is no limitation thereto, and for example, so-called Cu-Cu joining in which copper (Cu) electrode pads formed on joining surfaces are bonded, bump joining, and the like can also be used.


This one has an image layer and 2 logic layers:

WO2022044553A1 SEMICONDUCTOR DEVICE AND METHOD FOR MANUFACTURING SEMICONDUCTOR DEVICE

Priority: 20200831
View attachment 22981

Provided is a semiconductor device in which a plurality of semiconductor chips 160, 140, 130) are stacked, the semiconductor device having enhanced functionality while reducing manufacturing cost. The semiconductor chips include a light-receiving chip (130), a redistribution wiring-side semiconductor chip (160), an intermediate semiconductor chip (140), a through-electrode (171), and redistribution wiring (141). The light-receiving chip receives incoming light. A wiring layer is formed on a predetermined wiring surface of the redistribution wiring-side semiconductor chip. One of a pair of joint surfaces of the intermediate semiconductor chip is joined to the light-receiving chip, and the other is joined to the redistribution wiring-side semiconductor chip. The through-electrode extends through a semiconductor substrate of the intermediate semiconductor chip. The redistribution wiring is wired on a wiring surface and connects the through-electrode and the wiring layer.

[150 = resin bonding layer]

One interesting thing about the 3-layer IC is that the optical layer (130) and the first logic layer (140) could be Prophesee pixel array and Prophesee event detection logic.

I wonder what the third semiconductor layer (160) could be used for?

Note that the 3-layer IC originated 8 months after the 2-layer IC.
Hi @Diogenese
Just my lay opinion of course based on the publicly available podcast with Luca Verre CEO of Prophesee who stated that until AKIDA every other method of processing they had tried led to compromise in the performance of their event based sensor that they had spent more than a decade developing will at some point convince a company like Sony to insert AKIDA technology at (160) or Sony will be at risk that Prophesee will convince Canon or Google or Apple or Samsung or Nokia. Even Uncle Elon if he does decide to have his very own ePhone would be a stand out to take up the best that Prophesee can be.

Actually Blackberry with its deep tentacles into the military would probably be a unique use target market for the best Prophesee can be sensor AKIDA combo. The significance of every soldier in the field being able to detect events occurring on the battlefield regardless of lighting conditions would clearly be invaluable. In 2019 there were approximately 27.5 million soldiers in the World.

My opinion only DYOR
FF

AKIDA BALLISTA
 
  • Like
  • Fire
  • Love
Reactions: 33 users

Foxdog

Regular
I Just noticed that my post above was on page 1892. The mighty 'pies played their first game in 1892. I'm now selling my BRN shares at $18.92.
Wow at $18.92 I might even allow myself the purchase of a depreciating asset...perhaps a new car, I reckon you can guess which brand🤔😉
 
  • Like
  • Fire
Reactions: 14 users

Foxdog

Regular
What I like about our two latest recruits are that we have not taken them out of retirement but that they are proven operators, who have chosen to leave companies either competing or working with Brainchip in Syntiant and Amazon. I actually find that quite remarkable given the current status of Brainchip’s commercialisation. It provides me, as an investor, with enormous confidence and a nice warm fuzzy feeling!
Damn straight DEB👌
 
  • Like
  • Fire
Reactions: 5 users

Diogenese

Top 20
Hi @Diogenese
Just my lay opinion of course based on the publicly available podcast with Luca Verre CEO of Prophesee who stated that until AKIDA every other method of processing they had tried led to compromise in the performance of their event based sensor that they had spent more than a decade developing will at some point convince a company like Sony to insert AKIDA technology at (160) or Sony will be at risk that Prophesee will convince Canon or Google or Apple or Samsung or Nokia. Even Uncle Elon if he does decide to have his very own ePhone would be a stand out to take up the best that Prophesee can be.

Actually Blackberry with its deep tentacles into the military would probably be a unique use target market for the best Prophesee can be sensor AKIDA combo. The significance of every soldier in the field being able to detect events occurring on the battlefield regardless of lighting conditions would clearly be invaluable. In 2019 there were approximately 27.5 million soldiers in the World.

My opinion only DYOR
FF

AKIDA BALLISTA

As we've discussed before, at the time the patents were filed, Sony was working with Prophesee and Qualcomm on the blur-free camera for mobile phones using the Sony 3D-IC manufacturing process, so Luca would have been quite familiar with Snapdragon's capabilities when he spoke so glowingly about Akida. I imagine that Sony would have auditioned a few other NNs before (temporarily) settling on Snapdragon to use in their new proprietary 3D IC manufacturing process.

And let's not forget that Akida has a sweet spot for LiDaR., ...
and is 5 to 10 times more efficient at in-cabin key word spotting.

Why doesn't the world know this?
 
  • Like
  • Fire
  • Love
Reactions: 41 users

Slymeat

Move on, nothing to see.
  • Like
  • Love
  • Fire
Reactions: 9 users
  • Haha
  • Like
Reactions: 13 users
An interesting article for those who like to think about the bigger picture and Brainchip's statement "we don't need China at the moment":


My opinion only DYOR
FF

AKIDA BALLISTA
 
  • Like
  • Love
  • Wow
Reactions: 17 users

Newk R

Regular
Wow at $18.92 I might even allow myself the purchase of a depreciating asset...perhaps a new car, I reckon you can guess which brand🤔😉
I know that asset will be depreciated, but I'm sure the bottle of champers that goes with it will be appreciated.
 
  • Like
  • Haha
Reactions: 3 users
Top Bottom