BRN Discussion Ongoing

TopCat

Regular
Hi,

I sent this email to PD a while back. When I said take your time, he has ,lol. Normally all my questions are answered within days, he has completely ignored me this time......
View attachment 21895
Nice one. You could look at from the point that they are using Brainchip so he is not sure how to answer you. If they weren’t he could easily reply that they’re happy with their current technology. I’ve got a good feeling with PainChek 😎
 
  • Like
  • Fire
Reactions: 11 users

Foxdog

Regular
Hi,

I sent this email to PD a while back. When I said take your time, he has ,lol. Normally all my questions are answered within days, he has completely ignored me this time......
View attachment 21895
No response is as good as a yes imo 😊
 
  • Like
  • Haha
  • Fire
Reactions: 12 users
In terms of revenue to market capitalisation that’s purely $1.30 but don’t forget about the profit margin angle. The IP model that BrainChip are adopting is very profitable; the company has mentioned a profit margin on recurring royalties of 97% previously and when you consider running costs for BrainChip with 100 employees will be south of $20m annually (closer to $15m) then $56m in revenue just from ARM related business would be pretty attractive. Once the market understands how profitable this all is I think the share price might look better than $1.30. AIMO.
And you cannot extrapolate from the profit made by ARM what the profit made by its suppliers, manufacturers and partners might be???

Knowing how much they paid to NXP to incorporate their IP or chips in ARM designs would be a possible starting point.

My opinion only DYOR
FF

AKIDA BALLISTA
 
  • Like
  • Fire
Reactions: 12 users

Diogenese

Top 20

This is what I assume is doing the edge ai processing on Sony’s latest camera - a7r V

Any chance our patent guru can take a look @Diogenese

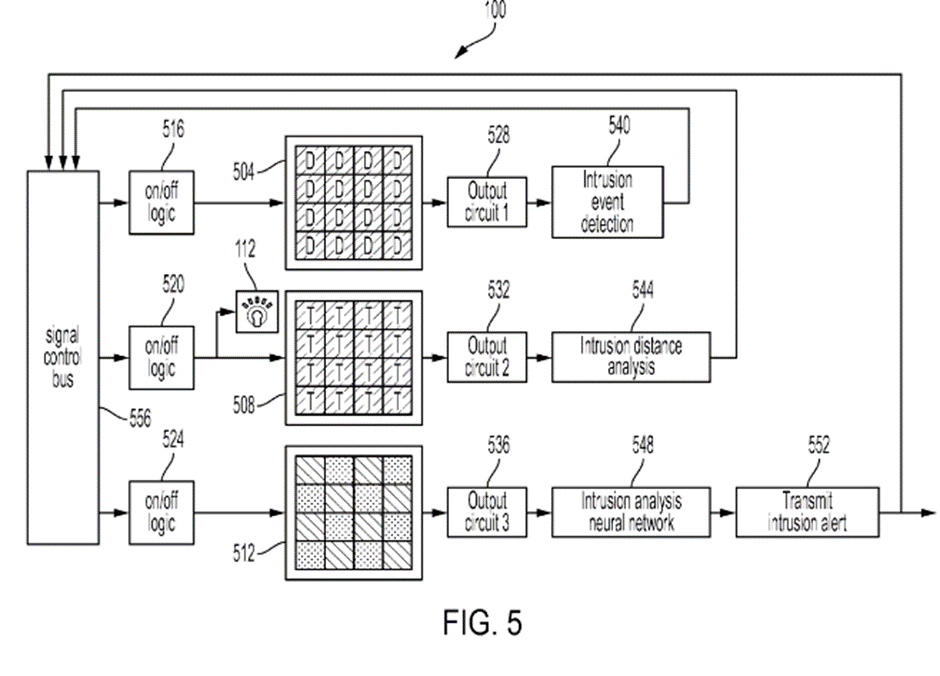
We looked at this Sony patent a couple of weeks ago. The priority is 20191213, so it predates the Prophesee announcement.

There's nothing to suggest that it uses Akida.

That's not to say that it couldn't be improved by Akida.

Remember that patents are often not made public for 18 months from filing.

WO2021117642A1 EBS/TOF/RGB CAMERA FOR SMART SURVEILLANCE AND INTRUDER DETECTION

1668386590214.png


In accordance with further embodiments of the present disclosure, the processor system 130 can implement advanced processing capabilities, including but not limited to neural network and artificial intelligence capabilities and functions, as described herein.

, the DNN processing unit 130 performs object detection processing by executing convolution calculation, bias addition, activation calculation, and pooling processing on the image data received from the imaging processing unit 120, for example

1668386638327.png


The intrusion analysis facility or function can include or can be implemented by a neural network, and further can be implemented by the processor system 130.



1668386688342.png





If continued training is determined to be necessary or desirable, errors in the prediction made by the neural network 548 can be back propagated,

PS: The addition of Prophesee to this patent would have improved latency, so by adding Akida to perform the convolutions performed by processor 130, the latency would be further enhanced.
 
Last edited:
  • Like
  • Fire
  • Love
Reactions: 18 users

Bravo

If ARM was an arm, BRN would be its biceps💪!
Better put this event in the calendar! In January 2023, at the CES, BMW will present its concept car called the "Digital Vision Vehicle". I think there's a very good chance BMW "will do a Merc" at this event. I say this because I know that BMW's “Neue Klasse” is set to "feature the next generation of Valeo’s ultrasonic sensors, the full set of surround view cameras, as well as a new multifunctional interior camera that will contribute to improved safety and create a new level of user experience.”

I can't wait!


giphy.gif



Screen Shot 2022-11-14 at 11.58.37 am.png


 
  • Like
  • Fire
  • Love
Reactions: 57 users

Diogenese

Top 20
Better put this event in the calendar! In January 2023, at the CES, BMW will present its concept car called the "Digital Vision Vehicle". I think there's a very good chance BMW "will do a Merc" at this event. I say this because I know that BMW's “Neue Klasse” is set to "feature the next generation of Valeo’s ultrasonic sensors, the full set of surround view cameras, as well as a new multifunctional interior camera that will contribute to improved safety and create a new level of user experience.”

I can't wait!


View attachment 21902


View attachment 21900

Well that's our sugar hit for the day - BMW playing "me too".
 
  • Like
  • Fire
  • Haha
Reactions: 26 users

buena suerte :-)

BOB Bank of Brainchip
Better put this event in the calendar! In January 2023, at the CES, BMW will present its concept car called the "Digital Vision Vehicle". I think there's a very good chance BMW "will do a Merc" at this event. I say this because I know that BMW's “Neue Klasse” is set to "feature the next generation of Valeo’s ultrasonic sensors, the full set of surround view cameras, as well as a new multifunctional interior camera that will contribute to improved safety and create a new level of user experience.”

I can't wait!


View attachment 21902


View attachment 21900

Another (Automotive) January announcement then!!! 🙏🤞🙏 ;)
 
  • Like
  • Fire
  • Haha
Reactions: 15 users
We looked at this Sony patent a couple of weeks ago. The priority is 20191213, so it predates the Prophesee announcement.

There's nothing to suggest that it uses Akida.

That's not to say that it couldn't be improved by Akida.

Remember that patents are often not made public for 18 months from filing.

WO2021117642A1 EBS/TOF/RGB CAMERA FOR SMART SURVEILLANCE AND INTRUDER DETECTION

View attachment 21896

In accordance with further embodiments of the present disclosure, the processor system 130 can implement advanced processing capabilities, including but not limited to neural network and artificial intelligence capabilities and functions, as described herein.

, the DNN processing unit 130 performs object detection processing by executing convolution calculation, bias addition, activation calculation, and pooling processing on the image data received from the imaging processing unit 120, for example

View attachment 21897

The intrusion analysis facility or function can include or can be implemented by a neural network, and further can be implemented by the processor system 130.



View attachment 21898




If continued training is determined to be necessary or desirable, errors in the prediction made by the neural network 548 can be back propagated,

PS: The addition of Prophesee to this patent would have improved latency, so by adding Akida to perform the convolutions performed by processor 130, the latency would be further enhanced.
Cheers Dio, I must have missed this post a couple weeks back.
 
  • Like
Reactions: 5 users

Labsy

Regular
Morning Chippers,

Had a quick chat with Boardroom Pty Ltd, regarding our share registry last Friday.

Total holders of Brainchip stock as of 10th Nov 2022...

46,954 holders.


Great work on all the reasearch shared everyone, much appreciated.

Regards,
Esq.
Hi esq111, good stuff! Any chance of a breakdown?
Cheers mate ;)
 
  • Like
Reactions: 3 users

TECH

Regular
Good morning,

Approximately 3 months prior to our AGM in May this year our company took what many would consider to be, a rather major change in
direction, completely shelving the idea of being a chip company and focusing on becoming a major supplier of IP.

With that change now well and truly established, the patent electric fences have been reinforced, to make way for at least another 27 in the
short term. Seeing two fulltime patent lawyers working side by side at the Perth offices just goes to show how highly important and valuable the company's patents are moving forward, for your information I asked Peter about the patents, and he told me it would take him at least a month
of solid writing to offload the information from this brain to paper, hopefully more and more shareholders will start to realize the true value of Peters et al patent work and appreciate how they secure your investment as we no doubt will face more challenges in the near future.

The change in direction freed up finance moving forward, just imagine this scenario for a minute or two.

We have 3 clear revenue streams:

The IP Licensing Fees
The Engineering Service Fees
The Royality Fees

Crudely put, it's like a Pyramid Structure.

We don't have any of the following Business Expenses Annually:

Foundry Production
Warehouse Leasing
Chip Inventory
Product Design Engineers
Third Parties
Worldwide Sales Teams
Distribution and Logistics

Our network (current and future) supply at their own expense.

Foundry Production
Warehouse Leasing
Chip/Product/s Inventory
Product Design Engineers
Third Parties
Worldwide Sales Teams
Distribution and Logistics
Marketing/Advertising

We simply "piggy-back" behind the scenes enjoying ALL their hard work over years and years of relationship building, the
mutually trusted clients "automatically" all become OURS through having our IP embedded within their new range of Edge AI
products.

Now link that with this.

All of the new Brainchip employees come with huge backgrounds, we ALL gain because of their years of relationship building,
years of mutually built-up trust within the technology industry, no matter which company they have been attached to in the
past, they can ALL guide Brainchip towards the correct individuals within potential corporations, not ONLY saving us time, but
completely short circuiting the road to years of royalty streams.

How can we as a company fail.... this whole ARM Business Model, is not only proven but it's a win-win for us and our future partners.


Most of you already knew what I have just mentioned, but sometimes certain things need to be reinforced, just saying :geek:

Tech x
 
Last edited:
  • Like
  • Love
  • Fire
Reactions: 123 users
Well throttling another country's economy did not work out so well after the Armistice, but the west needs to keep 3 years ahead of China in tech (if we could stop them pilfering it).
Hi everyone

I would just like to point out that @Diogenese is not actually pointing out an historical reference here but what he is doing is using suggestion to remind everyone about Brainchip and ARM(istice). He does this sort of thing frequently to control weaker minds than his so be careful.🤣😂🤣

You see the correct interpretation of history would not support his proposition because what the allies did after the 1st World War was savage the German economy and people and did not give two hoots about the poverty and unemployment left in Germany after they lost the war which led to the rise of Hitler on the back of a desperate populous without hope. If the Allies had helped Germany rebuild after World War 1 Hitler would most likely have never got a look in. Then Chamberlain and others once Hitler was in power engaged in appeasement which played perfectly into the psychopaths hands.

China while riding a wave of economic and social success has on the other hand decided to be the aggressor with Tiger Diplomacy, imposing trade sanctions, ignoring Patents, supporting corrupt, dictatorial regimes in developing countries such in the Pacific Island nations, sanctioning and engaging in industrial espionage and IP theft, then where they cannot steal IP they engage in State sponsored bribery and death threats, they persecute minority groups within their own nation, they kill or imprison any person engaging in free speech, they have invaded the South China Sea, they have pillaged and over fished the oceans and ignored other countries economic zones for this purpose, they have been a nation state in the worst image of the CIA and this is before we get to how they have around the world attempted to threaten and coerce any person with any sort of Chinese heritage to support their endeavours. This type of behaviour where persons of Chinese heritage is concerned was also something which the Nazi regime in Germany practiced with those of German heritage in other countries around the world.

Then lets look at how they are funding groups both at the political and societal level in other countries in Universities and political parties to promote agendas that enhance China's economic advantage by driving the adoption of alternatives to fossil fuels at great cost to those countries economies while at the same time accelerating the rate of building coal fired power stations throughout China in a blazon attempt to out compete these other countries with complete disregard to the future of the world at large.

The CCP is evil. You only needed to have watched them weld up the doors of blocks of units in Wuhan during the early stages of the Covid-19 out break to realise that if this is how they are prepared to treat their own citizens is there anything off the table as far as the rest of the world is concerned. The CCP even promotes the speaking of a dialect of the Chinese language that was until its rise under Ping considered to be a dying language. A special language for the elite is a very scary idea. The initial support of Puto's Ukrainian adventure was a sign of how Ping proposes to proceed and what he thinks of others territorial sovereignty. The Nazi party maintained the idea that they were the super Arian race born of pure blood.

Appeasement did not work with Hitler and the Nazi's and will not work with the CCP.

My crazy opinion only DYOR
FF

AKIDA BALLISTA
 
  • Like
  • Love
  • Fire
Reactions: 41 users

Diogenese

Top 20
Hi everyone

I would just like to point out that @Diogenese is not actually pointing out an historical reference here but what he is doing is using suggestion to remind everyone about Brainchip and ARM(istice). He does this sort of thing frequently to control weaker minds than his so be careful.🤣😂🤣

You see the correct interpretation of history would not support his proposition because what the allies did after the 1st World War was savage the German economy and people and did not give two hoots about the poverty and unemployment left in Germany after they lost the war which led to the rise of Hitler on the back of a desperate populous without hope. If the Allies had helped Germany rebuild after World War 1 Hitler would most likely have never got a look in. Then Chamberlain and others once Hitler was in power engaged in appeasement which played perfectly into the psychopaths hands.

China while riding a wave of economic and social success has on the other hand decided to be the aggressor with Tiger Diplomacy, imposing trade sanctions, ignoring Patents, supporting corrupt, dictatorial regimes in developing countries such in the Pacific Island nations, sanctioning and engaging in industrial espionage and IP theft, then where they cannot steal IP they engage in State sponsored bribery and death threats, they persecute minority groups within their own nation, they kill or imprison any person engaging in free speech, they have invaded the South China Sea, they have pillaged and over fished the oceans and ignored other countries economic zones for this purpose, they have been a nation state in the worst image of the CIA and this is before we get to how they have around the world attempted to threaten and coerce any person with any sort of Chinese heritage to support their endeavours. This type of behaviour where persons of Chinese heritage is concerned was also something which the Nazi regime in Germany practiced with those of German heritage in other countries around the world.

Then lets look at how they are funding groups both at the political and societal level in other countries in Universities and political parties to promote agendas that enhance China's economic advantage by driving the adoption of alternatives to fossil fuels at great cost to those countries economies while at the same time accelerating the rate of building coal fired power stations throughout China in a blazon attempt to out compete these other countries with complete disregard to the future of the world at large.

The CCP is evil. You only needed to have watched them weld up the doors of blocks of units in Wuhan during the early stages of the Covid-19 out break to realise that if this is how they are prepared to treat their own citizens is there anything off the table as far as the rest of the world is concerned. The CCP even promotes the speaking of a dialect of the Chinese language that was until its rise under Ping considered to be a dying language. A special language for the elite is a very scary idea. The initial support of Puto's Ukrainian adventure was a sign of how Ping proposes to proceed and what he thinks of others territorial sovereignty. The Nazi party maintained the idea that they were the super Arian race born of pure blood.

Appeasement did not work with Hitler and the Nazi's and will not work with the CCP.

My crazy opinion only DYOR
FF

AKIDA BALLISTA
What FF is saying is:

"You need a long spoon to sup with the devil."
 
  • Like
  • Haha
  • Love
Reactions: 23 users

Newk R

Regular
Below average sales and bids outweigh asks. A pleasant change.
 
  • Like
Reactions: 6 users

Esq.111

Fascinatingly Intuitive.
Hi esq111, good stuff! Any chance of a breakdown?
Cheers mate ;)
Afternoon Labsy,

The only info I asked Boardroom for was my holding & total holders.

For those who wish to locate where thay are on the register.....

Susan Kennedy, Client Services Associate , handles brainchips registry
Ph 0292909609

Regards,
Esq.
 
  • Like
  • Love
Reactions: 12 users
Afternoon Labsy,

The only info I asked Boardroom for was my holding & total holders.

For those who wish to locate where thay are on the register.....

Susan Kennedy, Client Services Associate , handles brainchips registry
Ph 0292909609

Regards,
Esq.
46,000 calls later can I speak to Susan Kennedy please sorry she’s left. 😂🤣🤡
 
  • Haha
  • Like
Reactions: 21 users

Sam

Nothing changes if nothing changes
  • Haha
  • Like
Reactions: 9 users
What FF is saying is:

"You need a long spoon to sup with the devil."
Hi @Diogenese
I have just been to HC and I am pleased to report back that your cunning plan has worked @alwaysgreen was under your mind control inspired to post about the Brainchip ARM partnership.

Impressive work. Take care everyone superior engineering intellect at work here. 😂🤡🤣

My opinion only DYOR
FF

AKIDA BALLISTA
 
  • Haha
  • Like
Reactions: 13 users

Yoda

Regular
Hi everyone

I would just like to point out that @Diogenese is not actually pointing out an historical reference here but what he is doing is using suggestion to remind everyone about Brainchip and ARM(istice). He does this sort of thing frequently to control weaker minds than his so be careful.🤣😂🤣

You see the correct interpretation of history would not support his proposition because what the allies did after the 1st World War was savage the German economy and people and did not give two hoots about the poverty and unemployment left in Germany after they lost the war which led to the rise of Hitler on the back of a desperate populous without hope. If the Allies had helped Germany rebuild after World War 1 Hitler would most likely have never got a look in. Then Chamberlain and others once Hitler was in power engaged in appeasement which played perfectly into the psychopaths hands.

China while riding a wave of economic and social success has on the other hand decided to be the aggressor with Tiger Diplomacy, imposing trade sanctions, ignoring Patents, supporting corrupt, dictatorial regimes in developing countries such in the Pacific Island nations, sanctioning and engaging in industrial espionage and IP theft, then where they cannot steal IP they engage in State sponsored bribery and death threats, they persecute minority groups within their own nation, they kill or imprison any person engaging in free speech, they have invaded the South China Sea, they have pillaged and over fished the oceans and ignored other countries economic zones for this purpose, they have been a nation state in the worst image of the CIA and this is before we get to how they have around the world attempted to threaten and coerce any person with any sort of Chinese heritage to support their endeavours. This type of behaviour where persons of Chinese heritage is concerned was also something which the Nazi regime in Germany practiced with those of German heritage in other countries around the world.

Then lets look at how they are funding groups both at the political and societal level in other countries in Universities and political parties to promote agendas that enhance China's economic advantage by driving the adoption of alternatives to fossil fuels at great cost to those countries economies while at the same time accelerating the rate of building coal fired power stations throughout China in a blazon attempt to out compete these other countries with complete disregard to the future of the world at large.

The CCP is evil. You only needed to have watched them weld up the doors of blocks of units in Wuhan during the early stages of the Covid-19 out break to realise that if this is how they are prepared to treat their own citizens is there anything off the table as far as the rest of the world is concerned. The CCP even promotes the speaking of a dialect of the Chinese language that was until its rise under Ping considered to be a dying language. A special language for the elite is a very scary idea. The initial support of Puto's Ukrainian adventure was a sign of how Ping proposes to proceed and what he thinks of others territorial sovereignty. The Nazi party maintained the idea that they were the super Arian race born of pure blood.

Appeasement did not work with Hitler and the Nazi's and will not work with the CCP.

My crazy opinion only DYOR
FF

AKIDA BALLISTA
FF, I agree with everything you have said. For years Western governments on both sides of politics have held the belief that China and Russia would slowly integrate into the West through trade engagement and gradually become democratic like us. We now know that to be a false assumption and everyone has woken up to the rather more menacing agenda of these countries. Fortunately, BRN has made some really smart decisions where China is concerned and with the direction of its business. I'm not sure to what extent Akida can be reverse engineered but I'm satisfied the company has made all the right decisions to protect itself and its IP as best it can.
 
  • Like
  • Fire
  • Love
Reactions: 20 users

Bravo

If ARM was an arm, BRN would be its biceps💪!
Here's something that was only published about an hour ago on the Oculus Observatory and the Astrosite neuromorphic imaging sensor from Western Sydney University.

It's interesting when you think of Prophesee's involvement in this.




Screen Shot 2022-11-14 at 3.03.00 pm.png
Screen Shot 2022-11-14 at 3.03.12 pm.png





Screen Shot 2022-11-14 at 3.13.52 pm.png

Screen Shot 2022-11-14 at 3.14.06 pm.png

Screen Shot 2022-11-14 at 3.14.18 pm.png

Screen Shot 2022-11-14 at 3.14.29 pm.png

 
  • Like
  • Love
  • Fire
Reactions: 46 users

Worker122

Regular
Hi everyone

I would just like to point out that @Diogenese is not actually pointing out an historical reference here but what he is doing is using suggestion to remind everyone about Brainchip and ARM(istice). He does this sort of thing frequently to control weaker minds than his so be careful.🤣😂🤣

You see the correct interpretation of history would not support his proposition because what the allies did after the 1st World War was savage the German economy and people and did not give two hoots about the poverty and unemployment left in Germany after they lost the war which led to the rise of Hitler on the back of a desperate populous without hope. If the Allies had helped Germany rebuild after World War 1 Hitler would most likely have never got a look in. Then Chamberlain and others once Hitler was in power engaged in appeasement which played perfectly into the psychopaths hands.

China while riding a wave of economic and social success has on the other hand decided to be the aggressor with Tiger Diplomacy, imposing trade sanctions, ignoring Patents, supporting corrupt, dictatorial regimes in developing countries such in the Pacific Island nations, sanctioning and engaging in industrial espionage and IP theft, then where they cannot steal IP they engage in State sponsored bribery and death threats, they persecute minority groups within their own nation, they kill or imprison any person engaging in free speech, they have invaded the South China Sea, they have pillaged and over fished the oceans and ignored other countries economic zones for this purpose, they have been a nation state in the worst image of the CIA and this is before we get to how they have around the world attempted to threaten and coerce any person with any sort of Chinese heritage to support their endeavours. This type of behaviour where persons of Chinese heritage is concerned was also something which the Nazi regime in Germany practiced with those of German heritage in other countries around the world.

Then lets look at how they are funding groups both at the political and societal level in other countries in Universities and political parties to promote agendas that enhance China's economic advantage by driving the adoption of alternatives to fossil fuels at great cost to those countries economies while at the same time accelerating the rate of building coal fired power stations throughout China in a blazon attempt to out compete these other countries with complete disregard to the future of the world at large.

The CCP is evil. You only needed to have watched them weld up the doors of blocks of units in Wuhan during the early stages of the Covid-19 out break to realise that if this is how they are prepared to treat their own citizens is there anything off the table as far as the rest of the world is concerned. The CCP even promotes the speaking of a dialect of the Chinese language that was until its rise under Ping considered to be a dying language. A special language for the elite is a very scary idea. The initial support of Puto's Ukrainian adventure was a sign of how Ping proposes to proceed and what he thinks of others territorial sovereignty. The Nazi party maintained the idea that they were the super Arian race born of pure blood.

Appeasement did not work with Hitler and the Nazi's and will not work with the CCP.

My crazy opinion only DYOR
FF

AKIDA BALLISTA
Great post FF, and do you know what also gets stuck in my craw, is the fact that China is classed as a emerging third world country! Go figure. Being a third world country also qualifies them for climate effect help from the rest of the established 1st world countries. That includes you, me and the rest of us!
 
  • Like
  • Sad
  • Wow
Reactions: 15 users
Top Bottom