Taproot
Regular

The Perfect Storm: Accelerated Silicon Consumption x Chip Shortage x Edge ML
At the edge, software concepts around tinyML and AutoML are helping organizations extract more value from what they already have

Check out number 10 of 12.
A hint that this could be us??
![]()
Automotive Engineering recent news | Design News
Explore the latest news and expert commentary on Automotive Engineering, brought to you by the editors of Design Newswww.designnews.com
(Sorry - didn’t know how to find Mercedes thread).
Panda
Missed that - must have a hole in my briefs.I thought to myself the drawing towards the end where it references the need to convert CNN2SNN is in colour and Dio is strictly a black & white line drawing type of guy in the minimalist style I wonder if he will notice and remind us all about the FACT that Brainchip holds the PATENT. Seems Dio might be colour blind or an art snob.
Love your work Dio and the PATENT would seem to cement a relationship do you not think?
My opinion only DYOR
FF
AKIDA BALLISTA
The only holdup I see is a logistical one. From a shipping perspective some major Chinese ports have not reopened since closing for Chinese New Year. This is because of their very strict Covid policies. Lack of containers to Australia is massive as the more lucrative route East West is preferred. I'm not sure if we are at the point of shipping out our little beauties by the container load by hopefully soon.There has not been one post that disagrees with my opinion that fair value of $1.86 at least is correct. Given we closed today at $1.03 there must be someone here who thinks this is fair value. Please don't be shy explain why you think this and maybe once you do others will agree and be prepared to come out of the shadows.
In providing your view there is a missing point 19. which is the confirmation by the CEO Sean Hehir with the simple word 'Yes' that revenue is happening this year so you might like to deal with this as part of your explanation. That would of course add 2 cents to make fair value $1.88 at least on my formula.
If it is that every single poster, every single member including those still to emerge (about 1,300 my guess) here and every single watcher (about 12,000 my guess) who does not post agrees with my value assessment then this has to make Brainchip currently extremely over sold and a screaming bargain for those with spare cash to invest.
I am raising this now because we have the whole weekend for those who disagree to mount the case for why my value is wrong and why the present price is fair value or that Brainchip is still over valued. I will also not engage in the debate other than as an interested reader of these other opinions.
It also means that those who have cash spare have the whole weekend to think about what they intend to do and dare I say it again 'have a plan'.
The breakdown in the peace talks and the inflation fears in the US are likely to be reflected in the US markets tonight. Monday could be a day for bargain buying on the ASX if my valuation is correct as the overall ASX is likely not to look like boom city next week.
The fact that bargain hunters were out and about on Wall Street the last two trading days suggests that any further falls are likely to be tame but who really knows until they happen.
My opinion and speculative valuation only so DYOR
FF
AKIDA BALLISTA
2015I was just watching 7 News and they had a story about a West Australian team of medical researchers trialling an artificial intelligence powered device for portable and remote testing for early symptoms of developing blindness. The device is also currently in space being used to test the effects of gravity on the eyes of astronauts under the watchful eye of NASA.
Have had a quick google around and could not find anything but it is worth a look by the 1,000 Eyes given how likely is W.A. and NASA to come up together like this.
The formal trials for approval of the medical device are set to commence next year. So this is very early stage in one sense but it sounds like the sort of beneficial use we would hope AKIDA could be put too and I should add they did not name the company in WA in the news item.
My opinion only DYOR
FF
AKIDA BALLISTA
Great work Taproot.2015
![]()
NASA testing revolutionary Perth invention
NASA uses Perth invention to assess risk of space travel on eyesight.thewest.com.au
I like the name on title of this article, but not sure this is it, 2017 vintage ?I was just watching 7 News and they had a story about a West Australian team of medical researchers trialling an artificial intelligence powered device for portable and remote testing for early symptoms of developing blindness. The device is also currently in space being used to test the effects of gravity on the eyes of astronauts under the watchful eye of NASA.
Have had a quick google around and could not find anything but it is worth a look by the 1,000 Eyes given how likely is W.A. and NASA to come up together like this.
The formal trials for approval of the medical device are set to commence next year. So this is very early stage in one sense but it sounds like the sort of beneficial use we would hope AKIDA could be put too and I should add they did not name the company in WA in the news item.
My opinion only DYOR
FF
AKIDA BALLISTA
Hi FF,I was just watching 7 News and they had a story about a West Australian team of medical researchers trialling an artificial intelligence powered device for portable and remote testing for early symptoms of developing blindness. The device is also currently in space being used to test the effects of gravity on the eyes of astronauts under the watchful eye of NASA.
Have had a quick google around and could not find anything but it is worth a look by the 1,000 Eyes given how likely is W.A. and NASA to come up together like this.
The formal trials for approval of the medical device are set to commence next year. So this is very early stage in one sense but it sounds like the sort of beneficial use we would hope AKIDA could be put too and I should add they did not name the company in WA in the news item.
My opinion only DYOR
FF
AKIDA BALLISTA
It’s been said before but it’s worth repeating, “You’re a Fn LEGEND Diogenes!”Hi FF,
This is the latest published application by KANAGASINGAM YOGENSAN:
WO2020160606A1 DIAGNOSTIC IMAGING FOR DIABETIC RETINOPATHY
Applicants COMMW SCIENT IND RES ORG [AU]
Inventors SAHA SAJIB [AU]; XIAO DI [AU]; KANAGASINGAM YOGENSAN [AU]
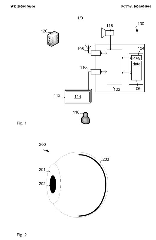
Computer system [46] Fig. 1 illustrates a computer system 100 for diagnostic imaging. The computer system 100 comprises a processor 102 connected to program memory 104, data memory 106, a communication port 108 and a user port 110. The user port 110 is connected to a display device 112 that shows data, such as report with a numeric pathology score or a predictive change map 114 to patient 116. The program memory 104 is a non-transitory computer readable medium, such as a hard drive, a solid state disk or CD-ROM. Software, that is, an executable program stored on program memory 104 causes the processor 102 to perform the method in Fig. 2, that is, processor 102 retrieves at least two images captured by a retina camera 118, such as Nidek AFC- 210, over time, aligns the images and calculates a pathology score based on pathologic features in the images.
View attachment 2483
View attachment 2484
View attachment 2485
Compares retinal snapshots taken over time.
No reference to AI or NN.
Looks like the star map overlay technique that astronomers use to pick out changes in a section of the night sky.
Of course, Akida could spot the changes with its eyes closed.
There could be further applications in the 18 month pipeline.
Hi supersonic001,I like the name on title of this article, but not sure this is it, 2017 vintage ?
News and articles
Discover the latest in science and innovation with our news stories and media releases.blog.csiro.au
SS
I sent the link to Tony Dawe and he came back about 20 minutes ago to say thanks and will follow up on it.Hi FF,
This is the latest published application by KANAGASINGAM YOGENSAN:
WO2020160606A1 DIAGNOSTIC IMAGING FOR DIABETIC RETINOPATHY
Applicants COMMW SCIENT IND RES ORG [AU]
Inventors SAHA SAJIB [AU]; XIAO DI [AU]; KANAGASINGAM YOGENSAN [AU]
Computer system [46] Fig. 1 illustrates a computer system 100 for diagnostic imaging. The computer system 100 comprises a processor 102 connected to program memory 104, data memory 106, a communication port 108 and a user port 110. The user port 110 is connected to a display device 112 that shows data, such as report with a numeric pathology score or a predictive change map 114 to patient 116. The program memory 104 is a non-transitory computer readable medium, such as a hard drive, a solid state disk or CD-ROM. Software, that is, an executable program stored on program memory 104 causes the processor 102 to perform the method in Fig. 2, that is, processor 102 retrieves at least two images captured by a retina camera 118, such as Nidek AFC- 210, over time, aligns the images and calculates a pathology score based on pathologic features in the images.
View attachment 2483
View attachment 2484
View attachment 2485
Compares retinal snapshots taken over time.
No reference to AI or NN.
Looks like the star map overlay technique that astronomers use to pick out changes in a section of the night sky.
Of course, Akida could spot the changes with its eyes closed.
There could be further applications in the 18 month pipeline.
I have stolen this link from the DELL thread. It was posted by Perhaps from Germany:
Probably is just a Brainchip shareholder ramping the company - Just reminiscing about HC and thought I would throw in some nostaglia.
My opinion only DYOR
FF
AKIDA BALLISTA
Excellent guess Fact Finder.I have stolen this link from the DELL thread. It was posted by Perhaps from Germany:
Probably is just a Brainchip shareholder ramping the company - Just reminiscing about HC and thought I would throw in some nostaglia.
My opinion only DYOR
FF
AKIDA BALLISTA
Thanks SG,It’s been said before but it’s worth repeating, “You’re a Fn LEGEND Diogenes!”
I love your honest straight shooting super intelligent contributions to this forum; not to mention your hilarious dry one liners.
Your outstanding knowledge, and the way you explain the subject matter I think you should be “Professor Diogenes.”
Very much appreciated!
Thank you.
Your obviously retired or I’m sure you’d be working for Brainchip as you comprehension is fantastic.Thanks SG,
A little knowledge goes a long way - if spread thinly enuf.
Just not a pretty face.